Теплогидравлический расчет технологического канала
ВВЕДЕНИЕ
Курсовой проект по дисциплине "Теплогидравлические процессы в ядерных энергетических установках" выполняется после изучения теоретического курса с целью выполнения следующих основных задач:
- закрепление и углубление знаний, полученных студентами при изучении курсов "Теория ядерных реакторов", "Ядерные энергетические реакторы","Теплогидравлические процессы в ядерных энергетических установках";
- расширение круга знаний студентов путем изучения специальной литературы, правил устройства и безопасной эксплуатации, инструкций, справочников, научно-технических статей и др.;
- развитие творческой инициативы студентов при самостоятельном решении поставленных перед ними задач;
- развитие у студентов навыков самостоятельного систематического, технически и литературно грамотного изложения в пояснительной записке, обоснования принятых решений, методов расчета и т.п.
В ходе выполнения курсового проекта была закреплена методика теплогидравлического расчета ядерных энергетических реакторов, изложение которой приведено в данных методических указаниях.
1. Задачи теплогидравлического расчёта водоохлаждаемого реактора
В энергетических ядерных реакторах теплота, генерируемая в топливе при его делении, отводится циркулирующим через активную зону теплоносителем. Мощность реактора ограничена теплопередающими возможностями теплоносителя. Поэтому для достижения высокой эффективности и безопасности ядерной энергоустановки необходимо знать параметры процессов отвода теплоты на всех этапах теплопередачи от активной зоны реактора до поступления пара в турбину.
К основным типам отечественных энергетических реакторов относятся корпусные реакторы с некипящей водой типа ВВЭР, канальные водографитовые реакторы с кипящей водой типа РБМК.
Теплогидравлический расчет реакторов вместе с физическим, прочностным и экономическим служит для обоснования проекта ядерной реакторной установки, ее теплотехнической оптимизации и повышения ее теплотехнической надежности. При теплогидравлическом расчете определяют распределение расхода теплоносителя по каналам реактора, давления и паросодержания по контуру циркуляции, температуры в элементах реактора, а также параметры оборудования первого контура установки.
Для проведения поверочного теплогидравлического расчета необходимо задавать исходные данные: технологическую схему первого контура, режимные параметры, конструкционные и теплотехнические характеристики активной зоны, гидравлические характеристики элементов контура циркуляции, теплофизические свойства материалов.
На стадиях эскизного, технического и рабочего проектов теплогидравлические расчеты ведут с разной степенью детализации при номинальных параметрах, частичных нагрузках, при запуске и расхолаживании реактора, аварийных ситуациях.
Многовариантные проектные расчеты проводятся с целью выбора оптимальной конструкции реактора и назначения оптимальных режимных параметров. Они носят оценочный характер, а результаты расчетов сопоставляются с лимитирующими факторами: допустимой температурой теплоносителя, замедлителя, оболочки и сердечника твэлов. Температурный диапазон работы материалов в энергетических ядерных реакторах составляет 200...2600°С. К лимитирующим факторам относятся также запас до кризиса теплоотдачи, допустимая скорость теплоносителя и т.п.
В связи со сложностью, взаимосвязанностью физических, теплофизических, гидродинамических процессов их математические модели громоздки и исследуются численно на ЭВМ. В рамках курсового проекта по курсу " Теплогидравлические процессы в ядерных энергетических установках" рассматриваются решения наиболее распространенных задач.
1. ТЕПЛОГИДРАВЛИЧЕСКИЙ РАСЧЕТ ТЕХНОЛОГИЧЕСКОГО КАНАЛА
1.1 Расчет основных геометрических характеристик канала и активной зоны
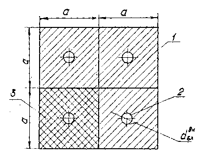
К числу основных геометрических характеристик активной зоны реактора типа РБМК относятся объем и диаметр активной зоны. Площадь одной ячейки активной зоны реактора типа РБМК согласно рисунка 1.1 определяют как:
(1.1)
где а - шаг решетки технологических каналов, м.
Количество ячеек в активной зоне N определяют по формуле (1.2). Проходное сечение ТВС изображено на рисунке 1.2.
(1.2)

1- блок графитовой кладки; 2 – осевое отверстие для ТВС; 3 – площадь ячейки.
Рисунок 1.1- К определению площади ячейки в графитовых реакторах.
а гидравлический и тепловой периметры и соответствующие диаметры:
(1.3)
(1.4)
(1.5)

Рисунок 1.2 - Схематический разрез канала реактора РБМК-1000
(1.6)
В приведенных формулах приняты следующие обозначения:
-внутренний
диаметр трубы рабочего канала, м; п
- число твэлов
в канале; d>2>
- наружный диаметр оболочки твэла, м; dц
- диаметр центральной трубки ТВС, м.
1.2 Определение координаты точки закипания
Определение координаты точки закипания, как и весь тепло-гидравлический расчет, выполняется для одного канала: со средней тепловой нагрузкой. При выполнении расчета канал расчленяется на участки длиной ДЖ. Длина участка, как правило, принимается равной расстоянию между дистанционирующими решетками - рисунок 1.3. Расчетный сечениям присваиваются числовые значения координаты 2. При этом при расчете реактора РБМК в отличие от изложенного ранее для реактора ВВЭР в качестве координаты Z=0 принимают сечение на входе в канал. Вычислительный процесс по определении координаты точки закипания носит итерационный характер. Схема алгоритма этой процедуры изображена на рисунке 1.4.
1.2.1 Определении координаты точки закипания
При определении координаты точки закипания и в последующих расчетах необходимо располагать рядом характеристик теплофизических свойств теплоносителя. Для определения теплофизических свойств теплоносителя в технологическом канале предварительно принимают величину перепада давления в нем ДР= 0,2......0,4 МПа. По известным давлениям на входе и выходе (Р>вых> = Р>вх>_- ДР) определяются соответствующие этим давлениям теплофизические характеристики воды и пара на линии насыщения. В дальнейшем расчет ведется по среднеарифметическим (между входом и выходом) величинам:
давление среды
,
МПа;
энтальпия воды
и пара на линии насыщения
и
,
кДж/кг;
плотность воды
и пара на линии насыщения
и
,
кг/м3;
скрытая теплота
парообразования
,
кДж/кг;
коэффициенты
соответственно динамической и
кинематической вязкости:
,
Па·с;
,
м2/с;
коэффициент
поверхностного натяжения
,
Н/ч;
температура
насыщения
,
°С;
коэффициент
теплопроводности
,
кВт/(м·К);
изобарная
теплоемкость
,
кДж/(кг·К).

1 - зазор между верхней и нижней ТВС; 2 - дистанционирующие решетки
Рисунок 1.3 - Схема расположения пучков ТВС в канале реактора РБМК
1.2.2 Определение теплофизическими свойствами воды
Для выполнения дальнейших расчетов необходимо также располагать теплофизическими свойствами воды на участке подогрева до температуры насыщения:
на входе в участок определяет энтальпию и плотность воды как функцию температуры и давления на входе
;
;
средние значения температуры, давления и плотности воды:



изобарная теплоемкость и коэффициент динамической вязкости:


Определенные таким образом теплофизические свойства принимаются в первом приближения идентичными для канала средней тепловой нагрузкой.

Рисунок 1.4 - Схема алгоритма определения координаты конца участка подогрева теплоносителя до температуры насыщения
1.2.3 Определение координаты точки канала закипания
Определение координаты точки канала закипания ведется итерационным способом (см. рисунок 1.4) на основании формулы:
(1.7)
где
и
- энтальпия воды соответственно на входе
в канал и на линии насыщения при давлении
на входе, кДж/кг;
- термодинамическая
производная [кДж/(кг·МПа)],
которая определяется по данным [7] с
помощью формул приближенного численного
дифференцирования [14 ]:
(1.8)
Др - перепад давления на участке подогрева в предположении, что в нем течет вода при температуре насыщения, МПа ;
l
- длина участка
подогрева, м. В первом приближении
принимается равной высоте активной
зоны H>0>.
При последующих итерациях принимается
равной координате
,
определенной
в текущем итерационном цикле (см. рисунок
1.4);
- среднее
значение линейного теплового потока
на участке подогрева, кВт/м2
;
G - расход теплоносителя через рассчитываемый канал, кг/с.
1.2.4 Определение перепада давления
Перепад давления на участке подогрева рассчитывается в предложении, что в нем течет вода при температуре насыщения:
(1.9)
где
- коэффициент
сопротивления трения в пучке. При этом
шаг решетки твэлов для реактора РБМК-1000
может быть принят t=
0,01675 м;
- сумма коэффициентов местных сопротивлений,
где
=0,4...О,45
в пределах каждого участка (дистанционирующие
решетки), за исключением Дz>10>
и Дz>11>
(см. рисунок
1.3), в пределах которых
= 1,15 за счет
местного сопротивления в зоне между
верхней и нижней ТВС;
- массовая скорость, кг/(м2·с).
Определяется по расходу теплоносителя
в канале, который для канала со средней
нагрузкой рассчитывается по формуле
(1.10)
В формуле (1.10) используются следующие данные:
;
- соответственно энтальпия воды на линии
насыщения и скрытая теплота парообразования
при давлении на выходе из канала, кДж/кг;
х -
массовое паросодержание на выходе из
канала (см. табл. 2); i>Вх>
- энтальпия
воды на входе в канал, кДж/кг; N
-количество
каналов в активной зоне.
1.2.5 Средней линейный тепловой поток
Среднее значение линейного теплового потока на участке подогрева
(1.11)
где
- линейный
тепловой поток в центральной плоскости
канала, кВт/м, пределяемый для канала
со средней тепловой нагрузкой по формуле
(1.12)
здесь К>Z> =1.5 - коэффициент неравномерности энерговыделения по высоте активной зоны; Н=Н>0>+2·д высота активной зоны с учетом экстраполированной добавки, м.
1.3 Определение координаты точки начала поверхностного кипения
Поиск координаты начала поверхностного кипения при расчете реактора типа РБМК осуществляется в пределах подогрева теплоносителя до температуры кипения. Расчет выполняется для одного канала (со средней тепловой нагрузкой) ряда расчетных сечений с шагом по высоте Дz. При определении с заданной точностью Уz координаты сечения начала поверхностного кипения используется итерационный метод, когда постепенно сужается участок канала, на котором ведется поиск. Схема алгоритма определения координаты точки начала поверхностного кипения изображена на рисунок 1.5.
1.3.1 Определение теплофизическими свойствами теплоносителя
По известному давлению теплоносителя на входе в канал (исходные данные) и выходе из участка подогрева определяются теплофизические свойства теплоносителя на линии насыщения (i', i", с', с", r, у, м', н'). Предполагая линейный закон изменения этих величин по длине участка подогрева, определяют интенсивность их изменения по высоте канала:
(1.13)
где A>ВЫХ> и A>ВХ> - значения того или иного теплофизического свойства на входе и выходе участка подогрева. При этом для расчетного сечения z значение теплофизических свойств может быть определено как
(1.14)
Скорость теплоносителя в расчетных сечениях определяется как
(1.15)
где
- удельный
объем теплоносителя в расчетном сечении
с координатой z,
м3/кг.
1.3.2 Определение относительной энтальпия
(1.16)
1.3.3 Относительная энтальпия, соответствующая началу закипания
Относительная энтальпия, соответствующая началу закипания в расчетном сечении с координатой, определяется как
(1.17)
где поверхностная тепловая нагрузка
(1.18)
а число Рейнольдса
(1.19)
Теплофизические свойства и скорость теплоносителя, входящие в формулы (1.17) и (1.18), на первом итерационном шаге определяются согласно рекомендациям. На втором и всех последующих шагах эти величины могут приниматься равными среднеарифметическим значениям между входом и выходом участка, заключенного между сечениями с координатами z>i>>-1> и z>i>.Выбор этих координат определяется условиями:

Рисунок 1.5 - Схема алгоритма определения координаты начала поверхностного кипения
(1.20)
Итерационный цикл по определению точки начала поверхностного кипения считается законченным, если соблюдено условие
(1.21)
где
наперед заданная точность в определении
координаты точки закипания, например
0,01 м. При этом принимается z>H>>.>>K>>.>=z>i>=z>i>>-1>.
1.3.4 Определение координаты точки начала поверхностного кипения
Наряду с рассмотренным способом определения координаты точки начала поверхностного кипения, основанным на итерационном вычислительном процессе, возможен упрощенный способ нахождения z>H>>.>>K>>.>
(1.22)
Здесь
рассчитывают
по формуле (1.17), но в отличие от п.1.3.3
расчет ведут по средним значениям:
(1.23)
где
(1.24)
Теплофизические свойства теплоносителя и его скорость в формуле (1.23) определяются как среднеарифметические между входом и выходом участка подогрева (z>BX>-z>П>) с учетом уточненного (см. п.1.3.1) перепада давления на этом участке. Выбор координат z>i>>-1>, и z>i> определяется условием
(1.25)
Относительную
энтальпию
и
рассчитывают по формуле из
книги энегретические ядерне реакторы.
Определенна координаты точки начала развитого объемного кипения
Координату точки начала развитого объемного кипения теплоносителя определяют по формуле
(1.26)
Выбор координат z>i>>-1>, и z>i> определяется условием
(1.27)
где
и
- относительные энтальпии теплоносителя
в сечениях с координатами z>i>>-1>,
и z>i>.
Массовое паросодержание (относительная энтальпия) в точке развитого объемного кипения
(1.28)
где в>Р> - объемное расходное паросодержание в области х>0, при которой начинается развитое объемное кипение:
(1.29)
Здесь
- среднее для канала значение поверхностного
теплового потока, определяемое по
формуле (2.24), кВт/м2.
Теплофизические свойства теплоносителя и его скорость, входящие в формулы (1.28) и (1.29), определяются как среднеарифметические на участке подогрева (см. п.1.3.1).
Оценка распределения истинного объемного и массового паросодержания по высоте канала
Потеря давления в канале и теплоотдача к двухфазному потоку теплоносителя определяются режимом течения. Основными характеристиками двухфазного потока при этом являются истинное объемное ц и массовой расходное х паросодержание. После определения границ между различными режимами течения (см. подразд.1.2 - 1.4) становится возможным установить характер распределения ц и х по высоте канала.
Определение массового и истинного паросодержания
На участке поверхностного кипения с координатами от z>HK> до z>П> изменение массового паросодержания х(z) интерполируется прямой от х(z>HK>)= 0 до x(z>П>) где
(1.30)
Здесь
- истинное объемное паросодержание.
Плотность
воды и пара в формуле (1.30) также определяются
по этому сечению.
Истинное объемное паросодержание в пределах рассматриваемого участка
(1.31)
где
и
- относительные
энтальпии в сечениях с координатами z
и z>HK>.
Определение промежуточных значений массового и истинного паросодержания
На участке канала, заключенного между сечениями с координатами z>П> и z>P>, изменение массового паросодержания x(z) интерполируется прямой от х(z>П>)=х>П> до х(z>Р>)=х>Р> (см. формулы (1.30) и (1.28)).
Истинное
объемное паросодержание на этом участке
также интерполируется прямой
до
(см. пп. 1.5.1 и 1.5.3).
Расчет участка развитого пузырькового кипения
На участке развитого пузырькового кипения между сечениями с координатами z>Р> и z>ВЫХ>, массовое расходное паросодержание равно относительной энтальпии и рассчитывается по формуле (48):
(1.32)
Истинное объемное паросодержание на этом участке
(1.33)
Коэффициент
проскальзывания
по высоте канала остается практически
постоянным. Используя в>Р>
[см. формулу (1.29)], его оценку можно
выполнить по формуле, предложенной В.С.
Осмачкиным [2]:
(1.34)
здесь число Фруда рассчитывается по формуле
(1.35)
скорость смеси
(1.36)
приведенная скорость пара
(1.37)
где
;
и
(см.
п.1.2.1)
Приведенная скорость воды
(1.38)
Расчет потери напора и распределения давления по высоте канала
Расчетные
соотношения для определения потери
напора по высоте канала предопределяются
характером сечения и структурой потока.
По высота рабочего канала реактора типа
РБМК различают три участка: с однофазной
средой (от z>BX>
до z>HK>
), поверхностного
кипения (от z>HK>
до z>P>),с
двухфазной средой и развитым объемным
кипением (от z>P>
до z>B>>Ы>>X>).
При расчете потери напора на каждом из
двух участков они, в свою очередь,
расчленяются на несколько расчетных
элементов, в пределах которых определяются
длина элемента Дz
и сумма коэффициентов местных сопротивлений
(см.п.1.2.4). В
общем случае потеря напора определяется
как сумма отдельных составляющих:
(1.39)
1.6.1 Определение потери давления на трение
Потеря давления на преодоление сопротивления трения: при течении однофазной среды
(1.40)
на участке развитого кипения
(1.41)
на участке поверхностного кипения
(1.42)
где
рассчитывают
по формуле (1.41).
В приведенных формулах приняты следующие обозначения:
Дz
- длина
рассчитываемого элемента, м; d>Г>
- гидравлический диаметр, м, рассчитывается
по формуле (2.3);
-соответственно
плотность среды на участке однофазного
потока, плотность воды и пара [кг/м3]
на линии насыщения и скрытая теплота
парообразования [кДж/кг], определяемые
согласно рекомендациям, приведенным в
п.1.2.1; х
- массовое паросодержание в рассчитываемом
элементе. Определяется как
среднеарифметическое между входом и
выходом (см. подразд.1.5); ш
- поправочный
коэффициент, учитывающий структуру
двухфазного потока и определяемый по
рисунок 1.6; q>S>
-
среднеарифметическое
(между входом и выходом) значение
поверхностного теплового потока в
рассматриваемом элементе, рассчитываемое
с привлечением формулы (2.18), кВт/м;
- скорость циркуляции, м/с.



























Рисунок 1.6 - Зависимость коэффициента ш от скорости циркуляции и давления
1.6.2 Определение потери давления на местных сопротивлениях
Потеря напора из-за местных сопротивлений при течении однофазной среды определяется как
(1.43)
Для участка с двухфазной средой
(1.44)
1.6.3 Определение нивелирной составляющей потери давления
Нивелирная составляющая потери напора при течении: однофазной среды
(1.45)
для двухфазной среды
(1.46)
где
- плотность пароводяной смеси,
(1.47)
здесь
- истинное объемное паросодержание на
рассчитываемом элементе, определяемое
как среднеарифметическое между входом
и выходом (см. подразд. 1.5).
1.6.4 Определение потери давления на ускорение среды
Потеря напора на ускорение среды учитывается только на участках поверхностного и развитого кипения теплоносителя:
(1.48)
где
- приращение истинного объёмного
паросодержания по длине рассчитываемого
элемента (см. подразд.1.5).
1.6.5 Давление теплоносителя
Давление теплоносителя в расчетных сечениях по высоте канала
(1.49)
1.7 Расчет коэффициентов теплоотдачи, температуры наружной поверхности оболочки твэла и запаса до кризиса теплообмена по высоте канала
1.7.1 Температура наружной поверхности оболочки твэла
Температура наружной поверхности оболочки твэла по высоте канала со средней тепловой нагрузкой
(1.50)
де
- температура
теплоносители в расчетном сечении с
координатой z,°С.
Определяется по энтальпии (см.формулу
(1.16)) и давлению (см. подразд.1.6) для участка
с однофазной средой от z>BX>>
>до z>П>.
Выше координаты
z>П>
теплоноситель находится в состоянии
насыщения и его температура определяется
как температура насыщения при
соответствующем давлении; q>S>(z)
- поверхностный
тепловой поток в расчетном сечении,
определяемый по формуле (1.18), кВт/м ;
- коэффициент
теплоотдачи от твэла к теплоносителю,
кВт/м2К).
Расчетные соотношения для определения коэффициента теплоотдачи зависят от режима течения и структуры потока. Применительно к рабочим каналам реактора РБМК по их высоте выделяют три участка:
конвективного теплообмена от z = 0 до z = z>HK>
поверхностного кипения от z = z>HK> до z = z>P>
развитого кипения от z = z>P> до z = z>B>>Ы>>X>
1.7.2 Участок конвективного теплообмена
На участке конвективного теплообмена коэффициент теплоотдачи рассчитывают по формуле (1.51):
(1.51)
Где
-
соответсвенно коэффициент теплопроводности,
коеффициент кинематичской вязкости и
число Прандтля для теплоносителя в
расчетном сечении ТВС с координатой z;
-
соответственно массовая скорость
теплоносителя и гидравлический диаметр.
1.7.3 Участок поверхностного кипения
На участке поверхностного кипения коэффициент теплоотдачи в каждом расчетном сечении может быть определен в соответствии с формулой, рекомендованной Л.С. Стерманом [3; 4]:
(1.52)
здесь
- число
Нуссельта, которое определяется обычной
зависимостью для турбулентного режима
течения однофазной среды (см. формулу
(1.51));
-скорость
воды, м/с;
- скорость смеси, м/с;
- температура насыщения, К.
Эта формула применима при соблюдении условия
(1.53)
В противном случав коэффициент теплоотдачи рассчитывается по формуле (1.51).
1.7.4 Коэффициент теплоотдачи на участке развитого кипения
На участке развитого кипения коэффициент теплоотдачи в каждом рассматриваемом сечении рассчитывается по соотношениям, рекомендованным Н.Г. Стюшиным [3]:
(1.54)
где St - число Стантона, подсчитываемое как
(1.55)
здесь р - давление теплоносителя, MПa; у,р" - соответственно коэффициент поверхностного натяжения, Н/м; и плотность пара на линии насыщения, кг/м3;
(1.56)
Все теплофизические параметры, входящие в эти формулы, определяются по температуре насыщения.
Коэффициент запаса до кризиса теплообмена
Коэффициент запаса до кризиса теплообмена определяют соотношением:
(1.57)
где q>S>(z) - поверхностная тепловая нагрузка, рассчитывается по формуле (1.18), кВт/м2;q>KP>(z) - критический тепловой поток, который согласно рекомендациям В.Н. Смолина и В.К. Полякова [4] можно рассчитать по формуле
(1.58)
Здесь р - давление теплоносителя, МПа; х - относительная энтальпия.
Расчет температур внутренней поверхности оболочки твэла, наружной поверхности и центральной части топливного сердечника
Температуры
внутренней поверхности оболочки твэла,
наружной поверхности и центральной
части топливного сердечника существенным
образом зависят от теплопроводности
соответственно циркония, гелия и двуокиси
урана, которые в свою очередь являются
функциями температуры. В силу этого
расчет указанных температур ведется
итерационным способом. Расчет считается
законченным, если расхождение в значениях
температур, полученных в двух последних
итерационных циклах, не превышает
наперед заданной величины, например
.
Температура внутренней поверхности оболочки твела
Температура внутренней поверхности оболочки твела [1]:
(1.59)
где
- линейный
тепловой поток в центральной плоскости
канала, кВт/м, определяемый по формулам
(1.12).
Остальные величины, входящие в формулу (1.58). Подсчитаны ранее или определены в исходных данных.
Температура наружной поверхности топливного сердечника
Температура наружной поверхности топливного сердечника
(1.60)
где
- средний радиус газового зазора между
оболочкой и топливным сердечником;
- толщина
газового зазора.
Температура в центре топливного сердечника
Температура в центре топливного сердечника [1]
(1.61)
где
- коэффициент
теплопроводности двуокиси урана,
кВт/(м·К).
Расчет температурного режима графитовой кладки
Температура графита по высоте канала (максимальной и средней нагрузки) не должна превышать 700 °С [б] и определяется как
(1.62)
где
- температурный
перепад вследствие теплоотдачи от
внутренней поверхности трубы к
теплоносителю,°С;
- температурный
перепад по толщине стенки трубы,°С;
- перепад
температуры на системе "газовые
зазоры - графитовые втулки" (рисунок
1.7),°С. При выполнении курсового проекта
может быть оценён значением 80...100 0С.
Подробнее методика изложена в [6];
- температурный
перепад по толщине графитового блока,°С.
Температурный перепад от внутренней поверхности трубы к теплоносителю
Температурный перепад вследствие теплоотдачи от внутренней поверхности трубы к теплоносителю
(1.63)
где
- поверхностный тепловой поток,
обусловленный тепловыделением в
графитовой кладке, втулках и циркониевой
трубе канала с внутренним диаметром
(см. табл2),
кВт/м2;
- коэффициент
теплоотдачи от стенки циркониевой трубы
к теплоносителю, кВт/(м2·К).
Температурный перепад по толщине стенки трубы
Температурный перепад по толщине стенки трубы
(1.64)
где
,
- соответственно наружный и внутренний
диаметр циркониевой трубы, м (см. табл.
2).
Температурный перепад по толщина графитового блока
Температурный перепад по толщина графитового блока
(1.65)

1 - графитовый блок; 2 -циркуляционная труба канала; 3 - графитовая кладка
Pиcунок 1.7 - Схематический разрез топливного канала с блоком графитовой кладки без ТВС
где
- радиус центрального отверстия в
графитовом блоке, м (см. таблицу 2, рисунок
1.1 и 1.7);
эквивалентный наружный радиус графитового
блока, м;
- коэффициент теплопроводности графита,
кВт(м·К).
1.10 Результаты теплогидравлического расчета
Результаты расчета сведем в виде таблицы
Таблица 1.1- Результаты теплогидравлического расчета
|
Параметр |
Условное обозначение |
Значение |
|
1 |
2 |
3 |
|
Проходное сечение ТВС, м2 |
S>ТВС> |
0,002391 |
|
Гидравлический периметр, м |
П>Г> |
1,044265 |
|
Гидравлический диаметр, м |
d>Г> |
0,009160 |
|
Тепловой периметр, м |
П>ТЕПЛ> |
0,746442 |
|
Тепловой диаметр, м |
d>ТЕПЛ> |
0,012814 |
|
Расход теплоносителя через рассчитываемый канал, кг/с |
G |
4,94 |
|
Среднее значение линейного теплового потока, кВт/м2 |
|
229,6 |
|
Итерация №1 |
||
|
Погрешность |
е |
1,000 |
|
Координата точки закипания, м |
z>П> |
3,500 |
|
Тепловой поток 1, кВт |
Q>1> |
587,8 |
|
Тепловой поток 2, кВт |
Q>2> |
895,85 |
|
Итерация №2 |
||
|
е |
0,3439 |
|
|
Координата точки закипания, м |
z>П> |
2,3 |
|
Тепловой поток 1, кВт |
Q>1> |
654,25 |
|
Тепловой поток 2, кВт |
Q>2> |
497,67 |
|
Итерация №3 |
||
|
е |
0,3146 |
|
|
Координата точки закипания, м |
z>П> |
2,53 |
|
Тепловой поток 1, кВт |
Q>1> |
641,12 |
|
Тепловой поток 2, кВт |
Q>2> |
570,94 |
|
Итерация №4 |
||
|
е |
0,1229 |
|
|
Координата точки закипания, м |
z>П> |
2,84 |
|
Тепловой поток 1, кВт |
Q>1> |
653,58 |
|
Тепловой поток 2, кВт |
Q>2> |
672,45 |
|
Итерация №5 |
||
|
е |
0,028 |
|
|
Координата точки закипания, м |
z>П> |
2,63 |
|
Тепловой поток 1, кВт |
Q>1> |
635,24 |
|
Тепловой поток 2, кВт |
Q>2> |
625,35 |
|
Тепловой поток на единицу поверхности, кВт/м2 |
|
159,23 |
|
|
394,28 |
|
|
|
435,05 |
|
|
|
338,41 |
|
|
|
164,68 |
Таблица 1.2- Распределение давления по высоте канала
|
Параметр |
Условное обозначение |
Величина |
|
давление, МПа |
Р(0) |
8,00 |
|
Р(z>П> = 2,63) |
7,398 |
|
|
Р( |
7,20 |
|
|
Р( |
6,80 |
|
|
Р( |
6,40 |

Рисунок 1.8- График изменения давления по высоте канала
Таблица 1.3 – Распределение коэффициента теплоотдачи по высоте канала
|
Параметр |
Условное обозначение |
Величина |
|
Коеффициент теплоотдачи, кВт/м2·К |
|
28,9 |
|
|
74,35 |
|
|
|
75,86 |
|
|
|
63,2 |
|
|
|
34,35 |

Рисунок 1.9 – График изминения коэффициента теплоотдачи по высоте канала
Таблица 1.4- Распределение наружной температуры оболочки ТВЕЛа по высоте канала
|
Параметр |
Условное обозначение |
Величина |
|
Наружная температура оболочки ТВЕЛ, 0С |
|
265,23 |
|
|
292,76 |
|
|
|
298,29 |
|
|
|
287,65 |
|
|
|
278,96 |

Рисунок 1.10- График изминения температуры наружной оболочки ТВЭЛа по высоте канала
Таблица 1.5- Распределение внутренней температуры оболочки ТВЕЛа по высоте канала
|
Параметр |
Условное обозначение |
Величина |
|
Внутренняя температура оболочки ТВЕЛ, 0С |
|
271,3 |
|
|
311,8 |
|
|
|
312,15 |
|
|
|
301,5 |
|
|
|
284,9 |

Рисунок 1.11- График изминения температуры внутренней оболочки ТВЭЛа по высоте канала
Таблица 1.6- Распределение наружной температуры топливного сердечника по высоте канала
|
Параметр |
Условное обозначение |
Величина |
|
Температура наружной поверхности топливного сердечника, 0С |
|
336,34 |
|
|
494,49 |
|
|
|
500,48 |
|
|
|
459,44 |
|
|
|
349,03 |

Рисунок 1.12- График изминения наружной температуры топливного сердечника по высоте канала
Таблица 1.7- Распределение температуры в центре топливного сердечника по высоте канала
|
Параметр |
Условное обозначение |
Величина |
|
Температура в центре топливного сердечника, 0С |
|
418,10 |
|
|
880,88 |
|
|
|
900,5 |
|
|
|
758,75 |
|
|
|
434,10 |

Рисунок 1.13- График изминения температуры в центре топливного сердечника по высоте канала
Таблица 1.8- Распределение температуры в графитовой кладке по высоте канала
|
Параметр |
Условное обозначение |
Величина |
|
Температура в центре топливного сердечника, 0С |
|
385,6 |
|
|
520,5 |
|
|
|
518,3 |
|
|
|
490,5 |
|
|
|
410,5 |

Рисунок 1.14- График изминения температуры в графитовой кладке по высоте канала
Таблица 1.9- Расчет запаса до кризиса
|
Параметр |
Условное обозначение |
Величина |
|
1 |
2 |
3 |
|
Паросодержание, % |
|
10,96 |
|
|
6,57 |
|
|
|
8,45 |
|
|
|
10,6 |
|
|
|
16,2 |
|
|
Критический тепловой поток, кВт/м2 |
|
3534,9 |
|
|
3233,1 |
|
|
|
2914,8 |
|
|
|
2673,4 |
|
|
|
2503,2 |
|
|
Коэффициент запаса до кризиса |
К(0) |
22,2 |
|
К(z>П>) |
8,2 |
|
|
К( |
6,7 |
|
|
К( |
7,9 |
|
|
К( |
15,2 |






)
)
)




































