Теплоизоляционные асбестовые шнуры
Bik.ФЕДЕРАЛЬНОЕ АГЕНСТВО ПО ОБРАЗОВАНИЮ РФ
Казанский государственный архитектурно – строительный университет
Кафедра строительных материалов
РЕФЕРАТ
по дисциплине «Современные теплоизоляционные материалы»
Тема: Теплоизоляционные асбестовые шнуры
Составили ст-ты гр. 07-303
Рахимов Р.Г.
Фаизов А. И.
Проверил: Шелихов Н.С.
Казань, 2010
Содержание
Введение
1. Нормативные требования и технические характеристики асбестовых шнуров
2. Технология производства асбестовых шнуров
3. Сведения о производителях
4.
Применение асбестовых шнуров
Список использованной литературы
Введение
Еще в глубокой древности люди столкнулись с удивительным волокнистым материалом, который не боится огня. Он получил название асбест (от греч. asbestos - неугасимый, неразрушимый). В Средней Азии асбест называли "фитильным камнем" и использовали в светильниках в роли "вечного" фитиля. Не зная точного происхождения волокон, по этому поводу строили различные предположения. В средние века думали, например, что асбест - это шерсть саламандры или перья птицы Феникс. На Урале с давних времен асбест называли каменной куделей, из которой ткали салфетки и скатерти, не горящие в огне.
В наше время асбест (в частности его разновидность – хризотиловый асбест) входит в состав более чем трех тысяч изделий в самых различных областях техники (строительство, автомобиле- и ракетостроение и т.п.).
Асбестовый шнур является изделием, предназначенным для уплотнения неподвижных технологических швов, а также для термоизоляции. Широкое распространение данное изделие получило благодаря уникальным огнезащитным свойствам асбеста. Этот гидросиликатный минерал выдерживает высокие температуры и имеет уникальную структуру: тончайшие полые волокна вырастают до нескольких сантиметров, образуя отдельные пластичные жгуты. Эти жгуты уже много лет люди сплетают в единые полотна, получая таким образом асбестовые ткани, способные защитить от огня и высоких температур. Из них делают одежду, элементы для промышленного оборудования, строительные материалы и многое-многое другое.
Одним из самых востребованных изделий из необычного минерала стал асбестовый шнур – незаменимый в промышленности, жилищно-коммунальном хозяйстве, прокладке тепловых сетей. Минеральные волокна, напоминающие шелковую пряжу, переплетают с вискозой или хлопком в жгуты. Содержание асбеста, способ плетения, размеры и формы готового изделия варьируются. Кроме того, различия могут быть в конструкции шнура – с сердечником или без него. Все это разнообразие базируется на основных типах шнура асбестового: ШАОН, ШАП и ШАГ, ШАУ. Изделие каждого типа имеет свои отличительные характеристики, позволяющие применять его в определенной сфере. Средой эксплуатации всех типов могут быть вода, пар или газ.
1. Нормативные требования и технические характеристики асбестовых
шнуров
Каждая партия асбеста, асбестовых и асбестоцементных изделий должна сопровождаться паспортом завода-изготовителя, в котором должны быть следующие данные: номер и дата выдачи паспорта и выпуска партии изделий; марка, размеры или количество изделий в партии; результаты испытаний; номер ГОСТ и назначение материала.
При приемке асбеста и изделий на его основе следует тщательно проверить состояние упаковки, соблюдение правил укладки материалов в транспортном средстве и наличие маркировки по ГОСТ. При поставке однородного материала из асбеста, упакованного в тару, повагонными "отправками допускается нанесение маркировки на четырех (не менее) грузовых местах. Следует также проверить наличие специальной маркировки, указывающей свойства груза, способы обращения с ним при погрузочно-разгрузочных работах и хранении.
Прибывший асбест, асбестовые и асбестоцементные изделия при необходимости подвергают контрольной проверке на плотность, механическую прочность и соответствие ГОСТ. При неудовлетворительных результатах проверки поступивший материал подвергается вторичным испытаниям на двойном количестве образцов. При неудовлетворительных повторных испытаниях партия приемке не подлежит.
Асбест и асбестоцементные изделия следует хранить в закрытых складах или под навесом, защищенными от механических повреждений и рассортированными по видам, размерам и маркам. Каждое место хранения (ящик, ларь, штабель, гнездо стеллажа и т. п.) должно быть снабжено этикеткой или табличкой (биркой) с указанием наименования, размера, сорта и количества хранящихся материалов и изделий.
Асбестовый шнур в соответствии с ГОСТ выпускается трех видов: асбестовый шнур диаметром 3-26 мм; асбомагнезиальный - диаметром 13-32 мм; асбопухшнур - диаметром 20 и 30 мм.
Поставляется шнур в бухтах, упакованных в рогожу или сорочку и перевязанных в трех местах. Масса бухты с асбестовым шпуром должна составлять не более 60 кг, с асбомагнезиальным- до 40 кг и асбопухшнуром - до 30 кг. Асбестовые шнуры в бухтах не должны иметь разрывов.
Норма хранения асбестовых изделий-1,6 м на 1 м складской площади при высоте укладки не более 2 м.
Шнур асбестовый общего назначения (ШАОН) – ГОСТ 1779-83 состоит из волокон хризотилового асбеста с примесью хлопка и других химических волокон и применяется с целью уплотнения и теплоизоляции соединений в различных тепловых агрегатах. ШАОН также обладает хорошей устойчивостью к вибрационным нагрузкам.
В зависимости от строения разделяют два типа шнуров асбестовых ШАОН – без сердечника и с сердечником. Без сердечника шнур ШАОН выпускается диаметром до 8 мм. Такой шнур асбестовый ШАОН представляет собой цилиндрическое тело, состоящее из нескольких сложений однониточной пряжи, скрученных вместе. При этом направление закручивания шнура ШАОН противоположно направлению закручивания однониточной пряжи.
Шнуры ШАОН с сердечником выпускаются диаметрами от 10 до 25 мм, где в качестве сердечника выступают асбестовые нити или пряжи. Рабочая среда ШАОН – газ, вода, пар температурой до 4000С; рабочее давление составляет 0,1 МПа (1,0 кгс/см2). Диаметр поставляемых ШАОН – от 2 до 25 мм.
Поверхность качественных асбошнуров не должна содержать поврежденных наружных нитей, сердечник шнура не должен выступать из-под наружных нитей. Поверхность шнура асбестового ШАОН может допускать наличие концов нитей длиной до 25 мм, образуемых при связывании нитей. Массовая доля влаги асбестового шнура, изготовленного в соответствии с ГОСТом 1779-83, не превышает 3% для шнуров на основе хлопка, и 4,5% для асбошнуров на вискозной основе. Для шнура асбестового массовая доля асбестового волокна должна составлять не менее 78%.
Асбестовый шнур марки ШАОН не должен иметь разрывов нитей, не должен расслаиваться, должен быть устойчивым и изгибу. Шнуры асбестовые марки ШАОН изготовленные для эксплуатации в условиях тропического климата должны в своем составе содержать смесь асбестовых и лавсановых волокон. Пример условного обозначения асбестового шнура общего назначения диаметром 5 мм:
Шнур асбестовый ШАОН 5 ГОСТ 1779-83
Обозначение того же асбошнура, но в тропическом исполнении:
Шнур асбестовый ШАОН-Т 5 ГОСТ 1779-83
Каждая партия шнуров асбестовых одной марки и одного размера сопровождается соответствующим документом о качестве. Документ, подтверждающий качество партии шнуров асбестовых, содержит следующую информацию:
- товарный знак или товарный знак и наименование завода-изготовителя;
- наименование и марку асбошнура;
- номер партии;
- геометрические параметры асбошнура;
- дату изготовления;
- чистую массу асбошнура, без упаковки (масса нетто);
- обозначение ГОСТа 1779-83;
- отчет о результатах физико-механических испытаний.
Поставка шнуров асбестовых ШАОН производится в бобинах или бухтах, при этом в одной бобине или бухте должно быть не более трех отрезков шнуров. Минимально допустимая длина отрезка асбестового шнура составляет 3 метра. Максимальная масса бобины асбестового шнура составляет 5 кг, а масса бухты шнура ШАОН – не более 60 кг. Намотанные на бобины или бухты шнуры асбестовые ШАОН подлежат упаковке в оберточную бумагу, мешочную бумагу, пленку полиэтиленовую или поливинилхлоридную. Также допускается упаковка асбестовых шнуров в бумажные мешки. При этом все упаковочные материалы должны отвечать требованиям соответствующих Государственных Стандартов. При соблюдении потребителем условий транспортирования и хранения (согласно ГОСТ 1779-83 асбошнуры должны храниться в закрытых помещениях) изготовитель гарантирует срок хранения – 10 лет со дня изготовления.
Международная классификация:
По международной классификации шнуры ШАОН делятся на следующие группы по способу производства:
- плетеные квадратного сечения;
- плетеные круглого сечения;
- обратного плетения;
- крученые.
Отличие по нити, из которой сделан шнур ШАОН: D – пыльная, DF – без пыли.
а) б)

Рис.1 Шнур асбестовый общего назначения: а) бухта, б) фрагмент
Шнур асбестовый пуховый (ШАП) – тоже предназначен для работы в сложных условиях. Сердечник такого шнура представляет собой прочесанные асбестовые нити, переплетенные с хлопковыми или синтетическими. Наружная оплетка – асбестовая пряжа. Применение – в качестве теплоизоляции в различных тепловых агрегатах и теплопроводящих системах при температуре до 400˚С, при максимальном рабочем давлении 0,1 мПа.
ШАП-01 (асбестовый пуховый) ГОСТ 1779-83
ШАП-02 (асбестовый пуховый) ГОСТ 1779-83
а) б)

Рис.2 Шнур асбестовый пуховый: а) бухта, б) фрагмент
Линейная плотность, текс:80-150
Область применения:теплоизоляция в тепловых агрегатах
t эксплуата-ции: до +400 °С
Упаковка: бухта 10 – 20 кг.
ШАП-01 (асбестовый пуховый) ГОСТ 1779-83
ШАП-02 (асбестовый пуховый) ГОСТ 1779-83
Линейная плотность, текс: 151-250
Область применения: теплоизоляция в тепловых агрегатах
t эксплуата-ции: до +400 °С
Упаковка: бухта 10 – 20 кг.
Шнур асбестовый газогенераторный (ШАГ) - представляет собой сердечник, состоящий из нескольких сложенных вместе шнуров марки ШАОН, оплетенный проволокой. Преимущественно используют в средах, подразумевающих наличие газов, например, при уплотнении люков, газогенераторных установок. Этот шнур в зависимости от типоразмера производят диаметром от 15 до 40 мм. Максимально допустимая температура эксплуатации – 400 °С, давление - 0,15 мПа. ШАГ (шнур асбестовый газогенераторный) ГОСТ 1779-83
а) б)

Рис.3 Шнур асбестовый газогенераторный: а) бухта, б) фрагмент
Диаметр, мм.: 10,0
Линейная плотность, текс: 80-120
Область применения: уплотнение люков газогенераторных установок.
t эксплуатации: до +400 °С
Упаковка: бухта 8 – 10 кг.
рабочая среда: газ при давлении до 0,15 МПа
Шнур асбестовый уплотнительный (ШАУ) –. Представляет собой сердечник, в качестве которого используют шнур асбестовый пуховый марки ШАП (ГОСТ 1779-83) в несколько сложений, оплетенного снаружи асбестовыми нитями. При схожести рабочих параметров (t до 400o °С, P не выше 0,1 мПа) с остальными типами, уплотнительный шнур отличается максимальными размерами. Этот шнур используют – для теплоизоляции и уплотнения дверных рам и броней коксовых печей, неподвижных деталей машин и аппаратов при температуре узлов уплотнения до 400˚С и давлением до 1 МПа.
ШАУ (шнур асбестовый уплотнительный) плотность не менее 0,5 г/см ТУ 2574-023-00149386-99

Рис.4 Шнур асбестовый уплотнительный
Диаметр, мм.: 20, 22, 25, 28, 30, 32, 35,38, 42, 45, 48, 50, 55, 60
Область применения: теплоизоляция и уплотнение дверных рам
и броней коксовых печей при давлении до 1 МПа
t эксплуатации: до +400 °С
Упаковка: бухта 7 – 12 кг.
Шнур термостойкий, асбестосодержащий (ТШ) – ТУ 38-5-96-68
Внешний вид: ТШ представляет собой шнур, состоящий из асбестового волокна с примесью хлопка или без него, оплетенный снаружи стеклянной нитью с добавлением хлопчато-бумажной нити. ТШ применяется для термоизоляции трубопроводов, горячих поверхностей и в качестве обволакивающей изоляции с последующим покровным слоем. Содержание гигроскопической влаги не более 4%. Потери в весе при прокаливании ТШ при темп. 600 °С в течении двух часов не должны превышать:
Шнур асбостеклянный (ШАС) – ТУ 2574-049-00149363-96
Физико-механические показатели:
Диаметр, мм.: 10,0-12,0
Линейная плотность, ктекс: 79-98
Область применения: уплотнение люков газогенераторных установок.
t эксплуатации: до +400 °С
Упаковка: бухта 8 – 10 кг.
рабочая среда: газ при давлении до 0,1 МПа
2. Технология производства асбестовых шнуров
Асбестовые шнуры изготавливаются в соответствии с требованиями ГОСТа 1779-83. Настоящий Государственный Стандарт распространяется на асбестовые шнуры, применяемые для теплоизоляции и уплотнения неподвижных деталей машин и аппаратов.
По технологии производства шнуры теплоизоляционные можно разделить на следующие виды:
1. Цельные – это шнуры, изготовленные непосредственно из холста, снятого с приемного барабана.
2. Комковые – эти шнуры изготавливаются на основе нарезанных полос из матов прошивных.
Технология производства шнура влияет на следующие параметры:
1. Равномерная плотность
2. Прочностные характеристики
3. Теплосберегающие свойства
«Цельные» теплоизоляционные шнуры обладают равномерной по всей длине плотностью. Благодаря этому, значение коэффициента теплопроводности одинаково по всей длине шнура, а соответственно теплосберегающие свойства стабильны.
Благодаря равномерной плотности прочностные характеристики шнура улучшаются, не существует разломов при сгибе.
«Комковые» шнуры обладают неравномерной плотностью, что ухудшает теплофизические свойства в целом, так как значение коэффициента теплопроводности меняется в зависимости от плотности. Ухудшаются прочностные характеристики, изделие становится легким на разрыв.
Плотность оплетки
По плотности оплетки теплоизоляционный шнур можно разделить на:
1. Шнур с высокой плотностью оплетки (>10 витков на 10см)
2. Шнур со средней плотностью оплетки (8-10 витков на 10 см)
3. Шнур с низкой плотностью оплетки (<8 витков на 10 см)
Плотность оплетки, а именно количество витков на единицу длины, влияет на прочностные и эксплуатационные характеристики шнура теплоизоляционного. Чем больше количество витков (чем они чаще), тем больше плотность оплетки, тем лучше эксплутационные и прочностные характеристики - шнур не ломается, не рассыпается и имеет высокую прочность на изгиб. Такой шнур базальтовый теплоизоляционный невозможно разорвать вручную, но при необходимости его можно разрезать.

5 см 5 см
Рис.5 Плотность оплетки
Способ оплетки шнура
По способу оплетки теплоизоляционные шнуры можно разделить на следующие виды:
1. Шнур с гладким плетением (Рис.6)

Рис. 6
2. Шнур с перекрестным плетением (Рис.7)

Рис. 7
Способ оплетки также влияет на показатель «прочность на изгиб». Это особенно важно, так как основная область применения шнура – это теплоизоляция сложных по конфигурации участков трубопроводов, а также трубопроводов с диаметром до 50мм, где приходится очень часто и много «изламывать» шнур. В подобном состоянии не должна нарушаться плотность оплетки теплоизоляционного шнура. При использовании перекрестного плетения, получаемые витки не сползают и структура оплетки не нарушается. Таким образом, теплоизоляционный шнур не «заламывается», то есть сохраняет на изгибе первоначальную плотность, не крошится и не осыпается, сохраняя, таким образом, свои теплофизические свойства. Кроме того, такой теплоизоляционный шнур пригоден к неоднократному использованию.

Рис.8 Способы оплетки
1. Цельная структура 1. Комковая структура 1. Комковая структура
2. Перекрестное плетение 2. Гладкое плетение 2. Гладкое плетение
3. Высокая плотность 3.Средняя плотность 3. Низкая плотность
оплетки оплетки оплетки
3. Сведения о производителях
|
Производитель |
Реквизиты |
Выпускаемые изделия |
|
ООО «Шамот» |
Московская обл., г. Одинцово, ул. Мира, 31-51 |
Огнеупорный кирпич; Огнеупорные смеси; Асбестовые изделия; Теплоизоляционные материалы; Соль, сульфоуголь, катиониты; Кислотоупорные изделия. |
|
ООО «Асбестпромснаб» |
Свердловская обл., г. Асбест, ул. Труда, 7-31 |
Шнуры асбестовые: Шнур асбестовый пуховый ШАП Шнур асбестовый ШАОН Шнур асбестовый уплотнительный ШАУ Шнур асбестовый газогенераторный ШАГ |
|
ООО «Компани Плазма» |
г .Киров, ул.Северное кольцо, 25 |
Шнуры асбестовые Лента асбестовая тормозная Продукция асбестовая Набивки сальниковые |
|
ООО «Торговый Дом РТД» |
Словакия |
Шнуры асбестовые Картон асбестовый Ткани асбестовые |
|
ООО «Техэнерго». |
г. Москва, ул.Шоссейная, д.90 |
Асбокартон Асбестовый шнур Асбестовая ткань |
4. Применение асбестовых шнуров
Применение шнура асбестового ШАОН: в качестве теплоизоляции и уплотнения соединений в различных тепловых агрегатах и теплопроводящих системах при температуре до +400 °С. Рабочая среда: газ, пар, вода. Давление до 0,1 МПа.

Рис.9 Схема электрообогрева ростверка:
1 - шпилька; 2 - деревянный утепленный щит; 3 - инвентарный разъем; 4 - теплостойкие монтажные провода; 5 - защитный каркас; 6 - трубчатые электрические нагреватели ТЭНы; 7 - асбестовый шнур; 8 – хомуты

Рис.9 Схема кожухотрубчатого теплообменника с продольной перегородкой:
а - общий вид; б, в - варианты уплотнения продольной перегородки с корпусомстальными пластинами и асбестовым шнуром; 1 - крышка распределительной камеры; 2 -распределительная камера; 3 - неподвижная трубная решетка; 4 - кожух; 5 - труба; 6 -продольная перегородка; 7 - поперечные стержневые перегородки (турбулизаторы); 8 –подвижная трубная решетка; 9 - крышка кожуха; 10 - крышка плавающей головки; - стальные пластины; 12 - асбестовый шнур.
Применение шнура асбестового ШАУ: для теплоизоляции и уплотнения дверных рам и броней коксовых печей, неподвижных деталей машин и аппаратов при температуре узлов уплотнения до +400 °С и давлением до 1 МПа.
Применение шнура асбестового ШАГ: преимущественно используют в средах, подразумевающих наличие газов, например, при уплотнении люков, газогенераторных установок. Рабочая среда: газ при давлении до 0,15 МПа.
Применение шнура асбестового ТШ: применяется для термоизоляции трубопроводов, горячих поверхностей и в качестве обволакивающей изоляции с последующим покровным слоем.


Рис.10 Устройство противопожарной разделки:
1 — потолок. 2 — верхнее и нижнее металлические кольца (кровельная сталь), 3 — уплотнительный асбестовый шнур, 4 — вытяжная труба (сталь), 5 — минераловата, 6 — гвозди. Расстояние «от дыма до дерева» принимается 38 см.
Применение шнура асбестового ШАП: применяется в качестве теплоизоляции в различных тепловых агрегатах и теплопроводящих системах при температуре до 400˚С, при максимальном рабочем давлении 0,1 мПа.

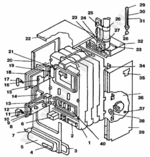
Рис.11 Водогрейный котел КЧМ-2М:
1 - пакет секций; 2 - решетка; 3 - шнур асбестовый; 4 - ручка; 5 - воздухосборник; 6 - ящик зольный; 7 - винт М6х12; 8 - гайка М6; 9 - защелка; 10 - шайба 6; 11 - отражатель; 12 - дверка нижняя; 13 - кронштейн; 14 - стенка правая; 15 - отражатель; 16 - болт M10x35; 17 - ручка; 18 - дверка верхняя; 19 - болт Ml0x20; 20 - стенка левая; 21 - турбулизатор; 22 - крышка; 23 - прокладка; 24 - штуцер; 25 - термометр манометрический; 26 - кронштейн; 27 - отвод; 28 - прокладка; 29 - оправа для термометра; 30 - прокладка; 31 - термометр стеклянный; 32 - патрубок газохода; 33 - шайба 10; 34 - планка; 35 - табличка; 36 - отвод; 37 - болт Ml0x25; 38 - прокладка; 39 - стенка правая; 40 - заклепка 8x50
Список использованной литературы
http://www.izotep-plus.ru/asbest
http://atiasbo.ru/production/asbestos-technical/cord
http://www.uzum.ru/cat_7.htm
http://www.batis.ru/useful-info/vidy-teploizoljacionnyh-shnurov/
http://www.antal.com.ua/html/prod14.html#5
http://www.ut-pavlodar-kz.info/shnur_asbestovyy