Внешние силы. Деформация и перемещение. Определение внутренних усилий
МИНИСТЕРСТВО ОБРАЗОВАНИЯ РЕСПУБЛИКИ БЕЛАРУСЬ
Учреждение образования
БЕЛОРУССКИЙ ГОСУДАРСТВЕННЫЙ УНИВЕРСИТЕТ
ИНФОРМАТИКИ И РАДИОЭЛЕКТРОНИКИ
кафедра инженерной графики
РЕФЕРАТ
на тему:
«ВНЕШНИЕ СИЛЫ. ДЕФОРМАЦИЯ И ПЕРЕМЕЩЕНИЯ. ОПРЕДЕЛЕНИЕ ВНУТРЕННИХ УСИЛИЙ»
МИНСК, 2008
ВНЕШНИЕ СИЛЫ (НАГРУЗКИ)
Нагрузки, действующие на сооружения и их элементы, представляют собой силы или пары сил (моменты), которые могут рассматриваться как сосредоточенные или распределенные.
Правда, в природе» сосредоточенных сил не бывает. Все реальные силы — это силы, распределенные по некоторой площади или объему. Например, давление колеса на рельс практически передается через небольшую площадку, получающуюся в результате деформации рельса и колеса (см. рис. 1.3). Однако для определения внутренних сил, возникающих в рельсе и колесе на некотором расстоянии от площади передачи давления, можно (на основании сформулированного выше принципа Сен-Венана) распределенную нагрузку заменить сосредоточенной равнодействующей силой, что упростит расчет.
Сосредоточенные нагрузки измеряются в килограммах или тоннах (или в ньютонах по СИ).
Распределенные нагрузки могут быть поверхностными (например, давление ветра или воды на стенку) и объемными (например, собственный вес тела).
Вес стержня, учитывая небольшие размеры его поперечного сечения по сравнению с длиной, рассматривают обычно не как объемную нагрузку, а как нагрузку, распределенную по длине стержня (погонную нагрузку).
Распределенные нагрузки измеряются в единицах силы, отнесенных к единице длины или к единице поверхности, или объема. И сосредоточенные, и распределенные нагрузки могут быть как статическими, так и динамическими.
Статическими называются нагрузки, которые изменяют свою величину или точку приложения (или направление) с очень небольшой скоростью, так что возникающими при этом ускорениями можно пренебречь.
При действии таких нагрузок колебания сооружений и их частей пренебрежительно малы.
Динамическими называются нагрузки, изменяющиеся во времени с большой скоростью (например, ударные нагрузки). Действие таких нагрузок сопровождается возникновением колебаний сооружений. При колебании же вследствие изменения скорости колеблющихся масс возникают силы инерции, пропорциональные (по второму закону Ньютона) колеблющимся массам и ускорениям. Величина этих сил инерции может во много раз превосходить статические нагрузки.
Законы изменения нагрузок во времени могут иметь весьма сложный характер.
В частном случае изменение нагрузки Р может носить периодически повторяющийся характер, так что через одни и те же промежутки времени t максимальные значения нагрузки будут повторяться.

Нагрузки
такого типа называются нагрузками
с установившимся режимом
или повторно-периодическими
(рис. 1.4). Расчеты на прочность при действии
таких нагрузок рассматриваются в главе
XII.
Однако во многих Других случаях изменение нагрузки во времени не имеет установившегося характера (рис. 1.5).
Таковы нагрузки, действующие на детали автомобилей, тракторов, станков, а также нагрузки, действующие на сооружения (дома, мачты и т. п.) от давления ветра, снега и т. д. Эти нагрузки называются повторными нагрузками неустановившихся режимов.
Более глубокое изучение таких нагрузок возможно лишь с помощью методов статистики и теории вероятности, которые применяются для изучения случайных величин.
В качестве примера рассмотрим
нагрузку от действия ветра, на
которую
рассчитываются башенные краны, мосты,
дома и другие
сооружения.
Известно, что скорость ветра, от которой зависит ветровая нагрузка, в одном и том же географическом пункте непрерывно изменяется.
Например, для Московской области, по наблюдениям за длительный период, скорость ветра изменялась в очень широких пределах (рис. 1.6).
Наиболее часто (33% всех случаев) наблюдалась скорость ветра 3,5 м/сек. Но были случаи, когда скорость ветра достигала 12 м/сек (2% всех случаев) и более.
С другой стороны, были случаи, когда скорость ветра была меньшей, иногда равнялась нулю (крайне редко).
Кривые, подобные рассмотренной, называются кривыми распределения. Они дают наглядное представление о степени рассеяния (изменчивости) данной величины.
Какую же скорость ветра нужно принять для расчета?
В качестве первого напрашивается предложение принять наибольшую зарегистрированную скорость ветра. Однако, во-первых, нет никакой гарантии, что за время службы сооружение не подвергнется действию более сильного ветра, чем зарегистрированный ранее. Во-вторых, очевидно, что принимать для расчета сооружения с небольшим сроком службы (например, деревянного) скорость ветра с повторяемостью один раз в 200 или 100 лет неэкономично.
Следовательно, величина расчетной нагрузки должна быть тесно увязана со сроком службы сооружения и со степенью его ответственности.

Все, что сказано о ветровой нагрузке, относится в равной мере и к большинству других нагрузок .
При расчете строительных сооружений величины расчетных нагрузок регламентируются техническими условиями и нормами проектирования.
В машиностроении расчетные нагрузки определяются в зависимости от конкретных условий работы машины: по номинальным значениям мощности, угловой скорости отдельных ее деталей, собственного веса, сил инерции и т. д. Например, при расчете деталей трехтонного автомобиля учитывают номинальный полезный груз, равный трем тоннам. Возможность же перегрузки автомобиля учитывают тем, что размеры сечения деталей назначают с некоторым запасом прочности .
О величине этого запаса прочности подробнее будет сказано в § 12.
ДЕФОРМАЦИИ И ПЕРЕМЕЩЕНИЯ
Как было отмечено ранее, все тела под действием приложенных к ним внешних сил в той или иной степени деформируются, т. е. изменяют свои размеры или форму, либо и то и другое одновременно.
Изменение линейных размеров тела называется линейной, а изменение угловых размеров — угловой деформациями.
При этом увеличение размеров тела называется удлинением, а уменьшение размеров — укорочением.

Если на поверхности тела, вблизи исследуемой точки, нанести весьма малый прямоугольник 1 2 3 4 (рис. 1.7, а), то в результате деформации этот прямоугольник в общем случае примет вид параллелограмма 1'2'3'4' (рис. 1.7, б).
Длины сторон прямоугольника изменятся (увеличатся или уменьшатся), а стороны повернутся по отношению к первоначальному положению.
Если, например, длина стороны 23
изменится на величину
s,
то отношение

называется средней линейной деформацией (в данном случае средним удлинением) в точке 2..
При уменьшении отрезка s в пределе получим
lim
где величина
называется истинной линейной деформацией
в точке 2 в
направлении 23.
Изменение первоначального прямого угла между сторонами рассматриваемого прямоугольника γ =α + β будет характеризовать угловую деформацию (или угол сдвига) в данной точке.
Опыт показывает, что деформации как линейные, так и угловые могут после снятия нагрузки или полностью исчезнуть, или исчезнуть лишь частично (в зависимости от материала и степени нагружения).
Деформации, исчезающие после разгрузки тела, называются упругими, а свойство тел принимать после разгрузки свою первоначальную форму называется упругостью.
Деформации же, сохраняемые телом и после удаления нагрузки, называются остаточными, или пластическими, а свойство материалов давать остаточные деформации называется пластичностью.
Зная деформации тела во всех его точках и условия закрепления, можно определить перемещения всех точек тела, т. е. указать их положение (новые координаты) после деформации. Для нормальной эксплуатации сооружения деформации его отдельных элементов должны быть, как правило, упругими, а вызванные ими перемещения не должны превосходить по величине определенных допускаемых значений. Эти условия, выраженные в форме тех или иных уравнений, называются условиями жесткости. В некоторых случаях допускаются небольшие пластические деформации (для конструкций из железобетона, пластмасс и для конструкций из металла при действии высоких температур).
МЕТОД СЕЧЕНИЙ
Внутренние силы (силы упругости), возникающие в теле под действием нагрузки, будем считать силами, непрерывно распределенными в соответствии с принятым допущением о непрерывности материала тела.
Как определяются эти силы в любой точке тела, будет показано ниже.
Теперь же займемся определением тех равнодействующих усилий (в том числе и моментов), к которым приводятся в сечении эти силы

упругости. Эти равнодействующие усилия представляют собой не что иное, как составляющие главного вектора и главного момента внутренних сил.
Для определения внутренних усилий (или внутренних силовых факторов) применяется метод сечений, заключающийся в следующем.
Для тела, находящегося в равновесии (рис. 1.8), в интересующем нас месте мысленно делается разрез, например по a — а. Затем одна из частей отбрасывается (обычно та, к которой приложено больше сил). Взаимодействие частей друг на друга заменяется внутренними усилиями, которые уравновешивают внешние силы, действующие на отсеченную часть. Если внешние силы лежат в одной плоскости, то для их уравновешивания необходимо в общем случае приложить в сечении три внутренних усилия: силу N, направленную вдоль оси стержня, называемую продольной силой; силу Q, действующую в плоскости поперечного сечения и называемую поперечной силой, и момент M>изг>, плоскость действия которого перпендикулярна к плоскости сечения. Этот момент возникает при изгибе стержня и называется изгибающим моментом.
После этого составляют уравнения равновесия для отсеченной части тела, из которых и определяют N, Q и М>изг>. Действительно, проектируя силы, действующие на отсеченную часть, на направление оси стержня и приравнивая сумму проекций нулю, найдем N; проектируя силы на направление, перпендикулярное оси стержня, определим Q; приравнивая нулю сумму моментов относительно какой-либо точки, определим М>из>>г>.

На рис. 1.9 и в дальнейшем принята правовинтовая система координат, причем ось z будем совмещать с осью стержня.
Итак, для нахождения внутренних усилий необходимо:
разрезать стержень или систему стержней;
отбросить одну часть;
приложить в сечении усилия, способные уравновесить внешние силы, действующие на отсеченную часть;
найти значения усилий из уравнений равновесия, составленных для отсеченной части.
В частном случае в поперечном сечении стержня могут возникать:
Только продольная сила N. Этот случай нагружения называется растяжением (если сила N направлена от сечения) или сжатием (если продольная сила направлена к сечению).
Только поперечная сила Q>x> или Q>y>. Это — случай сдвига.
Только крутящий момент М>к>. Это — случай кручения.
Только изгибающий момент М>х> или M>y>. Это — случай изгиба.
Несколько усилий, например изгибающий и крутящий моменты. Это — случаи сложных деформаций (или сложного сопротивления), которые будут рассмотрены в конце курса.
Если число неизвестных усилий равно числу уравнений равновесия, задача называется статически определимой, если же число неизвестных усилий больше числа уравнений равновесия — статически неопределимой.
Для статически неопределимых задач, кроме уравнений равновесия, необходимо использовать еще дополнительные уравнения, рассматривая деформации системы.
НАПРЯЖЕНИЯ
Было
отмечено, что в поперечном сечении
стержня действуют не сосредоточенные
внутренние усилия N,
Q,
М>к>
и т. д., а непрерывно
распределенные силы, интенсивность
которых может быть различной в разных
точках сечения и в разном направлении.
Как же измерить интенсивность внутренних сил в данной точке данного сечения, например в точке А (рис. 1.10)?
Выделим вокруг точки A
малую площадку
F.
Пусть
R—
равнодействующая внутренних сил,
действующих на эту площадку.
Тогда средняя величина внутренних
сил, приходящихся на единицу площади
рассматриваемой площадки
F,
будет равна
(1)
Величина
называется средним напряжением. Она
характеризует среднюю интенсивность
внутренних сил. Уменьшая размеры
площадки, в пределе получим
(2)
Величина р называется истинным напряжением, или просто напряжением, в данной точке данного сечения.
Упрощенно можно сказать, что напряжением называется внутренняя сила, приходящаяся на единицу площади в данной точке данного сечения.
Как видно из формул (1.1) и (1.2), размерность напряжения
.
В системе МКГСС единица измерения напряжения — кГ/м2. На практике обычно применяются внесистемные единицы измерения кГ/см2 или кГ/мм2.
Полное напряжение р можно разложить на две составляющие (рис. 1.11, а):
1) составляющую, нормальную к плоскости сечения. Эта составляющая обозначается буквой σ и называется нормальным напряжением;

2) составляющую, лежащую в плоскости сечения. Эта составляющая обозначается буквой τ и называется касательным напряжением. Касательное напряжение в зависимости от действующих сил может иметь любое направление в плоскости сечения. Для удобства т представляют в виде двух составляющих по направлению координатных осей (рис. 1.11, б).
Принятые обозначения напряжений показаны на рис. 1.11, б.
У нормального напряжения ставится индекс, указывающий, какой координатной оси параллельно данное напряжение. Растягивающее нормальное напряжение считают положительным, сжимающее — отрицательным. Обозначения касательных напряжений снабжены двумя индексами: первый из них указывает, какой оси параллельна нормаль к площадке действия данного напряжения, а второй — какой оси параллельно само напряжение.
Разложение полного напряжения на нормальное и касательное имеет определенный физический смысл. Нормальное напряжение возникает, когда частицы материала стремятся отдалиться друг от друга или, наоборот, сблизиться. Касательные напряжения связаны со сдвигом частиц материала по плоскости рассматриваемого сечения.
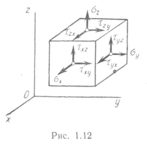
Если мысленно вырезать вокруг какой-нибудь точки тела элемент в виде бесконечно малого кубика, то по его граням в общем случае будут действовать напряжения, представленные на рис. 1.12.
Совокупность напряжений на всех
элементарных площадках, которые можно
провести через какую-либо точку тела,
называется напряженным состоянием
в данной точке.
Если по граням кубика действуют одни только нормальные напряжения, то они называются главными, а площадки, на которых они действуют, называются главными площадками.
В теории упругости доказывается, что в каждой точке напряженного тела существуют три главные (взаимно перпендикулярные) площадки.
Главные напряжения обозначают σ>1>, σ>2> и σ>3>. При этом большее (с учетом знака) главное напряжение обозначается σ>1>, а меньшее (с учетом знака) обозначается σ>2>.
Различные виды напряженного состояния классифицируются в зависимости от числа возникающих главных напряжений.
Если
отличны от нуля все три главных напряжения,
то напряженное состояние называется
трехосным, или объемным (рис. 1.13).
Если равно нулю одно из главных напряжений, то напряженное состояние называется двухосным, или плоским.
Если равны нулю два главных напряжения, то напряженное состояние называется одноосным, или линейным.
Зная напряженное состояние в любой точке детали, можно оценить прочность этой детали.
В простейших случаях оценка прочности элементов конструкций производится или по наибольшему нормальному напряжению, или по наибольшему касательному напряжению (расчет на сдвиг), так что условие прочности записывается в виде
(3)
где [
]
и [τ]—
допускаемые значения нормального и
касательного напряжений, зависящие от
материала и условий работы рассчитываемого
элемента.
Величины [
]
и [τ]
выбираются с таким расчетом,
чтобы была обеспечена нормальная
эксплуатация конструкции (см. § 12).
В более сложных случаях оценка прочности производится по приведенному напряжению, в соответствии с той или иной гипотезой прочности.
ЛИТЕРАТУРА
|
№ п\п |
Названия |
Год издания |
|
ОСНОВНАЯ |
||
|
1 |
Феодосьев В.И. Сопротивление материалов. |
2006 |
|
2 |
Беляев Н.М. Сопротивление материалов. |
2006 |
|
3 |
Красковский Е.Я., Дружинин Ю.А., Филатова Е.М. Расчет и конструирование механизмов приборов и вычислительных систем. |
2001 |
|
4 |
Работнов Ю.Н. Механика деформируемого твердого тела. |
1999 |
|
5 |
Степин П.А. Сопротивление материалов. |
1990 |