Разработка единичного маршрутно-операционного технологического процесса изготовления детали "Крышка"
Министерство образования и науки Российской Федерации
ГОУ ВПО Саратовский государственный технический университет
Кафедра "Основы Технология машиностроения"
"Утверждаю"
зав. кафедрой ТМС
проф. Королев А.В.
"___" __________2009г.
Задание №
на курсовой проект по "Технологии машиностроения"
студенту машиностроительного факультета
группы ТАМП–41 Шпак А.В.
Разработать единичный маршрутно-операционный технологический процесс изготовления детали "Крышка", чертеж 227.53.084А
Годовая программа выпуска изделия: 43446 шт.
Дата выдачи задания "___" ____2009г.
Срок выполнения "___" __________2009г.
Консультант _______ Р.А. Березняк
Студент ___________ А.В. Шпак
Содержание
Задание
Введение
1. Определение типа производства
2. Анализ исходных данных
2.1 Конструкторский контроль рабочего чертежа детали
2.2 Служебное назначение детали и условия ее работы в сборочной единице
2.3 Анализ технических требований на изготовление детали
2.4 Анализ технологичности конструкции детали
3. Анализ базового технологического процесса изготовления детали
4. Разработка и обоснование проектируемого ТП изготовление детали
4.1 Разработка и обоснование маршрутного ТП
4.2 Обоснование выбора технологических баз
4.3 Разработка и обоснование операционного ТП изготовления детали
4.4 Обоснование выбора оборудования и технологического оснащения
4.5 Расчет припусков на механическую обработку
5. Технико-экономическое сравнение 2-х вариантов механической обработки
Литература
Введение
В рыночных условиях, когда предприятия стремятся выйти на международный
Уровень, острее становится проблема эффективности производства, механизации и автоматизации производственных процессов.
За эффективностью производства стоят существенные резервы производительных сил, роста производительности труда, экономии материальных ресурсов, повышения отдачи капитальных вложений, улучшения использования производственных фондов, расширения экспорта продукции, улучшения уровня жизни.
Важнейшей задачей в настоящее время является создание высокоэффективных производственных систем, реализующих современные технологии. Такие производства должны обладать высоким уровнем автоматизации всех составляющих элементов. Создание производств базируется на реконструкции действующих и создании новых.
Следует отметить постоянное усложнение объектов проектирования, что обуславливает появление новых направлений и видов проектных работ.
Процесс проектирования превратился в сложнейшую динамическую систему, объединяющую специализированные подразделения инженерно-технических работников различных специальностей и опирающуюся на результаты работы научно-исследовательских институтов, конструкторских бюро, а также промышленных предприятий различного.
В связи с этим цель курсового проектирования – разработка (на основе заводского) нового технологического процесса изготовления детали, отвечающего всем вышеизложенным требованиям.
Курсовой проект должен предусматривать на момент освоения технологию производства, обеспечивающую выпуск конкурентоспособных качественных изделий при минимальных затратах и в установленные сроки.
Отсюда следуют определённые задачи курсового проектирования: анализ технических условий на изготовление детали, выбор заготовки с технико-экономической точки зрения, расчёт промежуточных припусков, режимов резания, составление управляющей программы на технологическую операцию на станке с ЧПУ, нормирование технологических операций.
Определение типа производства
Тип производства согласно ГОСТ 3.1108-74 ЕСТД и ГОСТ 14.004-83 ЕСТПП определяется по коэффициенту закрепления операций:
К>з.о.> = О/Р, (3.1)
где О – число различных операций, выполняемых в течение месяца, шт.;
Р – число рабочих мест, выполняющих различные операции, шт.;
Ф>Д> – действительный годовой фонд времени работы металлорежущих станков,ч.,
,
Q – годовой выпуск деталей, шт.,
Т>ШТ.СР. >– среднее штучно-калькуляционное время по основным операциям, мин.
Действительный годовой фонд работы металлорежущих станков выбираем из таблицы 1 "Методических указаний к выполнению курсового проекта по ТМС" для массы станков от 1т до 10т и двух рабочих смен Ф>Д> = 4055.
Определим, необходимые параметры
для расчета Ф>Д,>
,>
>Q.
Т>ШТ.СР.> определим как среднее штучно-калькуляционное время для пяти самых трудоёмких операций базового технологического процесса.
Определим Т>шт к> как:
(3.2)
где Тшт. –
Тп.з. –
n – число деталей в партии.

где к- число операций
Фрезерование торца (4×l)
4×78=0,312 мин
выберем поправочный коэффициент по таблице для фрезерования
φ>к>=1.84
Развёртывание чистовое по 9-му квалитету (0.27×d×l)
0.27×5×5=0,00675 мин
выберем поправочный коэффициент по таблице для развёртывания
φ>к>=1.72
Черновая подрезка торца (0.37×(b2 – d2))
0.37×(802 – 722)=0,45 мин
выберем поправочный коэффициент по таблице для подрезки тоца
φ>к>=2.14
Растачивание отверстия с 70 до 72Н7 на глубину l=22 мм.
(0.18×d×l)= 0.18×72×22=0,285 мин
выберем поправочный коэффициент по таблице для растачивания
φ>к>=2.14
Сверление отверстия диаметром 14мм. l=6мм.
(0.52×d×l)= 0.52×14×6=0,04368 мин
выберем поправочный коэффициент по таблице для сверления
φ>к>=2.14
Определим T>шт> для каждой операции:
T>шт1>=312×1.84=0,574 мин
T>шт2>=6.75×1.72=0,01161 мин
T>шт3>=285×2.14=0,6099 мин
T>шт4>=45×2.14=0,0963 мин
T>шт5>=43.68×2.14=0,0935 мин
Определим T>шт.ср.> по формуле (3.2):
T>шт.ср.>=(574+11.61+609.9+96.3+93.5)/5=277×10-3=0.28 мин.
Определим годовой выпуск деталей из формулы (3.1)
=>

где Ф>Д>=4055, а К>З.0.>=20 для серийного производства.

шт.
Так как К>з.о> = 20, то согласно ГОСТ 3. 1119-83 производство является серийным. Следовательно, необходимо определить величину партии деталей запускаемых в производство
Размер партии запуска на стадии проектирования определяют из расчёта суточного задания:
n = Q · f / F , (3,3)
где f = 12 дней– периодичность запуска деталей в днях ( периодичность выпуска);
F = 253 – число рабочих дней в году.
Подставим значения в формулу и определим необходимый размер партии:

Определим расчётное число смен на обработку всей партии:
(3.4)
где 476 – действительный фонд времени работы оборудования в смену, мин;
0,8 – нормативный коэффициент загрузки станка в серийном производстве.
Подставим значения в формулу и определим число смен необходимое число смен:
(округляем до 2, С>пр>=2)
Определим число деталей в партии, необходимых для загрузки оборудования:

шт.
Примем размер производственной партии n = 2720
Определим число рабочих мест Р>м>, приходящихся на одну операцию:
(3.5)
где Тр – такт выпуска деталей.
(3.6)
Где Кз = 0,85 – планируемый нормативный коэффициент загрузки.


Анализ исходных данных
Конструкторский контроль рабочего чертежа детали
Анализ рабочего чертежа детали производится с целью установления факта соответствия его действующим стандартам ЕСКД.
Проанализировав имеющийся рабочий чертёж детали, можно отметить следующее:
элементы детали расположены на листе грамотно, лист не имеет пустот или участков с большой концентрацией элементов;
на чертеже присутствуют все виды и разрезы детали, позволяющие получить
полное представление об её конструкции;
размеры на чертеже проставлены верно и в достаточном количестве, что позволяет определить величины всех конструктивных элементов детали.
Замечания:
обозначения разрезов элементов детали подчеркнуты (А-А), тогда как в настоящее время стандарт требует этого не делать;
некоторые значения шероховатости поверхностей нормированы параметром R>Z>, а не R>a>, как этого требует стандарт, к тому же параметры R>a>, указанные на чертеже, не являются предпочтительными согласно стандарту. Также можно отметить, что значение шероховатости поверхностей, на которых оно не указано, располагается не в правом верхнем углу чертежа, а дано строкой технических требований;
- значения отклонений формы и взаимного расположения поверхностей детали также записаны в технических условиях, а не показаны на чертеже согласно стандарту;
размеры листа, на котором выполнен чертёж, не являются стандартными.
Все указанные замечания будут учтены при оформлении рабочего чертежа детали, который прилагается к курсовому проекту в его графической части.
2.2 Служебное назначение детали и условия её работы в сборочной единице
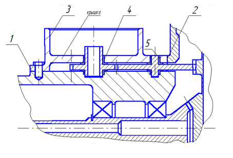
Деталь 42С5700-2120/3 "Крышка", являющаяся объектом курсового проектирования, входит в редуктор винтового механизма самолёта "ЯК-42".
Фрагмент сборочной единицы:

Редуктор – описание и работа
1)Общая часть.
Редуктор передаёт вращение от рулевого привода трансмиссии управления закрылками к механизму концевых выключателей без понижения оборотов.
2)Описание.
Редуктор состоит из корпуса, крышки, входного вала с конической шестерней,
Выходного вала с конической и цилиндрической шестернями и двух цилиндрических шестерён привода механизма концевых выключателей .
Выходной и входной валы изготовлены заодно целое со своими шестернями и установлены на шарикоподшипниках. Шестерня входного вала находится в зацеплении с конической шестерней выходного вала. Цилиндрическая шестерня выходного вала находится в зацеплении с двумя цилиндрическими шестернями, передающими вращение на вал механизма концевых выключателей.
3)Работа.
Вращение рулевого привода передаётся входному валу, который приводит во вращение выходной вал и шестерни привода механизма.
Как видно из описания крышка играет важную роль в передаче крутящего момента от рулевого механизма к механизму концевых выключателей, т.к. обеспечивает взаимное расположение осей двух цилиндрических шестерён привода механизма МКВ-45, а также самого механизма.
Исходя из этого основными исполнительными поверхностями данной детали
Являются 4 и 5 (отверстия, в которые запрессовываются втулки), а также 3 (поверхность, входящая в сопряжение с соответствующей поверхностью механизма МКВ-45).
Основными конструкторскими базами детали, определяющими её положение в сборочной единице, являются поверхности 1 и 2 (нижняя плоскость крышки и торец ребра).
Вспомогательными конструкторскими базами, определяющими положение других деталей сборочной единицы относительно крышки, являются поверхности 3,4 и 5.
В процессе работы сборочной единицы крышка не подвергается воздействию агрессивных сред и экстремальных температур и работает при температуре окружающей среды. Из испытываемых напряжений можно отметить напряжения смятия, которые испытывают отверстия 4 и 5 после запрессовывания в них втулок.
2.3 Анализ технических требований и выбор марки материала
Основные технические требования, указанные на чертеже:
технические условия на штамповку по ОСТ 1.90073 – 72, группа контроля 3.
По ОСТ 1.90073 – 85 ( в настоящее время действует этот отраслевой стандарт, а не указанный на чертеже ) в третью группу контроля входят штамповки и поковки, подлежащие испытанию только на твёрдость.
Другие требования, изложенные в данном стандарте, касаются состояния необрабатываемых поверхностей и поверхностей, подлежащих обработке, макроструктуры и микроструктуры штампованных заготовок.
Настоящий отраслевой стандарт распространяется на штамповки и поковки из алюминиевых сплавов различных марок, изготавливаемые горячей объёмной штамповкой или свободной ковкой;
штамповочные уклоны 3.
Данное техническое требование верно лишь в том случае, если имеются в виду наружные штамповочные уклоны, внутренние же штамповочные уклоны должны находиться в пределах 5…7 неуказанные штамповочные радиусы 2мм.
Данная величина соответствует наименьшему значению радиусов закругления для поковок массой до 1кг и с глубиной полости штампа 25…50мм, что вполне приемлемо.
термообработка: калить и искусственно старить.
Закалка – это операция, заключающаяся в нагреве материала до температуры, находящейся в критическом интервале и выше, выдержке при данной температуре и быстром охлаждении.
Старение сплава заключается в выдерживании с метастабильной структурой более или менее продолжительное время при комнатной или повышенной температуре. При этом происходит частичный переход структуры к более стабильному состоянию и изменение физических и механических свойств материала.
Искусственное старение осуществляется при повышенной температуре (обычно не выше 200).
Вид термообработки, обозначенный в технических условиях чертежа, применяется для получения достаточно высоких значений прочности и пластичности алюминиевых сплавов;
допуски на размеры и припуски на обработку штампованных заготовок по ОСТ 1.41187 – 78 5 класс точности.
Настоящий стандарт распространяется на штампованные заготовки площадью проекции до 980см2 и линейными размерами до 500мм из стали, алюминиевых, магниевых, медных и титановых сплавов, изготовленные на молотах и прессах.
В соответствии с требованиями, предъявляемыми к деталям, установлено 6 классов изготовления горячештампованных заготовок, изготавливаемых обычными методами штамповки с применением в отдельных случаях калибровочных операций;
неуказанные предельные отклонения размеров по ОСТ 1.00022 – 80.
Это означает, что на свободные размеры отклонения выбирают по ОСТ 1.00022 – 80. По ГОСТ 520 – 89 это техническое условие записывается: Н12; H22; IT12/2.
покрытие Ан. Окс. Хром/ эмаль ЭП – 140 (серо-голубая) 265 ОСТ 1.9005578.
Поверхности Б; В; Г; Д; Е; Ж не грунтовать и не красить.
Запись в числителе обозначает неорганическое покрытие, в знаменателе – лакокрасочное. Поверхности Б; В; Г; Д; Е; Ж являются исполнительными и поэтому не грунтуются и не красятся;
обработку по размерам в квадратных скобках производить совместно с деталью 42С5700 – 2110 СБ.
Отверстия, на которые даны размеры в квадратных скобках, являются крепёжными и поэтому их обработку необходимо производить совместно с деталью, к которой будет крепиться данная деталь в сборочной единице;
маркировать шрифтом ПО – 5 ГОСТ 2570 – 62, размер клейма - 12мм.
ПО – 5 – шрифт прописной, основной, 5 – высота шрифта в мм.
Клеймение производится для подтверждения качества обработанной детали.
ОСТ 141026 – 70, указанный на чертеже, в настоящее время заменён на новый ОСТ 141026 – 83.
непараллельность поверхностей Г и Д не более 0,03мм.
Здесь возникает неясность, т.к. в операционной карте технологического процесса указан аналогичный допуск, но на непараллельность осей этих отверстий. Если это так, то этот допуск вполне соответствует допуску на межосевое расстояние цилиндрических зубчатых передач (в эти отверстия устанавливаются зубчатые колёса), установленному стандартом.
- неуказанная шероховатость поверхностей
Эти знаки обозначают шероховатость поверхности детали. Шероховатость поверхности – это совокупность неровностей с относительно малым шагом, образующих рельеф поверхности. Ra – среднее арифметическое значение точек профиля, измеренных в пределах базовой длины.


Этот знак означает, что все
поверхности, на которых на изображении
не нанесены обозначения шероховатости,
должны иметь шероховатость, указанную
перед условным обозначением (
).
Также знак говорит о том, что поверхность
образована путем удаления слоя металла.
Rz
– среднее арифметическое значение
высоты шероховатости по пяти точкам.
Это означает, что поверхности, на которых не указана шероховатость не обрабатываются, и их шероховатость определяется шероховатостью штампованной заготовки.
Для изготовления детали выбран алюминиевый сплав АК – 6.
Механические свойства АК – 6:
>в> = 42 кг/мм2;
>0,2> = 30 кг/мм2;
= 13%;
= 40%;
Е = 7200 кг/мм2;
НВ = 105.
Физические свойства:
плотность –2,85 кг/м3;
теплопроводность – 0,45;
коэффициент линейного расширения – 0,42;
электропроводность – 0,041 Оммм2/м.
Недостатки по записи технических требований на рабочем чертеже внесены в таблицу. (см. табл. 2.1)
Таблица 2.1 – Несоответствия ЕСКД оформления технических требований на рабочем чертеже детали "Колесо зубчатое цилиндрическое"
|
Изображено на чертеже |
В соответствии с требованиями ЕСКД |
|
|
|
|
|
|
Анализ конструкции детали на технологичность
Технологичность конструкции – совокупность свойств конструкции изделия, обеспечивающих возможность оптимальных базовых затрат при производстве,эксплуатации и ремонте для заданных показателей качества, условий изготовления и эксплуатации.
Для выполнения расчётов пронумеруем поверхности детали и составим нижеследующую таблицу:

Таблица 2.2
|
№ |
Идентичные поверхности |
Квалитет |
Шероховатость |
Коэффициент приведения |
Примечания |
|
1 |
11 |
6,3 |
4 |
||
|
2 |
11 |
6,3 |
4 |
||
|
3 |
11 |
6,3 |
4 |
||
|
4 |
7 |
1,6 |
6 |
||
|
5 |
8 |
3,2 |
5 |
||
|
6 |
12 |
6,3 |
4 |
||
|
7 |
4 |
11 |
6,3 |
4 |
4 отв. |
|
8 |
2 |
9 |
3,2 |
5 |
2 отв. |
|
9 |
9 |
3,2 |
5 |
||
|
10 |
8 |
1,6 |
6 |
||
|
11 |
14 |
12,5 |
3 |
||
|
12 |
14 |
12,5 |
3 |
||
|
13 |
13 |
|
3 |
||
|
14 |
14 |
не обраб. |
|||
|
15 |
14 |
не обраб. |
|||
|
16 |
14 |
не обраб. |
|||
|
17 |
14 |
не обраб. |
|||
|
18 |
14 |
не обраб. |
|||
|
19 |
14 |
не обраб. |
|||
|
20 |
14 |
не обраб. |
|||
|
Всего - 20 Идентичных - 6 |
Для количественной оценки технологичности определим три коэффициента: коэффициент унификации (К>У.Э.>), коэффициент точности (К>Т.>) и коэффициент шероховатости (К>Ш.>).
1. Коэффициент унификации конструктивных элементов:
,
(1.4.1.)
где
– число унифицированных типоразмеров
конструктивных элементов резьбы,
отверстия, галтели, фаски и т. д.;
– число типоразмеров конструктивных
элементов в изделии.
,
По данному показателю конструкция
является технологичной, т. к.
.
2. Коэффициент точности обработки:
,
(1.4.3)
,
(1.4.2)
где
– средний квалитет точности обработки;
А – квалитет точности обработки;
n>i> – число размеров соответствующего квалитета.


Согласно этому показателю
конструкция является технологичной,
т. к.
имеет высокое значение близкое к единице.
Изделие относится к средней точности,
т. к.
.
3. Коэффициент шероховатости:
,
(1.4.4)
,
(1.4.5)
где
– средняя величина коэффициента
приведения;
Б – величина коэффициента приведения;
n>i>>.ш.> – число поверхностей соответствующего параметра шероховатости.
,

Изделие относится к средней
степени точности, т. к.
.
4. Коэффициент использования материала:
,
где
– масса детали, кг;
– масса материала, израсходованного
на изготовление детали, кг.
.
Изделие не является технологичным, т. к. К>и.м.> < 0,64.
5. Коэффициент использования заготовки:
,
где
– масса детали, кг;
– масса заготовки, кг.
.
Изделие не является технологичным, т. к. К>з> < 0,7.
6. По удельному весу применения прогрессивных высокоэффективных методов обработки:
,
где
– количество эффективных методов
обработки, применяемых при изготовлении
изделия;
– общее количество методов.
.
Изделие не является технологичным, т. к. К>вм> < 0,45.
7. Коэффициент применения типовых технологических процессов
,
где
– число применяемых типовых технологических
процессов;
– общее число применяемых
технологических процессов.
.
Изделие не является технологичным, т. к. К>ттп> < 0,8.
8. Коэффициент применения автоматического и полуавтоматического оборудования:
,
где
– количество автоматического и
полуавтоматического оборудования в
технологическом процессе изготовления
детали;
– общее количество оборудования,
используемого в технологическом
процессе.
.
Изделие не является технологичным, т. к. К>а.об.> < 0,62.
9. Коэффициент применения станков с ЧПУ:
,
где
– количество оборудования с ЧПУ,
применяемого в технологическом процессе
изготовления детали;
– общее количество оборудования,
применяемого в технологическом процессе.
.
Изделие не является технологичным, т. к. К>пу> < 0,28.
Таблица 2.3 – Оценка качественных показателей технологичности конструкции детали
|
№ |
Наименование показателя |
Степень соответствия |
|
1 |
Методы получения заготовок, обеспечивающие получение поверхностей, не требующих дальнейшей обработки или требующих обработки с малыми припусками. |
Не используется |
|
2 |
Использование основных конструкторских баз как измерительных и технологических. |
Да |
|
3 |
Позволяет ли простановка размеров на чертеже детали производить обработку по принципу АПР ? |
Да |
|
4 |
Позволяет ли конструкция детали применение наиболее совершен-ных и производительных методов обработки ? |
Да |
|
5 |
Обеспечена ли обработка на проход, условия для врезания и выхода инструмента ? |
Да |
Таблица 2.4
|
№ п/п |
Наименование коэффициента |
Формула расчета |
Показатель |
|
|
расчетный |
нормальный |
|||
|
1 |
Коэффициент унификации элементов |
|
0,3 |
0,65 |
|
2 |
Коэффициент точности обработки |
|
0,91 |
0,5 |
|
3 |
Коэффициент шероховатости |
|
0,27 |
0,16 |
|
4 |
Коэффициент использования материала |
|
0.107 |
0,64 |
|
5 |
Коэффициент использования заготовки |
|
0.107 |
0,7 |
|
6 |
Коэффициент применения прогрессивных высокоэффективных методов обработки |
|
0 |
0,45 |
|
7 |
Коэффициент применения типовых технологических процессов |
|
0 |
0,8 |
|
8 |
Коэффициент применения автоматического и полуавтоматического оборудования |
|
0 |
0,62 |
|
9 |
Коэффициент применения станков с ЧПУ |
|
0,08 |
0,28 |
Вывод: данная деталь относится к изделиям средней точности. Значения всех коэффициентов соответствуют требованиям, кроме коэффициента К>У.Э.>
Анализ базового технологического процесса изготовления детали и предложения по его совершенствованию
После внимательного изучения комплекта документов технологического процесса обработки детали 42С 5700-2120/3 "Крышка", составленного технологами базового предприятия (ЗАО "Саратовский авиационный завод") осталось множество замечаний к его содержанию, большинство из которых, впрочем, может являться результатом недостаточно внимательного отношения работников завода к оформлению документации.
Самые существенные из замечаний касаются базирования заготовки в процессе обработки. Ни на одной из операций эскиз не содержит обозначения полного комплекта технологических баз, необходимых для лишения заготовки числа степеней свободы, достаточного для осуществления обработки. А если и предположить какие поверхности на этих операциях являются базовыми, то непременно оказывается, что в течение всего технологического процесса в качестве баз используются необработанные поверхности ( даже на операциях чистовой обработки ).
Также имеются замечания к количеству переходов при обработке отверстий 4,5 и 10 (см. нумерацию в пункте выше). Так отверстие 4 обрабатывается до 7-го квалитета лишь за два перехода, как и отверстия 5 и 10 до восьмого.
В связи с этим целесообразно изменить схему базирования заготовки и в самом начале технологического процесса обработать плоскость 3. В этом случае базирование заготовки на дальнейших операциях представляется вполне определённым и обеспечивающим необходимую точность.
Отверстия 4 и 5,10 необходимо обрабатывать в три перехода, т.е. ввести дополнительные переходы чистового растачивания (4), чистового зенкерования (10), а чистовое растачивание отверстия 5 заменить зенкерованием и чистовым развёртыванием и перевести его обработку на вертикально-сверлильный станок с целью сделать её совместной с обработкой отверстия 10, обеспечив тем самым требуемую параллельность их осей.
Т.к. базовые поверхности в большинстве операций чётко не обозначены, то говорить о соблюдении или не соблюдении принципов единства и постоянства баз не имеет смысла, а в том, что касается выбора оборудования, нарекания вызывает лишь вертикально-сверлильный станок 2А135, имеющий возможность обрабатывать отверстия диаметром до 35мм, тогда как обрабатываются на нём отверстия диаметром не более 17мм.
Технико-экономическое обоснование способа получения заготовки.
Выбор заготовки является одним из весьма важных вопросов проектирования процессов изготовления деталей. От правильности выбора заготовок зависит число операций или переходов, трудоёмкость и, в итоге, стоимость изготовления детали в целом. Выбранный способ получения заготовки в значительной степени предопределяет дальнейший процесс механической обработки. Если заготовка будет изготовлена достаточно точно, то механическая обработка может быть сведена к минимальному количеству операций, минимальной трудоёмкости и себестоимости.
Т.к., исходя из формы данной детали, для её изготовления целесообразно использовать штампованную заготовку, то в данном разделе дипломного проекта мы будем сравнивать два способа получения штамповок: на молотах и на кривошипных горячештамповочных прессах.
Масса готовой детали составляет 0,28кг, плотность алюминиевого сплава АК6 – 2,85 кг/см3.
Необходимо отметить, что штамповка на КГШП в два-три раза производительнее и обеспечивает получение припусков, меньших на 0,1…0,6мм, по сравнению со штамповкой на молотах.
После назначения припусков на обрабатываемые поверхности детали, мы можем определить массу заготовки для каждого из сравниваемых случаев.
Как известно, масса равна произведению плотности на объём. Плотность нам известна, а объём найдём путём разбиения заготовки на элементарные объёмы, определения значений этих объёмов и суммирования полученных результатов.
После выполнения этих операций получаем: для штамповки на КГШП :
V = 114,58см3, для штамповки на молотах: V = 119,4см3.
Соответственно, в первом случае масса заготовки равна 0,326кг, а во втором – 0,34кг.
Коэффициент использования металла, который равен отношению массы детали к массе заготовки, для штамповки на КГШП равен 0,86, а для штамповки на молотах – 0,82.
Стоимость заготовки определим по формуле:
Sзаг. = ((С/1000) Q Кт Км Кс Кз Кп) – (Q – q) Сотх/1000, (4.1)
где С – стоимость одной тонны штамповок (С = 373р),
Q – масса заготовки,
Кт, Км, Кс, Кз, Кп – коэффициенты, зависящие от класса точности, группы сложности, массы, марки материала и объёма производства заготовок,
Сотх – стоимость тонны отходов (Сотх = 270р).
Тогда, для штамповки на КГШП:
Sзаг. = ((313/1000)0,32615,9411,851) – (0,326 – 0,28)270/1000 = 1,32р.
Для штамповки на молотах:
Sзаг. = ((373/1000)0,3415,9411,851) – (0,34 – 0,28)270/1000 = 1,38р.
Экономическую эффективность определим по формуле:
Эз = (Sзаг1 – Sзаг2)N, (3.2)
где N – объём годового выпуска.
Тогда:
Эз = (1,32 – 1,38) 43446 = 2606р.
Для перевода в современные цены умножим полученные результаты на переводной коэффициент, равный 30. Тогда:
Sзаг1 = 39.6р, Sзаг2 = 41.4р, Эз = 2916 р.
Делаем вывод, что штамповка на КГШП является более экономически эффективным способом изготовления заготовки.
Таблица 4
|
№ |
Наименование показателей |
Первый вариант |
Второй вариант |
|
1 |
Вид заготовки |
Штамповка на КГШП |
Штамповка на молотах |
|
2 |
Годовой объём выпуска ,шт |
43446 |
43446 |
|
3 |
Масса заготовки ,кг |
0,326 |
0,34 |
|
4 |
Стоимость заготовки, р |
39.6 |
41.4 |
|
5 |
К.И.М. |
0,86 |
0,82 |
Разработка и образование проектируемого ТП изготовление детали
4.1 Разработка маршрутного технологического процесса
Исходными данными для выполнения данного раздела являются ранее принятые методы обработки поверхностей.
Предложения по изменению маршрута обработки данной детали уже высказывались ранее в п. "Анализ базового технологического процесса и предложения по его совершенствованию".
Маршрутный технологический процесс, составленный на основе базового с учётом этих предложений подробно см. в маршрутных картах приложения к курсовому проекту.
Маршрутный технологический процесс.
|
№ оп. |
Наименование операции |
Содержание операции |
Тип станка |
Базовые поверхности |
|
005 |
Токарно-винторезная |
1.Подрезать торец в р-р 35, 2.расточить отверстие, 3.центровать отверстие, 4.сверлить отверстие |
16К20 |
|
|
010 |
Вертикально-фрезерная |
Фрезеровать плоскость крышки |
6Н12П |
|
|
015 |
Вертикально-фрезерная |
Фрезеровать сторону ребра |
6Н12П |
|
|
020 |
Программная на с-ке с ЧПУ |
1.Фрезеровать внутренний контур 2.Фрезеровать внутренний контур и подобрать R6, выдерживая размеры согласно эскизу |
МА655 |
|
|
025 |
Вертикально-фрезерная |
Фрезеровать 3 ушка, выдерживая размеры 80 +0,74, 5 +0,5 |
6Н12П |
|
|
030 |
Вертикально-сверлильная |
Сверлить 4 отверстия 5,2 на глубину 35. Сверлить 2 отверстия 4,7 +0,1 на глубину 5. |
2Н135 |
|
|
035 |
Вертикально-сверлильная |
1.Сверлить отверстие 5,7 на глубину 5. 2.Сверлить отверстие 7,7 на глубину 6 3.Зенкеровать отверстие 16,95 +0,042 на глубину 6 +0,3 4.Зенкеровать отверстие 7,95 +0,027 на глубину 6 +0,3 5.Развернуть отверстие 5,2 +0,03 на глубину 5 6.Развернуть 2 отверстия 5 +0,03 на глубину 5 7.Развернуть отверстие 8 +0,022 на глубину 6 8.Развернуть отверстие 17 +0,027 на глубину 6 |
2С135 |
|
|
040 |
Токарно-винторезная |
1.Расточить отверстие, выдерживая размер 71,816 +0,046 на глубину 22 >-0,3> 2.Расточить отверстие, выдерживая размер 72 +0,03 на глубину 22 >-0,3> 3.Точить фаску 145 в отверстии 72 +0,03 |
16К20 |
|
|
045 |
Слесарная |
1.Зачистить кругом заусенцы 2.Припилить фаску 145 на 2-х рёбрах размера 78 3.Снять фаску 145 в отверстии 17 +0,027 4.Снять фаску 145 в отверстии 8 +0,022 |
Верстак слесарный |
|
|
050 |
Люминисцентный контроль |
|||
|
055 |
Контрольная |
|||
|
060 |
Покрытие эмалью |
|||
|
065 |
Контрольная |
4.2 Обоснование выбора баз
Как уже было сказано ранее, наибольшие нарекания в базовом технологическом процессе вызвало базирование заготовки при обработке.
В связи с этим целесообразно изменить схему базирования заготовки и на первой операции обработать плоскость 1 (см. нумерацию поверхностей в п. "Анализ конструкции детали на технологичность"), подготовив таким образом базы для последующих операций и, в частности, для второй операции по обработке стороны ребра 2.
Таким образом, мы лишим заготовку требуемого числа степеней свободы и избавимся от необходимости более одного раза использовать в качестве базовых необработанные поверхности заготовки.
Также в этом случае соблюдаются принципы единства и неизменности баз, т.к. поверхности 1,2 и 3 являются также и основными конструкторскими базами, определяющими положение детали в сборочной единице, и используются в качестве технологических баз на большинстве операций технологического процесса.
4.3 Разработка технологических операций
см. приложение к КП.
4.4 Обоснование выбора оборудования
Общие правила выбора средств технологического оснащения определены ГОСТ 14.301-83 с учётом типа производства, вида изделия, характера намеченной технологии., возможности группирования операций, максимального применения стандартного оборудования, равномерной загрузки.
Выбор модели станка определяется, прежде всего, возможностью изготовления на нём деталей необходимых размеров и форм, качества обрабатываемой поверхности. Если эти требования можно обеспечить на различных станках, то конкретную модель станка выбирают из соображений соответствия его размеров габаритам обрабатываемых заготовок, соответствия станка требуемой мощности при обработке, обеспечения наименьшей себестоимости обработки.
Типы станков, выбранные для данного технологического процесса, занесём в таблицу:
|
Наименование операции |
Тип станка |
Мощность станка, квт |
Стоимость станка, руб. |
Отклонения Геометрической формы, мкм |
|
Токарная |
16К20 |
10 |
4800 |
0,1 |
|
Фрезерная |
6Н12П |
4,5 |
6000 |
0,05 |
|
Сверлильная |
2С135 |
4 |
1360 |
0.05 |
|
Сверлильно-расточная |
2Н135 |
4 |
2150 |
0,05 |
|
Программно- комбинированная |
МА-655 |
8 |
180000 |
0,025 |
Для вертикально-сверлильной операции в базовом технологическом процессе был выбран станок 2А135, однако, как уже было сказано ранее, технология не> >предусматривает обработки на нём отверстий диаметром более 17мм. В связи с этим целесообразно будет заменить эту модель станка на 2Н135. Для сверления 6-ти отверстий целесообразно будет применить многошпиндельный станок типа 2С135 таким образом будет достигнуто значительное уменьшения времени обработки. Также заменим токарно-винторезный станок 1К62 более современной моделью 16К20.
4.5 Расчёт припусков и размеров заготовки
В этом пункте мы определим расчётно-аналитическим методом припуски и операционные размеры для обработки отверстия 72Н7.
Обработка данного отверстия состоит из следующих этапов:
растачивание черновое (до 10 квал),
растачивание чистовое (до 8 квал),
растачивание тонкое (до 7 квал).
Расчёт начинаем с последнего перехода.
Определим значение припуска и операционный размер для тонкого (алмазного) растачивания. Минимальный симметричный припуск при обработке поверхностей вращения определяется по формуле:
2Zmin
= 2 (R>zi-1>
+ T>i-1>
+ >i-1>2
+ >yi>2)
где R>zi>>-1> – высота микронеровностей, оставшихся от предшествующей обработки (принимаем по ГОСТ 2789-73),
T>i>>-1> – толщина дефектного слоя оставшегося от предшествующей обработки,
>i>>-1 >- суммарное значение пространственных отклонений взаимосвязанных поверхностей, оставшееся от предшествующей обработки,
>yi> – погрешность установки заготовки, возникающая на выполняемом переходе.
Выпишем значения величин, входящих в формулу расчёта припуска на тонкое растачивание:
R>zi>>-1> = 20мкм,
T>i>>-1> = 0 (для алюминиевых сплавов),
>yi> = 7мкм,
Пространственное отклонение >i>>-1 >найдём по формуле
>i>>-1 >= >заг >> >к
где - >заг >- пространственная погрешность заготовки,
к – поправочный коэффициент для определения пространственного отклонения на соответствующем переходе.

>заг >= >см>2> >+ >экс>2
где >см >- смещение осей поковок, штампуемых в разных половинах штампа,
>экс >- эксцентричность поковки,
выбираем >см >= 0,6мм,
>экс >= 1,5мм, тогда
>заг
>= 0,62>
>+ 1,52>
>= 1610мкм,
>i>>-1 >= 1610> >> >0,04 = 64мкм.
Подставим значения в формулу (2.11.1):
2
Zmin
= 2 (20 + 0 + 642
+ 72) = 168мкм
Для определения максимального операционного размера на данном переходе вычтем из наибольшего предельного диаметра отверстия, предусмотренного чертежом, найденное значение припуска:
Dmax = 72,03 – 0,168 = 71,862мм.
Чтобы найти минимальный операционный размер, вычтем из полученного Dmax значение допуска для предыдущего перехода (для 71,862Н8 допуск равен 0,046мм):
Dmin = 71,862 – 0,046 = 71,816мм.
Запишем значение операционного размера для тонкого (алмазного) точения:
Dоп = 7 1,816 + 0,046мм.
Аналогично определяем промежуточные размеры и припуски на оставшиеся переходы. Для чистового точения:
2
Zmin
= 2 (50 + 0 +
972 + 1352
) = 432мкм
Dmax = 71,862 – 0,432 = 71,430мм,
Dmin = 71,430 – 0,185 = 71,245мм,
Dоп = 7 1,245 + 0,185мм.
Для чернового точения:
2Zmin
= 2 (160 + 200 +
16102 + 1352
) = 432мкм
Dmax = 71,430 – 3,950 = 67,480мм,
Dmin = 67,480 – 0,740 = 66,740мм,
Dоп = 66,740 + 0,740мм
Все значения, выписанные из нормативной литературы, а также найденные в результате расчётов, занесём в таблицу:
|
Переходы |
Квалитет |
Rziмкм |
Тi,мкм |
>I>мкм |
>i>мкм |
2Zminмкм |
2Zmaxмкм |
ITiмкм |
Dminмм |
Dminмм |
|
Заготовка |
14 |
160 |
200 |
1610 |
- |
- |
- |
740 |
66,740 |
67,480 |
|
Растачивание черновое |
10 |
50 |
0 |
97 |
135 |
3950 |
4505 |
185 |
71,245 |
71,430 |
|
Растачивание чистовое |
8 |
20 |
0 |
64 |
135 |
432 |
571 |
46 |
71,816 |
71,862 |
|
Растачивание тонкое |
7 |
6 |
0 |
32 |
7 |
168 |
184 |
30 |
72,00 |
72,030 |
5. Технико-экономическое сравнение двух вариантов механической обработки заготовки
|
Показатели |
Варианты обработки |
|
|
1 |
2 |
|
|
Метод обработки |
Сверление 6-и отв. одновременно |
Сверление 6-и отв. поочерёдно |
|
Модель станка |
2С135 |
2Н135 |
|
Категория ремонтной сложности |
13 |
13 |
|
Стоимость станка |
1360 руб. |
2150 руб. |
|
Мощность станка |
4 квт. |
4 квт. |
|
Площадь станка |
2.04 м2 |
1 м2 |
|
Т>о> мин. |
0.02 |
0.11 |
|
Т>шт.к.> мин. |
0.92 |
13.8 |
|
Экономический эффект, Э руб. |
344014 |
|
|
Себестоимость обработки, С коп. |
1.85 |
28.2 |
Определим норму основного времени по формуле:
Т>о>=(π×D×l)/(1000×V×S)
1вар. Т>о>=(3.14×6.2×6)/(1000×22.4×0.25)=0.02 мин.
2вар. Т>о>=2Т1>о>+4Т11>о>
Т1>о>=2×(3.14×6.2×6)/(1000×22.4×0.25)=0.04 мин.
Т11>о>=(3.14×5×6)/(1000×22.4×0.25)=0.07 мин.
Т>о>=0.04+0.07=0.11мин.
Определим штучно-калькуляционное время по формуле:
Т>шт.к.>=(Т>о>+Т>В>К>tB>)(1+(a>абс>+а>отд>)/100)+Т>пз>/n
где Т>В>=t>уст>+t>пер>+t>изм>
Т>пз>=7%
n=2720
1вар. Т>В>=0.7+0.04+0.1=0.84
Т>шт.к.>=(0.02+0.84×1)(1+7/100)+7/2720=0.92 мин.
2вар. Т>В>=2+0.01+0.16=2.17 мин.
Т1>шт.к.>=2× (0.02+2.17×1)(1+5.5/100)+7/2720=4.6 мин.
Т11>шт.к.>=2× (0.02+2.17×1)(1+5.5/100)+7/2720=9.2 мин.
Т>шт.к.>=4.6+9.2=13.8 мин.
Определим стоимость обработки по формуле:
С =(С>п.з.>Тшт)/60 , где
С>п.з>=С>з>+С>чз>+Е>Н>(К>с>+К>з>)
Определим затраты по заработной плате:
С>з> =1,53С>т>К>н>,
где С>т> – часовая тарифная ставка станочника соответствующего разряда,
коп/час,
Кн – коэффициент, учитывающий зарплату наладчика.
1,53 – суммарный коэффициент, учитывающий выполнение норм, дополнительные затраты и отчисления на соц. страх.
Примем, что на станках работает рабочий 4-го разряда и наладка осуществляется наладчиком (С>т> = 60,6коп/час, К>н> = 1), тогда:
С>з> = 1,5360,61 = 92.7 коп/час. для 1-го и 2-го вариантов.
Часовые затраты по эксплуатации металлорежущего станка:
С>ч.з.> = С>о>К>м>,
где С>о> = 36.3 коп/
К>м> –коэффициент, показывающий во сколько раз затраты, связанные с работой данного станка больше, чем аналогичные затраты, связанные с работой базового станка. К>м>=0.5
С>ч.з.> =36.30.5=18.15 для 1-го и 2-го вариантов.
Капитальные затраты в станок и здание:
Кс = Ц 100/3200,
Кз = F75100/3200
1вар. Кс = 1360 100/3200=42.5 коп/час
F=fk>f>=2.023.5=7.07
Кз = 7.0775100/3200=16.5 коп/час
2вар. Кс = 2150 100/3200=67.19 коп/час
F=fk>f>=14.40=4.40
Кз = 4.4075100/3200=10.3 коп/час
Расходы на эксплуатацию режущего инструмента:
С>и> = S>и>Т/То,
где S>и> – стоимость эксплуатации инструмента за период стойкости,
Т – стойкость.
1вар. С>и> = 20.02/60=0.0008 коп.
2вар. С>и> = 20.11/60=0.0044 коп.
Затраты на приспособление (для специальных приспособлений):
С>пр> = S>пр>(А + В)100/Q,
где S>пр> – стоимость специального приспособления,
А – коэффициент амортизации (А = 0,33),
Б – коэффициент, учитывающий расходы на ремонт и хранение приспособления (Б = 0,2)
1вар. С>пр> = 68(0.33+0.2)100/43446=0.08 коп.
2вар. С>пр> = 42(0.33+0.2)100/43446=0.05 коп.
Затраты на электроэнергию:
С>э> = S>э>(N>э>К>з>Т>о>)/60, где S>э> – стоимость 1кВт/часа электроэнергии (S>э> = 2.2коп)
N>э>=4, К>з>=0.6
1вар. С>э> = 2.2(40.60.02)/60=0.0016 коп.
2вар. С>э> = 2.2(40.60.11)/60=0.0099 коп.
Технологическая себестоимость:
С>т> = С + С>и> + С>пр> + С>э>
1вар. С>т> = 18 +0.0008+0.08+0.0016=1.9 коп.
2вар. С>т> = 27.38 +0.0044+0.05+0.0099=27.94 коп.
Стоимость привидённых затрат:
1вар. С>п.з>=92.7+18.5+0.15(42.5+16.5)=120.5 коп.
2вар. С>п.з>=92.7+18.5+0.15(67.19+10.3)=122.8 коп.
Таким образом стоимость обработки будет определяться:
1вар. С =(120.5>.>0.92)/60=1.85 коп.
2вар. С =(122.8>.>13.8)/60=28,2 коп.
Годовой экономический эффект от применения первого варианта:
Э = (С - С) Q/100
Э = (28,2– 1.85)43446/100 =11467 руб.
Чтобы получить эффект в современном выражении, умножим значение Э на коэффициент 30:
Эсовр = 1146730 = 344014 руб.
ЛИТЕРАТУРА
методика обработки конструкций на технологичность и оценка уровня технологичности изделий машиностроения и приборостроения. Государственный комитет стандартов Совета Министров СССР, 1973. – 15с.
Основы технологии машиностроения. Учебник для вузов / под ред. В.С. Корсакова // изд. 3-е, доп. и перераб. - М.: Машиностроение, 1977. – 416с.


12,5


