Аппарат с механическим перемешивающим устройством
САНКТ – ПЕТЕРБУРГСКИЙ ГОСУДАРСТВЕННЫЙ
ТЕХНОЛОГИЧЕСКИЙ ИНСТИТУТ
(ТЕХНИЧЕСКИЙ УНИВЕРСИТЕТ)
Кафедра: Машины и аппараты химических производств.
Курсовой проект по курсу
Конструирование и расчет элементов оборудования отрасли
Тема проекта
Аппарат с механическим перемешивающим устройством
Вариант: 16
Работу выполнил
Студент гр. 364
Баранов Д.А.
Руководитель
Незамаев Н.А.
Санкт – Петербург2010г.
Описание конструкции и работы аппарата
Аппараты вертикальные с перемешивающими устройствами применяются для осуществления в них различных химико-технологических процессов, происходящих в жидкой фазе.

1-корпус
2 – привод
3
А
- уплотнение4 - мешалка
Р

исунок
1
Основные составные части аппарата
Данный аппарат, представленный на рисунке 1, состоит из сварного корпуса 1, в который через штуцер А поступает 30% среда Pb(NO3)2, которая попадая в аппарат перемешивается лопастной мешалкой 3, и далее выходит через сливной штуцер Б. Аппарат оснащен рубашкой, предназначенной для теплообмена, и люком-лазом В. Мешалка вращается с помощью привода 2, который оснащен торцевым уплотнением, для избежание попадания перемешивающей среды в подшипниковый узел.
1.Выбор конструктивных элементов аппарата
При конструировании и расчете химических аппаратов конструктору приходится иметь дело с рядом основных узлов и деталей, образующих тот или иной аппарат.
К основным узлам и деталям химических аппаратов можно отнести: обечайки, днища, укрепления отверстий в стенках, фланцевые и резьбовые соединения, крышки, штуцера, вводы и выводы труб, указатели уровня, смотровые окна, опоры аппаратов, перемешивающие устройства и приводы к ним.
Конструирование химической аппаратуры необходимо производить с максимальным использованием нормализованных узлов и деталей. При конструировании необходимо знать технологию изготовления и сборки аппарата, условия транспортирования и монтажа, требования надежности и безопасности в эксплуатации, а также и другие специфические требования, предъявляемые к химическому аппарату или его узлу. Узлы и детали должны иметь простую форму, быть технологичными в изготовлении, размеры их определяют исходя из условий прочности, жесткости и надежности конструкции.
Всегда следует стремиться к экономии материала и уменьшению массы деталей, узлов и аппарата в целом, но без ущерба для предъявляемых к ним требований. Изготовление деталей необходимо предусматривать с минимальными отходами (при раскрое деталей из листов, при механической обработке на станках т.д.).
1.1Параметры корпуса аппарата
Из методического указания [1] по исходным данным подбираем габаритные размеры корпуса аппарата.

Рисунок 2
Таблица 1 Конструктивные параметры корпуса аппарата цельносварного с коническим днищем и рубашкой
|
Нормальный Объем, м³ |
Размеры, мм |
||||||||||||
|
D |
D1 |
H |
L |
H3 |
H3 |
H4 |
h |
H2 |
b |
l |
б |
H6 |
|
|
12.5 |
2400 |
2600 |
4035 |
1100 |
3395 |
150 |
350 |
1850 |
100 |
240 |
375 |
8 |
1384 |

Рисунок 3 Расположение штуцеров на корпусе с эллиптической крышкой
Таблица 2 Условные диаметры штуцеров для корпусов с эллиптической крышкой
|
Внутр. диаметр аппарата |
Диаметр штуцера, мм |
|||||||
|
А |
Б, Л |
В |
Г |
Е |
Ж |
З |
М, М>1>, М>2> |
|
|
2400 |
250 |
100 |
200 |
150 |
100 |
М27х2 |
200 |
80 |
|
Внутр. диаметр аппарата |
Диаметр штуцера, мм |
Размеры, мм |
||||||
|
Н, Н>1> |
О |
П |
R |
R>2> |
D>2> |
Вылет штуцера |
||
|
2400 |
80 |
1500 |
500 |
700 |
750 |
1600 |
200 |
Таблица 3
Назначение штуцеров для корпусов с эллиптическими крышками
|
Назначение штуцеров |
Обозначение |
Назначение штуцеров |
Обозначение |
|
Для загрузки |
А |
Технологический |
З |
|
Резервный |
Б,Л |
Вход и выход теплоносителя |
М, М>1>, М>2> |
|
Технологический |
Г |
Для слива |
О |
|
Для манометра |
Е |
Люк |
П |
|
Для термометра |
Ж |
1.2Подбор привода аппарата
Исходя из исходных данных, по [6] выбираем возможные варианты типов привода. В данном случае при мощности 10 кВт и 170 об/мин, возможные варианты: типы 2, 3, 5
Выбираем Тип 2, Исполнение 1 для установки на крышке аппарата. Для аппаратов с избыточным давлением не более 3,2 МПа и оборотами 20-320 об/мин выбираем Габарит 1.

Рисунок 4 Привод перемешивающего устройства Тип 2 исполнение 1
Таблица 4 Размеры привода перемешивающего устройства
|
Габарит |
d |
B |
C |
L |
H>1> |
H>2> |
H>3> |
|
2 |
65 |
695 |
475 |
280 |
758 |
350 |
30 |
|
Габарит |
H>4> |
h |
S |
S>1> |
l |
l>1> |
l>2> |
|
2 |
10 |
1375 |
16 |
20 |
390 |
772 |
480 |
|
Габарит |
l>3> |
l>4> |
D |
D>4> |
t |
b |
Масса |
|
2 |
27 |
135 |
430 |
105 |
34,18 |
16 |
615 |
H = 1640 мм по [2]
1.3Выбор материала для изготовления аппарата
При конструировании химической аппаратуры конструкционные материалы должны отвечать следующим основным требованиям:
Достаточная общая химическая и коррозионная стойкость материала в агрессивной среде с заданными параметрами по концентрации среды, ее температуре и давлению, при которых осуществляется технологический процесс, а также стойкость против других возможных видов коррозионного разрушения (межкристаллитная коррозия, электрохимическая коррозия сопряженных металлов в электролитах, коррозия под напряжением).
Достаточная механическая прочность для заданного давления и температуры технологического процесса с учетом специфических требований, предъявляемых при испытании аппаратов на прочность, герметичность и т.д. , и в эксплуатационных условиях при действии на аппараты различного рода дополнительных нагрузок (ветровая нагрузка, прогиб от собственного веса и т.д.).
Наилучшая способность материала свариваться, обеспечивая высокие механические свойства сварных соединений и коррозионную стойкость их в агрессивной среде, обрабатываться резанием, давлением, подвергаться сгибу и т.п.
Низкая стоимость материала, не дефицитность и возможность получения без освоения промышленностью. Необходимость стремиться применять двухслойные стали, стали с покрытием из неметаллических материалов. Номенклатура применяемых материалов как по наименованию, маркам, так и по сортаменту должна быть минимальной с учетом ограничений, предусматриваемых ведомственными нормалями и действующими на заводах-изготовителях инструкциями.
Согласно заданию выбираю по для среды (Pb(NO3)2 – водный раствор) сталь 12X18H10T. Для изготовления обечайки, днища, крышки.
Коррозионная стойкость для данной среды – П<0.1 мм/год
Плотность –
7850 кг/м³
Допускаемое напряжение [σ]=154 МПа (при Т=80 º С)
Для изготовления рубашки, для среды Н2О по[17] выбираем сталь 10.
Коррозионная стойкость для данной среды – П<0.1 мм/год
Плотность –
7850 кг/м³
Допускаемое напряжение [σ]=126 МПа
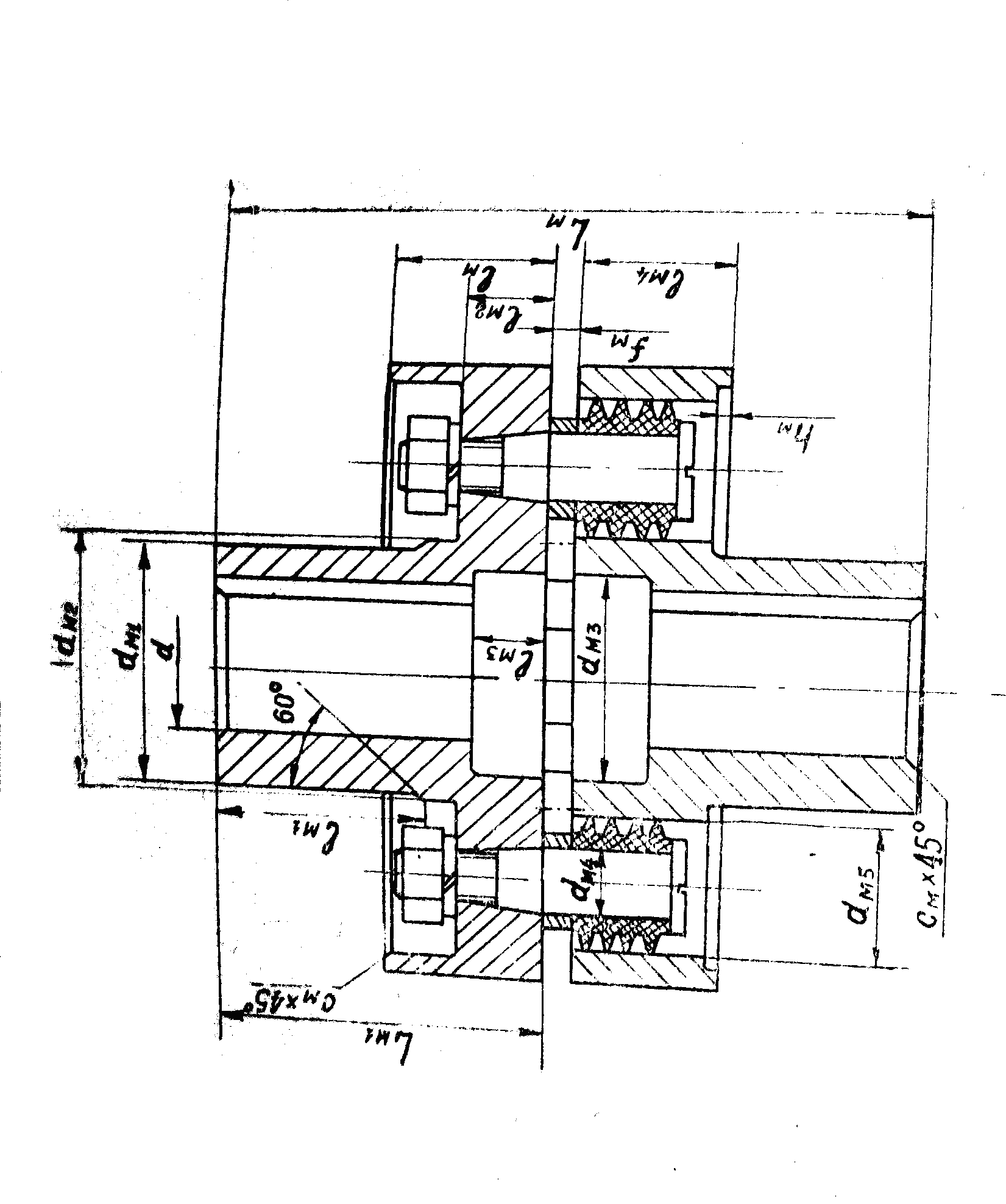
1.4Выбор муфты
Выбираю упругую втулочно-пальцевую муфту МУВП-65 ГОСТ 21424-75

Рисунок 5 муфта
Таблица 5 параметры муфты
|
Обозначение муфты |
|||||||||||
|
d |
Dм |
Dм1 |
Dм2 |
Lм |
Lм1 |
lм |
lм1 |
lм2 |
lм3 |
lм4 |
|
|
МУВП-65 |
65 |
220 |
208 |
170 |
285 |
140 |
40 |
85 |
22 |
32 |
45 |
|
Продолжение |
Размеры, мм |
Колич. пальцев |
|||||||||
|
dм1 |
dм2 |
dм3 |
dм4 |
dм5 |
d+tш |
Cм |
fм |
hм |
bш |
dр |
nп |
|
110 |
130 |
95 |
18 |
36 |
65.5 |
3 |
2-6 |
3 |
18 |
М12 |
10 |
1.5Подбор уплотнительного устройства
По [1] основываясь на исходных данных, определяем тип уплотнения - уплотнение торцевое. Исходя из давления (0,3 МПа), температуры (80 градусов) и оборотам мешалки (170 об/мин) по [6] выбираем “Уплотнение торцевое, двойное” – ТД65-6К ОСТ 26-01-1243-75, Материал - Сталь 12Х18Н10Т.

Рисунок 6 уплотнительное устройство
1-корпус, 2-втулка нажимная, 3-втулка, 4-пружина, 5-кольцо графитовое подвижное, 6-кольцо графитовое неподвижное, 7-кольцо уплотнительное, 8-уловитель, 9-прокладка
Таблица 6 параметры уплотнительного устройства
|
d>в> |
Д |
Д>1> |
Д>2> |
H |
H>1> |
|
65 |
235 |
200 |
178 |
235 |
180 |
|
h |
n |
d>1> |
α |
Масса, кг |
|
|
6 |
8 |
18 |
|
25 |
2.Расчетная часть
2.1Расчет вала перемешивающего устройства
2.1.1Исходные данные
Длина вала 
Длина консоли 
Длина пролета 
Координата центра тяжести
мешалки 
Координата опасных сечений по
жесткости 
Координата опасных сечений по
прочности

Масса мешалки 
Материал вала Сталь 12Х18Н10Т
Частота вращения вала 
Диаметр аппарата D=2,4 м
Тип мешалки лопастная
Диаметр мешалки 
Число мешалок 
Мощность потребления при перемешивании N = 10000 Вт
Плотность материала вала 
Модуль продольной упругости E=2*1011Па

Рисунок 7 Расчетная схема вала
2.1.2Расчет на виброустойчивость
Относительная длина консоли


Безразмерный динамический прогиб вала в центре тяжести мешалки
Выбираем по

Угловая скорость вала


Безразмерный коэффициент учитывающий приведенную массу вала

Где:
- плотность материала вала
- модуль упругости. Выбираем
по[4]

Приведенная масса мешалки


Расчетный диаметр вала

Где:





Принятый диаметр вала берем из стандартных величин
d = 65 мм
Линейная масса вала


Относительная масса мешалки


Корень частотного уравнения выбираем по [4]

Момент инерции сечения вала


Первая критическая угловая скорость


Условие виброустойчивости

условие выполняется
2.1.3Расчет на жесткость и прочность
Эксцентриситет массы мешалки


Относительная координата относительного по жесткости сечения


Безразмерный динамический прогиб
вала в опасном поперечном сечении
выбираем по [4] по значениям


Приведенный эксцентриситет массы мешалки


Приведенная масса вала


Радиальные зазоры опор]


Где:
- зазор для радиального однорядного
подшипника
- подшипника скольжения


Смещение оси вала от оси вращения за счет начальной изогнутости вала


Где:
- Начальная изогнутость вала в точке
приведения В


Смещение оси вала от оси вращения в точке приведения В за счет зазоров в опорах


Приведенный эксцентриситет массы вала с мешалками


Динамический прогиб оси вала в точке приведения В


Динамическое смещение центра тяжести мешалки


Динамическое смещение оси вала в опасном по жесткости сечении


Динамическое смещение оси вала в точке приведения В


Допускаемое смещение вала в зоне уплотнительного устройства (по ОСТ 26-01-1244-75)

т.к. уплотнение торцевое
Условие жесткости


Условие выполняется
Сосредоточенная центробежная сила действующая на мешалку


Приведенная центробежная сила действующая на вал в точке приведения В


Реакция опоры А


Реакция опоры Б


Изгибающий момент в опасном по прочности сечении


Крутящий момент в опасном по прочности сечении


Момент сопротивления вала в опасном по прочности сечении


Эквивалентное напряжение в опасном по прочности сечении


Допускаемое напряжение

Где:
- Предел выносливости
- Коэффициент концентрации
напряжений
n = 1,8 - Запас прочности
- Масштабный фактор. Выбираем по
[4]

Условие прочности


Условие выполняется
2.1.4Итог
Окончательно принимаем диаметр вала равный 65 мм
2.2Расчет на прочность корпуса аппарата
Расчет производится по ГОСТ 14249-89 “Сосуды и аппараты. Нормы и методы расчета на прочность” [7]
2.2.1Основные исходные данные для расчета
Плотность обрабатываемой
среды 
Плотность среды в рубашке 
Давление в рубашке

Давление в аппарате 
Рабочая температура 
Внутренний диаметр аппарата 
Диаметр сливного штуцера

Срок эксплуатации аппарата 
Высота аппарата находящаяся под
рубашкой 

Рисунок 8 Расчетная схема цилиндрической части обечайки под действием внутреннего и наружного давления.
2.2.2Гидростатическое давление в аппарат

g=9.8 – ускорение свободного падения


так как гидростатическое давление составляет больше 5 % от давления в аппарате, то расчётное давление в аппарате равно


2.2.3Расчет на прочность цилиндрической обечайки
Расчет производится по ГОСТ 14249-89 “Сосуды и аппараты. Нормы и методы расчета на прочность”
2.2.3.1толщина стенки цилиндрической обечайки


расчетная толщина стенки цилиндрической обечайки нагруженной внутренним давлением
Где:
-
допускаемое напряжение при расчётной
температуре
- коэффициент прочности продольного
шва цилиндрической или конической
обечаек

Прибавка на коррозию

Где:
-
скорость коррозии

Минусовой допуск на листовой прокат

Технологическая добавка для цилиндрической обечайки равна нулю т.к. обечайка изготавливается методом вальцовки.
с>3>=0
Суммарная прибавка к расчетной толщине цилиндрической обечайки




Условие применяемости формулы

Условие выполняется
Расчетная толщина стенки при действии наружного давления

Где:
=0,7
– Коэффициент. Определяется по монограмме
[7]



Условие применяемости формулы


Условие выполняется
Из двух значений выбираем
наибольшее

Из стандартного ряда выбираем
ближайшее большее

2.2.3.2Допускаемое внутреннее избыточное давление



Условие выполняется
2.2.3.3Допускаемое наружное давление
Допускаемое наружное давление из условия прочности


Допускаемое наружное давление из условия устойчивости в пределах упругости

Где:
=2,4
– коэффициент запаса прочности
- высота аппарата находящаяся
под рубашкой

Допускаемое наружное давление с учетом обоих условий


2.2.3.4Допускаемое осевое сжимающее усилие
Осевая сила, вызванная наружным давлением:

Где:
- Вес среды в аппарате


Допускаемое осевое сжимающее усилие из условия прочности, Н:


Допускаемое осевое сжимающее усилие из условия устойчивости в пределах упругости


Допускаемое осевое сжимающее усилие с учетом обоих условий

.
2.2.3.5Условие устойчивости обечайки


Условие выполняется
2.2.3.6Вывод
Для работы аппарата под воздействием внешних и внутренних сил, толщина цилиндрической обечайки должна быть не менее 20 мм.
2.2.4Расчет на прочность эллиптической крышки
Расчет производится по ГОСТ 14249-89 “Сосуды и аппараты. Нормы и методы расчета на прочность”

Рисунок 9 Расчетная схема эллиптической крышки под действием внутреннего давления.
Радиус кривизны в вершине
эллиптической крышки

2.2.4.1Толщина стенки эллиптической крышки

Где:

Расчетная толщина стенки при действии внутреннего давления

Прибавка на коррозию


Минусовой допуск на листовой прокат

Технологическая добавка для эллиптической крышки


Суммарная прибавка к расчетной толщине цилиндрической обечайки


Условие применяемости формулы

Условие выполняется

Из стандартного ряда выбираем
ближайшее большее

2.2.4.2Допускаемое внутреннее избыточное давление


Проверяем, не выходит ли значение рабочего давления за пределы допускаемого значения


Условие выполняется
2.2.4.3Вывод
Для работы аппарата под воздействием внутреннего давления толщина эллиптической крышки и днища должна быть не менее 8 мм.
2.2.5Расчет на прочность конического днища
Расчет производится по ГОСТ 14249-89 “Сосуды и аппараты. Нормы и методы расчета на прочность”

Рисунок 10 расчетная схема конического днища под действием внутреннего и наружного давления.
2.2.5.1толщина стенки конического днища

Расчетная толщина стенки при действии внутреннего давления
Где:

Расчетная толщина стенки при действии внутреннего давления

Прибавка на коррозию


Минусовой допуск на листовой прокат

Технологическая добавка для эллиптической крышки


Суммарная прибавка к расчетной толщине цилиндрической обечайки


Условие применяемости формулы


Условие выполняется
Расчетная толщина стенки при действии наружного давления

Где:
- по

Из всех значений выбираем большее


Т.к толщина стенки конического
днища меньше толщины стенки цилиндрической
обечайки, то

2.2.5.2Допускаемое внутреннее избыточное давление


Проверяем, не выходит ли значение рабочего давления за пределы допускаемого значения


Условие выполняется
2.2.5.3Допускаемое наружное избыточное давление

Где:

Допускаемое давление из условия прочности


Где:

2.2.5.4Вывод
Для работы аппарата под воздействием внутреннего и наружного давления толщина конического днища должна быть не менее 20 мм.
2.2.6Расчет на прочность цилиндрической части рубашки

Рисунок 11 Расчетная схема цилиндрической части рубашки под действием внутреннего давления
Для изготовления рубашки выбираем более дешевую сталь 10
2.2.6.1Толщина стенки цилиндрической части рубашки


Расчетная толщина стенки цилиндрической обечайки нагруженной внутренним давлением
Где

Допускаемое напряжение при расчётной температуре

Прибавка на коррозию

Где:
-
скорость коррозии

Минусовой допуск на листовой прокат

Технологическая добавка для цилиндрической обечайки равна нулю т.к. обечайка изготавливается методом вальцовки
с>3>=0
Суммарная прибавка к расчетной толщине цилиндрической обечайки



Из стандартного ряда выбираем ближайшее большее значение

Условие применяемости формулы


Условие выполняется
2.2.6.2Допускаемое внутреннее избыточное давление



Условие выполняется
2.2.6.3Вывод
Для нормальной работы аппарата с рубашкой толщина цилиндрической части рубашки должна быть не менее 10 мм
2.2.7Расчет на прочность эллиптической части рубашки аппарата под воздействием внутреннего давления

Рисунок 12 Расчетная схема конической части рубашки под действием внутреннего давления.
2.2.7.1Толщина стенки конической части рубашки

Расчетная толщина стенки при действии внутреннего давления
Где:

Расчетная толщина стенки при действии внутреннего давления

Прибавка на коррозию


Минусовой допуск на листовой прокат

Технологическая добавка для эллиптической крышки


Суммарная прибавка к расчетной толщине цилиндрической обечайки



Из стандартного ряда выбираем ближайшее большее значение

Условие применяемости формулы


Условие выполняется
2.2.7.2Допускаемое внутреннее избыточное давление


Проверяем, не выходит ли значение рабочего давления за пределы допускаемого значения


Условие выполняется
2.2.7.3Вывод
Для нормальной работы аппарата с рубашкой толщина конической части рубашки должна быть не менее 10 мм
2.3Укрепление отверстия

Рисунок 13 укрепление отверстия под люк
2.3.1Толщина стенки люка

Где:

Расчетная толщина стенки штуцера

Прибавка на коррозию

Минусовой допуск на листовой прокат выбирается в зависимости от исполнительной толщины стенки. Но т.к. она не известна, воспользуемся ориентировочной толщиной. В дальнейшем уточняется по исполнительной толщине стенки аппарата

Технологическая добавка для цилиндрической обечайки равна нулю т.к. обечайка изготавливается методом вальцовки
с>3 >= 0
Суммарная прибавка к расчетной толщине цилиндрической обечайки




Из стандартного ряда выбираем ближайшее большее значение

2.3.2Расчетный диаметр одиночного отверстия, не требующего укрепления


Условие
не выполняется. Следовательно, требуется
укрепление
Где:
-
внутренний диаметр люка
2.3.3Укрепление отверстия штуцером
Расчетные длины внешней и внутренней части штуцера




Расчетная площадь вырезанного сечения


Площадь укрепляющего сечения наружной части штуцера


Площадь укрепляющего сечения внутренней части штуцера


Условие укрепления

Условие не выполняется. Следовательно, штуцера не достаточно.
Пробуем укрепить отверстие с помощью утолщения стенок штуцера и крышки
2.3.4Укрепление отверстия штуцером и накладным кольцом
Для накладного кольца используют более дешёвую сталь - Сталь10

Условие укрепления отверстия штуцером и накладным кольцом

Где:
-
высота обечайки штуцера

Ккоэффициент, определяющий отношение допускаемого напряжения материала штуцера и корпуса аппарата

Коэффициент, определяющий отношение допускаемого напряжения материала кольца и корпуса аппарата


Условие выполняется
2.3.5Вывод
Для нормальной работы аппарата толщина стенки патрубка люка должна быть не менее 4мм, а толщина эллиптической крышки аппарата должна быть не менее 8 мм.
2.4Подбор опор
2.4.1масса аппарата
Массы частей корпуса аппарата взяты из таблиц [16]
масса аппарата без обрабатываемой среды
m>0>=m>a>> >+ m>руб >+ m>пр>
где: m>а>=m>кр >+ m>об >+ m>д >– масса аппарата без рубашки
m>руб>=m>цруб>+m>круб> – масса рубашки
m>пр>=615кг – масса привода
m>а>=m>кр >+ m>об >+ m>д>
Где: m>кр>=256кг – масса крышки
m>об>=1626кг – масса масса обечайки
m>д>=1272кг – масса днища
m>а >=
256 + 1626 + 1272 =
кг
m>руб >= m>цруб >+ m>круб>
Где: m>цруб >= 739кг – масса цилиндрической части рубашки
m>круб >= 338кг – конической части рубашки
mруб =
739 + 338 =
кг
m>0>=
+
+ 615 =

масса аппарата с обрабатываемой средой
m = m>0 >+ m>ср>
где: m>ср> = 56725 кг – масса обрабатываемой среды
m =
+
56725 =

2.4.2расчет опор
2.4.2.1Нагрузка на одну опору
Q = λ1 · m>0> / n + λ2 · M /Do = 2 · 1300 / 4 + 1 · 0 /Do = 650 кгс
Где: Do - Диаметр окружности точек приложения равнодействующих внешних нагрузок
n = 4 – число опор
=
2

M = 0 - момент внешних нагрузок

Где:
-
Средний диаметр аппарата
-
Плечо нагрузки Q
относительно срединной поверхности
аппарата

Где:
- внешний диаметр аппарата

кгс
Выбираю опору 1-2 – 25000 ОСТ 26-665-72 имеющую размеры:
а = 0,41 м – ширина опоры
h = 0,68 м – высота опоры
b = 0,48 м – длина косынки
f = 0,12 м – расстояние от обечайки аппарата до подопорной балки (мах)
S1 = 0.024 м – толщина косынки опоры
S2 = 0 – толщина накладного листа
S0 = 1,1



Соотношения параметров аппарата и опоры
γ = Dср / 2 · Sо

γ1 = S1 / Dср

Осевое напряжение от внутреннего давления
σах = Р · Dср / 4 · So
кгс/см²
Окружное напряжение от внутреннего давления
σо = Р · Dср / 2 · So
кгс/см²
2.4.2.2Суммарное осевое напряжение от основных нагрузок и реакции опоры
Коэффициенты:
mх = 0.025
nх = 6
выбираются в зависимости от γ и γ1




2.4.2.3Суммарное окружное напряжение от основных нагрузок и реакции опоры
Коэффициенты:
mо = 0.057
nо = 7
выбираются в зависимости от γ и γ1




2.4.2.4Условие прочности



Условие выполняется
2.4.2.5Вывод
Исходя из расчета, выбираем опору с подкладным листом типа Опора 1-25000 ОСТ 26-665-79 в количестве 4 штук.
3.Заключение
По результатам расчетов можно утверждать, что спроектированный аппарат прослужит указанный срок при условии соблюдения рабочих параметров указанных в техническом задании:
Рабочее давление в аппарате 0,3 МПа
Давление в рубашке 0,6 МПа
Температура 80 градусов
Число оборотов мешалки 170 об/мин
Обрабатываемая среда – Pb(NO3)2
Все элементы аппарата, расчет которых приведен в курсовом проекте, удовлетворяют условиям прочности, жесткости, и устойчивости.
Исполнительные толщины стенок элементов аппарата, учитывающие внутренние и внешние воздействия на аппарат, приведены в Таблица 12
Таблица 7 Исполнительные толщины стенок
-
Аппарат
Рубашка
Патрубок под люк
Крышка
Обечайка
Днище
Обечайка
Днище
8
20
20
10
10
8
Аппарат устанавливается на четырех лапах Опора 1-25000 ОСТ 26-665-79
Список использованных источников
Михалев М.Ф. и др. Аппарат с вертикальным перемешивающим устройством. Методические указания. – Л.:ЛТИ им. Ленсовета 1986.- 60 с.
ОСТ 26-01-1225-75 Приводы вертикальные для аппаратов с перемешивающими устройствами. Типы, параметры, конструкции и основные размеры
РТМ 26-01-72-75 Руководящий технический материал. Валы вертикальные аппаратов с перемешивающим устройством. Методы расчета.
Михалев М.Ф. Расчет и конструирование машин и аппаратов химических производств. – Л.: Машиностроение 1984. – 300 с.
ОСТ 26-01-1226-75 Полумуфты фланцевые
ОСТ 26-02-1243-75 Уплотнения валов торцевые для аппаратов с перемешивающими устройствами. Типы, параметры, конструкции и основные размеры. Технические требования.
ГОСТ 14249-89 Сосуды и аппараты. Нормы и методы расчета на прочность.
ГОСТ 24755-89 Сосуды и аппараты. Нормы и метода расчета на прочность укрепления отверстий.
ОСТ 26-373-78 Сосуды и аппараты. Нормы и методы расчета на прочность фланцевых соединений
Лащинский А.А. Конструирование сварных химических аппаратов: Справочник. – Л.: Машиностроение, 1981. – 382 с.
ГОСТ 13716-73 Устройства строповые для сосудов и аппаратов. Технические условия.
ОСТ 26-665-72 Опоры (лапы, стойки) вертикальных аппаратов. Типы, конструкции, размеры.
ОСТ 26-01-1245-75 Мешалки. Типы, параметры, конструкции и основные размеры
ГОСТ 23360-78 Соединения шпоночное с призматическими шпонками
Романов А.Б. и др.: Выбор посадок и требования точности. Учебное пособие.- СПб: СПбГТИ(ТУ), 2005. – 93 с.
Лащинский А.А. и Толчинский А.Р. Основы конструирования и расчета химической аппаратуры. – Л.: Машгиз, 1963. – 470 с.
Воробьев Г. Я. Коррозионная стойкость материалов в агрессивных средах химических производств. – Москва: Химия, 1975. – 815 с.
