Водоснабжение и водоотведение (работа 2)
Контрольная работа
Содержание
Основы автоматизации систем водоснабжения зданий
Водонапорные башни
Библиографический список
Основы автоматизации систем водоснабжения зданий
Автоматизация современных систем водоснабжения требует совместных усилий как специалистов в области автоматизации, так и инженерно-технических работников проектирующих технологические процессы и эксплуатирующих сооружения. Знание основ автоматизации и её современного уровня на водопроводных схемах зданий и сооружений способствуют рациональному их проектированию, строительству в оптимальные сроки и эффективной эксплуатации действующих сооружений.
Под автоматизацией производственных процессов понимается совокупность технических средств и методов, освобождающих человека в определенной степени или полностью от непосредственного выполнения функций контроля за этими процессами и управления ими.
Автоматическим регулированием называется поддержание постоянной некоторой заданной величины, характеризующей процесс, или изменение ее по заданному закону, осуществляемое с помощью измерения состояния объекта или действующих на него возмущений и воздействия на регулирующий орган объекта.
В зависимости от Характера действия различных элементов, входящих в систему регулирования, различают Системы непрерывного и дискретного действия.
Непрерывная система автоматического регулирования состоит только из звеньев непрерывного действия, т. е. таких звеньев, выходная величина которых изменяется плавно при плавном изменении входной величины.
Дискретная система содержит хотя бы одно звено дискретного действия, выходная величина которого изменяется скачками (дискретами) при плавном изменении входной величины. Примерами дискретных систем могут служить системы, содержащие реле (релейные системы) или импульсный Элемент (импульсные системы).
Для работы водонапорных установок в автоматическом режиме, а также для автоматизации работы водоочистных систем существуют ряд устройств, реагирующих на изменение давления, уровня или скорости течения воды.
Автоматическое включение или выключение электродвигателей насосов и компрессоров в системах водоснабжения зданий возможно при изменении уровня воды в водонапорном баке, либо давления в трубопроводах сети (или пневматическом баке) или скорости движения воды в трубопроводе.
При изменении указанных параметров приводятся в действие датчики, связанные с исполнительными механизмами включения или выключения магнитного пускателя, соединяющего или размыкающего линию электропитания двигателя насоса.
Для контроля уровня применяют различные реле уровня воды: механические, электронные, датчики давления и ультразвуковые датчики. В механических (поплавковых) реле уровня {рис. 1) чувствительным элементом является поплавок, поступательное движение которого различными способами передается на контакты реле. В зависимости от верхнего или нижнего положения уровня воды в баке реле уровня включает или выключает контакты электроцепи двигателя.
Принцип действия электронного датчика основан на преобразовании изменения электрического сопротивления между электродами датчика в релейный сигнал. При погружении электродов датчика в воду, по ним начинает идти микроток, который регистрирует датчик.
Для измерения уровня также используют чувствительные электронные датчики давления, которые могут определить даже небольшое изменение давления водяного столба и, соответственно, уровня воды в резервуаре. Эти датчики устанавливают в нижней части бака.

Рис. 1. Устройство поплавковых реле уровня.
1 – стенка резервуара. 2 – поплавок. 3 – контакты. 4 – провода. 6 – трубка с герконом.
Для контроля давления применяют механические реле давления, электроконтактные манометры, электронные датчики давления.
Механические реле давления мембранного или диафрагмового типа и электроконтактные манометры широко используются для включения и выключения электродвигателей насосов и компрессоров в системах без водонапорных баков или с пневматическими баками. При изменении давления мембрана (диафрагма) изгибается и через рычаг реле замыкает или размыкает контакты цепи управления магнитного пускателя электродвигателя.
Для контроля наличия или отсутствия потока жидкости используют струйные реле. С помощью струйного реле включаются пожарные насосы. Принцип действия струйного реле основан на воздействии энергии струи воды, отклоняющем пластинку, которая замыкает контактное устройство. Струйное реле устанавливают у основания пожарных стояков либо у водонапорного бака (при раздельной системе водоснабжения). Рисунок 2.

Рис. 2. Схема реле давления (а), контактного манометра (б) и струйного реле (в):
1 – мембрана;
2 – контакты;
3 – трубка датчика;
4 – ось стрелки;
5 – стрелка;
6 – чувствительная пластинка.
Водонапорные башни
Водонапорные башни — сооружения в системах водоснабжения, предназначенные для регулирования расхода и напора воды в водопроводной сети, создания ее запаса и выравнивания графика работы насосных станций. Их используют в системах производственного, хозяйственно-питьевого и противопожарного водоснабжения промышленных объектов, сельскохозяйственных комплексов и населенных мест. Запас воды определяется вместимостью бака, интенсивность напора — высотой башни (расстоянием по вертикали от уровня поверхности земли до низа бака или его цилиндрической части). Указанные два параметра и положены в основу габаритных схем водонапорных башен; СНиП 2.09-03-85 предусмотрены следующие параметры водонапорных башен;
вместимость баков — 15, 25, 50, 100, 150, 200, 300, 500 и 800 м3;
высота до низа баков кратна 3 и 6 м для баков вместимостью соответственно до 50, 100 м3 и более.
Башни с баками вместимостью до 25 м3 включительно применяют в основном в сельскохозяйственном строительстве; 50...300 м3 — в промышленном, гражданском и сельскохозяйственном; 500 и 800 м3 в массовом строительстве не используют, так как типовые проекты их не разработаны.
При описании типовых проектов водонапорных башен приведена область применения башен в зависимости от климатических условий района строительства и характеристик источников водоснабжения.
Водонапорные башни оборудуют:
центральным подводяще-разводящим стояком диаметром 300...400 мм, используемым для наполнения и опорожнения бака;
переливным стояком диаметром 150...200 мм, предназначенным для предотвращения переполнения бака;
запорной арматурой (ручные или электрифицированные задвижки, тип которых определяется в зависимости от назначения башни и местных условий), устанавливаемой в утепленной подземной камере или в специальном колодце;
датчиками уровня воды в баке, передающими информацию на диспетчерский пункт. В качестве молниеприемника используют стальной бак, соответствующим образом заземленный.
Водонапорные башни, будучи высотными сооружениями, играют важную роль в создании архитектурного облика промышленного предприятия, промышленного узла или населенного пункта. При удачном решении башня может быть архитектурным акцентом, улучшающим облик всей окружающей застройки. Кроме того, иногда требуется возведение башни с двумя или тремя баками различной вместимости, располагаемыми на разных отметках по высоте, например, в текстильной промышленности, где наличие нескольких баков обусловлено технологией. Индивидуальные проекты разрабатывают также в тех случаях, когда параметры башни превосходят параметры башен по типовым проектам, и замена одной башни двумя или тремя экономически нецелесообразна или невозможна по требованиям технологии или решению генерального плана.
Конструктивные решения
Основные конструктивные элементы водонапорных башен — бак, ствол и фундамент. До недавнего времени башни проектировали с шатрами — надстройкой, внутри которой размещали бак. Практика эксплуатации водонапорных башен показала, что устройство шатра необязательно: при наличии обмена воды в баке она не промерзает; если начинает замерзать, то на внутренней поверхности бака образуется слой льда, служащий теплоизоляцией и препятствующий дальнейшему замерзанию ее. В последние годы водонапорные башни проектируют бесшатровыми. При водоснабжении из открытых источников, а также в сложных климатических условиях (в северных районах) башни можно применять с утепленными с наружной стороны баками.
Наиболее опасные для промерзания места — центральный подводяще-разводящий стояк и узел его соединения с баком. Вследствие этого стояк проектируют утепленным, а в узле присоединения стояка к баку при сложных климатических условиях предусматривают электроподогрев.
Теплоизоляцию стояков выполняют из минераловатных плит.
Баки применяют стальные сварные, для башен массового строительства при малой вместимости баков — цилиндрические с плоским днищем, в остальных случаях — с коническим. Баки с плоским днищем устанавливают на сплошное основание с уклоном днища не менее 5 % к отводящей или сливной трубе. При необходимости создания улучшенного архитектурного решения баки могут быть сферические, конические, каплевидные и др.
В составе проекта баков предусматривают: наружную лестницу (с ограждением из дуг) для подъема на покрытие бака, люк и стремянку для спуска в бак, перильное ограждение по периметру покрытия бака; в баках — трубы для вентиляции.
Наружную и внутреннюю поверхность бака защищают от коррозии. В баках, предназначенных для хранения питьевой воды, внутреннюю поверхность покрывают противокоррозионными составами.
Баки изготовляют из стали марок ВСтЗпс2 по ГОСТ 380—71* и ВСтЗпсб-1 по ТУ 14-1-3023-80*, принимая для них листовую сталь толщиной 4... 10 мм (в зависимости от расчета).
Стволы. Их выполняют из кирпича, стали, монолитного или сборного железобетона. Традиционная форма ствола — вертикальная цилиндрическая оболочка. Типовые проекты в основном предусматривают устройство кирпичных стволов, надежных в эксплуатации, не требующих для возведения специальных монтажных механизмов и относительно недорогих.
Вместе с тем они обладают существенными недостатками , основной из них — трудоемкость возведения — обусловливает удлинение сроков строительства. Кроме того, для кладки кирпичных стволов водонапорных башен требуются каменщики высокой квалификации. Большая масса кирпичных стволов предопределяет большие транспортные и энергетические расходы.
Стальные стволы водонапорных башен применяют для башен с баками небольшой вместимости. Они представляют собой сварную цилиндрическую оболочку, которая также заполняется водой и служит дополнительной емкостью (башни системы Рожновского). Основной недостаток — большая металлоемкость и дефицит листовой стали. Кроме того, при использовании ствола в качестве дополнительной емкости, напор в сети при опорожнении башни будет уменьшаться до нуля, вследствие чего необходима дополнительная насосная станция.
Башни с монолитным железобетонным стволом представляют собой вертикальную цилиндрическую оболочку, возводимую в подвижной или переставной опалубке. Из-за отсутствия необходимого оборудования и приспособлений их почти не применяют.
Наиболее прогрессивны и экономичны по всем показателям башни со стволами из сборного железобетона. Несмотря на широкое распространение водонапорных башен в целом по стране, количество водонапорных башен строящихся в каждом отдельном районе невелико. Поэтому создание номенклатуры сборных железобетонных элементов для водонапорных башен нецелесообразно и для сборных железобетонных стволов желательно использовать элементы, применяемые для других сооружений или зданий, либо соответствующие им по опалубочным размерам.
Фундаменты. Их выполняют из монолитного бетона или железобетона, состоят они из полой цилиндрической части, в объеме которой размещается камера для запорной арматуры и круглой или кольцевой (для малых башен) фундаментной плиты. Для башен с баками небольшой вместимости камеру для запорной арматуры в отдельных случаях располагают в специальном колодце рядом с башней.
Подземная камера не отапливается, но перекрытие над ней проектируют утепленным. В камере предусматривают две трубы для вентиляции — приточной и вытяжной, с заслонками, закрываемыми в зимнее время.
Расчет башен производится на следующие нагрузки:
постоянную, включающую в себя вес конструкции бака, ствола, фундамента и грунтовой засыпки над консольной частью фундаментной плиты;
длительную от воздействия воды, заполняющей бак;
кратковременные от воздействия ветра и снега.

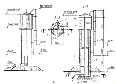
Типовой проект башни с кирпичным стволом.
Высота 6 и 9м, бак вместимостью 15, 25 и 50 м3. 1 – стальной бак. 2 – переливная труба.
3 – стальные лестницы. 4 – напорно-разводящий стояк. 5 – кирпичный ствол. 6 – железобетонный фундамент. 7 – напорный трубопровод. 8 – сливная труба.

Типовой проект башни со стальным стволом системы Рожновского.
1 – опора. 2 – бак. 3 – лестница. 4 – колодец диаметром 1500мм. 5 – переливная труба. 6 – фундамент. 7 – сливная труба. 8 – напорная труба. 9 – воздушная труба.

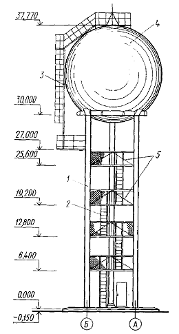
Общий вид башни с монолитным железобетонным стволом высотой 21, 24, 30, 36 и 42м с баком вместимостью 300м3.
1 – напорно-разводящий стояк. 2 – железобетонный ствол. 3 – стальной бак. 4 – стальные лестницы. 5 – переливная труба. 6 – фундамент. 7 – напорный трубопровод. 8, 9 – переливная и сливная труба соответственно.

Башня со стволом из сборных железобетонных колец и стальным баком.
1 – ствол из сборных железобетонных колец. 2 – стальной бак. 3 – переливной трубопровод. 4 – напорно-разводящий стояк. 5 – монолитный фундамент. 6- переливная спускная труба. 7 – сливная труба. 8 – наопрно-разводящий трубопровод.

Башни с рамным стволом.
а – высота ствола 12м; бак вместимостью 50м3.
б – высота ствола 18 м; бак вместимостью 100м3.
1 – подающе-отводящий трубопровод. 2 – переливной трубопровод. 3 , 4 – параллельная задвижка соответственно с электроприводом и ручная.

Общий вид экспериментальной башни с баком шаровой формы вместимостью 300м3.
1 – стойка рамного ствола. 2 – лестница на площадки. 3 – лестница на бак. 4 – бак шаровой формы. 5- перильное ограждение площадок – ригели пространственной рамы ствола.
Библиографический список
Попкович Г.С., Гордеев М.А. – Автоматическая система водоснабжения и водоотведения: Учеб. для вузов. – М.: Высш. Шк., 1986. – 392с., ил.
Абрамов Н.Н. - Водоснабжение, М., 1967
Интернет ресурс: http://ws-54.ru/page/vodosnabzhenie/