Спіральні теплообмінні апарати
Зміст
Вступ
1. Конструкції та принцип роботи
2. Галузь застосування
3. Ущільнювання торців каналів
4. Визначення розмірів спірального теплообмінника
Література
Вступ
Тема реферату «Спіральні теплообмінні апарати».
Теплообмінні апарати різних конструкцій широко застосовують в хімічній, нафтопереробній, харчовій та інших галузях промисловості.
Прагнення інтенсифікувати процеси конвективного теплообміну та створити найтехнологічніші у виготовленні та економічні теплообмінні апарати призвело до швидкого удосконалення їх конструкцій, виготовлених з листового прокату.
Найбільш прогресивними в цей час є пластинчасті теплообмінні апарати, складальні одиниці та деталі яких повністю уніфіковані і виготовляються переважно штампуванням та зваркою. Це створює можливості економічного масового виготовлення цих апаратів при мінімальній металоємкості.
Все більше застосування у промисловості знаходять також спіральні теплообмінні апарати, які у багатьох випадках замінюють широко відомі кожухотрубчасті теплообмінні апарати.
До теплообмінних апаратів пред’являються такі вимоги:
– забезпечення найбільш високого коефіцієнта теплопередачі при якомога меншому гідравлічному опору;
– компактність та найменша витрата матеріалів на одиницю теплової продуктивності апаратів;
– надійність та герметичність у поєднанні з розбірністю та доступністю до поверхні теплообміну для механічного очищення її від забруднень;
– уніфікація складальних одиниць та деталей та технологічність виготовлення широких рядів поверхонь теплообміну для різного діапазону робочих температур та тисків.
Із-за великої різноманітності вимог, які пред’являються до теплообмінних апаратів, економічно невигідно, а часто і взагалі неможливо обмежитись будь-якою однією з їх конструкцій.
Пластинчасті та спіральні теплообмінні апарати у багатьох випадках найбільш ефективно задовольняють потреби різноманітних виробництв.
1. Конструкції та принцип роботи
Спіральні теплообмінні апарати отримали в промисловості порівняно широке розповсюдження, що пояснюється рядом важливих переваг їх порівняно із теплообмінними апаратами інших типів.
Спіральні теплообмінні апарати можуть виготовлятися із будь-якого рулонного матеріалу, який піддається холодній обробці та зварюванню. Спіральні теплообмінні апарати компактні, їх конструкція передбачає можливість повного протитоку. Площа поперечного перерізу каналів по всій довжині залишається незмінною, і потік не має різких змін напряму, завдяки чому забруднення поверхні спіральних апаратів менше, ніж теплообмінних апаратів інших типів. Крім того, ряд конструкцій їх дозволяє проводити порівняно легке очищення у випадку, коли не потрібне для віддалення осаду механічної дії. Гідравлічний опір при однаковій швидкості руху рідини менше, ніж у кожухотрубчастих.
За рубежем спіральні теплообмінні апарати випускають фірми Альфа-Лаваль (Швеція), APV (Англія і США), Рока аппаратенбау, Фенікс-Рейнрор, Руршіль (ФРГ), Петрогаз (Голандія) та ін.
2. Галузь застосування
Спіральні теплообмінні апарати різних конструкцій знайшли застосування для систем рідина-рідина, для систем рідина-пара як конденсатори, підігрівачі та випарники, для охолодження і нагрівання парогазових сумішей. Спіральні теплообмінні апарати спеціальної конструкції можуть компонуватися з ректифікаційними колонами та застосовуватися як дефлегматори.
Одно з призначень спіральних теплообмінних апаратів – нагрівання та охолодження високов’язких рідин. Так як в’язка рідина проходить по одному каналу, усувається проблема рівномірного розподілення в’язкої рідини по трубам. Спіральні теплообмінні апарати можуть успішно застосовуватися для шламів та рідин, які містять волокнисті матеріали. Застосування спіральних теплообмінних апаратів для газів обмежено малим поперечним перерізом каналу.
Спіральні теплообмінні апарати застосовуються в гідролізній промисловості як дефлегматори, рекуператори тепла у відбілювальних відділеннях, конденсаторів терпентинових парів та поверхностних конденсаторів у випарних відділеннях; в хімічній промисловості – як теплообмінники у виробництві сірчаної, азотної та фосфорної кислот, як конденсатори для різних органічних з’єднань; у коксогазовій промисловості – для охолодження аміачної води, бензолу т. ін.
Спіральний теплообмінний апарат представляє собою два спіральних канали, навитих з рулонного матеріалу навколо центральної розділювальної перегородки (керна) (рисунок 1).

Рисунок 1 – Схема руху середовища в спіральному теплообмінному апараті
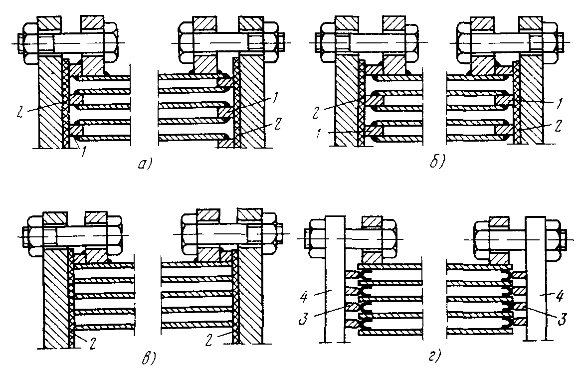
3. Ущільнювання торців каналів
За видами ущільнення торців канали підрозділяються на три основних типи.
– тупикові канали, кожен х котрих заварюється з протилежного боку за допомогою вставленої стрічки (рисунок 2,а). Такий спосіб ущільнення виключає можливість змішування теплоносіїв при прориві прокладки. Після зняття кришок обидва канали легко піддаються очищенню. Цей спосіб ущільнення каналів найбільш поширений;
– сліпі канали, в яких канали заварюються на торцях х обох боків (рисунок 2,б). Недолік цього типу ущільнення заключається в неможливості чистки каналів;
– наскрізні канали, відкриті з торців (рисунок 2, в, г). Ущільнення досягається за допомогою манжет U-подібного профілю або листового прокладкового матеріалу. Канали такого типу легко піддаються очищенню, але основний їхній недолік заключається в можливості перетоку теплоносія з одного каналу в другий.

Рисунок 2 – Ущільнення торців каналів: а – тупикові; б – сліпі; в – наскрізні, ущільнені листовою прокладкою; г – наскрізні, ущільнені U-подібною прокладкою
В конструкціях спіральних теплообмінних апаратів зустрічаються також різні комбінації вищезазначених каналів.
Для придання жорсткості, особливо при тиску понад 0,3 МПа, до однієї зі стрічок, як правило, приварюють штифти, які крім утворення жорсткості фіксують відстань між спіралями.
Навивка спіральних теплообмінних апаратів проводиться з рулонної сталі шириною від 0,2 до 1,5 м, поверхня нагріву складає від 3,2 до 100 м2, ширина каналу 8 або 12 мм, тиск 1 МПа. Товщина стінок при тиску до 0,3 МПа – 2 мм, до 0,6 мм – 3 мм.
Спіральні апарати випускаються двох типів: тип 1 – з тупиковими каналами (з кришками) і тип 2 – зі сліпими каналами (без кришок). Тип 1 випускається у чотирьох виповненнях: горизонтальний апарат на лапах для рідин; горизонтальний теплообмінник на цапфах для рідин; вертикальний теплообмінник на цапфах для конденсації парів; вертикальний теплообмінник на цапфах для паро-газової суміші.
Тип 2 випускається у трьох виповненнях: горизонтальний на лапах; горизонтальний на цапфах; вертикальний на лапах (рисунок 3).

Рисунок 3 – Вертикальний спіральний апарат на лапах зі сліпими каналами
Спіральні теплообмінні апарати виготовляють із вуглецевої сталі Ст3сп4, а також корозійностійких сталей марок 12Х18Н10Т, Х17Н12М2Т. Для виготовлення кришок застосовується двошарові сталі Ст3+10Х18Н10Т та 20К+Х17Н13М2Т та ін.
Для виготовлення прокладок застосовують гуму, пароніт, фторопласт, азбестовий картон та ін.
Спіральні теплообмінні апарати для рідини складаються із корпуса з тупиковими каналами, двох плоских кришок по торцям із прокладками, чотирьох штуцерів для введення та виведення теплообмінювальних середовищ, два з яких установлені у центральній частині кришки, а два – у верхній частині корпуса на колекторах.
Корпус апарата установлюється на лапах для установки безпосередньо на фундаменті в горизонтальному виповненні або на цапфах для установки у будь-якому виповненні.
Принцип роботи спіральних теплообмінних апаратів для рідин заключається у наступному: перший теплоносій подається під тиском через штуцер на одній із кришок в камеру центровика, а потім по спіральному каналу – в колекторі через штуцер виходить із теплообмінника. Другий теплоносій через штуцер колектора поступає у суміжний спіральний канал протитоком відносно до першого теплоносія і виходить через штуцер другої кришки.
Спіральні конденсатори виготовляються лише у вертикальному варіанті і складаються з корпуса з тупиковими каналами, двох кришок (верхньої – з конусом для підведення пари до каналів та нижньої із прокладками для ущільнення каналів), чотирьох штуцерів для введення та виведення теплоносіїв, два з яких установлені на кришках, а два інших – у бокових колекторах, причому один із них, призначений для виведення конденсату, установлений у нижній частині колектора.
Спіральні теплообмінні апарати для парогазових сумішей відрізняються від конденсаторів парів лише тим, що вони мають ще один штуцер для виведення газів після відокремлення від них конденсату, на якому є штуцер для виведення конденсату.
Вертикальне розташування каналів конденсаторів виключає утворення пробок конденсату та гідравлічні удари. Пара або парогазова суміш поступає в апарат через штуцер великого діаметра одночасно у більшість каналів, окрім кількох крайніх зовнішніх. Конденсат, який утворюється, стікає по вертикальним стінкам каналів, збирається у їхніх нижніх частинах і стікає по спіралі в штуцер для конденсату, розташований у нижньому боку каналу. Залишки несконденсованої пари або парогазової суміші проходять декілька зовнішніх витків каналу по спіралі і після охолодження відводяться через штуцер на колекторі тупикових каналів.
Гідравлічний опір каналів по паровому боку невелике внаслідок достатньо великого поперечного перерізу каналів, включених на вході пари паралельно. Охолоджувальне середовище подається через зовнішній колектор і рухається по спіральному каналу до центру, звідки виводиться через штуцер на нижній кришці.
Спіральні теплообмінні апарати можуть виконуватися для руху теплоносіїв по спіральному потоку, по поперечному, який перетинає спіраль потоку і по комбінованому потоку, який сполучає поперечний та спіральний потоки. Конструктивне оформлення таких теплообмінників може бути різноманітним.
Закордонні фірми навивку спіральних теплообмінних апаратів проводять з рулонного матеріалу шириною від 0,1 до 1,8 м і товщиною від 2 до 8 мм. Діаметр сердечника (керна) складає від 200 до 300 мм, ширина каналу – від 5 до 25 мм, поверхня нагріву – від 0,5 до 160 м2. Для отримання великих поверхонь теплообмінники можуть бути з’єднані в блоки.
За кордоном спіральні теплообмінні апарати виготовляють із вуглецевих та корозійностійких марок сталей, хастелою, нікелю і нікелевих сплавів, алюмінієвих сплавів та титану.
При відносно високих тисках в каналах деякі закордонні фірми з метою зниження металоємкості та придання достатньої міцності навивку теплообмінних апаратів здійснюють з матеріалу різної товщини. Внутрішні витки меншого радіусу навиваються з більш тонкого матеріалу, а зовнішні більшого радіусу – з металу більшої товщини. Листи різної товщини зварюються під кутом, щоб шов не заважав навивці спіралі.
В деяких випадках спіральні теплообмінні апарати конструюють з врахуванням на застосування анодного антикорозійного захисту або захисних покрить.
4. Визначення розмірів спірального теплообмінника
спіральний теплообмінний апарат конденсатор
Для визначення геометричних розмірів спіральних апаратів після теплового розрахунку і визначення величини робочої поверхні виходять із розмірів внутрішнього радіуса спіралей (для стандартних апаратів радіус дорівнює 150 мм), ширини каналу, тобто відстані між листами, і ширини стрічки, з якої проводиться навивка.
Поверхня нагріву спірального апарата, отримана на основі теплового розрахунку, зв’язана з розмірами спіралей співвідношенням
(1)
|
де |
|
ефективна
довжина спіралі від точок
|
|
|
ефективна спіралі, яка дорівнює ширині металевої стрічки за вирахунком товщини металевих стрічок або металевих стрічок або прокладок, які входять усередину спіралі. |
=
-20
мм,
|
де |
|
ширина стрічки. |

Рисунок 4 – Схема до розрахунку довжини каналу теплообмінника: 1 – зовнішній канал; 2 – внутрішній канал
Ефективну довжину спіралі визначають з урахуванням того, що зовнішній виток спіралі не бере участь в передачі тепла.
Кожний виток будується по двом радіусам: перший виток – по радіусам
,
|
де |
|
крок спіралі; |
|
|
ширина каналу (зазор між спіралями); |
|
|
|

Довжина першого витка визначається за формулою
.
Довжина другого витка

Довжина
-го
витка

Сумуючи, отримаємо довжину спіралі
(2)
звідки число витків, необхідне для отримання ефективної довжини, визначаємо за рівнянням
(3)
Число витків спіралей визначається за формулою
(3)
|
де |
|
внутрішній діаметр спірального апарата. |

Зовнішній діаметр спіралі з урахуванням товщини листа визначається за формулою
(4)
Дійсна довжина
листів спіралей між точками
і
для
спіралі І і
між точками
і
для
спіралі ІІ (рисунок 13 ) визначається
співвідношеннями:
(5)
(6)
Література
1 Барановский Н.В., Коваленко Л.М., Ястребенецкий А.Р. Пластинчатые и спиральные теплообменники. М., «Машиностроение», 1973. – 288 с.
2 Пластинчатые теплообменные аппараты. Каталог. М.: ЦИНТИхимнефтемаш, 1990. – 52 с.
3 Стальные спиральные теплообменники. Каталог. М.: ЦИНТИхимнефтемаш, 1974. – 21 с.
–
і
(рисунок 4 );
–
–
–
товщина
листа.
–