Привод к скребковому конвееру
Содержание
Введение
1. Кинематический расчет и выбор электродвигателя
2. Расчет механических передач
3. Проектировочный расчет валов
4. Эскизная компоновка
5. Подбор и проверочный расчет шпонок
6. Расчет элементов корпуса
7. Подбор и расчет муфты
8. Расчетные схемы валов
9. Подбор подшипников качения
10. Проверочный расчет валов на выносливость
11. Выбор типа смазывания
12. Выбор посадок
13. Технико-экономическое обоснование конструкций
14. Сборка редуктора
Список литературы
Введение
Цель проекта – проектирование привода к скребковому конвейеру. Приводная установка включает: двигатель, клиноременную передачу, упругую муфту с торообразной оболочкой, ЦР с шевронными зубьями. Вращательное движение от электродвигателя по средствам ременной передачи сообщается ведущему валу редуктора, а затем через цилиндрическую передачу с шевронным зубом – на выходной вал редуктора. Далее через муфту передается на вал скребкового конвейера.
Редуктор – механизм представляющий совокупность зубчатых или червячных передач помещенных в корпус, который являются для них масляной ванной. Назначение редуктора – понижение угловых скоростей ведомых звеньев с одновременным повышением вращающих моментов.
Муфта – устройство предназначенное для соединения валов между собой или валов с посаженными на них деталями и передачи вращающего момента без изменения величины и направления.
Конвейер – транспортирующие устройство для перемещения грузов.

Привод к скребковому конвейеру
1 – двигатель; 2 – клиноременная передача; 3 – цилиндрический редуктор; 4 – упругая муфта с торообразной формой; 5 – ведущие звездочки конвейера; 6 – тяговая цепь. I, II, III, IV – валы, соответственно, - двигателя, быстроходный и тихоходный редуктора, рабочей машины
Таблица 1 – Исходные данные
|
Исходные данные |
Вариант № 6 |
|
Тяговая сила цепи F,кН Скорость тяговой цепи ט, м/с Шаг тяговой цепи Р, мм Число зубьев звездочки z Допускаемое отклонение скорости тяговой цепи δ, % Срок службы привода L, лет |
3,5 0,60 80 7 5 4 |
1. Кинематический расчет и выбор электродвигателя
Мощность на выходном валу привода
Р>4> = F>t>υ (1.1)
Р>4> = 3,5· 0,6 = 2,1 кВт
Общий КПД привода
η=η>1>·η>2>·η>3>·η>4>3 (1.2)
где, η>1 >= 0,97 – КПД ременной передачи;
η>2 >= 0,98 – КПД зубчатой передачи;
η>3> = 0,98 – КПД муфты;
η>4> = 0,99 – КПД одной пары подшипников качения.
[1; с. 42]
Следовательно
η = 0,97·0,98·0,98·0,993 = 0,904
Требуемая мощность электродвигателя
Р>дв>тр = Р>4>/η (1.3)
Р>дв>тр = 2,1 /0,904=2,32 кВт
По таблице 24.9 [2; с. 417] принимаем асинхронный электродвигатель АИР 112МА6, имеющий мощность Р>ном> = 3 кВт, и частоту вращения n >дв> = 950 мин-1
Частота вращения выходного вала привода
n>4>=60·103·υ/Р·z (1.4)
n>4>=60·103·0,6/80·7=64,28 мин -1
Общее передаточное число привода
u= n>1 >/ n>4 >(1.5)
где n>1 >= n >дв> = 950 мин-1
u =950/64,28=14,78
Передаточные числа двух степеней привода
Так как u= u>1 >· u>2 >,то приняв стандартное значение передаточного числа редуктора u>2>=4, получим передаточное число ременной передачи
u>1 >= u/ u>2 >(1.6)
u>1>= 14,78 /4 = 3,69
Частота вращения валов привода
n>1>= 950 мин-1 ; (1.7)
n>2>= n>1>/ u>1 >=950/3,69=257,1 мин-1 ;
n>3>= n>2>/ u>2 >= 257,1 / 4 =64,28 мин-1 ;
n>4>= n>3 >=64,28 мин-1
Угловая скорость вращения валов привода
ω>1>=π n>1>/30 = π·950/30=99,4 рад/с ; (1.8)
ω>2>= ω>1>/ u>1 >=99,4/3,69=26,9 рад/с ;
ω>3>= ω>2>/ u>2 >=26,9 /4=6,73 рад/с ;
ω>4>= ω>3>=6,73 рад/с
Проверка: ω>4>= π n>4>/30=π·64,28/30=6,73 рад/с
Мощность на валах привода
Р>1>= Р>дв>тр =2,32 кВт;
Р>2>= Р>1 >· η>1 >· η>4 >=2,32·0,97·0,99=2,23 кВт;
Р>3>= Р>2 >· η>2>· η>4 >=2,16·0,98·0,99=2,16 кВт;
Р>4>= Р>3 >· η>3 >· η>4 >=2,16·0,98·0,99=2,1 кВт
Вращающие моменты на валах привода
Т = 9550Р/n (1.9)
Т>1>=9550 Р>1 >/ n>1>=9550·2,32/950=23,35 Нм;
Т>2>=9550 Р>2>/ n>2>=9550·2,23 /257,1=82,9 Нм;
Т>3>=9550 Р>3>/ n>3>=9550·2,16 /64,28= 321,7 Нм;
Т>4>=9550 Р>4>/ n>4>=9550·2,1/64,28=312,0 Нм
Проверка: Т>4>= Т>1>·u· η =23,35·14,78·0,904=312,0 Нм
Результаты расчетов сводим в таблицу 1
Таблица 1 – Кинематические и силовые параметры привода
|
№ вала |
n , мин-1 |
ω , рад/с |
Р , кВт |
Т , Нм |
u = 14,78 |
|
I |
950 |
99,4 |
2,32 |
23,35 |
u>1>=3,69 |
|
II |
257,1 |
26,9 |
2,23 |
82,9 |
|
|
III |
64,28 |
6,73 |
2,16 |
321,7 |
u>2>=4 |
|
IV |
64,28 |
6,73 |
2,1 |
312,0 |
_ |
2. Расчет механических передач
Расчет цилиндрической передачи с шевронным зубом
Выбор материала
Для изготовления шестерни и колеса принимаем наиболее распространенную сталь 45 с термообработкой-улучшение. По таблице 9.2 [3,с.170]выбираем: для шестерни твердость 269…302 НВ, σ>Т>=650 МПа, при предполагаемом диаметре заготовки шестерни D≤650 мм; для колеса твердость 235..262 НВ2, σ>Т>=540 МПа, при предполагаемой ширине заготовки колеса S≤80 мм. Из табличных данных выбираем примерно среднее значение твердости как наиболее вероятное. Принимаем: твердость шестерни 280 НВ>1>; колеса – 260 НВ>2>. При этом НВ>1> –НВ>2>=280-250=40 – условие соблюдается.
Допускаемые контактные напряжения
σ>НР >=σ>НО>·z>Н>·0,9/S>Н >(2.1)
где σ>но >– предел контактной выносливости;
σ>НО>=2НВ+70 (2.2)
σ>НО1>=2НВ>1>+70=2·280+70=630 МПа;
σ>НО2>=2НВ>2>+70=2·250+70=570 МПа;
z>Н>=1- коэффициент долговечности (для длительных рабочих передач)
S>Н>=1,1 – коэффициент запаса прочности для улучшенных колёс,[3; с. 187]
σ>НР1>=630·1·0,9/1,1=516 МПа
σ>НР2>=570·1·0,9/1,1=466 МПа
σ>НР>=0,45(σ>нр1>+ σ>нр2>)≥ σ>нр>>min>> > (2.3)
σ>НР>=0,45(516+466) = 442 МПа – условие не выполняется
Принимаем σ>НР>=466 МПа
Допускаемые напряжения изгиба
σ>F>>Р>=σ>F>>О >·Υ>N>/ S>F>> >(2.4)
где σ>F>>О >- предел изгибной выносливости соответствующий базовому числу циклов напряжений
σ>F>>О>=> >1,8НВ (2.5)
σ>F>>О1>= 1,8НВ>1>=1,8·280=504 МПа;
σ>F>>О2>= 1,8НВ>2>=1,8·250=450 МПа;
Υ>N>> >=1 – коэффициент долговечности [3; с.194];
S>F>> >=1,75 – коэффициент запаса прочности [3; с.194];
σ>F>>Р1>=504·1/1,75=288 МПа;
σ>F>>Р2 >=450·1/1,75=257 Мпа
Расчетные коэффициенты
Ψ>ba>=0,4 [3; с.191];
К>Нβ>=1, по таблице 9.45 [3; с.192]
Межосевое расстояние передачи
(2.6)

Принимаем стандартное значение α>W>=140 мм [3; с.171]
Ширина зубчатого венца
b>2>= Ψ>ba>· α>W>> >(2.7)
b>2>=0,4·140=56 мм
Нормальный модуль зубьев
m>n>= (0,01…0,02) α>W>> >(2.8)
m>n>= (0,01…0,02) 140 = 1,2…2,8 мм
Принимаем стандартное значение m>n>= 2 мм [3; с.157]
Принимаем минимальный угол наклона зубьев β>min>=25º и определяем суммарное число зубьев
z>∑> = (2 α>W >· cosβ>min>)/ m>n > (2.9)
z>∑> = (2·140· cos25º)2=126,2
Принимаем z>∑> = 126
Фактический угол наклона зубьев
cosβ= m>n> z>∑>/2 α>W>> >(2.10)
cosβ=2·126/2·140=0,9;β=25º49´
Число зубьев шестерни и колеса
z>1>= z>∑>/(u+1) (2.11)
z>1>=126/(4+1)=25
z>2>= z>∑ >- z>1>
z>2>=126-25=101
Фактическое передаточное число
u>ф>= z>2>/ z>1 > (2.12)
u>ф>=101/25=4,04;∆u=(u - u>ф >)/u·100%≤4%
∆u=(4-4,04)/4·100%=1%≤4%
Основные геометрические размеры передачи
d= m>n>> >z/ cosβ (2.13)
d>1>=2·25/cos25º49´=56мм;
d>2>=2·68/ cos25º49´=224мм
Уточняем межосевое расстояние
α>W>> >=( d>1 >+ d>2 >)/2 =140 мм (2.14)
Диаметры окружностей вершин зубьев шестерни и колеса:
d>а>=d + 2 m>n>> > (2.15)
d>а1>=56+2·2=60мм;
d>а2>=224+2·2=228мм
Ширина зубчатых колес с учетом дорожки α для выхода червячной фрезы, при m>n>=2мм
α=14 m>n>> > (2.16)
α=14·2=28 мм
b´=b+α=56+28=89 мм
Окружная скорость колес и степень точности передачи
υ=π· d>1>· n>1>/60 (2.17)
υ=π·56·10-3/60=0,76 м/с
по таблице 9.1 [3;с.163] принимаем 8-ю степень точности
Силы в зацеплении
F>t>=2T>2>/d>2> – окружная (2.18)
F>t>=2·321,7·103/224= 2872 Н
F>r>= F>t>tq20º/cosβ – радиальная (2.19)
F>r>=2872·tq20º/ cos25º49´=1158 Н
Уточняем значение коэффициентов
Ψ>d>=b>2>/d>1 > (2.20)
Ψ>d>=56/56=1
При этом К>НВ>=1, по таблице 9.5 [3;с.192]
Принимаем коэффициенты
К>нυ>=1,1, по таблице 9.6 [3;с.193] ;
К>на >=1,12, по таблице 9.6 [3;с.193]
Расчетное контактное напряжение
σ>н>=266/ α>W>> >u>ф>√Т>2 >К>на> К>нβ> К>на >(u>ф >+1)3 (2.21)
σ>н>=266/140·4,04√321,7·103·1·1,1·1,12(4+1)3=447 МПа
Н=466-447/466·100%=4%,что допустимо
Проверочный расчет зубьев на изгиб. Этот расчет выполняется по зубьям шестерни. Это объясняется тем, что материал шестерни и колеса одинаков, но толщина зубьев шестерни у основания ножки меньше, чем у зубьев колеса, поэтому и прочность их ниже по сравнению с прочностью зубьев колеса.
Эквивалентное число зубьев шестерни
z>V>>1>= z>1>/ cos 3β (2.22)
z>V1>=25/ cos 325º49´=34,5
z>V>= 101/ cos 325º49´=138,5
Коэффициент формы зуба
Υ>F>>1>=3,9; Υ>F>>1>=3,6 [3;с.185]
Принимаем коэффициенты
К>FB>=1,3
K>Fυ>=1,2 K>Fα>=0,91
Υ>В >=1- βº/140º=1-25º49´/140=0,818 [3;с.192]
Расчетное напряжение изгиба
σ>F>>2>= Υ>F>>1> Υ>В> F>t>> >/ b>2 >m>n>K>Fα>K>Fυ>К>FB>> > (2.24)
σ>F>>2>=3,9·0,818·2872/56·2·0,91·1,3·1,2=116 МПа
σ>F>>1>= σ>F>>2> Υ>F>>1 >/ Υ>F>>2 >=116·3,9/3,6=126 МПа (2.25)
σ>F>>1>=116·3,9/3,6=126 МПа
Результаты расчетов сводим в таблицу 2
Таблица 2 – Параметры зубчатой цилиндрической передачи,мм
|
Проектный расчет |
|||
|
Параметр |
Значение |
Параметр |
Значение |
|
Межосевое расстояние α>W> |
140 |
Угол наклона зубьев β |
25º49´ |
|
Модуль зацепления m>n> |
2 |
Диаметр делительной окружности шестерни d>1> колеса d>2> |
56 224 |
|
Ширина зубчатого венца: шестерни b>1> колеса b>2> |
60 56 |
||
|
Число зубьев шестерни z>1> колеса z>2> |
25 101 |
Диаметр окружностей вершин шестерни d>а1> колеса d>а2> |
60 228 |
|
Вид зубьев |
шевронный зуб |
Диаметр окружности вершин шестерни d>f>>1> колеса d>f>>2> |
51 223 |
|
Проверочный расчет |
|||
|
Параметр |
Допускаемое значение |
Расчетное значение |
Примечание |
|
Контактное напряжение σ |
466 МПа |
447 МПа |
Контактная выносливость обеспечена |
|
Напряжения изгиба σ>F>>О1> σ>F>>О2> |
504 МПа |
126 МПа |
Изгибная выносливость зубьев обеспечена |
|
450 МПа |
116 МПа |
Расчет клиноременной передачи
Выбор типа сечения ремня
По номограмме [1;с.123] принимаем сечение клинового ремня А нормального сечения
Определяем диаметра ведомого шкива d>2>
d>2>= d>1>u( 1-ε ) (2.26)
где, ε=0,015- коэффициент скольжения [1;с.81]
d>1>=100 мм [1;с.89]
d>2>=100·3,69(1- 0,015)=363,46 мм
Принимаем d>2>=355, по таблице К40 [1;с.449]
Уточняем фактическое передаточное число u>ф>
u>ф>= d>2>/ d>1>( 1-ε ) (2.27)
u>ф>=355/100(1-0,015)=3,6
∆u= u>ф> – u/ u·100%=3,6 – 3,69/ 3,69·100% =2,4 %≤3%
Определяем межосевое расстояние α, мм
α≥0,55(d>1> + d>2 >) +h(H) (2.28)
где, h(H)=8 – высота сечения клинового ремня по таблице К31 [1;с.440]
α≥0,55(100+355)+8=258,25
Определяем расчетную длину ремня L>Р >
L=2α+π/2(d>1> + d>2 >)+(d>2 >– d>1>)2/4 α (2.29)
L=2·258+3,14/2(100+355)+(355-100) 2/4·258=1293 мм
Принимаем L=1250 мм, по таблице К31[1;с.440]
Уточняем значение межосевого расстояния
α=1/8[2L-π (d>2 >+d>1>)+√[ 2L-π (d>2 >+d>1>)]2 -8(d>2 >– d>1>) 2] (2.30)
α=1/8[2·1250 – 3,14(355+100)+√[2·1250-3,14(355+100)] 2 -8(355-100) 2]=354 мм
При монтаже передачи необходимо обеспечить возможность уменьшения межосевого расстояния на 0,01 L=0,01·1250=12,5 мм для обеспечения надевания ремней на шкивы и возможность увеличения его на 0,025 L=0,025·1250=31,25 мм для увеличения натяжения ремней.
Определяем угол обхвата ремней ведущего шкива
α>1 >= 180º - 57º (d>2 >– d>1)>/α (2.31)
α>1 >= 180º- 57º (355- 100)354 - 57º =127º>120º
Определяем частоту пробегов ремня
U=u/L
U=4,97/1250=0,004 с -1 (2.32)
Определяем скорость ремня υ,м/с
υ=πd>1>n>1>/60·103 (2.33)
υ=3,14·100·950/60·103=4,97≤25 м/с
Определяем допускаемую мощность
Р=Р >о>С>Р>С>α>С>1>Сz (2.34)
где, Р >о>=0,67 кВт – допускаемая приведенная мощность, по таблице 5.2 [1;с.89]
С>Р>=1 – коэффициент динамической нагрузки;
С>α>=0,95 – коэффициент угла обхвата;
С>υ >=1,04 – коэффициент влияния от натяжения от центробежных сил;
Сz=0,9 – коэффициент числа ремней в комплекте
С>1>=1 – коэффициент влияния отношения L/l [1;с.82]
Р=0,67·1·0,95·1,04·0,9=0,52 кВт
Определяем количество клиновых ремней
z=Р>ном>/Р (2.35)
z=2,32/0,52=4,46 кВт
Принимаем z=4
Определяем силу предварительно натяжения ремня
F>o>=850 Р>ном> С>1>/ zυ С>α> С>Р > (2.36)
F>o>=850·2,32·1,04/4·0,95·1·4,97=109 Н
Определяем окружную силу
F>t>= Р>ном>103/υ
F>t>= 2,32·103/4,97=466 Н (2.37)
Определяем силы натяжения ведущей F>1> и ведомой F>2> ветвей> >
F>1>= F>o>> >+ F>t>/2z (2.38)
F>1>=109+466/2·4=167 Н
Определяем силу давления ремней на вал
F>on>=2 F>o>z·sin α>1>/2 (2.39)
F>on>=2·109·4· sin127º/2=780 Н
Результаты расчета сводим в таблицу 3
Таблица 3 – Параметры клиноременной передачи,мм
|
Параметр |
Значение |
Параметр |
Значение |
|
Тип ремня |
клиновой |
Частота прбегов в ремне U |
0,004 с-1 |
|
Сечение ремня |
А |
Диаметр ведущего шкива d>1> |
100 |
|
Количество ремней z |
4 |
Диаметр ведомого шкива d>2> |
355 |
|
Межосевое расстояние α |
354 |
Максимальное напряжение σ>max> |
10 МПа |
|
Длина ремня L |
1250 |
Предварительное натяжение ремня F>o> |
109 Н |
|
Угол обхвата малого шкива α>1> |
127º |
Сила давления ремня на вал F>on> |
780 Н |
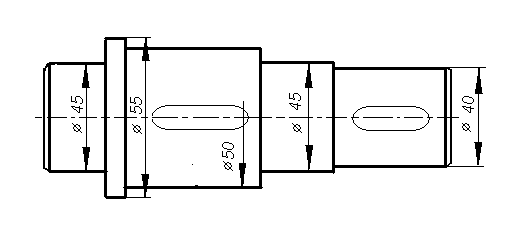
3. Предварительный расчет валов редуктора
Предварительный расчет валов редуктора ставит целью определить ориентировочно геометрические размеры каждой ступени вала : ее диаметр и длину. Ведущий вал
(3.1)
=27,4
мм
где Т>2>=82,9 Нм, вращающий момент на валу
τ >adm>> >= 30 МПа
Принимаем диаметр выходного конца вала d>в1>=30 мм
Диаметр вала под подшипники принимаем d>п1>=35 мм

Рисунок 1 – Конструкция ведущего вала
вал ведомый

где Т>3>=321,7 Нм, вращающий момент на валу
τ >adm>> >= 30 МПа

Принимаем d>в2>=40 мм
Диаметр вала под подшипники принимаем d>в2>=45 мм
Диаметр под зубчатое колесо d>к2>=50 мм
Диаметр буртика d>2>=55 мм

Рисунок 2 – Конструкция ведомого вала
электродвигатель шпонка подшипник вал
Конструктивные размеры шестерни и колеса
Шестерня выполняется за одно целое с валом
d>1>=56 мм
d>а1>=60 мм
d>f>>1>=51 мм
b>1>=60 мм
Колесо кованное
d>2>=224 мм
d>а2>=228 мм
b>2>=56 мм
Диаметр ступицы
d>ст>=1,6 d>к2>
d>ст>=1,6·50=80 мм
Длина ступицы
L >ст>=(1,2…1,5) d>к2 >
L >ст>=(1,2…1,5)50=60..75 (3.2)
Принимаем L >ст>=70 мм
Толщина обода
δ=(2,5…4) m>n>> > (3.3)
δ=(2,5…4)2=5…8 мм
Принимаем δ=8 мм
Толщина диска (3.4)
С=0,3 b>2>
С=0,3·56=16,8
Принимаем С=18 мм
4. Эскизная компоновка
Компоновку проводят в2 этапа.1-ый этап служит для приближенного определения положения зубчатых колес и звездочки относительно опор для последующего определения опорных реакций и подбора подшипников.
Примерно посередине листа параллельно его длиной стороне проводим горизонтальную осевую линию, затем 2 вертикальные линии – оси валов на расстоянии α>W>> >=140 мм.
Вычерчиваем упрощенно шестерню и колесо в виде прямоугольников, шестерня выполнена за одно целое с валом, длина ступицы колеса равна ширине венца и не выступает за пределы прямоугольника.
Очерчиваем внутреннюю стенку корпуса. Принимаем зазор между торцом шестерни и внутренней стенкой корпуса А>1> = 1,2 δ . Принимаем зазор окружности вершин зубьев колеса до внутренней стенки корпуса А = δ . Назначаем радиальные шарикоподшипники легкой серии.
Таблица – 4 Шарикоподшипники радиальные однорядные, мм ГОСТ 8338-75
|
УО подшипников |
d |
D |
В |
Грузоподъемность,кН |
|
|
С>o> |
С>or> |
||||
|
207 |
35 |
72 |
17 |
22,5 |
13,7 |
|
209 |
45 |
85 |
19 |
32,2 |
18,6 |
5. Подбор и проверочный расчет шпонок
Для соединения вала с деталями передающих вращение, кручение принимаем призматические шпонки из стали имеющие σ>в>≥600 МПа – сталь 45, по таблице 8.9 [4;с.171].Длину шпонки назначаем из стандартного ряда, так чтобы она была несколько меньше длины ступени.
Таблица5 – Шпонки призматические, мм ГОСТ 23360-78
|
Диаметр вала,d |
Сечение вала
|
Глубина паза вала t>1> |
Глубина паза втулки t>1> |
Фаска
|
|
30 |
|
5 |
3,3 |
0,25 – 0,40 |
|
50 |
|
5 |
3,3 |
0,25 – 0,40 |
|
40 |
|
5 |
3,3 |
0,25 – 0,40 |
Вал ведущий, d=30 мм
Расчетная длина шпонки



Принимаем L=30 мм
Напряжение смятия

Вал ведомый
Для ступени вала под колеса при



Принимаем L=55 мм
Напряжение смятия
Для ступени вала под муфту при



Принимаем L=60 мм

6. Расчёт элементов корпуса
Толщина стенок корпуса и крышки
δ=0,025 а+1 (6.1)
δ=0,025·140+1=2,5 мм
Принимаем δ=8мм
δ>1>=0,02 а+1
δ>1>=0,02·140+1=3,8 мм (6.2)
Принимаем δ>1>=8мм
Толщина фланцев поясов корпуса и крышки для верхнего пояса
L>1>=1,5 δ>1> (6.3)
L>1>=1,5·8=12мм
Для нижнего пояса крышки
L=1,5 δ (6.4)
L=1,5·8=12мм
р=2,35 δ (6.5)
р=2,35·8=19мм
принимаем р=20мм
Толщина ребер основания корпуса
m=(0,85…1) δ (6.6)
m=(0,85…1) 8=6,8…8
принимаем m=7мм
Диаметр болтов фундаментных
d>1>=(0,03…0,036) а+12 (6.7)
d>1>=(0,03…0,036) ·140+12=16,2…17мм
Принимаем болты с резьбой М16
Крепящую крышку к корпусу у подшипников
d>2>=(0,07…0,75) d>1> (6.8)
d>2>=(0,07…0,75) 16=11,2…12мм
Принимаем болты с резьбой М12
Соединяющие крышку с корпусом
d>3>=(0,5…0,6) d>1> (6.9)
d>3>=(0,5…0,6) 16=8…9,6
Принимаем болты с резьбой М8
Размер определяющей положение болтов d>2>
е=(1…1,2) d>2 > (6.10)
е=(1…1,2) 12=12…14,4
q≥0,5 d>2>+ d>3> (6.11)
q≥0,5·12+8=14
7. Подбор и расчёт муфты
Выбираем муфту по ГОСТ 20884-82 – упругая муфта с торообразной оболочкой
Таблица 6 – Параметры муфты, мм
|
Т>adm> |
d вала |
D муфты |
L |
L>1> |
|
500 |
40 |
280 |
=2Т>3>/(πD>1>2
δ)≤ τ>adm>=0,5
МПа(7.1)
D>1>=0,75 D(7.2)
D>1>=0,75 ·280=210мм(7.3)
δ=0,05·D=0,05·280=14мм
=2·321,7·103/(3,14·2102·14)0,33
МПа≤τ>adm>=0,5МПа
8. Расчетные схемы вал
ов

Рисунок 3 – Схема нагружения валов
Вал ведущий
Исходные данные:
Т>2>=82,9 Нм;
F>t>>1>=2872 Н;
F>r>>1>=1158 Н;
F>n>>1>=780 H;

Рисунок 4 – Расчётная схема ведущего вала
Вертикальная плоскость
Реакция опор
∑М>А>=0; -F>n>>1>·0,031+ F>r>>1>·0,054-R>BY>·0,108 =0;
∑М>В>=0; -F>n>>1>·0,139-F>r>>1>·0,054+R>А>>Y>·0,108 =0;


Проверка:
∑F>i>=-F>n>>1>+R>А>>Y>-F>r>>1>+R>BY>=-780+355-1158+1583=0
Изгибающие моменты в сечениях вала

Строим эпюру М>х>
Горизонтальная плоскость
Реакции опор
R>АХ >= R>ВХ >=F>t>>1>/2=2872/2=1436 Н
Изгибающие моменты в сечениях вала
Строим эпюру М>у>
Определяем суммарный изгибающий момент в сечении вала по формуле
(8.1)


Крутящий момент
Т=Т>2>=82,9 Нм
Вал ведомый
Исходные данные
Т>3>= 321,7Нм;
F>t>>2>= F>t>>1>=2872 Н;
F>r>>2>= F>r>>1>=1158 Н;


Рисунок 5 – Расчетная схема ведомого вала
Вертикальная плоскость
R>DY>= R>CY>=F>r>>2>/2=1158/2=579
Изгибающие моменты в сечениях вала

Строим эпюру М>у>
Горизонтальная плоскость

Проверка:

Изгибающие моменты в сечениях вала

Определяем суммарный изгибающий момент в сечении вала

Крутящий момент
Т=Т>3>=321,7 Нм
9. Подбор подшипников качения
Вал ведущий
Предварительно принимаем шарикоподшипники радиальные однорядные легкой серии 207 по ГОСТ 8338-7, С>r>=20,1 кН; С>о>>r>=13,9кН
Определяем коэффициент влияния осевого нагружения
(9.1)
Принимаем коэффициенты по таблице 9.3 [1; с.133])
Х=0,56 - коэффициент радиальной нагрузки;
Y=1,31 - коэффициент осевой нагрузки;
е=0,34 - коэффициент осевого нагружения;
V=1 – коэффициент вращения
Определяем осевые составляющие радиальной нагрузки
(9.2)




(9.3)

(9.4)
Определяем эквивалентную нагрузку
(9.5)
(9.6)
где
-
температурный коэффициент
- коэффициент безопасности

Определяем динамическую грузоподъемность
, (9.7)
где
,рад/с-
угловая скорость на валу;
,ч- расчетная долговечность
,
Подшипник пригоден
Расчетная долговечность


Вал ведущий
Предварительно принимаем шарикоподшипники радиальные однорядные легкой серии 209 по ГОСТ 8338-7, С>r>=2571 кН; С>о>>r>=18,9кН
Определяем коэффициент влияния осевого нагружения

Принимаем коэффициенты по таблице 9.3 [1; с.133])
Х=0,56 - коэффициент радиальной нагрузки;
Y=1,3 - коэффициент осевой нагрузки;
е=0,33 - коэффициент осевого нагружения;
V=1 – коэффициент вращения
Определяем осевые составляющие радиальной нагрузки

Определяем эквивалентную нагрузку

где
-
температурный коэффициент
- коэффициент безопасности

Определяем динамическую грузоподъемность
,
где
,рад/с-
угловая скорость на валу;
,ч- расчетная долговечность
,
Подшипник пригоден
Расчетная долговечность


10. Проверочный расчет валов на выносливость
Уточненные расчеты на сопротивление усталости отражают влияние разновидности цикла напряжений, статических и усталостных характеристик материалов, размеров, формы и состояние поверхности. Расчет выпоняют в форме проверки коэффициента S запаса прочности, минимально допустимое значение которого принимают в диапазоне [S] =1,5-2,5 в зависимости от ответственности конструкции и последствий разрушение вала, точности определения нагрузок и напряжений, уровня технологии изготовления и контроля.
Для каждого из установленных предположительно опасных сечений вычисляют коэффициент S:
(10.1)
где S>σ> и S>τ>– коэффициенты запаса по нормальным и касательным напряжением, определяемые по зависимостям
(10.2)
Здесь
и
–
амплитуды напряжений цикла;
и
- средние напряжения цикла ;
и
- коэффициенты чувствительности к
асимметрии цикла напряжений для
рассматриваемого сечения.
В расчетах валов принимают, что
нормальные напряжения изменяются по
симметричному циклу:
и
,
а касательные напряжения –по отнулевому
циклу :
и

Тогда
(10.3)
Напряжение в опасных сечениях вычисляют по формулам
(10.4)
где
-
результирующий изгибающий момент, Н·м;
М>к> – крутящий
момент ( М>к>
= Т), Н·м; W
и W>к>
– моменты сопротивления сечения вала
при изгибе и кручении, мм3
Пределы выносливости вала в рассматриваемом сечении:
(10.5)
где
и
- пределы выносливости гладких образцов
при симметричном цикле изгиба и кручения
(таблица 10.2 [2; с.163]);
и
- коэффициенты снижения предела
выносливости.
Значения
и
вычисляют по зависимостям:
(10.6)
,
(10.7)
где
и
- эффективные коэффициенты концентрации
напряжений;
и
- коэффициенты влияния абсолютных
размеров поперечного сечения (таблица
10.7 [2; с.170]);
и
- коэффициенты влияния качества
поверхности (таблица 10.8 [2; с.170]);
-
коэффициенты влияния поверхностного
упрочнения (таблица 10.9 [2; с.170]);
Коэффициенты влияния асимметрии цикла для рассматриваемого сечения вала
,
(10.8)
где
- коэффициент чувствительности материала
к асимметрии цикла напряжений (таблица
10.2 [2; с.163]).
Вал ведомый. Сечение 2-2 – место
установки зубчатого колеса на вал
d=55мм;
колесо посажено с натягом концентрат
напряжений гарантирован натягом.
Материал валов – сталь 45

Напряжение в опасном сечениях

Пределы выносливости в рассматриваемом сечении
,




где



Коэффициенты запаса прочности по нормальным и касательным напряжениям





Коэффициент запаса прочности

11. Выбор типа смазывания
Смазывание зубчатого зацепления производится окунанием зубчатого колеса в масло, заливаемое внутрь корпуса до уровня, обеспечивающего погружение колеса примерно на 10 мм. Объем масляной ванны V из расчета 0,4… 0,8 л на 1 кВт передаваемой мощности: V=2,32·(0,4…0,8)=1,44…2,88 дм3
По таблице 10.21 [ 1.,с.255] устанавливаем вязкость масла. При контактных напряжениях σ>НР>=466 МПа и скорости υ =0,76 м/с рекомендуемая вязкость масла должна быть примерно равно 34· 10-6 м2/с. По таблице 10.21 [1.,с.255] принимаем сорт масла И-Г-А 32
(индустриальное- для гидравлических систем – масло без присадок – класс кинематической вязкости 32, по ГОСТ 17479.4-87).
Определение уровня масла.При окунании В масляную ванну колеса
m<h>m><0,25d>2> (11.1)
2< h>m><0,25·224=56 мм
Камеры подшипников заполняем вручную смазочным материалом при снятой крышке подшипникового узла на несколько лет. Смену смазочного пластинчатого материала производят при ремонте. Принимаем смазочный пластинчатый материал УТ -1.
12. Выбор посадок
Посадки назначаем в соответствии с указаниями, данными в таблице 10.13 [ ]
Посадка зубчатого колеса на вал
Шейки валов под подшипники выполняем с отклонением вала . Отклонение отверстий в корпусе под наружные кольца
13. Технико-экономическое обоснование конструкции
Технический уровень целесообразно оценивать количественным параметром, отражающим соотношение затраченных средств и полученного результата. «Результатом» для редуктора является его нагрузочная способность, в качестве характеристики которой можно принять вращающий момент Т>3>, на его тихоходном валу. Объективной мерой затраченных средств является масса редуктора m, кг в котором практически интегрирован весь процесс его проектирования .За критерий технического уровня можно принять относительную массу γ = m/Т>3> .
Определение массы редуктора
m=φ ρ V·10 -9 (13.1)
где φ=0,41– коэффициент заполнения ; [ 1,с.277]
ρ=7,4·10 3 кг/м 3 - плотность чугуна;
V – условный объём редуктора
m=0,41·7,4·10 3·280·180·250·10 -9=38,2 кг
Критерий технического уровня
γ = m/Т>3 > (13.2)
γ =38,2/321,7=0,11
Вывод: Технический уровень редуктора средний; в большинстве случаев производство экономически неоправданно.
14. Сборка редуктора
Перед сборкой внутреннюю полость корпуса редуктора тщательно очищают и покрывают маслостойкой краской.
Сборку производят в соответствии со сборочным чертежом редуктора, начиная с узлов валов:
на ведущий вал насаживают мазеудерживающие кольца и шарикоподшипники, предварительно нагретые в масле до 80 - 100˚С;
в ведомый вал закладывают шпонку и напрессовывают зубчатое колесо до упора в бурт вала; затем надевают распорную втулку, мазеудерживающие кольца и устанавливают шарикоподшипники, предварительно нагретые в масле.
Собранные валы укладывают в основание корпуса редуктора и надевают крышку корпуса, покрывая предварительно поверхности стыка крышки и корпуса спиртовым лаком. Для центровки устанавливают крышку на корпус с помощью двух конических штифтов; затягивают болты, крепящие крышку к корпусу.
После этого на ведомый вал надевают распорное кольцо, в подшипниковые камеры закладывают пластичную смазку, ставят крышки подшипников с комплектом металлических прокладок для регулировки.
Перед постановкой сквозных крышек в проточки закладывают войлочные уплотнения, пропитанные горячим маслом. Проверяют проворачиванием валов отсутствие заклинивания подшипников (валы должны проворачиваться от руки) и закрепляют крышки винтами.
Далее на конец ведомого вала в шпоночную канавку закладывают шпонку, устанавливают шкив и закрепляют ее торцовым креплением; винт торцового крепления стопорят специальной планкой.
Затем ввертывают пробку маслопускного отверстия с прокладкой и жезловый маслоуказатель.
Заливают в корпус масло и закрывают смотровое отверстие крышкой с прокладкой из технического картона; закрепляют крышку болтами.
Собранный редуктор обкатывают и подвергают испытанию на стенде по программе, устанавливаемой техническими условиями.
Список литературы
1. А.Е. Шейнблит «Курсовое проектирование деталей машин», Калининград, 1999
2. П.Ф. Дунаев «Конструирование деталей и узлов машин», Москва «Высшая школа»,2001
3. М.И. Фролов, «Техническая механика. Детали машин», Москва , «Высшая школа» 1990
4. С.А. Чернавский «Курсовое проектирование деталей машин»,Москва,машиностроение,1997
5. П.Ф. Дунаев, О.П. Леликов «Детали машин. Курсовое проектирование»Москва , «Высшая школа» 1984

º