Разработка пуансонного сменного механизма универсальной кухонной машины для нарезания сырых овощей
Введение
Развитие предприятий общественного питания напрямую связано с уровнем развития пищевой промышленности, достижениями в области создания новых технологий и оборудования.
Однако, предприятиям общественного питания свойственны специфические особенности, как в технологии, так и в оборудовании. В частности, оборудование должно быть малогабаритным, удобным в обслуживании и эффективным.
В результате инновационных процессов, происходящих в последние годы в сфере общественного питания, технологическое оснащение некоторых предприятий общественного питания достигло современного уровня.
Ко всем аппаратам и машинам предъявляют следующие требования: аппарат (машина) должен быть высокоэффективным (высокопроизводительным), надежным, малоэнергоемким и металлоемким, удовлетворять требованиям безопасности работы и быть удобным в обслуживании.
Непременными условиями длительной и бесперебойной работы оборудования являются его механическая надежность и конструктивное совершенство. Механическую надежность характеризуют: прочность, жесткость, устойчивость, долговечность, герметичность. Прочность тесно связана с долговечностью и безопасностью конструкции.
Конструктивное совершенство аппаратуры характеризуют простота, металлоемкость, технологичность конструкции, высокий коэффициент полезного действия. Эксплуатационные достоинства определяются удобством обслуживания, простотой и низкими затратами на эксплуатацию.
Кроме отечественного оборудования на российском рынке широко представлены и зарубежные машины аппараты. К сожалению, иногда технический уровень некоторых видов оборудования не соответствует рекламным параметрам и уровню цен.
В связи с этим в значительной степени изменились требования к обслуживающему персоналу, в том числе их электромеханикам, поварам и другим работникам, осуществляющим эксплуатацию, а также монтаж, наладку, техническое обслуживание и ремонт механического и теплового оборудования.
Работник предприятия общественного питания должен уметь выбрать аппарат, соответствующий типу предприятия и его технологическому назначению, уметь грамотно его эксплуатировать.
Степень совершенства конструкции характеризуют технико-экономические показатели: производительность оборудования, расходные коэффициенты, стоимость и расходы на его эксплуатацию, себестоимость продукции.
Выбор материала для изготовления оборудования пищевых производств начинается с изучения рабочих условий, в которых предстоит работать оборудованию: давления, температуры, коррозионной агрессивности среды и других факторов. При этом учитывают важнейшие свойства материала: прочность, тепловую и химическую стойкость, физические свойства, а также технологические характеристики, состав и структуру материала, стоимость и доступность.
В зависимости от назначения и вида обрабатываемых продуктов, машины предприятий общественного питания можно подразделить на несколько групп:
1. Машины для обработки овощей и картофелеочистительные, сортировочные, моечные, резательные и протирочные.
2. Машины для обработки мяса и рыбы — мясорубки, фаршемешалки, рыхлители мяса, котлетоформовки и другие.
3. Машины для обработки муки и теста — просеиватели, тестомесительные, взбивательные и другие.
Машины для нарезки хлеба и гастрономических продуктов - хлеборезка, колбасорезка, маслоделители и другие.
Универсальные приводы с комплектом сменных исполнительных машин.
Машины для мытья столовой посуды и приборов.
Подъемно - транспортные машины.
Цель моего курсового проекта заключается в разработке пуансонного сменного механизма универсальной кухонной машины для нарезания сырых овощей с производительностью 120 кг/ч.
При разработке машины необходимо произвести технологический расчет скорости продвижения продукта через ножевую решетку, полезного объема рабочей камеры, частоты вала кривошипа и конструктивный расчет площади и диаметра ножевой рамки, общей длинны лезвий. Сделать сборочный чертеж пуансонной овощерезки в двух проекциях с разрезами и схему кинематическую принципиальную.
Внедрение данной новой техники даст возможность существенно поднять экономическую эффективность работы предприятий общественного питания за счет повышения производительности труда, сокращения расходов сырья и энергии.
1. Обзор литературы по теме проекта
Для нарезки сырых и вареных овощей на кусочки определенной формы на предприятиях общественного питания применяются овощерезательные машины. Промышленность выпускает овощерезки с механическим и ручным приводом.
Машины для нарезки вареных овощей устанавливаются в холодных цехах, машины для нарезки сырых овощей устанавливаются в овощных и горячих цехах. Форма частиц нарезного продукта зависит от конструкции ножа. Формы нарезки бывают различные: ломтиками, брусочками, соломкой, стружкой дольками и брусочками (см. рисунок 1).

Рисунок 1. Форма нарезки овощей: а — ломтиками; б — брусочками, в—соломкой, г — кубиками, д - призмочками; е — дольками.
В движение машины приводятся от индивидуальных или универсальных приводов. При нарезке овощей к конечному продукту предъявляются следующие требования: частицы продукта должны иметь заданную форму и размеры при минимальном количестве неполноценных частиц; гладкую поверхность среза, без трещин и неровностей. Отрезанные частицы должны сохранять свою форму, не разрушаясь. При нарезке, из сочных продуктов не должен вытекать сок, а мягкие не должны деформироваться.
Качество продукта зависит от многих факторов: способа нарезки (рубящее и скользящее резание), формы, остроты и угла заточки ножей, способа удержания продукта в момент резания.
В зависимости от принципа работы овощерезательные машины бывают дисковые, роторные, пуансонные и с комбинированным срезом.
Дисковые овощерезательные машины имеют комплект ножей с лезвиями прямоугольной или криволинейной формы. Эти сменные ножи являются рабочими органами, укрепляются на опорном диске, который получает вращательное движение от индивидуального или универсального привода.
Срез продукта в дисковых овощерезательных машинах происходит за счет прижатия продукта к вращающему диску. Толщина срезанного слоя продукта определяется расстоянием между плоскостью ножа и диска. Это расстояние можно регулировать по заданной величине. Форма нарезанного продукта зависит конструкции установленного ножа на опорный диск.
В роторных овощерезательных машинах продукт, загруженный в камеру, заклинивается между пластинами вращающегося ротора и неподвижной цилиндрической стенкой рабочей камеры. При этом продукт под действием центробежной силы прижимается к внутренней стенке рабочей камеры и скользит по ней. Овощи нарезаются неподвижными ножами в зависимости от формы установленных ножей.
В пуансонных овощерезательных машинах измельчение продукта происходит путем продавливания их поршнем через неподвижную ножевую решетку.
В комбинированных овощерезательных машинах нарезка производится с помощью вращающихся горизонтальных прямолинейных ножей и неподвижной ножевой решетки с кортикальными прямолинейными ножами.
По расположению рабочих органов овощерезательные машины подразделяются на горизонтальные, наклонные и вертикальные по расположению.
По способу удержания продукта в момент резания (клином, толкателем клином и толкателем, клином и центробежной силой).
Дисковые овощерезки предназначены для нарезки овощей ломтиками, брусочками, соломкой и стружкой. В настоящее время в общественном питании применяют машины (МРО - 50-200, МПР - 350, МНР - 350-02, МРО - 400-1000) и сменные механизмы (МО, МОП II - 1, MKJ - 250, УММ - 7-10) к приводам универсальных кухонных машин.
Дисковые овощерезательные машины имеют принципиально одинаковое устройство и различаются между собой конструктивным оформлением отдельных элементов, набором рабочих органов и размеров.
Рабочей камерой дисковых овощерезок служит пустотелый цилиндр, расположенный вертикально, горизонтально или наклонно. Рабочим органом служат ножи, закрепленные на вращающемся опорном диске и имеющие прямолинейную или криволинейную форму. Для нарезки овощей и фруктов ломтиками ножи устанавливают параллельно плоскости опорного диска ломтика. Для нарезания брусочками применяют комбинированные ножи, состоящие из ножевой гребенки с лезвиями расположенными перпендикулярно плоскости опорного диска и ножа, установленного параллельно плоскости опорного диска.
Нарезают овощи следующим образом. Из загрузочного устройства овощи поступают на вращающийся опорный диск и движутся вместе с ним до тех пор, пока не будут остановлены стенкой камеры, имеющей форму кругового клина ("улитки"), либо цилиндра. К опорному диску овощи прижимаются в результате заклинивания между наклонной поверхностью камеры и опорным диском или вручную с помощью толкателя. Ножи врезаются в неподвижные овощи и отрезают от них слои продукта, которые проваливаются в отверстие опорного диска.
Оставшаяся часть плода опускается на опорный диск, вновь останавливается стенками камеры и прижимается к опорному диску, после чего с нее срезается следующий слой. Процесс повторяется до тех пор, пока продукт полностью не измельчится.
Серповидное отверстие в загрузочном устройстве предназначено для подачи ножам предварительно разрезанных на части кочанов капусты, круглые отверстия для других овощей (картофеля, моркови, свеклы, лука, редиса, репы и так далее).
пуансонный механизм кухонный овощерезательный
Рисунок 3.Рабочие органы универсальной овощерезательной машины МРО 50-200: а- диск с серповидными ножами, б — с комбинированными ножами, в — терочный диск
Принцип действия: включив машину, закладывают овощи вручную в одно из отверстий загрузочного устройства и прижимают толкателем к вращающемуся опорному диску. Ножи, вращающиеся вместе с опорным диском, отделяют от продукта последовательно слой за слоем в виде ломтиков, колец, полуколец, брусков, соломки. В момент отрезания продукт удерживается от перемещения стенками загрузочного отверстия толкателем. Отрезанные частицы продукта проходят через отверстия опорного диска, расположенные под ножами, захватываются вращающимися сбрасывателями и подаются в разгрузочный лоток.
Универсальная овощерезательная машина МРО - 400-1000 Устанавливают машину на амортизаторах на низком рабочем столе и крепят к нему четырьмя шпильками. Она состоит из приводного устройства, корпуса и двух сменных дополнительных механизмов: дисковой и роторной овощерезки.
В отличие от машины МРО - 50-200 корпус машины МРО - 400-1000 имеет конструкцию, позволяющую устанавливать как дисковую, так и роторную овощерезку. В частности, в корпусе 2 (рисунок 4) предусмотрены два различных канала, один из которых (1) используется при работе в комплекте с дисковой овощерезкой другой (3) – с роторной. Нарезку продукта ломтиками и шинковку капусты осуществляют также как, и в овощерезке МРО - 50-200. Для нарезки овощей кубиками или квадратиками в рабочей камере машины устанавливают ножевую решетку с ячейками соответствующих размеров, а на приводной рабочий вал - опорный диск с серповидными ножами.

Рисунок 4. Универсальная овощерезательная машина МРО 400-1000 1 -разгрузочный канал дисковой овощерезки, 2 — корпус, 3 — разгрузочный канал роторной овощерезки, 4 — ножевая решетка
При нарезке кубиками или квадратными пластинками, так же как и при нарезке ломтиками, продукт загружается в одно из загрузочных отверстий дисковой овощерезки и прижимается толкателем к вращающемуся опорному диску. Затем серповидным ножом от него отрезается ломтик, который продавливается наклонной рабочей гранью
ножа и наклонной поверхностью опорного диска в ножевую решетку. Вертикальные ножи ножевой решетки разрезают отрезанный ломтик на квадратные пластики или кубики, которые выталкиваются из ножевой решетки следующим отрезанным ломтиком. Нарезанный продукт захватывается вращающимся сбрасывателем и направляется в разгрузочное устройство.
Механизм для нарезания сырых овощей MKJ- 250 (Польша) приводится в действие приводом универсальной кухонной машины MKN -11. Механизм имеет корпус 7 (рисунок 5), крышку 2 с рычагом 1 и толкателем, вал 5, опорный диск 4, набор режущих инструментов 8...11 и регулировочную гайку 6. Крышка к корпусу крепится болтами и специальной гайкой 3 с накаткой. Режущими инструментами служат прямолинейные ножи для нарезки ломтиками и брусочками, терочные ножи для нарезки стружкой и диск для натирания.

Рисунок 5. Механизм MKJ-250 (Польша) для нарезания сырых овощей: 1- рычаг; 2 — крышка; 3—специальная гайка, 4 — опорный диск с режущим инструментом; 5— вал; 6— регулировочная гайка; 7— корпус; 8 — опорный диск с ножами для нарезки ломтиками; 9— то же, для нарезки брусочками; 10 — диск для натирания; 11 —терочный диск.
Принцип действия: опорный диск с режущим инструментом получает вращательное движение от привода. Продукт подается в загрузочную воронку крышки, заклинивается между диском и стенкой крышки, прижимается с помощью толкателя, удерживаемого вручную рычагом, и нарезается.
Правила эксплуатации дисковых овощерезательных машин и механизмов. Перед началом работы проверяют исправность заземления, надежность крепления машины к производственному столу или приводу универсальной кухонной машины, а также правильность сборки. Работа на дисковых овощерезках включает следующие операции: установку сменного рабочего механизма и загрузочного устройства, подготовку
продуктов к переработке, переработку продуктов, санитарную обработку машины или механизма после окончания их работы. После окончания работы овощерезательных механизмов проводят их санитарную обработку. В процессе их эксплуатации следят за остротой режущих кромок рабочих органов и при необходимости выполняют их заточку. Для заточки все прямолинейные и криволинейные ножи снимают с колодок рабочих органов. Заточку режущих кромок терочных дисков проводят без снятия терок с корпуса терочного диска.
При нарезке овощей ручные приспособления (рисунок 6, а) служат для загрузки продуктов и подачи их при помощи толкателей к рабочим органам. Приспособление состоит из литого корпуса 8 , серповидного толкателя 5 и двух пазов для присоединения к приводному валу. Режущими инструментами механизма служат прямолинейные и терочные ножи. Для изменения толщины обрезаемых ломтиков предназначена специальная шайба, устанавливаемая между опорным диском и ножом.
Роторные овощерезательные машины и механизмы
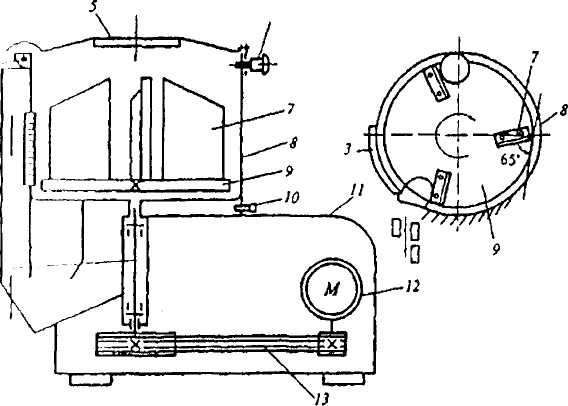
Особенность таких машин состоит в том, что ножи машины в процессе резания остаются неподвижными, а продукт перемещается вращающимся ротором с лопастями. Роторная овощерезка (рисунок 7), как и дисковая, входит в комплект универсальной овощерезательной машины МРО - 400-1000.

Рисунок 7. Принципиальная схема роторной овощерезательной машины МРО 400-1000:
I - выходной нал; 2 — разгрузочный канал; 3— ножевой блок; 4— ось;
5 -загрузочная воронка; 6 — фиксатор; 7 — лопасти; 8— рабочая камера; 9 — диск;
10 - защелка; 11— корпус; 12 — электродвигатель; 13 — клиноременная передача.
На роторной овощерезательной машине овощи нарезаются ломтиками толщиной 3 мм, брусочками сечением 6x6 мм и 10x10 мм и соломкой 3 мм. Рабочей камерой 8 этой машины служит вертикально расположенный литой цилиндр, который прикрепляют к корпусу 11 с помощью зацепа, с фиксирующей защелкой 10. Сверху на рабочую камеру устанавливают откидную загрузочную воронку 5, которая поворачивается вокруг оси 4 и стопорится фиксатором 6. В боковой стенке рабочей камеры выполнен проем, куда вставляют сменный ножевой блок 3. Ножевые блоки закрепляются в стенке камеры с помощью вилки и откидного болта.
Внутри рабочей камеры установлен ротор, имеющий литое основание в виде диска 9, к которому прикреплены три вертикальные лопасти 7, расположенные под углом 65° к касательной окружности основания ротора. Ротор смонтирован на верхнем конце выходного вала 1 приводного устройства машины и закреплен винтом с левой резьбой.
Вращение ротору передается от электродвигателя 12 через клиноременную передачу 13. С внешней стороны рабочей камеры напротив режущих инструментов расположены разгрузочный канал 2, и переходящий в разгрузочное устройство машины.
На роторной овощерезательной машине овощи нарезаются ломтиками толщиной 3 мм, брусочками сечением 6x6 мм и 10x10 мм и соломкой 3 мм.
Для обеспечения безопасной работы машина снабжена блокировочным выключателем, предотвращающим включение электродвигателя при снятых рабочей камеры и загрузочного устройства.


Рисунок 8. Механизм для нарезания картофеля МКК-270 (Польша) к универсальному приводу: I - корпус; 2 и 9 - конические колеса; 3и8 — валы; 4 —ножевая оправка; 5 - загрузочная воронка ; 6 — барабан; 7 — кожух.
Принцип действия: вращение от универсального привода через пар конических зубчатых колес передается вертикальному валу, а от него - барабану лопастями. В загрузочную воронку подается продукт, который центробежной силой отбрасывается на ножи. Нарезанный продукт через ножевую оправку поступает в подставленную тару.
Правила эксплуатации роторной овощерезательной машины. Перед началом работы устанавливают на корпус рабочую камеру и закрепляют ее фиксатором. Далее открывают загрузочную воронку и устанавливают на валу ротор, поворачивая его за лопасти до тех пор, пока он своим пазом не попадет на шипы вала. Закрепляют ротор на валу стопором, вращая стопор против часовой стрелки до упора. Открывают поворотный канал рабочей камеры и устанавливают на нее соответствующий ножевой блок таким образом, чтобы вилки блока вошли в зацепление с пальцами рабочей камеры. После этого закрепляют блок на рабочей камере откидным болтом с гайкой.
Закрывают поворотный канал, загрузочную воронку и фиксируют ее фиксатором. Подставляют под выходной канал приемную тару, нажимают на кнопку "Пуск" и загружают продукт небольшими порциями.
При работе машины нельзя снимать рабочую камеру, ротор, рабочие органы до полной остановки машины, поправлять и проталкивать застрявший продукт руками.
После окончания работы на роторной овощерезке нажимают на кнопку "Выключено», разбирают ее, очищают поверхности от продукта, промывают теплой водой и просушивают.
Комбинированные овощерезки
Предназначены для нарезки кубиками, пластинами и брусочками вареных овощей, которые используются для приготовления салатов, винегретов и гарниров. Нарезку продукта в овощерезках осуществляют с помощью вращающихся горизонтальных прямолинейных ножей и неподвижной решетки с вертикальными прямолинейными ножами. К комбинированным овощерезкам относятся машина МРОВ - 160 и механизмы МО и МОП II - 1. Механизмы МО и МОП II - 1 помимо нарезки вареных овощей применяют и для нарезки сырых овощей, а также для протирания. Приспособления к этим механизмам для нарезки сырых овощей мы рассматривали в дисковых овощерезках.
Машина для нарезки вареных овощей МРОВ – 160
Машина МРОВ-160 (рисунок 9) состоит из станины, тарельчатого корпуса с загрузочным бункером, рабочих органов и приводного механизма. Рабочей камерой служит тарельчатый корпус, закрытый сверху крышкой. К крышке прикреплен загрузочный бункер, снабженный толкателем.

Рисунок 9. Машина MPOВ-160 для нарезки вареных овощей:
1 — червячный редуктор; 2 — червяк; 3 червячное колесо; 4 - вал; 5 — подшипник; 6— разгрузочный лоток; 7— ножевая решетка; 8- загрузочный цилиндр; 9 — груз-толкатель; 10—фасонная гайка; 11,12- втулки; I3- крышка; 14-штифт; 15 — тарелка; 16 — лоток для удаления крошки; 17 - электродвигатель; 18 - вращающиеся ножи.
Рабочими органами являются съемный плоский нож и сменные ножевые решетки. Плоский нож имеет клиновидную форму с широкой скошенной нижней гранью. Он крепится к приводному валу фасонной гайкой и получает движение от электродвигателя через червячный редуктор. Для чистки ножа у задней кромки загрузочного окна предусмотрен скребок.
Ножевая решетка состоит из набора вертикальных ножей, обращенных лезвиями вверх. Решетка устанавливается в разгрузочном окне корпуса машины и закрепляется фиксатором. Машина имеет несколько ножевых решеток с размерами ячеек 9x9, 14x14, 6x32 и два разгрузочных лотка: один для разгрузки готового продукта, другой - для удаления крошек из рабочей камеры. Включают машину кнопочным пускателем.
Принцип действия. Включают электродвигатель, загружают вареные овощи в цилиндр и вставляют груз-толкатель, который своей тяжестью прижимает продукт к ножевой решетке. Вращающийся горизонтальный нож отрезает от продукта ломтики толщиной 4 или 6мм и своей наклонной рабочей гранью продавливает их в ячейки ножевой решетки, которые разрезают ломтики в двух взаимно перпендикулярных плоскостях. При дальнейшем движении вращающегося ножа вновь отрезанные частицы продукта выталкивают из ячеек ножевой решетки нарезанные кусочки, которые через разгрузочный лоток поступают в подставленную тару. Частицы продукта, прилипшие к нижней части поверхности ножа, очищаются закрепленным на тарелке скребком и выходят через лоток для удаления крошки.
Правила эксплуатации: при подготовке к работе машину размещают на столе и крепят тремя болтами. Далее проверяют правильность сборки, надежность крепления рабочих органов, а также правильность направления вращение ножа. Перед работой верхняя крышка машины должна быть надета на штифты и повернута по направлению, указанному стрелкой; ножевая решетка должна быть зафиксирована. Чтобы не было заклинивания ножа, перед работой проверяют зазор между ножом и ножевой решеткой. Для получения зазора 4 или 6мм снимают крышку с загрузочным цилиндром, отвинчивают фасонную гайку с вала, убирают нож крючком, устанавливают необходимое число прокладок (одну или две) втулку и далее сборку проводят в обратной последовательности.
В расточку корпуса устанавливают загрузочное приспособление и фиксируют его. Включают машину и убеждаются в правильности сборки, подставляют емкость для приемки измельченного продукта и приступают к работе. Сваренный и очищенный продукт загружают в отверстия загрузочного цилиндра. При этом сверху продукта устанавливают толкатель. Чтобы сменить ножевую решетку, необходимо отключить привод машины. После нарезки привод машины отключают, разбирают овощерезку, очищают рабочие органы, рабочую камеру и загрузочные отверстия от остатков продукта, промывают горячей водой и высушивают. Корпус снаружи протирают. В процессе эксплуатации периодически проводят заточку плоского ножа и ножей решеток.
2. Технико-экономическое обоснование
При сравнении дисковых, роторных, пуансонных и комбинированных овощерезательных механизмов можно выделить как положительные, так и отрицательные их черты.
В движение машины приводятся от индивидуальных или универсальных приводов, что наиболее удобно для небольших по размерам предприятий общественного питания. Преимуществом пуансонных механизмов является то, что в нем отсутствуют подвижные ножи с острыми лезвиями, что уменьшает вероятность несчастных случаев. Только в пуансонных механизмах овощи измельчаются с помощью продавливания через решетку, а в дисковых и роторных с помощью нарезания.
Все сменные механизмы отличаются по своим габаритам и массе. Пуансонный сменный механизм МС-28-120, несмотря на свои небольшие габариты 382x295x340 и массу 30 кг, имеет достаточно высокую производительность (120 кг/ч), а потребляемая им мощность около 0,19 кВт, в то время, когда мощность дисковых овощерезок доходит до 1,45 кВт. Пуансонный сменный механизм МС - 28-120 прост в применении и имеет простую конструкцию, поэтому его целесообразно использовать на небольших предприятиях общественного питания для нарезания сырого картофеля.
За базовый вариант пуансонного сменного механизма универсальной кухонной машины для нарезания сырых овощей принимаем механизм для нарезки сырых овощей МС-28-100. Предполагается спроектировать аналогичный по конструкции пуансонный механизм универсальной кухонной машины для нарезания сырых овощей производительностью 120кг/ч.
3. Описание разрабатываемой машины
3.1 Назначение машины
Механизм МС - 28-120 предназначен для фигурной нарезки овощей. Он относится к пуансонным механизмам (рисунок 10).

Рисунок 10. Общий вид механизма для нарезки сырых овощей МС-28-120 1 - корпус; 2 - рабочая камера; 3 - прямоугольная решетка; 4 - цилиндрическая решетка.
3.2 Устройство машины
Механизм МС - 28-120 состоит из корпуса (1), рабочей камеры (2), поршня и сменных ножевых решеток (3 и 4) прямоугольной и цилиндрической, в зависимости от которых определяется форма нарезки: брусочками или дольками.
В корпусе механизма ( см. сборочный чертеж) расположена рабочая камера (3) для обработки продукта, которая представляет собой пустотелый цилиндр. Снаружи рабочей камеры находятся две стойки (4) и установленная на них легкосъемная ножевая решетка (2). Крепится механизм с помощью гайки (1). Корпус редуктора соединен со стойками с помощью штифтов (11). Корпус редуктора (7) закрыт крышкой (15) и пробкой (17). Внутри рабочей камеры помещается ползун (12). К нижнему торцу ползуна крепится пластина с пуансонами (13), благодаря которым продукт проталкивается I ножевую решетку.
Достигнув крайнего нижнего положения, ползун своей заслонкой (18) перекрывает загрузочный канал, предотвращая попадание продукта в пространство рабочей камеры под ползуном. Ползун совершает возвратно - поступательное движение, которое передается ему следующим образом: привод универсальной кухонной машины (АИР 63 В6) заставляет вращаться приводной вал (6), от которого через червяк (10) и червячное колесо (14) движение передается коленчатому валу (16). Шейка коленчатого вала установлена в пазу рамки - кулисы (8), которая имеет две пары роликов (9), перемещающихся по направляющим корпуса и шток (5), который жестко соединен с ползуном.
При вращении коленчатого вала его шейка совершает движение по окружности, а связанная с ней рамка - кулиса - возвратно -поступательное движение; при этом за один оборот коленчатого вала ползун совершит один двойной ход.
3.3 Принцип работы машины
Перед началом работы на машине особое внимание обращают на санитарное и техническое состояние, а также на прочность крепления машины и только потом включают и проверяют ее на холостом ходу. После включения двигателя привода в загрузочное окно подают по одному клубни или корнеплоды. Когда ползун находится в верхнем положении, клубень скатывается на ножевую решетку, и при движении ползуна вниз клубень пуансонами продавливается через ячейки ножевой решетки, при этом пуансоны входят в ножевую решетку на полную ее глубину и полностью удаляют нарезанный продукт в приемную тару. Овощи, предназначенные для обработки в машине, предварительно подготавливают: сырые промывают и очищают, крупные клубни разрезают на несколько частей.
Категорически запрещается поправлять или проталкивать продукт руками, а также удалять крошки или застрявшие ломтики во время работы машины.
Замену ножевой решетки можно производить только после полной остановки двигателя привода.
После окончания работы выключают электропривод, разбирают сменный механизм и тщательно промывают все его рабочие части, затем протирают и просушивают.
4. Расчетная часть
Для разработки пуансонного сменного механизма необходимо провести ряд расчетов.
4.1 Технологический расчет
Производительность механизма определяется по формуле:
Q = F>o> • V>o> • φ • ρ,
где Q =120 кг/ч - по условию Fo - площадь ножевой рамки, м2;
Vo - средняя скорость продвижения продукта через ножевую рамку,м/с;
ρ - плотность продукта, кг/м3; ρ =1040 кг/м3 - плотность картофеля;
φ - коэффициент использования объема рабочей камеры, учитывающий неполное заполнение площади ножевой рамки продуктом и то, что продавливание продукта осуществляется не на всем ходе пуансона
(φ -0,1 ...0,3)
Площадь ножевой рамки (м2) определяем по формуле:
F>0> = π D2/4, где
D - диаметр ножевой рамки, м;
F>o> = 3,14 • 0,082 / 4 = 0,00502 м2.
Коэффициент использования объема рабочей камеры
φ = 2d>к>3/(3D2h),
где, d>K> - средний диаметр клубня, м; d>K> = 0,04 м;
h - высота хода пуансона, м;
φ = 2·0,043 / ( 3· 0,082· 0,08 ) = 0,083
Определяем скорость продвижения продукта через ножевую рамку, м/с
V>o> = Q / ( F>o> • ρ • φ) = 120 / (0,00502 • 1040 • 3600 • 0,083) = 0,077 м/с.
4.2 Конструктивный расчет
Общая длина лезвий,м;
Σℓ = πD2/(2a)-πD/2, где
а·а =10·10мм2-размеры поперечного сечения брусочка,
Σℓ = 3,14 • 0,082 / ( 2 • 0,01 ) - 3,14 • 0,08 / 2 = 0,8792 м
4.3 Энергетический расчет
Определение мощности привода машины
N = (P>1>+P>4>) •V>0>/η
Усилие на разрезание продукта ножевой рамкой Р>1> = q>в>• Σℓ • φ>н>, где
q>в> = 700 Н/м - удельное сопротивление продукта резанию;
φ>н> = 0,8 - коэффициент использования длины лезвия;
Р>1> =700 • 0,8792 • 0,8 = 492,4 Н
Сила трения продукта о ножи ножевой рамки
Р>4> = 2 • δ/ а • Е • Σℓ • h>1> •f • φ>н>; где
Е - модуль упругости продукта, для картофеля Е =2,5 • 106 Па
δ -толщина ножей в ножевой рамке,
δ = 0,001 м
Р>4> = 2 • 0,001/0,01•2,5 • 106 -0,8792 0,0160,250,8 = 1406,7 Н
N = (492,4 + 1406,7) • 0,077/(1000 • 0,75) = 0,19 кВт
По каталогу подбираем электродвигатель марки АИР 63В6.
АИР56А2 0,18 3000 0,52 68 0,78 5 3,4/3,61
АИР56В4 0,18 1500 0,65 64 0,68 5 3,9/3,92
АИР63А6 0,18 1000 0,79 56 0,62 4 4,6/4,7
Мощность двигателя N = 0,25 кВт .
асинхронная частота вращения вала двигателя n>ном>=1000 мин-1
4.4. Кинематический расчет
u>общ>= n>1>/ n>2>,где
n>1> = 1000мин-1- номинальная частота вращения вала двигателя;
n>2> = 28 мин-1- частота вращения рабочего органа машины
u>общ>= n>1>/ 28=
Заключение
В данном курсовом проекте был разработан сменный пуансонный механизм универсальной кухонной машины для нарезания сырого картофеля производительностью 120 кг/ч.
Были произведены расчеты скорости продвижения продукта через ножевую решетку, площади и диаметра ножевой рамки, общей длины лезвий, а также определена мощность привода. После чего был подобран требуемый электродвигатель АИР 63 В6.
В ходе курсового проекта выполнен сборочный чертеж пуансонного механизма в двух проекциях и кинематическая принципиальная схема.
В заключение можно сделать вывод, что разработанная нами пуансонная овощерезательная машина является удобной в эксплуатации благодаря своим размерам, небольшой потребляемой мощности и несложному принципу действия, поэтому разработанная машина наиболее применима на небольших предприятиях общественного питания.
Список используемой литературы
Аминов М.С. и др. Технологическое оборудование. Учебник для студентов ВУЗов. -М: Колос, 1993.
Беляев М.И. Оборудование предприятий общественного питания. - М.:Экономика,1990.
Ботов М.И., Елхина В.Д., Голованов О.М. Тепловое и механическое оборудование предприятий общественного питания. - М: «ИРПО - Академия», 2002.
Гуляев В.А., Иваненко В.П., Исаев Н.И. и др. Оборудование предприятий торговли и общественного питания. Полный курс: Учебник для студентов ВУЗов. / Под редакцией проф. В.А.Гуляева/ -М.: ИНФРА, 2002.
Кирпичников В.П., Леенсон Г.Х. Справочник механика. Общественное питание. - М.:Экономика,1980.
Улейский Н.Т, Улейская Р.И. Механическое и тепловое оборудование предприятий общественного питания - Ростов на Дону «Феникс», 2000.
Чернилевский Д.В. Детали машин. Проектирование приводов технологического оборудования: Учебное пособие для студентов вузов. -М.: Машиностроение,2002.