Проектирование компрессионного холодильного оборудования
Введение
В условиях рыночной экономики качественное холодильное торговое оборудование имеет огромное значение. Один из главных факторов увеличения покупательского спроса — расширение ассортимента продукции, доброкачественность которой обеспечивается только при правильном хранении и соблюдении температурного режима. Кроме того, при закупке большой партии продукции предприятие может получить значительные скидки на товар, а качественное хранение большого количества продукции может быть обеспечено только за счет хорошего холодильного оборудования. Существующие холодильные машины подразделяются на 2 группы:
-компрессионные — работающие с затратой механической энергии,
-адсорбционные — работающие с затратой тепловой энергии.
В данном курсовом проекте мы рассмотрим компрессионные холодильники и установки. Компрессионная холодильная машина состоит из четырех основных частей: испарителя, компрессора, конденсатора и терморегулирующего вентиля (ТРВ). Компрессор холодильной машины предназначен для осуществления следующих процессов: всасывания паров хладагента из испарителя, адиабатического их сжатия и нагнетания в конденсатор. Всасывание компрессором паров из испарителя. Испарители (воздухоохладители), расположенные в охлаждаемой среде (камере), при работающей холодильной установке имеют наинизшую температуру по сравнению с другими телами, находящимися в камере. В трубках испарителя (воздухоохладителя) находится хладагент, температура кипения которого зависит от давления. Образующиеся пары в испарителе постоянно отводятся компрессором, что обеспечивает постоянное давление и соответственно постоянную температуру кипения хладагента.
ГЛАВА 1. Основы эксплуатации компрессионных холодильников и установки
1.1 Основы эксплуатации компрессионных холодильников и установки
Для хранения скоропортящихся продуктов в домашних условиях применяют небольшие машины искусственного холода — бытовые холодильники. В холодильных машинах и агрегатах используется искусственное охлаждение, так как в большинстве случаев для сохранения особенно продовольственных товаров необходимо поддерживать температуру ниже температуры окружающей среды. Процесс охлаждения протекает с участием охлаждающей среды (воздуха камеры с продуктами, воды — при получении льда, рассола) и рабочего вещества, или охладителя. Охладитель, или хладагент, имеющий более низкую температуру, поглощает тепло из охлаждаемой среды. В качестве охладителей используют вещества, изменяющие свое агрегатное состояние при низкой температуре, поглощая при этом большое количество теплоты. Это — водный лед, льдосоляные смеси, сухой лед (твердый диоксид углерода) и жидкие холодильные агенты (хладон и аммиак). Водный лед и льдосоляные смеси поглощают теплоту в процессе плавления, сухой лед — в процессе сублимации (переход из твердого состояния в газообразное). В холодильных машинах используют жидкие хладагенты, которые за счет циркуляции в устройствах машин поглощают теплоту при кипении.
Характеристика хладагентов. Хладагент представляет собой химическое вещество, предназначенное для отвода тепла от охлаждаемой среды. Для этого используют специальные легкокипящие жидкости, имеющие низкую температуру кипения при атмосферном давлении. В настоящее время широко применяются холодильные агенты аммиак и фреон-22
Аммиак — это бесцветный газ с резким запахом, оказывающий раздражающее действие на слизистую оболочку. Поэтому при утечке через неплотности его можно обнаружить по запаху. Аммиак и в воде имеет высокую взаимную растворимость. Его используют в холодильных машинах средней и большой производительности. Применение аммиака как холодильного агента в машинах малой мощности ограничено, так как он имеет недостатки (ядовитость, взрывоопасность, воспламеняемость).
Фреон-22 — бесцветный газ со слабым специфическим запахом, поэтому его утечку из системы трудно обнаружить. Он становится заметным только при содержании его в воздухе более 20%. Он легко проникает через неплотности, нейтрален к металлам, взрывоопасен, но не горюч. При атмосферном давлении температура его кипения 400 °С. Преимущество фреона-22 — безвредность, только при содержании его в воздухе более 30% появляются признаки отравления организма из-за недостатка кислорода.
Компрессорные холодильные машины. Эти машины состоят из следующих основных частей: испарителя, конденсатора, компрессора и регулирующего вентиля.
Испаритель — устройство, имеющее вид змеевиковой ребристо-трубной батареи,- в которой происходит кипение хладагента в условиях низкой температуры за счет теплоты, поглощаемой из окружающей среды. Испаритель устанавливается внутри холодильного шкафа, в верхней его части.
Конденсатор — устройство, предназначенное для охлаждения паров фреона и превращения их в жидкость. Для ускорения охлаждения фреона через конденсатор продувают воздух специальным вентилятором.
Компрессор — устройство, которое отсасывает пары хладагента из испарителя и направляет их в конденсатор в сжатом состоянии. Компрессор состоит из цилиндра, поршня и электродвигателя.
Регулирующий вентиль — устройство, регулирующее количество жидкого фреона, подаваемого в испаритель. Кроме того, регулирующий вентиль снижает давление фреона для обеспечения условий низкотемпературного кипения. Фреоновая автоматическая компрессорная машина. Эти машины в настоящее время применяются для охлаждения витрин, шкафов, камер, прилавков, испарители которых устанавливают внутри охлаждаемого объекта. Для удобства эксплуатации и ремонта некоторые устройства объединяют в один узел и называют агрегатом. В настоящее время заводы выпускает агрегаты ФАК-1,5МЗ открытого типа. Испаритель и регулирующий вентиль устанавливаются в камере охлаждения, а остальные детали машины установлены на штампованной плите и образуют агрегат. Агрегат устанавливают рядом с камерой охлаждения и соединяют с испарителем трубками, по которым циркулирует хладагент (фреон).
Суть работы машины заключается в следующем: хладагент, попав в испаритель, закипает, переходит из жидкого состояния в газообразное. При этом активно поглощает тепло от трубок и ребер испарителя. Пары в испарителе отсасывают при помощи компрессора, который направляет их в сжатом состоянии (6-8 атм) в конденсатор. В конденсаторе при помощи охлаждаемого воздуха хладагент, имея высокое давление, переходит в жидкое состояние. Жидкий хладагент поступает в испаритель через регулирующий вентиль, который снижает давление и регулирует его подачу. Таким образом, в замкнутой системе непрерывно циркулирует одно и то же количество фреона и его паров.
Холодильные герметические агрегаты. Промышленность выпускает более совершенные холодильные машины с герметическими компрессорами марок ФГК. Главное преимущество их в том, что электродвигатель и компрессор находятся в одном герметическом кожухе и образуют единый блок. Такой агрегат может работать длительное время, так как у него отсутствуют сальники, которые исключают утечку фреона.
ФГК по своему размеру и весу значительно меньше. Достигается это за счет уменьшения размера двигателя, отсутствия передаточного механизма и лучшего охлаждения его парами фреона.
ФГК работает почти бесшумно, не давая вибраций на фундамент.
Холодильный агрегат ВС. Эти агрегаты отличаются от агрегатов ФГК только более узким диапазоном рабочей температуры, меньшим весом и габаритами конденсатора. Экранированный герметичный агрегат ФГ-1,1 конструктивно выполнен так, что в герметичной полости находится только ротор электродвигателя. Вынесение статора из герметичной полости упрощает его сборку и дает возможность быстрой замены во время ремонта. Герметичные компрессоры станут основными агрегатами холодильных машин, применяемых в общественном питании, так как они имеют меньшую массу, габариты и потребляют меньше энергии. Отсутствие сальников в конструкции агрегата исключает утечку хладагента и значительно повышает надежность работы. Краткие сведения о теплоизоляционных материалах. Теплоизоляционные материалы применяют для изоляции шкафов, прилавков и витрин с целью максимального уменьшения теплопритока в охлаждаемое оборудование. К теплоизоляционным материалам предъявляют следующие требования: прочность, долговечность, устойчивость, небольшая стоимость, низкий коэффициент теплопроводности и теплоемкости, безвредность, биостойкость, низкая гигроскопичность. При изготовлении холодильного оборудования в промышленности применяются теплоизоляционные материалы: пеностеклопори-стая стеклянная масса, альфоль — гофрированные алюминиевые листы, минеральная пробка, пенопласт, асбест, рубероид и битум. Нагретые пары поступают в конденсатор, температура которого ниже температуры хладагента. В конденсаторе за счет разницы температур происходит конденсация, т. е. преобразование пара в жидкость. Затем жидкий хладагент попадает в испаритель через узкую капиллярную трубку. Поскольку каналы испарителя значительно больше диаметра капиллярной трубки, в нем происходит падение давления и кипение хладагента. При кипении поглощается тепло и в холодильной камере постепенно понижается температура. Конструкция холодильной камеры позволяет создавать различные температурные режимы в отдельных местах.
В обычной холодильной камере компрессионных холодильников поддерживается температура от +2 до +10°С и в ней продукты хранятся в охлажденном виде. Некоторые виды компрессионных холодильников имеют холодильную камеру, в которой поддерживается температура 0°С. При такой температуре многие продукты лучше сохраняются без замораживания. В низкотемпературном отделении холодильников хранятся предварительно замороженные продукты, а в морозильном отделении осуществляется быстрая заморозка продуктов до температуры -18°С. В компрессионных холодильниках зарубежного производства могут быть дополнительные температурные отделения ("винный погреб", льдогенератор и др.).
1.2 Основы эксплуатации холодильного оборудования
Задача эксплуатации холодильных установок состоит в создании и поддержании нормативных температурно-влажностных режимов в охлаждаемых помещениях либо в обеспечении заданных технологических процессов производства при минимальных затратах на выработку холода и при условии безопасной и надежной работы оборудования. Обслуживание холодильной установки в процессе эксплуатации включает в себя следующие операции: пуск, остановка, регулирование режима работы, выполнение ряда вспомогательных работ, устранение неисправностей, проведение мелкого текущего ремонта оборудования, наблюдение за системой автоматизации, ведение учета работы холодильной установки. В процессе эксплуатации необходимо обеспечить надежность и долговечность работы холодильного оборудования в экономичных режимах, надежность поддержания требуемых технологических режимов, безопасность работы обслуживающего персонала. Обслуживающий персонал должен иметь соответствующую квалификацию, хорошо знать оборудование и правила его эксплуатации. В процессе регулирования холодильной установки обслуживающий персонал обязан обеспечить оптимальный режим работы, определяемый оптимальными перепадами температур между средами в теплообменных аппаратах, оптимальным перегревом пара. Оптимальные перепады температур зависят от конкретных условий работы. Например, в транспортных холодильных установках, где важна компактность оборудования, сознательно увеличивают перепады температур. При расчете камерного теплообменного оборудования учитывают технологические требования. Оптимальные температурные перепады должны быть известны обслуживающему персоналу. Основные показатели работы холодильной установки — холодопроизводительность, расход электроэнергии, расход воды — зависят от температурного режима работы холодильной установки. Температура кипения. Перепад температур между воздухом охлаждаемого объекта и температурой кипения принимают равным 7—10 °С. В испарителях для охлаждения хладоносителей разность температур между охлаждаемым хладоносителем и температурой кипения хладагента — 4-6 °С.
Температура конденсации. Вода подогревается в ко-жухотрубных конденсаторах до 4—6 °С, в оросительных — до 2-3 °С. Температура конденсации должна превышать температуру воды, выходящей из конденсатора, на 4-6 °С. В конденсаторе воздушного охлаждения воздух подогревается до 4—5 °С, перепад температур между воздухом на выходе из конденсатора и конденсирующимся хладагентом 6—9 °С. Перегрев пара, всасываемого в конденсатор. Разность между температурой пара, поступающего в компрессор, и температурой кипения, т. е. перегрев пара, зависит от количества жидкого хладагента, поступающего в испарительную систему. Для аммиачных компрессоров — перегрев пара на всасывании в компрессор в пределах 5—15 "С. Для фреоновых — минимальный перегрев пара должен быть не менее 10 *С. Для фреоновых холодильных установок, имеющих теплообменники, перегрев пара лежит в пределах 10-45 °С. Температура переохлаждения. Жидкий хладагент может охлаждаться ниже температуры конденсации в конденсаторах, переохладителях и др. Переохлаждение хладагента перед регулирующим вентилем вызывает увеличение холодопроизводительности. Температура пара, нагнетаемого компрессором, не должна превышать теоретического значения на 10—15 °С. В соответствии с Правилами безопасности на аммиачных холодильных установках рекомендованы предельные значения температуры нагнетания для различных типов компрессоров от 105 "С-150 °С, на фреоне — 22-90 °С.
Высокая температура может привести к вспышке испаряющегося масла и взрыву компрессора. (Температура вспышки масел, применяемых для аммиачных холодильных компрессоров, около 160 *С). Холод является прекрасным консервантом, замедляющим развитие микроорганизмов. Поэтому на предприятиях общественного питания холод используют для хранения продуктов при низких температурах в камерах, шкафах, прилавках и витринах. При этом вкусовые качества продуктов и их внешний вид остаются почти без изменения. Понятие холод означает малое содержание тепла в теле. Охлаждение — это отвод тепла от продуктов питания, сопровождающийся понижением их температуры. Различают искусственное и естественное охлаждение. При естественном охлаждении температура продуктов может быть понижена до температуры окружающего воздуха. А при искусственном получаются более низкие температуры. На предприятиях общественного питания используются несколько способов искусственного холода, в основе которых лежат процессы изменения агрегатного состояния вещества — плавление, испарение и сублимация.
Плавление — это процесс перехода вещества из твердого состояния в жидкое.
Кипение — переход вещества из жидкого состояния в газообразное.
Сублимация — это процесс перехода вещества из твердого состояния в газообразное, минуя жидкую фазу.
Наибольшее распространение получил процесс использования скрытой теплоты парообразования жидкостей, кипящих при низких температурах. Такие жидкости получили название холодильных агрегатов. Перенос тепла осуществляется в специальном устройстве, называемом холодильной машиной.
Ледяное охлаждение. Ледяное охлаждение является самым простым способом охлаждения продуктов питания, физическую основу которого составляет процесс плавления льда и снега. В зависимости от способа получения лед бывает естественным или искусственным. Ледяное охлаждение применяется в сооружениях, называемых ледниками, они могут иметь различное размещение льда по отношению к охлаждаемым камерам с продуктами. Однако широкое применение получили ледники с боковым размещением льда. Лед закладывают в таком количестве, чтобы его хватило на определенное время, и объем его должен быть в 4—5 раз больше объема камер >с продуктами. При ледяном способе можно понизить температуру до 6—8 °С с влажностью 90—95%.
Льдосоленое охлаждение. Источником холода является смесь льда и поваренной соли. Чем больше соли, тем ниже температура смеси. Понижение температуры происходит до определенного предела. Самая низкая температура льда с поваренной солью составляет — 20—21 'С. Подсоленная смесь позволяет создавать в охлажденной среде более низкие температуры по сравнению с ледяным охлаждением.
Охлаждение сухим льдом. Этот способ основан на сублимации твердой углекислоты. Сухой лед — твердая углекислота, которая по внешнему виду представляет собой куски вещества, похожего на мел, но очень холодные и быстро испаряющиеся при обычной температуре. В обычных условиях он из твердого состояния превращается непосредственно в парообразное. При этом температура понижается до — 78-90 °С. Холодопроизводительность сухого льда в 1,9 раза больше водяного. Сухой лед очень удобен для охлаждения продуктов, так как не выделяет влаги, не загрязняет продукты, имеет низкую температуру. Однако применение его ограничено из-за сравнительно высокой температуры окружающей среды.
Для обеспечения нормального режима хранения продуктов в малом холодильном оборудовании (шкафах, прилавках, витринах и т. д.) необходимо соблюдать следующие требования:
— загружать продуты только после достижения заданной температуры в шкафу, прилавке, витрине;
— скоропортящиеся продукты, поступающие из холодильных камер, загружать в охлажденном состоянии;
— горячие блюда (молоко, закуски, компоты) устанавливать в шкафах, прилавках, витринах после предварительного их охлаждения до температуры окружающего воздуха;
— не превышать допустимую максимальную норму загрузки;
— не покрывать бумагой, марлей, фанерой полки шкафов, прилавков и камер, что препятствует свободному движению воздуха и нормальному охлаждению продуктов;
— укладывать и подвешивать продукты на некотором расстоянии друг от друга и на расстоянии от стенок 6-10 см;
— не хранить одновременно разнородные продукты, одни из которых обладают резким запахом (например, сельдь и сливочное масло, мясо и сыр, рыбу и мясо);
— открывать- двери шкафов, прилавков, камер следует возможно реже и на короткий срок, а затем плотно закрыть их.
Для проверки температуры в шкафу, прилавке, витрине, сборной и стационарной камерах устанавливают термометры.
Слой снеговой шубы на испарителях не должен превышать 4-5 мм. Между ребрами испарителя всегда должно быть свободное от инея пространство. При толщине инея 4—5 мм оттаивают иней с приборов охлаждения.
Недопустимо удалять снеговую шубу с испарителей ножами, скребками и другими предметами — это приводит к повреждению испарителей, утечке фреона из системы холодильной машины и выходу ее из строя. Если в холодильном оборудовании нет продуктов, то холодильные машины выключают.
2. компрессорные холодильные машины
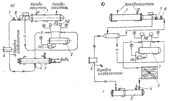
Нами приведены лишь общие данные о новых компрессорных машинах, необходимые для определения основных размеров холодильных установок и станций, расходов энергии и воды в объеме, необходимом для начальных стадий проектирования СКВ. Принципиальные схемы фреоновых поршневых холодильных машин приведены на рис. 1. Перегретые пары хладагента засасываются из испарителя компрессором и поступают в конденсатор — водяной (рис. 1, а) или воздушный (рис. 1,б).

Рис. 12.10. Принципиальные схемы фреоновых поршневых холодильных машин
а — с конденсатором водяного охлаждения;
б — с конденсатором воздушного охлаждения;
1 — испаритель; 2 — компрессор;
3 — конденсатор водяного или воздушного охлаждения;
4 — запорный вентиль; 5 — ресивер;
6 — фильтр-осушитель; 7 — соленоидный вентиль;
8 — терморегулирующий вентиль;
РД — реле давления; РКС — реле контроля смазки;
г — газообразный фреон; ж — жидкий фреон; м — масло
Далее жидкий хладагент, пройдя через запорный вентиль 4, из воздушного конденсатора попадает в ресивер, а из водяного — прямо в фильтр–осушитель. Затем через соленоидный вентиль 7 и терморегулирующий вентиль 8 хладагент направляется в испаритель. Режим работы холодильной машины определяется температурами: 1) кипения хладагента t0, которая задается исходя из условий работы СКВ; 2) конденсации tк, принимаемой на 3–4° выше температуры воды, уходящей из конденсаторов; 3) переохлаждения агента tп, принимаемой на 1–2° выше начальной температуры воды, подаваемой в конденсаторы. Сравнение производительно-стей холодильных машин заключается в приведении их к одинаковым условиям, т.е. к одинако вым температурам испарения t0, всасывания tв, конденсации tк, а также к температуре перед регулирующим вентилем tb Вместо четырех сравнительных температур часто пользуются только тремя: t0, tк, tb. Расчет холодильной машины производится с помощью схемы холодильного цикла, который строят на I–lgp диаграмме (рис. 2.).

Рис.2. Цикл холодильной машины в энтальпийной I–lgp—диаграмме
1–2 — адиабатическое сжатие;
2–2′ — охлаждение в конденсаторе при tк = const;
2′–3′ — конденсация при tK—const;
3′–3 — переохлаждение хладагента до температуры tn;
3–4 — дросселирование при I = const;
4 — I – кипение хладагента в испарителе при t0 = const и p0
На правой пограничной кривой находят точку 1, руководствуясь заданной температурой кипения хладагента t0. Из этой точки проводят адиабату, характеризующую сжатие паров в компрессоре, до пересечения с прямой, характеризующей постоянное давление в конденсаторе рк которое соответствует заданной температуре конденсации хладагента tк. В результате получают точку 2, характеризующую параметры паров хладагента при выходе из компрессора. Процесс в конденсаторе и переохладителе изображают прямой 2–3, которая характеризуется постоянным давлением рк и тремя различными температурами: постоянной температурой конденсации на участке 2′–3′, более высокой температурой паров после компрессора t2 и более низкой температурой при выходе жидкого хладагента из переохладителя t3. Положение точки 3 определяется давлением pк и температурой t3. Из точки 3 проводят вниз вертикальную прямую 3–4, представляющую собой процесс дросселирования в регулирующем вентиле при постоянной энтальпии I3 = I4. Положение точки 4 определяется пересечением прямых I3 и р0. Из схемы процесса находят энтальпии, кДж ⁄ кг, и давления, МПа: в точке 1 — энтальпию I1 давление р1; в точке 2 — энтальпию I2 и давление р2; в точке 3 — энтальпию I3; в точке 3′ — энтальпию I3′; в точке 4 — энтальпию I4. Кроме того, в точке 1 находят удельный объем паров V1 м3 ⁄ кг.
На основании этих данных определяют, кДж ⁄ кг:
удельную холодопроизводительность хладагента
q0 = I1 − I4
тепловой эквивалент работы сжатия
Al = I2 − I1
удельное количество тепла, отданное в конденсаторе и переохладителе,
q = I2 − I3
в том числе в переохладителе
qпх = I3′ − I3
Экономичность работы холодильных компрессорных машин характеризуется количеством тепла, отводимого на единицу затраченной работы, — так называемым холодильным коэффициентом
εт = (I1 − I4)(I2 − I1)
Холодопроизводительность машины, кВт,
Q0 = G·q0
где G — расход хладагента, кг ⁄ с, циркулирующего в машине.
Расход паров хладагента, м3 ⁄ с, которые должны засасываться в компрессор для обеспечения заданной холодопроизводительности,
Vд = G·V1
где V1 — удельный расход хладагента при всасывании паров в компрессор, м3 ⁄ кг.
Действительный расход хладагента при всасывании, который может подать данный компрессор, определяется объемом, описываемым поршнями Vh, м3 ⁄ с, и коэффициентом подачи λ = Vд ⁄ Vh, являющимся отношением действительного количества паров хладагента Vд, поступающих в компрессор, к теоретическому количеству Vh. Коэффициент λ зависит от конструкции компрессора и находится в сложной зависимости от ряда факторов, но при прочих равных условиях является функцией соотношения давлений в конденсаторе и испарителе:
λ = φ·(pк ⁄ p0)
При известной величине Я выбор холодильного компрессора следует производить, руководствуясь условием
λ·Vh ≥ Vд
Тепловая нагрузка, кВт, на конденсатор определяется по формуле
Qк = G·qк = G·(I2 − I4)
Теоретическая мощность двигателя, кВт, для привода холодильной машины
Nтеор = Q0 ⁄ εт
холодопроизводительности фреоновых водоохлаждающих машин Q0, кВт, и потребляемой мощности Nэ, кВт, от температуры, °С: tв1 — охлаждающей среды (воды, воздуха) на входе в конденсатор; tв1 — хладоносителя на выходе из испарителя.
Холодопроизводительность компрессорной холодильной машины может быть определена также путем перерасчета номинальной (стандартной) производительности, которая приводится в каталогах, в рабочую производительность, кВт
qн.Vн = (I1н − I4) ⁄ V1,0 -
удельная объемная холодопроизводительность хладагента при номинальных условиях, кДж ⁄ м3; q0,V0 = (I1н − I4н ⁄ V1н — удельная объемная холодопроизводительность хладагента при рабочих условиях, кДж ⁄ м3; I1н, I1 — энтальпия хладагента в точке 4 (см. рис. 12.11) при номинальных и рабочих условиях, кДж ⁄ кг; I4н, I4 — энтальпия хладагента в точке 4 (см. рис 12.11) при номинальных и рабочих условиях, кДж ⁄ кг.
В настоящее время рекомендуется применять холодильные машины с поршневыми компрессорами при холодопроизводительности до 400 кВт; при производительности 450–1200 кВт следует пользоваться машинами с винтовыми компрессорами, производство которых недавно началось, или поршневыми компрессорами, а при больших нагрузках устраивать холодильные станции с центробежными компрессорами. При потребности в холоде до 350 кВт целесообразно применять децентрализованные компрессорно–конденсаторные фреоновые агрегаты с воздухоохладителями непосредственного испарения производительностью 74–144.5 кВт/
Эти агрегаты имеют конденсаторы водяного охлаждения и выпускаются в готовом виде с электродвигателем, пусковыми устройствами и приборами автоматики. В СКВ их используют по схеме, приведенной на рис. 12.4. Автоматика позволяет поддерживать заданную температуру на выходе воздуха из воздухоохладителя с точностью ±0.1,±0.2°С, и только при резком изменении нагрузки отклонение температуры может достигнуть 1–3°.
Децентрализация холодоснабжения практически вдвое уменьшает капитальные затраты и эксплуатационные расходы за счет снижения потерь холода в трубопроводах и аппаратах, исключения расходов электроэнергии на насосы и снижения мощности, потребляемой компрессором, вследствие повышения температуры кипения хладагента приблизительно на 5°С. Уменьшаются также затраты на амортизацию и ремонт оборудования.
Для центральных и местных СКВ рекомендуется применять водоохлаждающие холодильные машины, состоящие (в полной заводской готовности) из компрессора, испарителя, конденсатора, внутренних коммуникаций, арматуры, электрооборудования и автоматики.
3. Устройство и принцип действия компрессионной холодильной машины
Компрессионная холодильная машина состоит из следующих основных узлов: испарителя, компрессора, конденсатора, ресивера, фильтра, терморегулирующего вентиля. Автоматическое действие машины обеспечивается терморегулирующим вентилем и регулятором давления. К вспомогательным аппаратам, способствующим повышению экономичности и надежности работы машины, относятся: ресивер, фильтр, теплообменник, осушитель. Машина приводится в действие электродвигателем.
Испаритель — охлаждающая батарея, которая поглощает тепло окружающей среды за счет кипящего в ней при низкой температуре хладагента. В зависимости от вида охлаждаемой среды различают испарители для охлаждения жидкости и воздуха. Компрессор предназначен для отсасывания паров хладагента из испарителя, сжатия и нагнетания их в перегретом состоянии в конденсатор. В малых холодильных машинах применяют поршневые и ротационные компрессоры, причем наибольшее распространение получили поршневые. Конденсатор — теплообменный аппарат, служащий для сжижения паров хладагента путем их охлаждения. По виду охлаждающей среды конденсаторы выпускают с водяным и воздушным охлаждением. Конденсаторы с принудительным движением воздуха имеют вертикально расположенные плоские змеевики из медных или стальных оребренных труб. Естественное воздушное охлаждение применяется только в холодильных машинах бытовых электрохолодильников. Конденсаторы с водяным охлаждением бывают кожухозмеевиковые и кожухотрубные.
Ресивер — резервуар, служащий для сбора жидкого хладагента с целью обеспечения его равномерного поступления к терморегулирующему вентилю и в испаритель. В малых хладоновых машинах ресивер предназначен для сбора хладагента во время ремонта машины. Фильтр состоит из медных или латунных сеток и суконных прокладок. Он служит для очистки системы и хладагента от механических загрязнений, образовавшихся в результате недостаточной очистки их при изготовлении, монтаже и ремонте. Фильтры бывают жидкостные и паровые. Жидкостный фильтр устанавливается после ресивера перед терморегулирующим вентилем, паровой — на всасывающей линии компрессора. Для предотвращения попадания ржавчины и механических частиц в цилиндры малых фреоновых холодильных машин, во всасывающую полость компрессора вставляют фильтр в виде стаканчика из латунной сетки.
Терморегулирующий вентиль обеспечивает равномерное поступление хладона в испаритель, распыляет жидкий хладагент, тем самым понижает давление конденсации до давления испарения.
От правильной регулировки терморегулирующего вентиля во многом зависит экономичность работы холодильной машины. Избыток жидкого хладона в испарителе вследствие влажного хода компрессора может привести к возникновению гидравлического удара. При недостаточном заполнении испарителя жидкостью часть поверхности его не используется, что ведет к нарушению нормального режима работы машины и понижению температуры испарения хладагента.
Регулятор давления состоит из прессостата (регулятора низкого давления) и маноконтроллера (выключателя высокого давления). Для регулировки температурного режима в определенных пределах необходимо, чтобы холодопроизводительность холодильной машины всегда превышала приток тепла к ней. Поэтому в нормальных условиях нет необходимости в непрерывной работе холодильной машины.
Периодическое включение холодильной машины осуществляется прессостатом автоматически. Требуемый температурный режим достигается путем регулирования продолжительности перерывов работы холодильной машины. Маноконтроллер служит для защиты от чрезмерного повышения давления в линии нагнетания. При повышении давления в конденсаторе свыше 10 атм. (норма — 6—8 атм.) он размыкает цепь катушки магнитного пускателя, питание электродвигателя отключается и холодильная машина останавливается.
Работа холодильной машины происходит следующим образом. Легкоиспаряющаяся жидкость (хладон-12) поступает через терморегулирующий вентиль в испаритель. Попадая в условия низкого давления, она кипит, превращаясь в пар, и при этом отбирает тепло у воздуха, окружающего испаритель.
Из испарителя пары хладона отсасываются компрессором, сжижаются и в перегретом от сжатия состоянии нагнетаются в конденсатор. В охлаждаемом водой или воздухом конденсаторе они превращаются в жидкость. Жидкий хладон стекает по трубам конденсатора и скапливается в ресивере, откуда под давлением проходит через фильтр, где задерживаются механические примеси (песок, окалина и др.).
Очищенный от примеси хладон, проходя через узкое отверстие терморегулирующего вентиля, дросселируется (мнется), распыляется и при резком снижении давления и температуры поступает в испаритель, после чего цикл повторяется.
Рабочий цикл холодильной машины с учетом взаимодействия приборов автоматики состоит в следующем. При выключенном электродвигателе контакты реле давления разомкнуты, терморегулирующий вентиль не пропускает жидкий хладон из конденсатора в испаритель, так как игла до конца вошла в седловину и плотно закрыла проходное сечение. В испарителе в это время продолжается процесс кипения оставшегося после выключения машины жидкого хладагента. От притока внешнего тепла температура испарителя постепенно повышается и, следовательно, давление скопившихся в нем паров возрастает. Давление в испарителе будет расти до тех пор, пока прессостат (реле давления) не замкнет контакты и машина не вступит в работу.
С включением машины в работу начинается отсос перегретых паров из испарителя в компрессор. Это влечет за собой повышение температуры и давления в чувствительном патроне терморегулирующего вентиля, вследствие чего игольчатый клапан открывает проходное отверстие. Жидкий хладагент, интенсивно кипя, устремляется в трубы испарителя. Кипение сопровождается значительным понижением температуры парожидкостной смеси, в результате чего охлаждаются стенки испарителя, окружающий его воздух и скоропортящиеся продукты.
Понижение температуры окружающей среды снижает величину теплопритока. Кипение становится менее интенсивным, сокращается количество пара, падает давление в испарителе до предела, при котором реле давления размыкает контакты, и машина останавливается. К моменту выключения машины уменьшается подача жидкого хладагента в испаритель, поскольку избыток поступившего в него хладагента ведет к снижению температуры выходящих паров и к автоматическому прикрытию игольчатого клапана терморегулирующего вентиля. Через несколько секунд после остановки машины давление в термобаллоне и испарителе окончательно сравнивается и игольчатый клапан закрывается.
Заключение
Для хранения скоропортящихся продуктов в домашних условиях применяют небольшие машины искусственного холода — бытовые холодильники.
Бытовые холодильники служат для кратковременного хранения продуктов в домашних условиях и для производства небольшого количества льда. Они являются последним звеном непрерывной холодильной цепи.
В домашних условиях для хранения продуктов пользуются, холодильниками и морозильниками.
Холодильник — прибор, заключенный в теплоизоляцию и имеющий приемлимый для бытового использования объем и оборудование, охлаждаемый устройством, потребляющим электроэнергию, с одним или более отделением для хранения пищевых продуктов, в одном из которых поддерживается температура более О °С.
Существующие холодильные машины подразделяются на 2 группы:
компрессорные — работающие с затратой механической энергии, и
адсорбционные — работающие с затратой тепловой энергии.
В маркировке холодильников отражаются их основные характеристики. Условное обозначение содержит:
торговую марку холодильника — Стинол, Минск и др.;
группу сложности — цифрами от 0 до 5; порядковый номер модели — две цифры; порядковый номер модификации — цифрой через дефис;
тип холодильного прибора: К — компрессионный; А — адсорбционный, ТЭ — термоэлектрический; количество камер: 2-камерные — буква Д; 3-камерные — Т; общий объем в л — цифрами через дробь: числитель — общий объем, знаменатель — объем низкотемпературного отделения; особенность исполнения — буквами: Ш — напольные в виде шкафа; С — напольные в виде стола; Н — встраиваемые настольные; Б — блочно-встроенные; номер стандарта, символами (снежинками) указывается температура в низкотемпературном отделении -6° — С*; -12° — С**; -18° — С***; -24° — с****.
В зарубежных моделях холодильников указывается уровень энергопотребления, который отражается буквами А, В и С — очень экономичные; D — экономичные, Е, F и G — с высоким расходом электроэнергии.
По холодильным агрегатам, коллекции холодильников и плакатам изучают сущность процесса получения холода в компрессионном, абсорбционно-диффузионном и термоэлектрическом холодильниках. Разбирают их устройство и принцип работы, чертят схемы устройства холодильных агрегатов и терморегулятора, а также электросхемы холодильников.
Литература
компрессионный холодильник хладагент
Большаков С.А. «Холодильная техника и технология продуктов питания.»Учебник:М-АСАДЕМА 2003г.
2.Цуранов О.А. Крысин А.Г. «Холодильная техника и технология.» учебник:ООО «Лидер» 2004г.
3.ЛошутинаН.Г. Верхова Т.А. Суедов В.П. «Холодильные машины и установки.» учебник:Колос,2007г.
4.Архипцев Н.Е. «Технологические средствахолодильной технологии» учебное пособие:МУПК 1995г.
5.Архипцев Н.Е. «Торговое холодильное оборудование».» лекция:учебный комплекс потребительской кооперации «МКИ» 1990г.
6.Архипцев Н.Е. «Оборудование для предприятия кооперативной торговли.» Каталог:Информ реклама «Центрсоюз» 1991г.
7.Архипцев Н.Е. «Технические средства холодильной технологии.» Каталог :ЦРИБ Главкомпотребрекламы 1983г.
8.Архипцев Н.Е. «Оборудование для предприятий кооперативной торговли.» каталог:Информреклама Центрсоюза 1991г.
9.Архипцев Н.Е. «Средство механизации и инвентарь для кооперативной торговли.» каталог:Информреклама для Центрсоюза ,1991г.
10.Мещеряков Ф.Е. «Основы холодильной технологии.» Пищевая промышленность 1984г.