Технологический процесс сборки деталей. Винтовые передачи. Технологический расчет втулки КТС 02
ГОСУДАРСТВЕННОЕ УЧРЕЖДЕНИЕ
ВЫСШЕГО ПРОФЕССИОНАЛЬНОГО ОБРАЗОВАНИЯ
«БЕЛОРУССКО-РОССИЙСКОГО УНИВЕРСИТЕТА»
Кафедра «Металлорежущие станки и инструменты»
Контрольная работа №1
По дисциплине «Технология станкостроения»
Вариант №2
Выполнила: студентка гр.ТОМПЗ-061
Безрученко Н.В.
Шифр 061312
Проверил: А.В.Логвин.
Могилев 2011-02-16
Технологические виды и организационные формы сборки
Производственный процесс, в результате которого исходные материалы и полуфабрикаты превращаются в готовые изделия, включает два основных вида технологических процессов: изготовление деталей и сборку.
Изделием обычно называют продукт конечной стадии производства, выпускаемый предприятием. Изделиями могут быть как детали, так и сборки (сборочные единицы). Деталью называют изделие, изготовленное из однородного по наименованию и марке материала. Сборка - это изделие, которое получают в результате соединения между собой отдельных элементов. Сборка может состоять из одних деталей или из деталей и более мелких сборок.
Технологический процесс сборки разделяют на операции, переходы и приемы. Сборочная операция — это законченная часть технологического процесса сборки, выполняемая при изготовлении изделия на отдельном рабочем месте одним или несколькими рабочими. Операция может состоять из ряда переходов, которые характеризуются постоянством применяемого инструмента. Приемом называют часть перехода, состоящую из ряда простейших рабочих движений, выполняемых одним рабочим.
Операция и переход - элементы технологического процесса. Их содержание записывают в технологическую карту, которая является одним из основных документов при изготовлении изделия. На выполнение операции рабочему устанавливают норму времени.
Кроме технологической карты существуют маршрутная карта которая содержит описание всего технологического процесса изготовления по всем операциям, карта технологического процесса для одного вида работ, комплектовочные карты, ведомость оснастки и т. д.
Различают две основные организационные формы сборки: стационарную и подвижную. Стационарная сборка осуществляется на неподвижном рабочем месте, к которому подают все необходимые детали, материалы и более мелкие сборочные единицы, сборка которых может выполняться на отдельных рабочих местах (по принципу расчленения операций), что позволяет сократить время процесса.
Подвижную сборку выполняют только по принципу расчленения операций. Изделие в процессе сборки перемещается от одного рабочего места к другому. Рабочие места оснащены необходимыми инструментами и приспособлениями. Такой вид сборки позволяет специализировать сборщиков на определенных операциях и повысить производительность труда.
В зависимости от расположения рабочих мест относительно друг друга различают сборку поточную и не поточную. При подвижной поточной сборке рабочие места располагаются в последовательности выполнения операций технологического процесса сборки, а весь процесс расчленяется на отдельные операции, примерно равные или кратные по времени выполнения. Собранные изделия сходят с поточной линии через определенные промежутки времени, называемые тактом. Поточная сборка может быть осуществлена как при подвижном, так и при неподвижном собираемом объекте.
В производстве крупных изделий применяют поточную сборку на неподвижных стендах, при которой рабочий или бригада рабочих выполняют одну и ту же операцию, переходя от одного стенда к другому. После выполнения последней операции с каждого стенда снимают готовое изделие.
При поточной сборке процесс сборки точно расчленяется на операции по времени их выполнения, чтобы избежать простоев. Этого добиваются механизацией определенных операций, предварительным соединением деталей в сборочные единицы, увеличением количества рабочих, выполняющих трудоемкие операции.
Каждая деталь при сборке должна занять определенное место и должна быть соединена с другими деталями в соответствии с требованиями, установленными чертежами. Как чрезмерные зазоры, так и натяги неблагоприятно отражаются на работоспособности изделия. Погрешности сборки вызываются отклонениями размеров деталей и несоблюдением требований к качеству их поверхностей, неточной установкой и закреплением элементов изделия в процессе сборки, низким качеством пригонки и регулировки сопрягаемых деталей и другими причинами.
Точность сборки обеспечивается методами полной, неполной и групповой взаимозаменяемости, а также пригонкой и регулировкой.
Сборка методом пригонки производится со снятием с одной из деталей слоя материала для получения заданной точности соединения. Сборка этим методом трудоемка и целесообразна в единичном и мелкосерийном производстве.
Сборка методом регулировки заключается в том, что необходимая точность сопряжения достигается путем введения специальных деталей - компенсаторов. Компенсаторы подразделяют на неподвижные и подвижные.
Неподвижный компенсатор — это деталь, дополнительно вводимая в конструкцию для достижения необходимого положения устанавливаемой детали. В качестве неподвижного компенсатора часто применяется набор регулировочных колец разной толщины, которые устанавливаются на валу или в корпусе для регулировки положения шарикоподшипника и других деталей в осевом направлении. Для выполнения заданного в сборочном чертеже размера подбирают необходимое число и толщину колец.
Подвижный компенсатор - это деталь, перемещением которой устраняют погрешности изготовления деталей, входящих в последовательную размерную цепь. Такой деталью, например, является винт-подпятник в измерительных приборах. Его вращением обеспечивается заданный люфт подвижной части прибора.
Сборка и регулировка зазоров и натягов в винтовых передачах с трением качения
Пространственная кинематическая винтовая пара типа «винт — гайка» (рис. 1) обладает следующими свойствами: при неподвижном винте 2 поворот гайки 1 на один оборот вызывает ее перемещение вдоль оси винта на величину хода; если закрепить гайку и повернуть винт на один оборот, то, помимо вращения, винт переместится вдоль оси на величину хода.

Рис. 1
Основное назначение передач типа «винт — гайка» — преобразование вращательного движения в поступательное. Эти передачи бесшумны в работе, что достигается повышенной плавностью зацепления, просты по конструкции и в изготовлении и позволяют получать большой выигрыш в силе. К недостаткам следует отнести: относительно низкий КПД, склонность к заеданию, тихоходность передачи.
Передачи типа «винт — гайка» применяют в подъемных механизмах, в станках (механизмы подачи рабочих инструментов), в измерительных приборах (механизмы для точных перемещений, микрометрические и дифференциальные винты), в прокатных станах (регулировочно-установочные механизмы подшипников, нажимные винты), в винтовых процессах.
Винтовые механизмы принципиально ничем не отличаются от резьбовых соединений, но так как они применяются для передачи движения, то трение в резьбе должно быть минимальным. Наименьшее трение между винтом и гайкой обеспечивает прямоугольная резьба, однако ее не технологичность, то есть невозможность нарезания на резьбофрезерных станках, и небольшая прочность по сравнению с трапецеидальной резьбой делают ее применение крайне ограниченным. Поэтому для передаточных винтов применяют главным образом трапецеидальную резьбу с мелким, средним и крупным шагами и упорную резьбу.
Наибольшее распространение получила трапецеидальная резьба со средним шагом. Трапецеидальную резьбу с мелким шагом используют при относительно небольших перемещениях; трапецеидальную резьбу с крупным шагом — при тяжелых условиях эксплуатации. Профиль трапецеидальной резьбы позволяет использовать ее в механизмах с реверсивным перемещением.
Для передач с большими односторонними нагрузками (прессы, домкраты, нажимные устройства в прокатных станах и др.) применяют упорную резьбу.
Резьба винтов и гаек передач бывает правой или левой, однозаходной или многозаходной.
Материалы винтов должны обладать высокой износостойкостью и хорошей обрабатываемостью, а более нагруженные — высокой прочностью. Винты, не подвергаемые закалке, изготовляют из сталей 45, 50, А50, а винты, подвергаемые закалке, выполняют из сталей У10, У65, 40Х, 40ХГ и др. Материал гаек — бронзы оловянные БрОФЮ- 1, БрОЦС-6-6-3 и др.
Конструктивное оформление винтовой передачи зависит от ее целевого назначения. Устройство простейшего винтового механизма показано на примере домкрата.
Винтовой домкрат состоит из ходового силового винта 2 (рис. 2), ввинчиваемого в корпус 1, и рукоятки 3 с собачкой , преобразующих качательное движение, получаемое рукояткой от руки рабочего, в прерывистое вращение. Винт домкрата несет на себе грузовую головку 4, которая может иметь различное конструктивное оформление.

Рис. 2
Для червяков рулевого управления автомобилей, механизмов наводки ракет и ходовых винтов станков используют шариковые винты. Канавки шарикового винта 3 (рис. 3, I) и гайки 2 в осевом сечении имеют полукруглую форму. Непрерывный замкнутый поток шариков 4 заполняет винтовое пространство между желобами по всей длине гайки. Пройдя его, шарики переходят в округленный трубчатый канал 1, по которому они возвращаются в рабочую зону винтовой пары.

Рис. 3
Коэффициент полезного действия шариковой винтовой пары много выше, чем обычной, вследствие резкого снижения трения в резьбе.
Для полного устранения зазоров в шариковой паре «винт — гайка» на винте устанавливают одновременно две шариковые гайки 2 (рис. 3, II), между которыми помещают стальную пружину 5. Пружина, создавая предварительный натяг между винтом 3, шариками и гайками, устраняет все зазоры в передаче.
Рабочие поверхности такой передачи закаливают до твердости Н RC60 и выше. Винты изготавливают из сталей ХВГ, 7ХГ2ВМ с объемной закалкой. Материал гаек — стали 9ХС, ШХ15, ХВГ с объемной закалкой и др.
Назначение, разновидность винтовых передач и требования, предъявляемые к ним
Назначение винтовых передач - преобразование вращательного движения в поступательное и наоборот.
Для этой цели их применяют в домкратах, прессах, металлорежущих станках, прокатных станах, грузоподъемных механизмах, роботах, испытательных стендах и в других устройствах.
Все винтовые механизмы, в зависимости от предъявляемых к ним требований, условно делят на кинематические, используемые в малонагруженных приводах, и силовые, работающие при значительных нагрузках на ходовой винт.
Винтовые передачи имеют две основные разновидности: винтовые передачи с трением скольжения и винтовые передачи с трением качения.
Несмотря на широкое распространение винтовых передач качения и ряд недостатков присущих передачам скольжения, таких как низкий кпд, повышенный износ резьбовых поверхностей, малые допустимые скорости скольжения, в настоящее время передачи скольжения находят применение в механизмах, требующих передачи значительных усилий, таких как тяжелые станки, прессы ит.д.
Основное эксплуатационное свойство, определяющее долговечность винтовой передачи скольжения – износостойкость резьбовых поверхностей ее элементов, то есть винта и гайки.
Ходовой винт обычно изготавливается из углеродистой или легированной стали и подвергается закалке до твердости 55..60HRC.
Гайка изготавливается из более мягких материалов: оловянных или безоловянных бронз, серого и антифрикционного чугуна, цинковых сплавов и неметаллических материалов.
Поэтому витки ходовой гайки будут изнашиваться быстрее витков ходового винта.
Следовательно, долговечность винтовой передачи скольжения будет в основном определяться износостойкостью витков резьбы ходовой гайки
Нарезание прямозубых конических колес двумя зубострогальными резцами по методу обката при последовательном делении
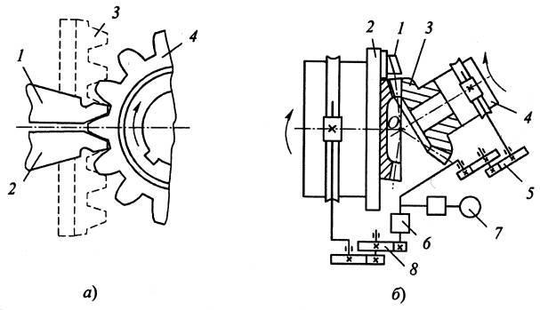
Зубострогальные резцы получили наибольшее применение для нарезания прямозубых конических колес. Они применяются на чистовых операциях и работают по методу обката, а также на черновых операциях - по методу копирования. В последнем случае используются те же станки, что и при методе обкаточного огибания, но работающие при выключенном движении обката.
Строгание каждого зуба колеса производится двумя резцами на станках-полуавтоматах моделей 5С276П, 5А26 и др., а также фирмы "Глисон" (США) по схеме, представленной на рис.4, а. Здесь резцы 1 и 2, установленные в суппорте на люльке станка, представляют собой впадину зуба воображаемого производящего колеса 3, с которым в процессе зубонарезания находится в зацеплении обрабатываемое колесо 4.

Рис. 4. Нарезание прямозубых конических колес
а - схема резания; б - кинематическая схема зуборезного станка.
Как видно из кинематической схемы зубострогального станка (рис.4, б), в процессе обката заготовка колеса 3, установленная в бабке 4, при вращении вокруг своей оси кинематически связана с вращением люльки 2. На схеме также показаны: 5 - гитара деления; 6 - механизм деления; 7 - электропривод; 8 - гитара обкатки.
В процессе обработки резцы l получают возвратно-поступательное движение от кулачков (на схеме не показаны) и работают попеременно. При движении к точке О пересечения образующих начальных конусов производящего и нарезаемого колес одну боковую поверхность зуба колеса обрабатывает (при прямом ходе) первый резец, а другую боковую поверхность (при обратном ходе) - второй резец. Движение обката осуществляется за счет поворота заготовки и люльки вокруг своих осей.
При черновом нарезании движение обката выключается и оба резца совершают только возвратно-поступательное движение и нарезают зубья с прямолинейным профилем по методу копирования. Таким способом нарезают колеса модулем m = 2,5... 16 мм и диаметром до 800 мм. При этом из целой заготовки за одну операцию нарезают зубья модулем m < 4 мм, а свыше - за две операции: черновую и чистовую (за несколько ходов в зависимости от модуля и требуемой точности).
Колеса диаметром 800...3000 мм обрабатывают строганием по шаблону на специальных станках, например модели 5Е283 и др.

Рис. 5-Зубострогалный резец
Зубострогание из-за прерывистости процесса и низких скоростей резания (12...15 м / мин ) является малопроизводительным способом. Однако этот способ универсален, инструменты дешевы, просты по конструкции и обеспечивают высокую точность обработки (6...8-я степень). Поэтому зубострогание получило широкое применение как в мелкосерийном, так и в крупносерийном производстве.
Зубострогальный резец для чистовой обработки (рис. 5) представляет собой фасонный призматический инструмент с двумя взаимозаменяемыми рабочими частями на концах, имеющими прямолинейные боковую 1 и вершинную 2 режущие кромки. Зубострогальные резцы стандартизированы и выпускаются серийно.
ГОСТ 5392-80 устанавливает четыре типа таких резцов, отличающихся размерами (H, L и др.) в зависимости от диапазона модулей нарезаемых колес. Например, резцы типа I предназначены для нарезания колес модулем m = 0,3...3,25 мм, а типа IV - для нарезания колес модулем m = 13...20 мм. Профиль режущих кромок черновых резцов не регламентируется и может быть ступенчатым или криволинейным, обеспечивающим равномерный припуск под чистовую обработку. Зажимная часть зубострогального резца выполнена в виде клина с углом 73°, что обеспечивает его плотное прилегание к плоскостям державки. Резец крепится в державке винтами, число которых (2...5) зависит от его типоразмера. Передняя грань резцов плоская, заточенная у стандартных резцов под углом в нормальном сечении γ n = 20°. В зависимости от свойств обрабатываемых материалов резцы затачивают также и под другими углами ( γ n = 10….25°). Задний угол на вершинной кромке в статическом положении резца α B = 0°. В рабочем положении за счет поворота резца относительно дна впадины нарезаемого колеса задний угол при вершине α B = 12° (рис. 6). На боковой режущей кромке задний угол α б < α В.

Рис. 6. Углы профиля зубострогального резца в рабочем положении
В случае нарезания колес с небольшим числом зубьев, имеющих криволинейный (эвольвентный) профиль с малым радиусом кривизны, резцы должны были бы иметь такую же форму режущих кромок. При нарезании таких зубьев методом обката резцами с прямолинейным профилем имеет место подрез ножки и срез головки, т.е. нарезанный зуб становится более выпуклым. Однако эти отклонения профиля нарезанного зуба составляют несколько микрометров и, в целом, только улучшают условия зацепления колес в передаче, исключая вероятность их заклинивания.
5. Практическая часть
сборка винтовая передача зубострогальный резец втулка
Исходными данными являются, рабочий чертёж детали КТС 02, указанной в задании, технические условия на деталь.
Годовой объём выпуска детали составляет N = 300000 шт. в условиях массового производства с обработкой поверхности Б.
Анализ технологичности конструкции детали.
Втулка является цилиндрической деталью, заготовка которой из бронзы может быть получена как из проката, так и литьем, при этом форма и размеры заготовки будут максимально приближены к форме и размерам детали (это является более рациональным с точки зрения экономии основного материала и уменьшения припуска под последующую обработку, что впоследствии сокращает трудоемкость изготовление детали, а значит и ее себестоимость).
Точность поверхностей детали является вполне достижимой (порядка 6-14квалитета) и может быть получена широко применимыми методами токарной обработки, сверления, зенкерования и развертывания.
Конструкция детали:
-имеет хорошие базовые поверхности для первоначальных операций и довольно простая. Позволяет обеспечить принцип совмещения баз;
-недостаточно жесткая и требует вести обработку на заниженных относительно нормативных режимов резания;
− позволяет вести обработку проходными резцами;
-имеет простой формы центральные и другие отверстии.
Обработка заготовки может проводиться с применением универсального режущего инструмента. Для контроля получаемых размеров могут использоваться универсальный мерительный инструмент.
Таблица 1.1 - Химический состав Бронзы Бр. ОЦС 6-6-3 ГОСТ 613-79
|
A1 |
Bi |
Fe |
Si |
Cu |
Sb |
Pb |
P |
P |
Zn |
Прочие |
|
0-0,05 |
0-0,02 |
0-0,4 |
0-0,02 |
79,66 |
5-7 |
0-0,5 |
2-4 |
0-0,05 |
5-7 |
0-1,3 |
Таблица 1.2 — Механические свойства Бронзы Бр. ОЦС 6-6-3 ГОСТ 613-79
|
g>t>, МПа о>в>, МПа |
НВ (не более) |
|
не менее |
65 |
|
80 200 |
Определение такта выпуска деталей.
t>e> =(F∙60)/N
где F-годовой фонд времени работы оборудования,F=4016 ч;
N-годовой объем выпуска деталей,шт.
t>e> =(4016-60)/300 000 = 0.8 мин.
Выбор метода получения заготовки
Заготовка из данного материала получается только одним методом-центробежного литья. Этим способом изготовляют отливки тел вращения 9…14 квалитета точности из цветных металлов (втулки,колеса,шестерни и др.).
Этот метод обеспечивает высокую производительность получения заготовок и их точность.
Рассчитаем объем детали по формуле:
V
=πh(
;
[10]
где ρ= 8,8 г/см3 для бронзы;
h-высота детали ;
r1,r2-радиусы окружности.
V=3,14∙56(
=32781,6
г/см3
Определим массу детали по формуле:
Мд=V∙ρ=32781,6∙8,8∙
=0,308
кг
Расчётная масса отливки
;
где
-
масса детали;
-расчётный
коэффициент,
=1,5.

Определяем коэффициент использования материала:

где m>д> – масса детали, кг;
m>з> – масса заготовки, кг.

В соответствии с [11] отливка простая
Уровень точности- повышенный
Установление шероховатостей поверхности отливки-5 [11,прилож.2]
Класс размерной точности-6
Степень коробления отливки-3 [ 11,пр.2,табл10 ]
Основные припуски на сторону[11,табл.6],мм:
Класс точности массы отливки-11[11,табл.13 ]
Исполнителные размеры отливки определяем по формуле [10]
;
;
L=(L+
)+
Допускаемые отклонения размеров:
Ø

Ø
Радиус закругления наружных углов 3,0мм .
Докускаемые отклонения от плоскостности, от прямолинейности и изогнутости 0,6мм.[11]
Расчет стоимости заготовки полученной литьем выполняется по формуле[5]

где
- базовая стоимость одной тонны заготовок,
=320000000
руб.;
-
масса заготовки,
=0,462
кг;
-
масса детали,
=0,308
кг;
-
стоимость одной тонны отходов,
=5455461
руб.;
-
коэффициент, зависящий от класса точности
,
=1,1;
-
коэффициент, зависящий от степени
сложности ,
=1,15;
-
коэффициент, зависящий от массы заготовки
,
=1;
-
коэффициент, зависящий от марки материала,
=6,72;
-
коэффициент, зависящий от объема выпуска,
=0,91
.

Разработка маршрутного техпроцесса.
Таблица 3.5 - Маршрутный техпроцесс изготовления втулки КТС 02
|
Номер операции |
Наименование и краткое содержание операции |
Модельстанка |
Режущий инструмент, размеры, марка материала |
Технологическая база |
|
05 |
Заготовительная Отрезать в размер 58 |
16К20Ф3 |
Резец отрезной ВК6 |
Поверхность заготовкиØ36 |
|
10 |
Токарная Подрезание торцев
Предварительное
обтачивание поверхности Ø32ммРастачикание
поверхностиØ25ммТочение 4 фасок
1х |
16К20Ф3 |
Резец проходной ВК6Резец расточной ВК6Резец канавочный ВК6 |
Поверхность заготовкиØ36Поверхность заготовки Ø24 |
|
15 |
Токарная Обтачивание чистовое поверхности Ø32К6Обтачивание чистовое поверхности56js5 |
16К20Ф3 |
Резец расточной ВК6 |
Поверхность Ø25Поверхность Ø32К6 |
|
20 |
Вертикально- сверлильная Сверлить отверстие Ø4 |
2Н106П |
Сверло спиральное Ø4мм Р6М5 |
ПоверхностьØ25 |
|
25 |
Круглошлифовальная Шлифование по оправке 56js5Шлифование чистовое Шлифование тонкое |
3164 |
Шлифовальный круг |
Поверхность Ø32К6 |
|
30 |
Торцекруглошлифовальная Ø32К6Шлифование предварительное Шлифование тонкое |
3М173 |
Шлифовальный круг |
Поверхность Ø32K6 |
Расчет режимов резания
Расчет режимов резания аналитическим методом
Операция 10- токарная с ЧПУ. Переход 1-черновое точение поверхности36. Станок модели 16К20Ф3. Инструмент – резец проходной с пластиной из твердого сплава ВК6.
Глубина резания t=2 мм;
Подача S>0>=0,5мм/об.[7];
Скорость резания рассчитываем по формуле [7]

где
-
постоянный коэффициент;
-
стойкость инструмента;
-поправочный
коэффициент;
t- глубина резания;
x,y
- показатели степеней.
=182;
=(30-60)
мин;
=0,12;
=0,30;
х=0,13
Поправочный коэффициент рассчитываем по формуле[7]
=
,
где
-
коэффициент, учитывающий качество
обрабатываемого материала заготовки;
-
коэффициент, учитывающий состояние
поверхности;
-
коэффициент, учитывающий качество
материала инструмента.
=1
;
=1;
=1;
=1∙1∙1=1

Частоту вращения шпинделя при обработке рассчитываем по формуле [7]
,
где
– скорость резания, м/мин;
–
диаметр поверхности,
мм.
мин
Осевую
силу резания
рассчитываем по формуле [7]
,
где
–
постоянный коэффициент;
–
поправочный
коэффициент;
,
n,
x
– показатели степеней.
=55;
=0,66;
n=-0;
x=1.0
[7];
Поправочный коэффициент рассчитываем по формуле [7 ]


Мощность резания рассчитываем по формуле [7]
(3.39)
кВт.
Мощность
двигателя главного привода станка
=10
кВт, К.П.Д. привода станка
=0,85.
Тогда
,
(3.40)
=10·0,85=8,5
кВт.
,
т.е. 1,2<8,5
Таким образом, привод станка обеспечивает обработку при заданных режимах.
Техническое нормирование. Тип производства массовое, в котором в качестве нормы времени рассчитывается штучно-калькуляционное время [12]
,
где
–
основное время;
вспомогательное
время;
время на обслуживание
рабочего места;
-
время на отдых;
Расчёт нормы времени на операцию 010Токарная с ЧПУ.
Основное время рассчитываем по формуле [1]
,
где
длина резания,
=60мм;
величина
врезания и перебега,
1мм
количество рабочих
ходов,
;
подача на оборот,
0,5мм/об;
число оборотов,
1070мин
.
Основное время на черновое точение:
мин
Вспомогательное время рассчитываем по формуле [1]

где
время на установку и снятие детали,
0,27мин;
время
на закрепление и открепление детали
[14];
время на приемы
управления станком[14];
время на измерение
детали[14].
Время на приемы управления детали состоит из:
Времени включения станка кнопкой:
мин
Время на измерение детали:
мин
Вспомогательное время
мин
Оперативное время рассчитывается по формуле

мин
Время на обслуживание и отдых в массовом производстве по отдельности не определяются. Оно задается в процентах от оперативного времени
=
мин
Штучно-калькуляционное время составляет
мин.
Расчет коэффициента загрузки станка

где N – годовой объем выпуска деталей;
F>Д> – действительный годовой фонд времени;
N=1800;
=4016
ч.
По ГОСТ 3.1121-84 рассчитанному коэффициенту закрепления операций соответствует массовому тип производства.


Список используемых источников
1 Технология машиностроения.Курсовое и дипломное проектирование.Под редакцией М.Ф.Пашкеаича, Минск 2010.
2 Горбацевич, А.Ф., Курсовое проектирование по технологии машиностроения: учебное пособие для вузов/ А.Ф. Горбацевич, В.А. Шкред. – Мн,: Выш. шк., 1983. – 256 с.
3 Справочник технолога-машиностроителя. Т.1 / Под ред. А.Г. Косиловой, Р.К. Мещерякова.– М.: Машиностроение, 1985.
4 Режимы резания металлов: Справ. / Под ред. Ю.В. Барановского - М.: Машиностроение, 1972.
5 Логвин,В.А Методические указания по выполнению контрольной работы для студентов специальностей 1-36 01 03 «Технологическое оборудование машиностроительного производства» заочной формы обучения./В.А. Логвин, П.Ф.Котиков, - Могилев: ГУ ВПО БРУ,2010.
6 Справочник технолога-машиностроителя. Т.2 / Под ред. А.Н. Малова,– М.: Машиностроение, 1972.
7 Справочник технолога-машиностроителя. Т.2 / Под ред. А.Г. Косиловой, Р.К. Мещерякова.– М.: Машиностроение, 1985.
8 Технология машиностроения : учеб. пособие /М.Ф. Пашкевич [ и др.]; под ред .М.Ф. Пашкевича.- Минск: Новое издание,2008-478 с. : ил.
9 Балабанов, А.Н. Краткий справочник технолога-машиностроителя.-М.:Издательство стандартов, 1992.-464 с.
10 Минаков, А.П. Методические указания по выполнению контрольной работы для студентов специальностей 1-36 01 03 «Технологическое оборудование машиностроительного производства» заочной формы обучения./А.П. Минаков, И.Д. Камчинская - Могилев: ГУ ВПО БРУ,2010.
11 ГОСТ 26645-85 Отливки из металлов и сплавов. Допуски размеров, массы и припуски на механическую обработку.
12 Общемашиностроительные нормативы времени вспомогательного на обслуживание рабочего места и подготовительно-заключительного для технического нормирования. Массовое производство. – М.: Машиностроение, 1974.
Точить
канавку 6мм