Визначення термостійкості пластичних мас
ЗМІСТ
Вступ
1.Визначення температури розкладання полімерів
2.Визначення термостійкості полімерів в ізотермічних умовах
3.Визначення швидкості твердіння термореактивних полімерів і олігомерів
Література
Вступ
Тема реферату «Визначення термостійкості пластичних мас» з дисципліни “Контроль якості полімерних матеріалів”.
Дисципліна “Контроль якості полімерних матеріалів” дає знання про те, якими методами оцінюють якість матеріалів, з яких виготовляють полімерні вироби. Властивості полімерних матеріалів визначають і якість виробів і терміни їх експлуатації.
Контроль якості проводять на всіх підприємствах, не тільки на виробництвах полімерних виробів. Контрою піддають різні кількісні показники якості, від яких залежать експлуатаційні та технологічні характеристики самого виробу та процесу його виготовлення. Операціям контролю приділяється велика увага, тому його будова входить в основні підрозділи підприємства і вміщує як внутрішньо цеховий контроль, так і контрольні операціях відділу технічного контролю. Якість полімерних виробів є похідною від якості полімерного матеріалу. Не можна виготовити якісний виріб з полімерної сировини невисокої якості. Вихідний полімерний матеріал обов’язково контролюють на будь-якому виробництві відповідно технічним умовам, без яких полімерні матеріали взагалі не виробляються. Кожні технічні умови на полімерний матеріал вміщують перелік показників якості та методи їх визначення. Показники якості визначають також технологічні параметри процесів переробки, наприклад, менше значення індексу розплаву потребує більші значення тиску та більших температур переробки. До основних умов забезпечення високої якості продукції, яка є полімерними виробами широкого асортименту, можна віднести насамперед якість полімерних матеріалів, ретельне додержання оптимальних технологічних параметрів, автоматизацію та механізацію виробництва.
Визначення температури розкладання полімерів
полімер термостійкість розкладання
Полімери є органічними сполуками різної хімічної будови і за підвищених або високих температур можуть розкладатись з утворенням газоподібних речовин. Розкладання (деструкція або руйнування) полімеру веде до повної втрати якості виробу з нього. Температуру розкладання полімерного матеріалу визначають шляхом нагрівання зразка, під час якого одночасно вимірюють температуру і тиск з допомогою ртутного манометра. Температура, за якої тиск різко зростає за рахунок виділення газоподібних речовин у процесі деструкції, вважають за температуру розкладання полімеру.
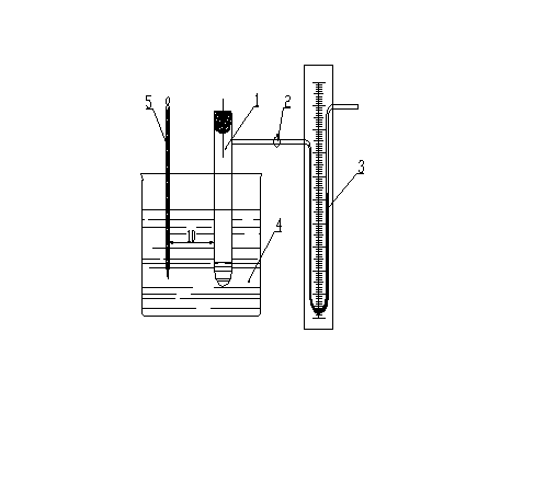
Таку температуру з достатньою точністю можна виміряти з допомогою спеціального приладу (рис. 1).
В пробірку поміщають наважку 1 г полімеру та з’єднують пробірку через трьохходовий кран з ртутним манометром. Вільний кінець манометра з’єднується з атмосферою. Пробірка обігрівається в бані теплоносієм. На відстані 10 мм від пробірки поміщують термометр. Випробування починається з моменту вмикання обігріву і полягає в вимірюванні температури та тиску в системі через певні проміжки часу. За результатами випробування будують графічні залежності зміни температури та тиску.
В момент розкладання полімеру тиск різко зростає, що відзначається графічно. Це відбувається за певної температури, яку вважають за температур розкладання полімеру та визначають графічно як температуру, за якої різко зламується крива залежності тиску.
Точність цього методу дуже залежить від рівномірності піднімання температури. Перед випробуванням зразки треба ретельно висушити, бо леткі речовини значно впливають на точність визначення.

Рис. 1. Схема приладу для визначення температури розкладання полімерів
1 - пробірка; 2 – трьохходовий кран; 3 – ртутний манометр; 4 – баня; 5 – термометр
Визначення термостійкості полімерів в ізотермічних умовах
Стійкість полімерного матеріалу до дії високих температур оцінюють також в ізотермічних умовах, витримуючи зразок полімеру за певної температури до припинення зміни його ваги. За результат береться відносна втрата маси в відсотках. Цим методом можна визначити:
1) термостійкість полімеру за будь-якої заданої температури,
2) температуру, за якої втрата маси не перевищить задану величину,
3) оцінити термічну та термоокислювальну деструкцію та
4) визначити ефективність термостабілізаторів шляхом порівняння показників зразків з стабілізаторами і без них.
Визначення термостійкості полімерів здійснюють на приладі (рис. 2), який складається з кварцової чашечки 1, з’єднаної через кварцовий гачок 2 та кварцову нитку 3 з нижнім кінцем кварцової пружини 6. Верхню частину кварцової пружини підвішують на гачок верхнього ковпачка 7 скляної посудини, яка складається з середньої 5 та нижньої 4 частин. Скляну посудину через кран 8 з’єднують з диференційним манометром 10, електронною лампою 9 та балоном 11 з киснем або аргоном.
В кварцову чашечку поміщають 50-100 г полімерного матеріалу і збирають прилад. Якщо потрібно оцінити термостійкість в інертному середовищі, застосовують аргон, якщо ж треба оцінити термоокислювальний розклад полімеру, застосовують кисень. Нижню вузьку частину посудини 4 поміщають в термостат 12, який дозволяє створити температур від 150 до 600 ºС за коливання її не більше ±2 ºС. Як теплоносій використовують суміш нітритів та нітратів нікелю та калію в певному співвідношенні. Про ступінь розкладання полімеру судять через переміщення якої-небудь точки на дроті, який з’єднує пружину з чашечкою, з допомогою катетометра 14. Попередньо калібрують кварцову пружину в тому ж інтервалі температур, в якому спостерігається лінійна залежність деформації від навантаження. За температури 200 ºС температура в кварцовій чашечці досягає температури теплоносія через 5 хвилин.
В ході визначення проводять підрахунок переміщення фіксованої точки в системі пружина – кварцова чашечка. Після визначення чашечку зважують та визначають втрату маси за весь час випробування:

де g>0> – маса зразка до початку випробування, г;
g>1> – маса зразка після випробування, г.

Рис. 2. Прилад для визначення термостійкості полімерів за втратою маси
1 – кварцова чашечка; 2 – кварцовий гачок; 3 – кварцова нитка; 4 – нижня частина верхнього ковпачка; 5 – середня частина верхнього ковпачка; 6 – нижній кінець кварцової пружини; 7 – ковпачок; 8 – скляний кран до диференційного манометра; 9 – електронна лампа; 10 – диференційний манометр; 11 – балон; 12 – термостат; 13 – термометр; 14 – катетометр.
Проводячи визначення за заданої температури, відзначають час, за який полімер руйнується до певного ступеню. За втратою маси Δg та загальним переміщенням фіксованої точки Δl=l>0>> >- l>1> знаходять гравіметричний коефіцієнт:
,
г/см,
де l>0> – початкове положення фіксованої точки, см;
l>1> – кінцеве положення фіксованої точки, см.
Втрату маси в певний момент часу визначають за формулою:
,
де Δl – переміщення фіксованої точки пружини в даний момент часу, см.
Відносна втрата маси за той же проміжок часу:
,
%
Цей метод має переваги, до яких насамперед відноситься можливість визначення температури та часу до початку руйнування полімеру в широкому інтервалі температур та за будь-якого надлишкового тиску інертних або активних газів, який не перевищує 0,1 МПа.
Визначення швидкості твердіння термореактивних полімерів і олігомерів
Пластмаси поділяються на два великих класи: термопластичні (лінійні) та термореактивні, які потребують стадії переходу у тримірний стан шляхом твердіння. За процесу твердіння термореактивні пластики перетворюються на зшиті просторово неплавкі міцні не розчинні в жодному розчинникові продукти. Швидкість твердіння є технологічним показником, що впливає на продуктивність устаткування та організацію процесу виготовлення пластмасових виробів. В процесі твердіння зростає в’язкість розплаву, і на кривій залежності в’язкості від тривалості твердіння спостерігається різка зміна нахилу. Цим методом можна визначити кінетику твердіння, тривалість твердіння, ефективність тих чи інших твердників.
Одним з надійних методів визначення швидкості твердіння, а також тривалості в’язкотекучого стану полімерів та коефіцієнта в’язкості за заданих напружень є метод Канавця. Випробування проводять на пластометрі Канавця (рис. 3).
Основною деталлю приладу є роз’ємна прес-форма, в якій відбувається пресування зразка в просторі між двома коаксіальними циліндрами. Внутрішній циліндр утворюється зовнішньою поверхнею штиря 1, який входить в прес-форму, а зовнішній циліндр утворюється роз’ємною матрицею прес-форми 2. Прес-форма впорядкована електрообігрівом та термопарою. Штир зв’язаний з силовимірювачем та механізмом обертання.
Опір зсуву, який виникає в матеріалі за обертання штиря, вимірюється силовимірювачем. Спеціальний пристрій автоматично записує криву залежності напруження зсуву в МПа від тривалості випробування.
Пуансон та штир мають рифлення глибиною до 1 мм для запобігання ковзання матеріалу по стінкам прес-форми. Деформування зразків здійснюється з градієнтом швидкості зсуву 0,013-0,015 с-1, що відповідає одному оберту обертової частини прес-форми за 1200-1300 с.
За випробування прес-порошків висота зразка складає 52,5 мм. За випробування більш міцних та високов’язких мас висота зразка зменшується до 26 мм. Режим пресування зразка визначається технічними умовами на відповідний матеріал.

Рис. 3. Пластометр Канавця
1-штир; 2 – матриця; 3 – пуансон; 4 – полімерний прес-матеріал
Для визначення кінетики твердіння на початковій стадії, яка відповідає тривалості в’язкотекучого стану, деформування зразка в формі починається зразу ж після замикання прес-форми і здійснюється безперервно до припинення здатності матеріалу деформуватись.
Для визначення повної втрати текучості або повного твердіння зразок попередньо витримується в зімкнутій прес-формі. Таким чином доцільно випробувати матеріали, які тверднуть повільно.
Наважку матеріалу поміщають в нагріту прес-форму та запресовують її з допомогою пуансону. За замикання прес-форми, коли між пуансоном та матеріалом залишиться 1-2 мм, вмикають обертання штиря та барабана, який робить запис. Кінець випробування визначають на кривій.
Спочатку, коли матеріал знаходиться в в’язкотекучому стані, крива йде майже паралельно осі абсцис. З підвищенням в’язкості крива піднімається, і кут підйому характеризує кінетику твердіння термореактивного пластика. Наприкінці випробування обертання штиря та барабану вимикають, прес-форму розкривають та вилучають зразок.
За випробування фенолоформальдегідних матеріалів в приладі підтримують температуру 190 ºС та тиск 30 МПа. В цих умовах випробування триває до досягнення коефіцієнта в’язкості 2·109 пуаз, що відповідає напруженню зсуву 1 МПа (точка А на кривій) та характеризує силу внутрішнього тертя.
Коефіцієнт в’язкості в пуазах визначають за формулою:
.,
де К – постійна, яка залежить від відносної швидкості обертання частин прес-форми; береться з паспорта приладу;
σ- напруження зсуву у в’язкотекучому стані течії, Па.
Література
Басов Н.И., Любартович В.А., Любартович С.А Контроль качества полимерных материалов. – Л.: Химия, 1977. – с. 25-28
Григорьев А.П., Федотова О.Я. Лабораторный практикум по технологии пластических масс. – М.: Высшая школа, 1977, с. 234-238