Випробування гум до дії роздирання, ударного навантаження та тертя
Випробування гум до дії роздирання, ударного навантаження та тертя
Вступ
Тема реферату з дисципліни «Контроль якості полімерних матеріалів» «Випробування гум до дії роздирання, ударного навантаження та тертя».
Дисципліна «Контроль якості полімерних матеріалів» дає знання про те, якими методами оцінюють якість матеріалів, з яких виготовляють полімерні вироби. Властивості полімерних матеріалів визначають і якість виробів і терміни їх експлуатації. Дисципліна знайомить з методами контролю якості пластмас і еластомерів, принципами і суттю цих методів, особливостями контролю того чи іншого матеріалу, а також з розрахунками кількісних показників якості.
Мета роботи – ознайомитися з визначенням опору гум роздиранню та еластичності гум за відскоку, випробовуванням гум на стирання.
Визначення опору гум роздиранню
Високоеластичному розриву гум передують значні оборотні деформації, які викликають орієнтацій не зміцнення або тяжеутворення. Особливо чітко це виявляється за роздирання гуми. Роздер може бути гладким або вузлуватим (рис. 1 ).

Рис. 1. Типи роздеру гум
В процесі експлуатації за деформування на поверхні гумового виробу можуть виникати та розростатись дефекти, які пов’язані з механічними пошкодженнями (порізи, проколи, надриви тощо, а також з конструкцією виробу (кути, щілини та ін.). Вони викликають максимальне перенапруження в матеріалі, який деформується, а воно, в свою чергу, веде до втрати міцності. Зміна міцності за механічного пошкодження поверхні (надрізу, розриву) неоднакове для всіх гум: у одних міцність падає різко, у інших зменшується незначно. Це залежить від типу каучуку, властивостей та дозувань вихідних інгредієнтів та ступеню вулканізації каучуку в гуму.
Тому поряд з визначенням умовної міцності гум їх випробують на міцність за спеціально створеної шляхом надрізу максимальної концентрації напруження. При цьому визначають показник опору роздеру В, який дорівнює відношенню навантаження Р, яке викликає повне руйнування зразка по місцю штучно створеної ділянки руйнування (надрізу), до початкової товщини зразка h>0>:
,
Н/м
Такий показник є умовним і не точним, бо дуже важко розрахувати напруження складно-напруженого стану гум за роздеру (одночасно відбуваються процеси і роздирання і розтягу зразка). Крім того, показник характеризує опір матеріалу руйнуванню на ділянці з місцевою концентрацією напруження, для утворення якої практично неможливо точно провести надріз.
Процес роздеру складається з двох стадій:
1) нестаціонарної, коли відбувається розтягування зразка, яке залежить від пружних властивостей гуми; зусилля, що розтягує, при цьому зростає до критичного значення Р, яке відповідає максимальній (критичній деформації;
2) стаціонарної, коли відбувається зростання надрізу до повного руйнування зразка.
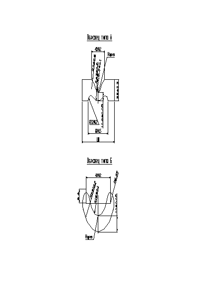
Опір роздеру залежить від форми зразка, розміщення та довжини надрізу, тому одержання результатів, які можна порівнювати, можливе тільки за використання однотипних зразків. Для випробувань на роздер використовують зразки типів А, Б, В (рис. 2). Результати, одержані на різних типах зразків зіставляти заборонено, бо вони не відповідають дійсності.


Рис. 2. Форма зразків типів А, Б, В для випробування гум на роздирання
Зразки вирубають штанцевим ножем на вирубному пресі з вулканізованих пластин товщиною 2±0,2 мм. Після вулканізації необхідна обов’язкова витримка гуми. Вирубання зразків ведуть таким чином, щоб зразки за довжиною відповідали напрямку каландрування гуми. Товщина зразків з готових виробів визначається товщиною виробу, але відхилення за товщиною зразка не повинно перевищувати ±10 %. Надріз на зразках А та В роблять під прямим кутом по центру внутрішнього боку зразка. Його глибина повинна складати 0,5±0,08 мм. Він повинен бути гладким та рівним, розміщуватись строго перпендикулярно довжині зразка. Для виготовлення надрізу використовують лезо бритви, яке закріплено в спеціальній колодці. Товщину зразка в місці надрізу визначають з допомогою товщиноміру з похибкою вимірювання не більше 0,01 мм. Глибина надрізу вимірюється мікроскопом із збільшенням в 100 разів.
Перед випробуванням зразки кондиціонують за температури 23±2ºС не менше 1 години. Кількість зразків – не менше 3.
Випробування проводять на розривній машині при швидкості руху нижнього затискача 500±5 мм/хвилину. Для більшої концентрації напруження зразки закріплюють в затискачах машини таким чином, щоб викривлена частина розпрямилась.
Рекомендовано вести випробування при 23±2ºС та при 100±2ºС. За підвищених температур випробування проводять на машинах з термокамерою, прогріваючи зразки не менше 3 хвилин.
Для зразків типів А і Б опір роздеру розраховують за формулою:
гума опір міцність пошкодження
,
Н/м,
де Р – максимальна сила, яка викликає роздер, Н;
h>0 >– початкова товщина зразка, м.
Для зразків типу В розраховують структурну міцність σ>с >та опір роздеру В:
,
Па,
,
Н/м,
де h>0> та h>с> – фактична та стандартна (2 мм) товщина зразка, м;
b- ширина не надрізаної частини зразка, м;
b =b>0> – b>п>,
де b>0> – ширина зразка, м;
b>п> – ширина прорізу, м.
Знаходять середньоарифметичне значення показників для п’яти зразків та відхилення від нього. Відбраковують непридатні показники та розраховують середньоарифметичне для тих зразків, що залишились, приймаючи для уваги, що не повинно бути менше 3.
Визначення еластичності гум за відскоку
Еластичністю називається здатність гум повертати частину енергії, що одержана ними за удару, поштовхів та інших короткочасних навантаженнях. Втрати енергії при цьому пов’язані з характерним для гум явищем гістерезису.
Механічна енергія, що витрачена на деформацію, частково повертається при розвантаженні зразка завдяки оборотності деформації. Втрата пружної енергії, що повертається, порівняно з витраченою механічною, пояснюється незворотним розсіюванням її в вигляді теплової енергії через процеси внутрішнього тертя в матеріалі, тобто гістерезису. За повторних деформації втрати енергії зменшуються і стають практично постійними, тому що структурні зміни, які відбуваються в гумі з однозначних повторних деформації стабілізуються. Якщо один цикл навантаження – розвантаження проводити дуже повільно, щоб вспівала проходити релаксація, обидві криві зливаються, гістерезису не відбувається, і повернена енергія буде дорівнювати витраченій. На практиці цикли деформації проводяться значно швидше, і гістерезису є невідворотним.
За однакових умов та методу випробувань показник пружно-гістерезисних властивостей залежить тільки від структури та складу гуми. Визначаючи гістерезис, можна порівнювати експлуатаційні характеристики гум, а також здійснювати контроль якості гуми.
Пружно-гістерезисні властивості гуми можна визначати на розривній машині шляхом розтягу зразка до певної деформації та наступного його розвантаження при оборотному ході нижнього затискача.
Витрачена енергія пропорційна площі фігури ОАС (рис. 3), а корисна – АВС. Площа гістерезисної петлі ОАВ пропорційна гістерезисним втратам. Еластичність гуми, або її пружно-гістерезисні властивості, характеризується показником корисної пружності – відношенням поверненої (корисної) енергії до витраченої.

Рис. 3. Схема визначення пружності гум з допомогою маятника
Звичайно еластичність гум визначається на приладах, які називаються пружномірами (рис. 4).
Сутність випробування полягає в визначенні величини відскоку бійка маятника приладу, що падає з певної висоти на зразок, що випробується.

Рис. 4. Пружномір УПМ
1 – клямка; 2 – шкали; 3 – маятник; 4 – вантаж; 5 – пружина;
7 – зразок; 8 – станина; 10 – рівень; 11 – кронштейн; 12 – стрілка;
13 – обмежувач; 14 – захват; 15 – ручка.
Енергія W>1>, яка витрачена на деформацію зразка, дорівнює потенціальній енергії маятника, який піднято на висоту h>1>:
,
де m – маса маятника;
g – прискорення сили тяжіння;
h>1> – висота падіння.
Енергія, яка повертається зразком, дорівнює:
,
де h>2> – висота відскоку маятника.
Еластичність, або корисна пружність, є відношенням поверненої енергії до витраченої:
Е
=
,
%,
де α>1> – кут падіння маятника;
α>2> – кут відскоку маятника.
За випробування зразків за підвищеної або зниженої температури пружномір встановлюють в термокріокамеру. Показник еластичності тим вищий, чим вища температура випробування.
В пружномірах маятник закріплюється з допомогою спеціального пристрою в двох положеннях: під кутом 90 та 60 º до вертикалі. Відповідно до цього прилад упорядкований двома шкалами, які відградуйовані в одиницях еластичності.
Зразками для випробування є циліндричні диски або прямокутні паралелепіпеди товщиною 5±0,25 мм та діаметром або стороною не менше 40 мм. Поверхня зразків після вулканізації повинна бути гладенькою, без дефектів, що видно оком, побічних включень та забруднень. Для випробування беруть не менше 2 зразків. Їх витримують після вулканізації не менше 6 годин та кондиціонують не менше 1 години за 23±2 ºС.
Для кожного зразка проводять визначення еластичності не менше як у трьох точках, розраховують середнє арифметичне для трьох замірів, а потім середнє арифметичне для двох зразків. Допустиме відхилення складає не більше ±5 %. Результати порівнюють з нормами, які наведено в технічних умовах на кожну гуму.
Випробування гум на стирання
В процесі експлуатації рід гумових виробів (шин, конвеєрних стрічок, пасів, взуття та ін.) піддається тертю, внаслідок чого відбувається руйнування поверхневих шарів за ковзання гуми по іншому матеріалу. Це веде до зношення гумових виробів та виходу їх з ладу, тому зносостійкість гум має велике значення за визначення їх якості.
Стирання гум – це процес механічного відриву її частинок під впливом місцевих напружень, які виникають на виступах поверхні, що стирає, в процесі ковзання гуми.
Знос (стирання) характеризується втратою маси або об’єму, яка віднесена до витраченого на тертя часу (інтенсивність) або до витраченої роботи (питоме стирання). Стирання гум є складним процесом, який супроводжується механічними та фізико-хімічними явищами. Через знос знижується міцність гум, їх опір роздеру, змінюється модуль пружності. Можливі три механізми зносу: абразивний, втомний та фрикційний (скатування). В звичайних умовах переважає втомний знос, який є найбільш інтенсивним. На інтенсивність зносу впливає ряд зовнішніх факторів: температура, тиск, швидкість ковзання, відносне про ковзання, потужність тертя, навколишнє середовище (повітря, кисень, агресивні речовини), а також вологість повітря.
Стирання гум може відбуватись в двох режимах: ковзання (паси, стрічки) та котіння, яке характерно для шини. Відповідно до призначення гуми ці режими використовують для випробування їх на стирання (рис. 5).
Вірний вибір випробування має велике значення для одержання характеристик зносостійкості, які відповідають даним експлуатації виробів. Експлуатаційні випробування займають багато часу, тому умови лабораторних випробувань, які проводяться протягом 15-20 хвилин, роблять більш жорсткими. Для цього збільшують нормальний тиск або швидкість ковзання або котіння. Випробування в режимі ковзання ведуть на спеціальній машині для тертя – випробувальній машині МИ-2.

Рис. 5. Методи стирання гум
а – 100 % проковзання; б, в – контролюєте ковзання ;
в – бічний вид гумового кільця;
1 – гума; 2 – абразив; Х та У – відповідно напрямок руху абразиву та зразка; F - притискуюче зусилля.
Сутність методу полягає в стиранні зразків, які притиснуто до абразивної поверхні, яка обертається з постійною швидкістю диска за постійної нормальної сили. Зносостійкість можна визначити за формулою:
,
де l – шлях, який проходить зразок за стирання;
a та n – емпіричні константи.
Зразки для випробування виготовляють методом формування та мають певну конфігурацію і розміри (рис. 6).

Рис. 6. Зразок для випробування гуми на стирання за ковзання
Випробують не менше 6 зразків (3 пари) за температури 23±2 ºС не раніше 16 годин та не пізніше 30 діб після вулканізації. Зразки спочатку притирають не менше 15 хвилин. Притерті зразки очищують від пилу щіткою, знімають з їх країв часточки гуми та зважують з похибкою не більше 0,001 г. Зважені зразки закріплюють і стирають за постійної сили , яка врівноважує важіль машини. Після 200 обертів диска, що контролюється за приладом, мотор автоматично відключається. Зразки очищують та зважують. Втрата маси по винна бути не менше 0,5 г, інакше тривалість випробування збільшують. Для розрахунків треба знати густину даної гуми, яку треба визначити попередньо.
Убуток об’єму розраховують за формулою:
,
мм3,
де m>1> та m>2> – маси двох зразків до та після випробування, кг;
ρ – густина гуми, кг/м3.
Розраховують роботу тертя за формулою:
,
де F – середнє значення сили тертя за час випробування, Н;
l – шлях тертя, який дорівнює:
,
де U – швидкість ковзання по центру зразків, м’с;
t – тривалість випробування;
d – відстань між центрами зразків, м;
n – кількість обертів диска за час випробування.
Стійкість до стирання оцінюється трьома показниками:
1) стираємістю;
2) опором стиранню;
3) питомим стиранням.
Стираємість α характеризує зменшення об’єму двох зразків, яка відповідає одиниці роботи:
,
м3/ТДж,
де ΔV – зменшення об’єму двох зразків;
А – робота тертя , яка витрачена на стирання двох зразків;
К – коефіцієнт, що враховує стиральну здатність абразиву.
Опір стиранню β визначає роботу в Дж, яка витрачена на стирання 1 мм3 гуми з поверхні в 1м2:
,
Дж/м2
Питоме стирання І>пит> характеризує зменшення об’єму гуми в м3 з поверхні 1м2 за стирання на шляху довжиною 1 км:

Розраховують середньоарифметичне для менше 3 пар придатних зразків та порівнюють результат з нормами для даної гуми.
Література
Берштейн Л.А. Лабораторный практикум по технологии резины. - Л.: Химия, 1989. - с. 120-134.
Захаров Н.Д. Лабораторный практикум по технологии резины. – М.: Химия, 1988. с. 28-30, 69-72..