Обработка воды флотацией
ОБРАБОТКА ВОДЫ ФЛОТАЦИЕЙ
Принцип действия и теоретические основы работы флотационных установок
Флотация — метод отделения диспергированных и коллоидных примесей от воды, основанный на способности частиц прилипать к воздушным (газовым) пузырькам и переходить вместе с ними в пенный слой. Сущность этого процесса заключается в специфическом действии молекулярных сил, вызывающих слипание частиц примесей с пузырьками высокодиспергированного в воде газа (воздуха) и образованию на поверхности пенного слоя, содержащего извлеченные вещества. При сближении в воде газового пузырька с гидрофобной поверхностью частицы примеси разделяющий их тонкий слой становится неустойчивым и разрывается. Вследствие кратковременности контакта частицы и пузырька при их столкновении вероятность слияния определяется кинетикой образования краевого угла смачивания.
Очевидно, что для успеха протекания процесса масса флотируемых частиц не должна превышать силы их прилипания к газовым пузырькам и их подъемной силы. Оптимальная крупность извлекаемых примесей находится в пределах 10-5-10-3 м, дисперсность пузырьков газа— 15*10-6-30*10-6 м, а поверхностное напряжение воды не должно превышать 0,06—0,065 н/м. С понижением поверхностного натяжения эффект очистки воды флотацией повышается в отличие от отстаивания и фильтрования.
Интенсификация процесса флотации достигается гидрофобизацией поверхности извлекаемых примесей реагентами, которые, избирательно сорбируясь на поверхности частиц, понижают их смачиваемость, что улучшает процесс слипания дисперсий и коллоидов с пузырьками газа. В водоподготовке в качестве гидрофобизирующих реагентов применяют обычные коагулянты и флокулянты. После флотационной обработки осадок отработанных гидроксидов занимает значительно меньший объем и влажность его ниже, чем осадка, образующегося в отстойниках.
Известно много способов насыщения воды пузырьками газа (воздуха), среди которых по размерам диспергирования газа следует указать следующие: флотация с выделением воздуха из воды — напорные, эрлифтные и вакуумные установки; флотация с механическим введением воздуха — безнапорные (пенные), импеллерные и пневматические аппараты; фротация с подачей воздуха через пористые материалы; электрофлотация.
В пневматических установках насыщение воды воздухом осуществляют воздухом, выделяющимся из нее в результате понижения давления, в механических — турбиной насосного типа. Пневматические установки могут быть напорными и вакуумными.
Обработку воды флотацией рекомендуется применять при ее мутности до 150 мг/л и цветности до 200 град. Это позволяет уменьшить объем водоочистных сооружений вследствие ускорения в 3 ... 5 раз, процесса выделения взвеси из воды, отказаться от микрофильтров, улучшить санитарное состояние очистных сооружений.
В последние годы в России и за рубежом для очистки поверхностных вод умеренной мутности с большим содержанием органических соединений или планктона применяют напорную флотацию, при которой выделение взвеси из воды производится с помощью пузырьков газа, получаемых из перенасыщенного водовоздушного раствора. Принцип этого метода заключается в том, что 8... 10% исходной воды, в которой под давлением 0,6 . . . 0,8 МПа растворен воздух, распределяют в обрабатываемой воде, попадая в зону меньшего давления из насыщенной воздухом воды выделяются мельчайшие его пузырьки, необходимые для флотации легкой взвеси. Способ напорной флотации позволяет путем регулирования давления легко изменять количество растворенного воздуха и размер пузырьков, вводимых в обрабатываемую воду, в зависимости от состава взвеси в исходной воде. Флотация — это процесс, основанный на слиянии отдельных частиц примесей под действием молекулярных сил с пузырьками тонкодиспергированного в воде воздуха, всплывании образующихся при этом агрегатов и образовании на поверхности флотатора пены. Флотируемость частиц различной крупности зависит от размеров пузырьков воздуха, которые определяются поверхностным натяжением на границе вода — воздух. С понижением поверхностного натяжения эффективность очистки воды флотацией повышается в отличие от отстаивания и фильтрования. При предварительном коагулировании примесей воды эффект флотации повышается.
При напорной флотации время пребывания воды в напорном контактном резервуаре принимают до 2 мин, объем вводимого воздуха 0,9...1,2%, от объема обрабатываемой воды. Объем флотатора рассчитывают на 20...60-е минутное пребывание воды, удельную нагрузку принимают 6...8 м3/(м2*ч). При пневматическом диспергировании принимают до 7,0 м3/(м2*ч).
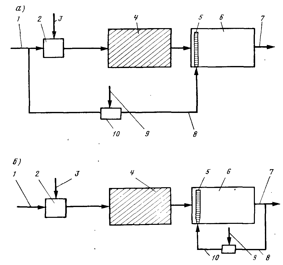
Вид содержащихся в воде загрязнений определяет характер флотационной обработки: одним воздухом или воздухом в сочетании с различными реагентами и прежде всего коагулянтами. Использование коагулянтов позволяет значительно повысить эффективность флотационной очистки и удалять загрязнения, находящиеся в воде в виде стойких эмульсий и взвесей, а также в коллоидном состоянии. В практике применяют две схемы флотационной очистки, показанные на рис. 11.1. В первом случае (рис. 11.1, а), для насыщения воздухом используют исходную неочищенную воду, а во втором (рис. 11.1,6) — воду, прошедшую очистку. В отечественной практике рекомендуется второй вариант.

Рис. 11.1. Схемы напорной флотации при насыщении воздухом исходной (а) и очищенной (б) воды.
1,7 — подача исходной и отвод очищенной воды; 2 — смеситель; 3 —подача реагентов; 4 — камера хлопьеобразования; 5 — распределительное устройство; 6 — флотатор; 8 — подача водовоздушной смеси; 9 — ввод воздуха; 10 — бак для растворения воздуха в воде
Недостатком первой схемы является то, что при использовании для насыщения воздухом неочищенной воды возможно засорение крупными примесями аппаратуры и распределительной системы. Во втором случае возможность засорения аппаратуры уменьшается, но необходимо увеличивать объем флотационной камеры на величину расхода воды, необходимого для приготовления водовоздушного раствора. Вторая схема, несмотря на некоторое удорожание, является более надежной.
При флотации в жидкости происходит ряд процессов: растворение и выделение воздуха, приклеивание воздушных пузырьков к частицам взвеси и всплывание их на поверхность с образованием пены. Условия протекания этих процессов оказывают существенное влияние на эффект обработки воды. Важное значение имеют также условия и способы удаления пены. Поэтому интересно будет рассмотреть принцип действия и конструктивные особенности всех основных элементов схемы: узла подготовки водовоздушного раствора, устройств для выделения воздуха из водовоздушного раствора, флотационной камеры и устройств для сбора и отведения пены.
Закономерности растворение воздуха в воде и аппаратура для подготовки водовоздушной смеси. Воздух представляет собой смесь газов. Растворимость газов в воде подчиняется закону Генри, из которого следует, что при постоянной температуре растворимость каждого из компонентов газовой смеси в данной жидкости прямо пропорциональна его парциальному давлению над жидкостью и не зависит от общего давления газовой смеси и общего содержания других компонентов. Количество воздуха, которое может быть растворено в воде, зависит от давления, температуры, времени насыщения и способа их взаимодействия. Эта зависимость выражается уравнением
Q = pB [1—ехр(—kT)],(1)
где q — количество воздуха, растворенного в воде, мг/л; р — давление насыщения, Па; В — растворимость воздуха в воде, мг/л; k — константа скорости растворения, 1/мин; Т — время насыщения, мин.
Давление оказывает влияние не только на количество воздуха, которое может быть растворено в воде, но и на размер выделяющихся затем пузырьков. По данным исследователей, это давление колеблется в широких пределах от 3*105 до 9* 105 Па адекватно характеристике выделяемой взвеси.
В химической технологии для растворения газов в жидкостях широко используют емкостные аппараты, размеры которых зависят от продолжительности их контакта. Время контакта, в свою очередь, связано со значением константы скорости растворения £. Так, при простом барботаже воды воздухом величина £=0,35 1/мин и время, необходимое для полного растворения, 7=8...10 мин. При введении воздуха с помощью эжектора £=0,8...1,0 1/мин и время сокращается до 7=3...4 мин. Существуют аппараты, в которых £=1,5... 1,8 1/мин.
В условиях очистки природных вод (работа под давлением, наличие труднорастворимой смеси газов, большая производительность и др.) наиболее целесообразно применение насадочных абсорберов. Насадка подвешивается или опирается на решетку, в которой имеются отверстия для прохода газа и стока жидкости. Газ поступает в колонну снизу вверх противотоком по отношению к жидкости. Подаваемая на насадку жидкость равномерно распределяется по сечению аппарата с помощью распределительного устройства. Соприкосновение газа с жидкостью происходит в основном на смоченной поверхности насадки, по которой стекает орошающая жидкость. В качестве насадки применяют листовые, хордовые из досок, кольцевые керамические и кусковые материалы.
В напорных абсорберах применяют высокие давления, поэтому подачу воздуха в них осуществляют компрессорами. Следовательно, при подготовке водовоздушного раствора для флотационных установок очистки природных вод перспективным является применение абсорберов с насадкой и подачей воздуха в них компрессорами.
Условия введения и распределения водовоздушного раствора в обрабатываемой воде. Растворенный воздух выделяется из воды при понижении давления, что и используется в установках напорной флотации. Минимальный размер пузырьков воздуха, образующихся при понижении давления,
(2)
где Rmin — минимальный радиус пузырьков воздуха, см; аГж.— поверхностное натяжение на границе раздела газ — жидкость, Н-м; р\—р2 — перепад давления, Па.
Из формулы (2) следует, что размер образующихся пузырьков тем меньше, чем меньше поверхностное натяжение на границе воздух — вода и чем больше пересыщение воды воздухом или больше перепад давления при выпуске водовоздушного раствора в обрабатываемую воду. Поверхностное натяжение зависит от свойств очищаемой воды и наличия в ней поверхностно-активных веществ. Учитывая это, можно было бы предусмотреть введение дополнительных реагентов, уменьшающих поверхностное натяжение, однако это крайне нежелательно. Более приемлемым является получение мелких пузырьков воздуха путем увеличения перепада давления, т. е. путем насыщения воды воздухом под повышенным давлением и последующим его резким понижением до атмосферного.
Исследования В.И. Классена, И.И. Демина показали, что возникновение пузырьков воздуха из перенасыщенного раствора происходит практически мгновенно. Для определения образующихся пузырьков можно воспользоваться формулой
(3)
где К — константа Генри. Па; С—Сi — величина пересыщения водовоздушного раствора; Н/м2; р —плотность газа в. пузырьках, Н/м3; Я —линейная скорость роста пузырьков, см/с.
Формула (3) показывает, что увеличение степени пересыщения воды воздухом способствует не только уменьшению размеров пузырьков воздуха, но также и выделению большего их количества. Изучение кинетики выделения воздуха из водовоздушного раствора показало, что при увеличении давления насыщения с 1,5-105 до 5,0-105 Па количество выделяющегося воздуха увеличивается с 21 до 100%.
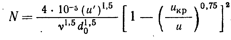
По Л.И. Шмидту, количество пузырьков и их размеры зависят от скорости выхода водовоздушного раствора из отверстий распределительного устройства. Им рекомендуется определять количество выделяемых пузырьков воздуха в зависимости от скорости истечения по формуле
(4)
где икр — критическое значение скорости, м/с; и' — среднеквадратичная величина компоненты турбулентной скорости пульсации, ы'= (0,15...0,20) и; v — кинематическая вязкость жидкости, м2/с; d-Q — размер отверстия, м; и — скорость истечения жидкости, м/с. Существует критическое значение скорости ыкр=7,0 м/с. При икр<7,0 м/с пузырьки не образуются, а наибольшее количество пузырьков и их наименьшие размеры соответствуют скорости истечения 15...20 м/с и более. Эти значения скорости и принимают при конструировании установок.
Простейшим устройством для выделения пузырьков воздуха из водовоздушного раствора является перфорированный трубопровод, который позволяет вводить водовоздушный раствор вобрабатываемую воду достаточно равномерно при большой ширине флотационной камеры.
Теоретические закономерности флотационного процесса и эффективность извлечения примесей из жидкости. Контактирование пузырьков воздуха и частиц примесей возможно двумя путями: при столкновении частиц с поверхностью пузырьков и при их образовании на частицах при выделении растворенных газов. Для напорной флотации при очистке природных вод процесс взаимодействия пузырьков при их столкновении с частицами примесей является основным и поэтому представляет практический и теоретический интерес. Прикрепление пузырьков к частице характеризуется краевым углом смачивания г, образуемым поверхностью частицы и касательной к поверхности пузырька, величина которого определяется размерами частицы и пузырька, а также поверхностным натяжением на границе раздела трех фаз: твердого тела (частицы), жидкости и воздуха. Для системы, находящейся в равновесии, должны выполняться условия:

где 0г.ш. — поверхностное натяжение на границе газа и жидкости, МН/м; От.ж. — поверхностное натяжение на границе твердого тела и жидкости, МН/м; ат.г. — поверхностное натяжение на границе твердого тела и газа, МН/м; е —краевой угол смачивания, град; F— сила, удерживающая пузырек на поверхности твердого тела, Н.
Величина свободной энергии флотационной системы до прилипания
(7)
где Лгж, Атт — площадь поверхности раздела газа и жидкости, твердого тела и жидкости, м2;
Величина свободной энергии системы после прилипания
(8)
Прилипание твердой частицы к пузырьку возможно, если
(9)
Или
флотация воздух вода
.Учитывая
формулу (5)
(10)
При прилипании с учетом деформации пузырька

где Агт' — поверхность границы раздела фаз, которая образуется после прилипания пузырька, м2.
Приведенные уравнения показывают, что убыль свободной энергии флотационной системы тем выше, чем больше краевой угол смачивания (чем более гидрофобна поверхность), т. е. вероятность прилипания частицы к пузырьку увеличивается.
Слияние частиц и пузырьков газа при их столкновении определяется наличием условий, необходимых для нарушения барьерного действия гидратных слоев, находящихся между пузырьком и частицей, что требует затрат энергии. До соприкосновения гидратных оболочек, расположенных на поверхности частицы и пузырька, при приближении пузырька к твердой поверхности вода прослойки удаляется относительно легко. При контакте гидратных оболочек сопротивление воды при их удалении резко возрастает, а свободная энергия прослойки увеличивается. При достижении определенной толщины прослойка становится термодинамически неустойчивой и ее свободная энергия по мере утончения понижается. Дальнейшее слипание происходит самопроизвольно с большой скоростью. Пузырек скачком прилипает к поверхности частицы, образуя с ней определенную площадь контакта. Под пузырьком сохраняется тонкий молекулярный слой воды, который устойчиво связан с твердой поверхностью. Удаление воды с поверхности частицы приводит к значительному возрастанию свободной энергии, что связан с затратой большого количества внешней энергии.
При движении жидкости через флотационную камеру возникают силы, стремящиеся оторвать твердые частицы от пузырьков воздуха: силы трения, силы тяжести, силы инерции. Для успешного протекания процесса флотации необходимо, чтобы твердые частицы и пузырьки воздуха прочно прикреплялись друг к другу. Сила прилипания действует по периметру площади контакта и равна
(13)
где d — диаметр площади контакта, м;
Гидростатическая сила подъема пузырька в жидкости
(14)
где V —объем пузырька газа; м3; g — ускорение свободного падения, м/с2; р — плотность жидкости, кг/м3.
Давление внутри пузырька воздуха больше гидростатического давления в жидкости, окружающей пузырек, вследствие капиллярного давления. Разница давлений в жидкости и газе у основания пузырька равна (2-атж/^)— pgh, где h — высота пузырька, м. При этом пузырек воздуха имеет круглую форму, так как у основания пузырька давление возрастает на величину гидростатического давления p-g-h. Перепад давлений внутри пузырька и вне его приводит к появлению добавочной силы отрыва:
(15)
(16)
(17)
Из уравнения (17) видно, что прочность прилипания частицы к пузырьку тем больше, чем более гидрофобна поверхность (или чем больше краевой угол смачивания е). Следовательно, для достижения высокого эффекта обработки воды перед флотацией необходимо проводить тщательную подготовку примесей (гидрофобизацию).
Для создания условий успешного проведения флотационной обработки воды проводят коагулирование ее примесей, что приводит к образованию хлопьев, которые в зависимости от исходного состава природной воды могут иметь различную крупность. Оптимальный вариант, когда размеры хлопьев соизмеримы с размерами пузырьков воздуха, вводимых в- обрабатываемую воду и устойчиво в ней существующих.
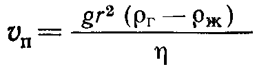
Процесс напорной флотации природных вод следует рассматривать с момента начала движения пузырьков воздуха после их выделения из водовоздушного раствора. Его первым этапом является приближение и прикрепление пузырьков воздуха к хлопьям скоагулированных примесей. Для предотвращения разрушения хлопьев скорость подхода vn пузырьков воздуха к ним должна быть не более скорости движения обрабатываемой воды. Скоростью подхода можно считать скорость подъема пузырьков после их образования. Для нахождения этой скорости можно воспользоваться выражением
(18)
где g — ускорение свободного падения, м/с2; г — радиус пузырька, м; рг, рж — плотность газа и воды, Н/м3; т] — вязкость воды, Па-с.
Практика показывает, что исходя из условий сохранения хлопьев скоагулированных примесей размер пузырьков воздуха должен быть в пределах 20 ... 80 мкм.
Л.И. Шмидтом предложено уравнение для определения эффекта осветления воды флотацией. При выводе уравнения им были сделаны допущения: закрепление пузырьков воздуха происходит только в результате столкновения с частицами примесей, пузырьки образуются в объеме жидкости за очень короткий промежуток времени с постоянной по всему объему плотностью, во время подъема пузырьков частицы не перемешиваются. Число частиц в элементарном слое жидкости толщиной dh, находящихся на расстоянии h0 от дна камеры, в момент времени Т, равно A-k\(T\ h0)dh, где А — площадь камеры; (Т; h0) — количество незакрепившихся на пузырьке частиц в 1 см3. Уменьшение частиц за время Т
(19)
где а — вероятность закрепления пузырьков на частице при подъеме его на 1 см; N — количество пузырьков, образующихся в 1 см3 жидкости, шт; v — скорость подъема агрегатов взвеси и пузырьков, м/с.
Интегрируя уравнение (19), получим
(20)
где ko — количество частиц загрязнений в 1 см3 исходной воды. Учитывая, что v* T=h,a, получим
(21)
Общее число частиц, оставшихся во флотационной камере, я»
(22)
где Н0 — общая высота флотационной камеры, м.
Тогда степень очистки воды может быть выражена как
(23)
Анализируя уравнение (23), можно заключить, что использование его для расчета флотационных установок затруднительно, так как оно не учитывает всего множества факторов, влияющих на процесс очистки воды. Кроме того, в уравнение входят такие величины, как количество выделившихся пузырьков N и вероятность их закрепления на частице а, определение которых весьма сложно. Поэтому на практике для расчета флотационных установок используют две величины: удельную нагрузку на 1 м2 площади и время пребывания воды во флотационной камере. Эти величины определяют предварительными технологическими исследованиями. Наряду с этим за расчетный параметр можно принимать величину скорости выделения загрязнений из воды, определяемую экспериментально, например, по методике, предложенной Л.И. Шмидтом, согласно которой флотационное осветление воды проводят в статических условиях во флотационной колонне из оргстекла. Колонну заполняют исходной водой и вводят порцию мелких пузырьков воздуха. Через некоторое время после начала флотационного процесса в нижней части колонны видна четкая граница между осветленной и исходной водой, которая перемещается вверх. Скорость перемещения границы замеряется в нескольких сечениях по высоте колонны и определяется ее средняя величина, по которой производят расчет флотационной камеры. Для различных вод величина скорости подъема загрязнений варьируется в пределах 2 ... 12 мм/с.
Флотацией можно извлекать из воды нефтепродукты, масла и другие эмульгированные жидкие вещества, радиоактивные соединения, ионы многих растворенных в воде веществ.
Конструкция флотаторов и их расчет
В состав флотационных установок входят флотационные камеры, совмещенные с камерами хлопьеобразования, узлы подготовки и распределения водовоздушного раствора, устройства Для удаления и отвода пены. Флотационные камеры-флотаторы могут быть разнообразных форм (круглые или прямоугольные в плане) и конструкций с горизонтальным и радиальным направлением движения воды.
Наиболее широко используют флотаторы с горизонтальным движением воды. Они могут иметь в плане квадратную и прямоугольную формы. Длина камеры назначается в пределах 3...9 м, ширина до 6 м, отношение ширины к длине — в пределах 2/3 ... 1/3. Глубина слоя воды во флотаторе должна быть 1,5 ...2,5 м. Прямоугольные флотаторы чаще всего бывают вытянуты в плане по ходу движения воды (рис. 11.2), однако на некоторых установках для очистки природных и сточных вод флотаторы вытянуты в плане в направлении, перпендикулярном движению воды. Последний вид флотаторов имеет некоторые преимущества: короче путь движения потока воды, более просто удаление пены с поверхности воды. Но в этом случае возникают трудности с равномерным распределением водовоздушного раствора в объеме обрабатываемой воды. Чтобы добиться равномерности распределения, используют коллектор с большим количеством ответвлений, на которых устанавливают регулировочные краны. Управление этими кранами производят с помощью штоков, выведенных над поверхностью воды в камере. Для улучшения использования всего объема флотатора в некоторых случаях устанавливают продольные перегородки.

Рис. 11.2. Флотатор с горизонтальным движением воды состыкованный с камерой хлопьеобразования зашламленного типа.
1, 10 — подача исходной и отвод осветленной воды; 2, 3 — ввод реагентов; 4 — камера хлопьеобразования; 5 — распределительная система; 6 — зона смешения; 7 — распределительная перегородка; 8 — флотационная камера; 9 — желоб для сбора пены; 11 — передача воды на фильтр; 12 — скорый фильтр; 13 — подача промывной воды; 14 — водосток; 15 — сброс пены.
Во входной части прямоугольной флотационной камеры устанавливают под углом 60... 70° к горизонтали в сторону движения воды струенаправляющую перегородку. Днище флотационной камеры устраивают с уклоном 0,01 к трубопроводу для опорожнения.
Скорость ввода обрабатываемой воды во флотатор не должна превышать скорости ее выхода из камеры хлопьеобразования, поэтому скорость движения обрабатываемой воды над струенаправляющей перегородкой назначают 0,016 ...0,02 м/с.
Равномерное распределение водовоздушной смеси в объеме обрабатываемой воды и формирование мелких воздушных пузырьков достигаются устройством перфорированного трубопровода и размещенного под ним на расстоянии 8... 10 см кожуха из материала, стойкого к кислородной коррозии. Распределительную трубу располагают на расстоянии 0,25 ...0,35 м от дна во входной части флотатора в отсеке, образованном торцовой стенкой аппарата и струенаправляющёй перегородкой. Скорость выхода водовоздушной смеси из отверстий распределителя принимают 20 ...25 м/с, диаметр отверстий 5 ... 8 мм. Отверстия следует располагать равномерно по нижней образующей трубы линейно.
Отвод осветленной воды из флотатора должен производиться равномерно из нижней части камеры с помощью подвесной стенки, направляющей поток к отводу воды из аппарата, либо с помощью отводящей системы из перфорированных труб. Скорость движения воды под подвесной стенкой или в отверстиях водосборной системы принимают 0,9... 1,2 м/с.
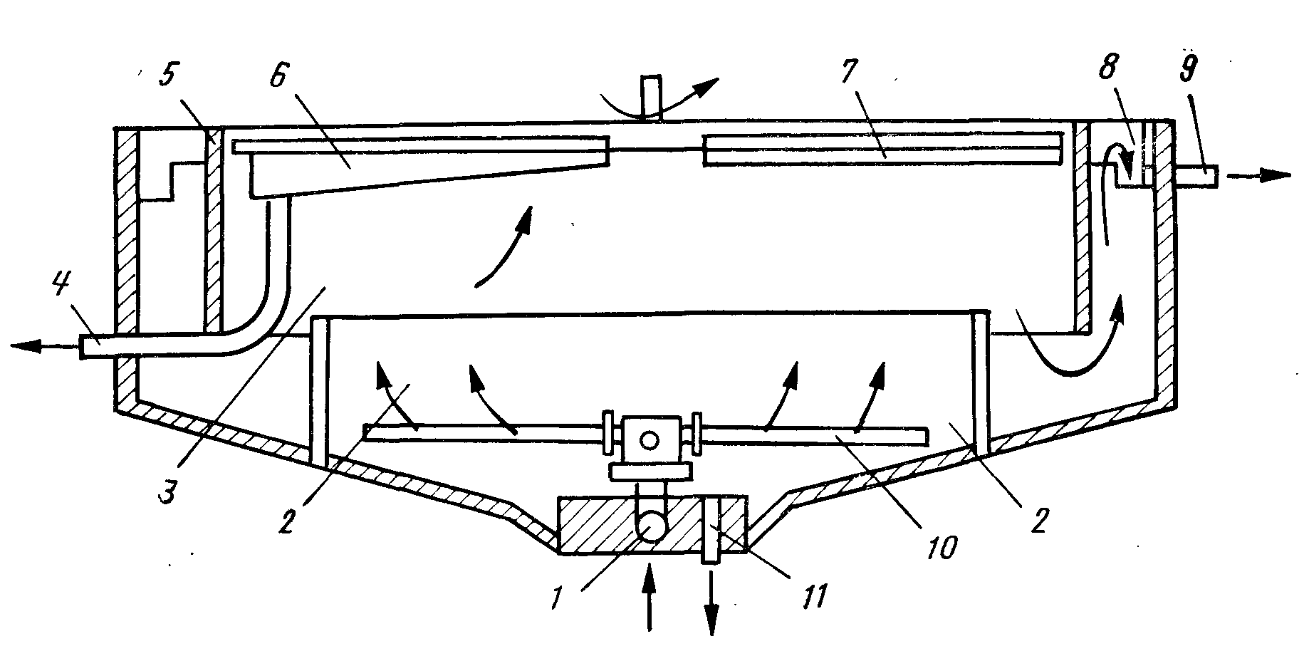
Время флотационного осветления воды для флотатора с радиальным движением воды, изображенного на рис. 11.3, составляет 10... 12 мин. Для насыщения воды воздухом используют 10% воды, прошедшей очистку. Расход воздуха составляет 0,6... 0,75 % от расхода воды. Во флотаторах круглой формы узел сбора и удаления пены проще, однако системы для распределения водовоздушного раствора и обрабатываемой воды сложнее. При строительстве новых очистных сооружений предпочтение следует отдавать флотаторам с горизонтальным движением воды прямоугольной формы в плане, совмещенным с камерами хлопьеобразования (рис. 11.4), с целью предотвращения разрушения хлопьев, сформированных в процессе коагуляции взвеси в воде.
Образование флотационной пены на поверхности воды и способы ее удаления. Пена образуется на поверхности воды в результате всплывания пузырьков воздуха, несущих на себе удаляемые из воды примеси. При флотации природных вод образующаяся пена должна быть достаточно прочной и не допускать обратного попадания загрязнений в воду. Кроме того, пена должна обладать определенной подвижностью при перемещении ее к сбросным устройствам. Устойчивость и подвижность пены зависит от свойств и количества реагентов и загрязнений, вносимых в пенный слой. Стабилизации пены способствует наличие в воде хлопьев коагулянта, мелких частиц взвеси и поверхностно-активных веществ.

Рис. 11.3. Флотатор с радиальным движением воды.
1,9 — подача исходной и отвод осветленной воды; 2 — камера хлопьеобразования; 3 — флотационная камера; 7 — скребковое устройство для удаления пены; 6 — лоток для сбора пены; 4 — удаление пены; 5 — кольцевая перегородка; 8 — кольцевой водосборный лоток; 10 — вращающийся водораспределитель; 11 — отвод осадка
При флотационной обработке природных вод образуются пленочно-структурные пены, которые содержат большое количество воды, особенно в нижних слоях. Это связано с тем, что в пенном слое проходят процессы флокуляции пузырьков и загрязнений. При этом образуются крупные агрегаты, которые объединяются между собой, а находящаяся между ними вода стекает вниз, уменьшая тем самым влажность пены. С точки зрения возможности гидравлической транспортировки пены на дальнейшую обработку влажность ее рекомендуется принимать не менее 94%.

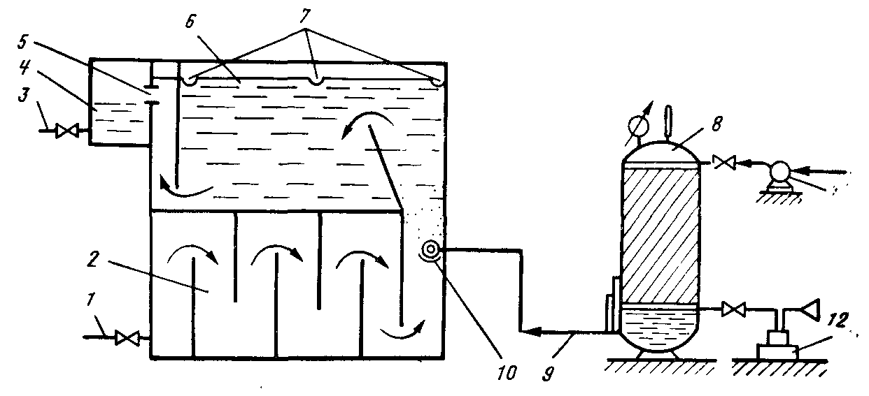
Рис. 11.4. Флотатор совмещенный с перегородчатой камерой хлопьеобразования.
1,3 — подача исходной и отвод обработанной воды; 2 — камера хлопьеобразования; 4 — сборный карман; 5 — окна для отвода обработанной воды; 6, 7 — лотки для сбора и отвода пены; 8 — напорный резервуар; 9 — подача водовоздушной смеси; 10 — отражатель; 11 — насос; 12 — компрессор
Удаление пены из флотатора производят либо кратковременным подъемом уровня воды с отводом ее через подвесные лотки, расположенные равномерно по площади камеры, либо с помощью скребковых механизмов, перемещающих пену к сборным лоткам. Потери воды при сбросе пены подъемом уровня воды принимают 1 ... 1,5% от расхода обрабатываемой воды. При удалении пены скребковыми механизмами скорость движения скребков в прямоугольных камерах принимают до €,02 м/с, в круглых — окружную скорость 0,015... 0,02 м/с, при частоте вращения 6... 10 с-1. Днища лотков выполняют с уклоном 0,025 в сторону отвода пены. Верхние кромки лотков располагают на одной общей отметке на 10... 15 мм выше уровня воды во флотаторе.
В зарубежной практике наибольшее распространение получили скребки-транспортеры, которые применяют для удаления очень вязких пен. Во флотаторах, имеющих в плане круглую форму, применяют вращающиеся скребки (см. рис. 11.3). На установках флотационного осветления используют даже лопастные пеносъемники, которые устанавливают у сливной кромки пеносборного желоба. Кроме того, применяют отдельные скребки, установленные горизонтально во флотационной камере на подвижных тележках. При перемещении тележки по ходу движения воды скребок удаляет пену, при обратном ходе тележки скребок поднимается над поверхностью воды.
В установках электрофлотации обрабатываемая вода движется в межэлектродном пространстве, при этом на поверхности электродов (нерастворимых или растворимых) образуются пузырьки водорода или кислорода, которые флотируют примеси воды. При применении растворимых электродов параллельно с электрофлотацией идет процесс электрокоагуляции, что повышает эффект очистки воды.
ЛИТЕРАТУРА
Алексеев Л.С., Гладков В.А. Улучшение качества мягких вод. М., Стройиздат, 1994 г.
Алферова Л.А., Нечаев А.П. Замкнутые системы водного хозяйства промышленных предприятий, комплексов и районов. М., 1984.
Аюкаев Р.И., Мельцер В.3. Производство и применение фильтрующих материалов для очистки воды. Л., 1985.
Вейцер Ю.М., Мииц Д.М. Высокомолекулярные флокулянты в процессах очистки воды. М., 1984.
Егоров А.И. Гидравлика напорных трубчатых систем в водопроводных очистных сооружениях. М., 1984.
Журба М.Г. Очистки воды на зернистых фильтрах. Львов, 1980.