Монтаж засобів автоматизації в харчовій промисловості
Курсова робота на тему:
"Монтаж засобів автоматизації в харчовій промисловості"
ПЛАН
1. ТЕХНОЛОГІЧНА ЧАСТИНА
1.1 Характеристика приміщення в якому знаходиться об’єкт автоматизації
1.2 Опис системи автоматизації
1.3 Обгрунтування вибору модифікації приладів і контролера, їх технічна характеристика
1.4 Розробка та опис принципової схеми
1.4.1 Вимоги до розробки принципових схем
1.4.2 Розробка та опис принципової схеми
2. МОНТАЖ ПЕРВИННИХ ПЕРЕТВОРЮВАЧІВ
2.1 Передмотажна перевірка приладів та засобів автоматизації
2.2 Монтаж первинних перетворювачів
2.3 Розрахунок та монтаж щитів , таблиця підключень
1. ТЕХНОЛОГІЧНА ЧАСТИНА
1.1 Характеристика приміщення в якому знаходиться об’єкт автоматизації
Тістомісильне відділення розташоване на першому поверсі і складається із дозатора борошна, збірника опари, дозатора опари та самої тістомісильної машини.
Приміщення тістомісильного відділення характеризується підвищеною температурою повітря. Оскільки в даному приміщенні здійснюється приготування продуктів харчування, то в ньому підтримується особлива чистота і за санітарною характеристикою це приміщення відноситься до групи 4а.
За станом повітряного середовища приміщення відноситься до сухих. Запиленість та вміст шкідливих речовин у повітрі не перевищують гранично допустимих концентрацій.
У приміщенні використовується природнє бокове одностороннє освітлення, яке застосовується у світлу пору доби для економії електроенергії та комбіноване штучне освітлення, яке частково доповнює природнє і замінює його у темну пору доби. Освітленість складає 330 лк на висоті 0,8 м від підлоги, що відповідає вимогам СНіПу ( норма 300-400 лк).
По відношенню ураження людей електричним струмом приміщення відноситься до приміщень з підвищеною небезпекою.
За пожежовибухонебезпечністю дане приміщення відноситься до категорії Г, оскільки в ньому крім тістомісильного відділення також знаходиться хлібопекарська піч яка є основним джерелом небезпеки виникнення пожежі. За класифікацією будівель по вибухонебезпечності приміщення належить до класу В-1г, за пожежонебезпечністю –до класу П-II.
Ступінь захисту приладів і засобів автоматизації від пилу і вологи складає ІР-33. Цей ступінь захисту є достатнім про нормальних умовах повітряного середовища, а в даному приміщенні повітря є сухим і має низьку вологість і в повітрі майже немає пилу.
Так, як приміщення має підвищену температуру і повітряне середовище є сухим, проводку можна прокладати в водогазопровідних або в електрозварних сталевих трубах.
1.2 Опис системи автоматизації
Система автоматизації ( Додаток А) має п’ять контурів: два контури регулювання рівня, два контури регулювання маси та один контур контролю тиску. Із функціональної схеми було вибрано чотири основних контури регулювання, які є основними для даної схеми автоматизації.
Перший контур регулювання рівня здійснює регулювання рівня борошна в дозаторі. Рівень борошна вимірюється за допомогою хвилеводного рівнеміра Rosemount 5300 (позиція 1а). При зміні рівня борошна змінюється інтенсивність відбивання радіоімпульсу в чутливому елементі і сигнал про нове значення вимірюваної величини подається на мікропроцесорний контролер ОВЕН ПЛК154-24.И-L. Сигнал перетворюється, реєструється, регулюється і виходить на вищий рівень – ЕОМ. З ЕОМ сигнал надходить на контролер, з контролера на електропневматичний перетворювач типу ЭП-1211 (позиція 1б), де він перетворюється в уніфікований пневматичний сигнал 20-100 при тиску живлення 140 кПа. Цей сигнал потім подається на один з регулюючих пневматичних клапанів 25ч30нж ( позиції 1в, 1г), які відкривають подача повітря і цим самим регулюють рівень борошна в дозаторі.
Другий контур призначений для регулювання маси борошна, яке надходить в тістомісильну машину. В нижній частині дозатора борошна розташований тензодатчик Flintec SB8, який спрацьовує коли на нього діє певна визначена маса борошна. При цьому датчик деформується і його опір змінюється. Ця зміна фіксується за допомогою перетворювача сигналу тензодатчиків Seneca Z-SG ( позиція 2б), який видає уніфікований струмовий сигнал, який потім подається на контролер, де він обробляється реєструється і надходить на ЕОМ. З ЕОМ сигнал знову надходить на контролер з дискретного виходу якого сигнал подається на ключ вибору режиму Harmony XB4-BD(позиція 2в), який перемикає управління двигуном на ручний або автоматичний режим. До ключа під’єднана кнопка Harmony XB4-BL42 ( SB1), завдяки якій здійснюється управління в ручному режимі. З ключа керуючий сигнал подається на магнітний пускач ПМЛ 1100 (КМ1), що вмикає двигун, який в свою чергу відкриваю заслонку і визначена маса борошна надходить до тістомісильної машини.
Третій контур здійснює регулювання рівня в збірнику опари. При зміні рівня уніфікований струмовий сигнал 4-20 мА з радарного рівнеміра Rosemount 5400 ( позиція 4а) надходить на контролер, а потім на ЕОМ. З ЕОМ сигнал знову надходить на контролер, з якого дискретний сигнал подається на електроклапан ЭК3-32 ( позиція 4б ), який відкриває або закриває подача опари і цим регулює рівень у збірнику.
Четвертий контур застосовують для регулювання маси опари, що надходить до тістомісильної машини. У дозаторі встановлений тензодатчик САS MNC-50L ( позиція 5а), який при збільшенні маси деформується і змінює свій опір. Електричний сигнал зміни опору надходить на перетворювач сигналу тензодатчиків Seneca Z-SG ( позиція 5б), з якого уніфікований струмовий сигнал надходить на контролер, а потім на ЕОМ. Після обробки з двох дискретних виходів контролера виходять регулюючі сигнали, один з яких подається на електроклапан ЭК3-32 ( позиція 5в), що відкриває подачу опари до тістомісильної машини, а інший - на такий самий електроклапан ( позиція 5г), який закриває подачу опари в дозатор і цим самим запобігає його переповненню.
1.3 Обгрунтування вибору модифікації приладів і контролера, їх технічна характеристика
Контур регулювання рівня борошна
1. Борошно відноситься до сипучих порошкових речовин і при вимірюванні його рівня виникають певні труднощі. Борошно нагнітається в дозатор і над межею поділу двох середовищ утворюється пил, який викликає значну похибку вимірювання при застосуванні безконтакних рівнемірів. Також борошно має властивість налипати на чутливі елементи рівнемірів і тому треба періодично проводити чисту чутливого елементу. В якості вимірювача в даному контурі найдоцільніше вибрати хвилеводний рівнемір Rosemount 5300 (позиція 1а) з гнучким однопровідним зонтом. Цей прилад має особливу конструкцію сенсора завдяки якій борошно не буде налипати на нього і точність визначення рівня буде досить високою. Крім того даний прилад забезпечує високу надійність, сучасні міри забезпечення безпеки, простоту використання і необмежені можливості підключення та інтеграції в системи АСУ.
Технічні характеристики:
Вимірювані середовища: рідкі (нафта, темні і світлі нафтопродукти, вода, водні розчини, зріджений газ, кислоти та ін.), сипучі (пластик, зольний пил, цемент, пісок, цукор, злаки і т. д.)
Тиск процесу:
від -0,1 до 1 МПа ( стандартно);
від -0,1 до 34,5 МПа ( виконання НТНР і НР)
Діапазон вимірювань рівня: від 0,4 до 50 м
Вихідний сигнал: 4-20 мА з цифровим сигналом на базі HART-протокола, Foundation fieldbus
Похибка вимірювання рівня + 3 мм
Наявність вибухонебезпечного виконання
Ступінь захисту від впливу пилу та вологи IP66/IP67
2. Електропневматичний перетворювач типу ЭП-1211 (позиція 1б) здійснює безперервне перетворення уніфікованого сигналу постійного струму в уніфікований аналоговий пневматичний сигнал. Цей прилад я вибрав через те, що він має нескладну конструкцію, простий в обслуговуванні та ремонті, високу надійність.
Технічні характеристики:
Діапазон зміни вхідних струмових сигналів: 0-5, 0-20, 4-20 мА.
Вихідний сигнал - аналоговий пневматичний сигнал 20-100 кПа.
Номінальний тиск повітря живлення 140 кПа.
Межа допустимої похибки, вираженої у відсотках від номінального. діапазону вихідного сигналу 80 кПа не повинна перевищувати 1%.
Напруга живлення- 24 В.
Діапазон
робочих температур - від +5 до +60
Відносна вологість навколишнього повітря – до 80%.
Витрати повітря живлення в установленому режимі - 2 л/хв.
Маса 1кг.
3. З електропневматичного перетворювача уніфікований пневматичний сигнал надходить на два пневматичні клапани 25ч30нж ( позиції 1в, 1г), які і здійснюють регулювання. Ці клапани є морально застарілими, але через їх невелику вартість, просту конструкцію, надійність, легкість при обслуговуванні та ремонті вони й зараз широко застосовуються на більшості підприємств. Ці регулюючі органи також можна використати і в тістомісильному відділенні, де вони забезпечать високу якість регулювання.
Технічні характеристики:
Межа зміни командного тиску – 20-100 кПа.
Максимальне відхилення дійсної ходової характеристики від розрахованої - не більше повного робочого переміщення штока.
Умовний діаметр 15 мм.
Максимально допустимий тиск – 16 атм.
Температура
навколишнього середовища – від -15 до
+220
Матеріал корпуса – чавун.
Контур регулювання маси борошна в дозаторі
1. Тензодатчик Flintec SB8 визначає масу борошна, що дозується в тістомісильну машину. Цей датчик має конструкцію типу "консольна балка на зсув", яка є однією з найбільш поширених в промислових вимірюваннях маси. Цей датчик має високий ступінь захисту від пилу та вологи, забезпечує значну точність, є досить надійним. Крім того він виготовлений з нержавіючої сталі, а отже не піддається корозії. Саме завдяки цим перевагам він використовується для вимірювання маси борошна в дозаторі.
Технічні характеристики:
Межі вимірювань – від 10 до 500 кг
Робочий коефіцієнт передачі (РКП) – 2,0 + 0,1% мВ/В.
Комбінована похибка, - <= + 0.03%РКП.
Робочий
діапазон температур – від -30 до +40

Вхідний опір – 380+10 Ом.
Вихідний опір - 350+3 Ом.
Діапазон напруги живлення – 5-15 В.
Допустиме перевантаження – 200%
Руйнуюче перевантаження – 300%
Матеріал корпуса – нержавіюча сталь
Ступінь захисту від впливу пилу та вологи IP66/IP67
2. З тензодатчика природній сигнал подається на перетворювач сигналу тензодатчиків Seneca Z-SG ( позиція 2б), який на виході видає уніфікований струмовий сигнал 4-20 мА. Завдяки цьому перетворювачу перетворений сигнал від тензодатчика можна подавати безпосередньо на контролер, який в свою чергу в залежності від програми буде виконувати певні дії. Цей перетворювач має багато різних технологічних режимів. В залежності від настройок його функції можуть змінюватись, тобто він є програмуємим, що дуже важливо при використанні його в сучасних схемах автоматизації. В технології тістоприготування кількість борошна має дуже велике значення, оскільки вона впливає на конситенсію і смак майбутніх виробів. Даний перетворювач має високу точність і забезпечить мінімальну похибку в дозуванні борошна. Тому його використання в даній системі є доцільним.
Технічні характеристики:
Напруга живлення – 10 - 40 В.
Споживана потужність – макс. 2 Вт.
Тип вводу – 6 або 4-провідн.вхідного порогу вимірювань.
Вимірювальний діапазон – від + 5 до + 320 мВ.
Похибка – 0,01% від діапазону вимірювань.
Вихідний сигнал – 4-20 мА.
АЦП- 24 біта.
Робочий
діапазон температур – від -10 до +65

Відносна вологість навколишнього повітря – 30 – 90% без конденсату.
Ступінь захисту від впливу пилу та вологи IP20
3. З дискретного виходу контролера сигнал надходить на ключ вибору Harmony XB4-BD (позиція 2в), який переключає управління двигуном привода заслонки на ручне або автоматичне. У випадку відмови контролера можна переключитись на ручний режим і вручну керувати заслонкою. Кнопка Harmony XB4-BL42 ( SB1) необхідна для здійснення ручного управління. Ключ і кнопка мають металеву оцинковану основу, яка забезпечує міцність і надійність. Також вони мають ергономічний дизайн і завдяки цьому роблять управління приводом заслонки ще зручнішим.
Технічні характеристики:
Робочий струм – 2 А.
Робоча напруга – 24 В.
4. Безпосереднє включення двигуна приводу заслонки здійснює магнітний пускач ПМЛ 1100 (КМ1). При подачі на нього дискретного сигналу він замикається і замикає електричне коло живлення двигуна. Цей пускач витримує високі струми, має невеликі габарити, просту конструкцію, яка забезпечує простоту і зручність в обслуговуванні. Помінявши катушку, ми можемо змінити робочу напругу пускача і через це він є універсальним і може застосовуватись в багатьох колах управління.
Технічні характеристики:
Робоча напруга – 230, 400 В.
Напруга ізоляції – 660В
Номінальний комутуємий струм – 9, 12 А
Потужність навантаження при 230В – 2,2; 3,0 кВт.
Потужність навантаження при 400В – 4,0; 5,5 кВт.
Напруга катушок управління – 24, 36, 42, 110, 230, 400 В.
Загальна кількість контактів – 10 шт.
Контур регулювання рівня опари у збірнику
1. Опара є суспензією і відноситься до в’язких рідин. Вона є густою і може налипати на чутливий елемент вимірювача, якщо ми будемо використовувати контактний метод вимірювання рівня. При цьому налипання буде вносити похибку і значно знизить точність виміру. Також чутливий елемент потребуватиме постійної чистки, що значно підвищить складність експлуатації. Тому доцільніше використовувати безконтактний спосіб виміру. При цьому методі сенсор не буде контактувати з вимірюваним середовищем і не потребуватиме чистки, його експлуатація буде значно простішою, а похибка меншою. В якості вимірювача доцільно вибрати радарний рівнемір Rosemount 5400 ( позиція 4а). Цей прилад може застосовуватись для різних рідин, що володіють різними властивостями та мають широкий діапазон температур та тисків. Рівнемір має покращену здатність слідкування за поверхнею тому дозволяє проводити найкращі вимірювання навіть в погіршених умовах. Прилад також має велику надійність вимірювання, та високу чутливість. Завдяки вихідному сигналу 4-20 мА з накладеним цифровим сигналом HART його можна використовувати в АСУ будь-якої складності.
Технічні характеристики:
Вимірювані середовища: нафтопродукти, луги, кислоти, розчинники, водні розчини, алкогольні і слабоалкогольні напої, пульпи, суспензії та інші рідини
Температура
процесу від -40 до +150
.
Тиск процесу від -0,1 до 1 МПа.
Температура
навколишнього повітря – від -40 до 80
.
Вихідні сигнали: 4-20 мА с цифровим на базі HART або Foundation Fieldbus.
Виконання: звичайне, вибухозахищене.
Ступінь захисту від впливу пилу та вологи IP67
Міжповірочний інтервал – 2 роки
2. Рівень опари регулюється завдяки електроклапану ЭК3-32 ( позиція 4б). Цей клапан сприймає дискретний сигнал від контролера і на основі позиційного закону здійснює регулювання. Серед переваг цього клапана, які зумовлюють його широке використання є проста конструкція, можливість підстройки, легкий монтаж і демонтаж, висока надійність та можливість безпосереднього підключення до контролера без використання додаткових пристроїв.
Технічні характеристики:
Напруга живлення - 24 В +10% .
Споживаний струм – не більше 1,5 А.
Час повного відкриття (закриття) електроклапана – 5с+20%
Максимальний тиск рідких компонентів в електроклапані – не більше 0,5 МПа.
Максимальна
температура подаваємих рідких компонентів
– 100
.
Середні строк служби – 3 роки.
Контур регулювання маси опари у дозаторі
1. Вимірювання маси опари здійснює тензодатчик САS MNC-50L ( позиція 5а). Тензодатчик СAS характеризується високою точністю, надійністю, він має широкий діапазон вимірюваних мас, значний ступінь захисту від пилу та вологи що дозволяє використовувати його в багатьох процесах. Також цей тензодатчик має невеликі розміри і його можна використовувати при недостатньому просторі. І тому в даній системі досить доцільно застосовувати саме САS MNC-50L.
Технічні характеристики
Межа вимірювань – до 50 кг
Робочий коефіцієнт передачі (РКП) – 2,0 + 0,005 мВ/В.
Комбінована похибка, - <= + 0.15%РКП.
Робочий
діапазон температур – від -30 до +40

Вхідний опір – 420+30 Ом.
Вихідний опір - 350+3,5 Ом.
Діапазон напруги живлення – 10-15 В.
Опір ізоляції - >2,000 МОм
Матеріал корпуса – нержавіюча сталь
Ступінь захисту від впливу пилу та вологи IP67
2. Після тензодатчика сигнал подається на перетворювач Seneca Z-SG ( позиція 5б), який перетворює його в струмовий сигнал для його подальшої передачі на контролер. Переваги та технічні характеристики даного приладу наведені вище.
3. З контролера дискретний сигнал надходить на два електроклапани ЭК3-32( позиція 5в, 5г), один з яких перекриває надходження опари в дозатор, інший відкриває подачу опари в тістомісильну машину. Обгрунтування вибору та технічні характеристики клапанів описані на сторінках
Всі вимірювачі та перетворювачі підключаються до контролера, який виконує функції виміру, реєстрації, регулювання, сигналізації та ін.
Врахувавши кількість вхідних аналогових та дискретних сигналів та вихідних сигналів управління обрана модифікація контролера ОВЕН ПЛК154-24.И-L. Цей контролер має чотири дикретних і чотири аналогових входів і виходів. З них використовуються чотири аналогові входи і два аналогових виходи, а також чотири дискретних виходи.
Завдяки невеликій канальості ОВЕН ПЛК154-24.И-L дозволяє, з одного боку, економічно управляти невеликим агрегатом і, з іншого, забезпечити високу надійність великих систем управління.
Контролер ОВЕН ПЛК154-24.И-L дозволяє вести локальне, каскадне, програмне, супервізорне управління технологічним процесом, архітектура контролера забезпечує можливість вручну або автоматично включати відключати, перемикати і комбінувати контури регулювання, причому всі ці операції виконуються незалежно від складності структури управління. В поєднанні з обробкою аналогових сигналів контролер ОВЕН ПЛК154-24.И-L дозволяє виконувати також логічні перетворення сигналів і виробляти не тільки аналогові або імпульсні, але і дискретні команди управління. Логічні функціональні блоки формують логічну програму крокового управління з аналізом умов виконання кожного кроку, завданням контрольного часу на кожному кроці і умовним або безумовним переходом програми до заданого кроку. Ці засоби дозволяють в ручну змінювати режими роботи, встановлювати завдання, управляти ходом виконання програми, в ручну управляти виконавчими пристроями, контролювати сигнали і відображати помилки. Стандартні аналогові і дискретні датчики і виконавчі пристрої підключаються до контролера ОВЕН ПЛК154-24.И-L за допомогою індивідуальних кабельних зв'язків. У середині контролера сигнали обробляються в цифровій формі.
Контролери ОВЕН ПЛК154-24.И-L можуть об'єднуватися в локальну управляючу мережу шинної конфігурації. Для такого об'єднання ніяких додаткових пристроїв не вимагається. Через мережу контролери можуть обмінюватися інформацією в цифровій формі. Технічні характеристики контролера подані в таблиці 1.
Таблиця 1 Основні технічні характеристики мікропроцесорного контролера ОВЕН ПЛК154-24.И-L
-
Параметр
Значення
Загальні відомості
Конструктивне виконання
Уніфікований корпус для кріплення на DIN-рейку, довжина 105 мм (6U), крок клем 7,5 мм
Ступінь захисту корпуса
ІР20
Напруга живлення
18…29 В постійного струму
(номінальна 24 В)
Споживана потужність
6 Вт
Індикація передньої панелі
1 індикатор живлення
6 індикаторів дискретних входів
4 індикатора стану виходів
1 індикатор зв’язку з СoDebus
1 індикатор роботи програми користувача
Ресурси
Центральний процесор
32-х розрядний RICS-процесор 200 МГц на базі ядра ARM9
Об’єм оперативної пам’яті
8 Мб
Час виконання циклу ПЛК
Мінімальне 250 мкс, типове від 1 мс
Дискретні входи
Кількість дискретних входів
4
Гальванічна ізоляція дискретних входів
Є, групова
Електрична міцність ізоляції дискретних входів
1,5 кВ
Максимальна частота сигналу, що подається на дискретний вхід
1 кГц при програмній обробці
10 кГц при застосуванні апаратного лічильника і обробки енкодера
Дискретні виходи
Кількість дискретних виходів
4 є/м реле
Характеристики дискретних виходів
Струм комутації до 2А при напрузі не більше 220 В і 50 Гц і
>0.4Гальванічна ізоляція дискретних виходів
Є, індивідуальна
Електрична міцність ізоляції дискретних виходів
1,5 кВ
Аналогові входи
Кількість аналогових входів
4
Типи підтримуємих уніфікованих вхідних сигналів
Напругу 0…1 В, 0…10В, -50…+50 мв
Струм 0…5 мА, 0(4)…20 мА
Опір 0…5 кОм
Час опитування одного аналогового входу
0,5 с
Межа основної похибки вимірювання аналоговими входами
0,5%
Гальванічна ізоляція аналогових входів
Відсутня
Аналогові виходи
Кількість аналогових виходів
4
Розрядність ЦАП
10 біт
Тип вихідного сигналу
Струм 4-20 мА
Живлення аналогових виходів
Вбудоване, загальне на всі виходи
Гальванічна ізоляція аналогових виходів
Є, групова
Електрична міцність ізоляції аналогових виходів
1,5 кВ
Інтерфейси зв’язку
Інтерфейси
Enthernet 100 Base-T
RS-232
RS-485
Швидкість обміну по інтерфейсам
від 4800 до 115200 bps
Протоколи
ОВЕН
ModBus-RTU, ModBus-ASCII
DCON
ModBus-TCP
Gateway ( протокол CoDeSys )
Програмування
Середовище програмування
CoDeSys 2,3
1.4 Розробка та опис принципової схеми
1.4.1 Вимоги до розробки принципових схем
Принципова схема – схема, кожний елемент якої, виконуючи визначену функцію не може бути розділений на частини, що мають самостійне функціональне призначення. Ці схеми відображають принципи дії систем управління, сигналізації, вимірювання, регулювання і взаємодії між окремими їх елементами, а також способи електроживлення приладів і засобів автоматизації. На основі принципових схем, що визначають повний склад елементів і зв’язок між ними, розроблюються інші матеріали проекта: загальні види щитів, їх монтажні схеми, схеми зовнішніх з’єднань. Тому правильна розробка принципової схеми відіграє дуже важливе значення для подальшого проектування.
Принципові схеми управління, сигналізації, вимірювання, регулювання, живлення, що входять до складу проекта автоматизації технологічних процесів, виконують у відповідності з вимогами ГОСТів, які регламентують правила виконання схем, умовні графічні та буквенно-цифрові позначення елементів схем, маркування кіл.
Схеми виконуються без дотримання масштабу. Графічні позначення елементів і з’єднуючі їх лінії зв’язку розміщуються на схемі так, щоб забезпечити найкращу уяву про взаємне розміщення її складових частин. При багатолінійному виконанні зображення кожне коло зображають окремою лінією, а елементи, що містяться в цих колах, - окремими умовними графічними позначеннями. Схеми, як правило, виконуються для об’єктів автоматизації що знаходяться у відключеному (неробочому) стані.
Cхеми живлячого кола доцільно виконувати в однолінійному зображенні. При цьому способі кола з ідентичними функціями зображають однією лінією, а однакові елементи цих кіл – одним умовним графічним зображенням. При однолінійному зображенні скорочується об’єм графічних робіт, зменшуються розміри схеми без якої-небудь втрати наглядності та зручності користування нею.
Дані про елементи, що входять до складу принципової схеми: повинні бути записані в перелік елементів, який оформляється у вигляді таблиці. В першій графі цієї таблиці представлено позиційне позначення апарата, приладу по принциповій схемі, в другій – його найменування, в третій – кількість, в четвертій – необхідні примітки.
При графічному зображенні принципових схем всі кола виконуються горизонтальними лініями в порядку послідовності дії апаратів в часі, починаючи з моменту знаходження їх у вихідному стані. Кожен елемент принципової схеми повинен мати умовне позначення у відповідності з вимогами ГОСТів. Позиційні позначення проставляють на схемі поряд з умовними графічними позначеннями елементів з правого боку або над ними.
Ділянки кіл принципових схем маркують для їх позначення, а також для відображення їх функціонального призначення в електричній схемі. По ГОСТу всі ділянки кіл електричних кіл, розділені контактами апаратів, обмотками реле, приладів, машин резисторами та іншими елементами, повинні мати різне маркування. Ділянки кіл, що проходять через роз’ємні, розбірні та нерозбірні контактні з’єднання, повинні мати однакове маркування. Кола маркуються від вводу джерела живлення до споживача, а розгалужені ділянки кола зверху вниз – в напрямі зліва направо. Маркування, як правило, проставляється: при горизонтальному розміщенні кіл - над ділянкою провідника, при вертикальному розміщенні кіл – справа від ділянки провідника.
Пневматичні засоби автоматизації на принципових схемах зображаються у вигляді прямокутника з вказівкою всередині або поблизу від них умовного позиційного позначення і заводського типу приладу. Як правило, в прямокутниках вказуються також номера приєднувальних штуцерів приладу і пристроїв для підключення імпульсних, командних та живильних ліній зв’язку. Перемикаючі пристрої зображують у розвернутому вигляді у відключеному положенні. Для зручності читання і полегшення роботи вторинні прилади з вбудованими станціями управління можуть зображатися в розгорнутому виді. Трубні проводки маркуються арабськими цифрами, перед кожною цифрою ставиться нуль.
1.4.2 Розробка та опис принципової схеми
На розробленій принциповій схемі зображені вимірювачі, міжсистемні перетворювачі, виконавчі, механізми та інші засоби автоматизації, а також контролер та ЕОМ. В даній схемі також передбачені три блоки живлення, які здійснюють живлення контролера та інших засобів автоматизації. Першим до контролера підключається хвилеводний рівнемір Rosemount 5300(позиція 1а). Цей прилад видає уніфікований струмовий сигнал 4-20 мА і тому його можна безпосередньо підключати до контролера не встановлюючи додаткових перетворювачів. Рівнемір підключається до аналового входу контролера (контакти 25, 26) Живлення цього приладу здійснюється від блока МТМ-101. Живлення підключається в розрив провідників знімання сигналу. При цьому в коло живлення включається резистор навантаження опором 250 Ом. На рівнемірі також є спеціальний болт до якого приєднується заземлення. Радарний рівнемір Rosemount 5400 (позиція 4а) підключається аналогічно. Тензодатчик Flintec SB8 (позиція 2а) підключаються до контролера через перетворювач Seneca Z-SG (позиції 2б, 5б), який видає уніфікований сигнал. Перетворювач також живиться від блоку МТМ 101 напругою постійного струму 24 В. Цей перетворювач має один аналоговий і один дискретний вихід. Аналоговий вихід перетворювача підключається до аналогового входу контролера ( контакти 29, 30). Тензодатчик CAS MNC 50L підключається аналогічно попередньому. Різницею в їх підключенні є те, що Flintec SB8 підключається до перетворювача по шестипровідній схемі з наявністю зворотнього зв’язку. Другий тензодатчик підключається по чотирипровідній схемі без зворотнього зв’язку.
В даному контролері задіяно три дискретних і два аналогових вихода. До трьох дискретних виходів підключаються електроклапана ЭК3-32 (позиції 4б, 5в, 5г). Блок живлення послідовним з’єднанням приєднується в електричне коло між дискретним виходом контролера та контактами електроклапана. Плюс блока живлення подається на один з контактів дискретного виходу контролера, інший контакт дискретного виходу підключається до плюса електроклапана і потім мінус електроклапана підключається до мінуса блока живлення. Таким чином ми отримаємо електричне коло, яке замкнеться при спрацюванні контролера і на електроклапан буде подаватись живлення що призведе до його спрацювання. Живлення електроклапанів напругою 24 В здійснюється від другого блока живлення МТМ-101. З двох аналогових виходів сигнал 4-20 мА подається на електропневматичний перетворювач ЭП-1211( позиції 1б, 1г). До цього перетворювача підключається електричне живлення від блока МТМ-144 та пневматичне живлення 140 кПа від колектора низького тиску. З ЕПП вихідний уніфікований пневматичний сигнал 20-100 кПа подається на клапани 25ч30нж ( позиція 1в, 1д) і призводить до їх спрацьовування. Живлення клапанів здійснюється тиском 0,2 МПа від колектора високого тиску. Контролер ОВЕН ПЛК154-24.И-L також підключається до комп’ютера Phenom II за допомогою інтерфейса RS-232 (COM-порта). Це з’єднання дозволяє програмувати контролер за допомогою ЕОМ, спостерігати протіканням процесу, у випадку необхідності вносити зміни в технологічний режим та ін.
2. МОНТАЖ ПЕРВИННИХ ПЕРЕТВОРЮВАЧІВ
2.1 Передмотажна перевірка приладів та засобів автоматизації
Передмонтажна перевірка хвилеводного рівнеміра Rosemount 5300 та радарного рівнеміра Rosemount 5400
Першим кроком перед монтажної повірки цього приладу є його зовнішній огляд, при якому прилад перевіряють на відсутність зовнішніх дефектів корпуса приладу, пошкодження чутливого елемента, рідинно-кристалічного дисплея, цілісність з’єднувальних провідників, їх ізоляції, а також комплектність приладу. При виявленні хоча б одного з перерахованих дефектів прилад не підлягає експлуатації і відправляється на завод-виробник для проведення гарантійного ремонту.
Після зовнішнього огляду здійснюють вимірювання опору ізоляції з’єднувальних провідників. Для цього використовують мегомметр напругою 500 В. Вимірювання опору здійснюють між корпусом та кінцем провідника. Виміряний опір ізоляції повинен відповідати значенню, вказаному в інструкції на прилад. Якщо він є меншим від номінального то прилад не можна експлуатувати.
Виробник гарантує справність та точність приладу і тому його повірка здійснюється на заводі виробника. Тому прилад не потребує додаткової повірки і після зовнішнього огляду та вимірювання опору ізоляції може встановлюватись на обладнання.
Передмонтажна перевірка тензодатчиків Flintec SB8 та СAS MNC 50L
Спочатку передмонтажної перевірки здійснюють зовнішній огляд тензодатчика. При зовнішньому огляді перевіряють цілісність корпуса приладу, кріпильних елементів; відсутність пошкодження з’єднувальних провідників та ін. При виявлені якихось дефектів прилад повертається виробнику.
Вимірювання опору ізоляції здійснюють тераомметром. Один щуп тераомметра прикладають до корпуса, інший – до кінця провідника. Опір ізоляції для тензодатчика Flintec SB8 повинен бути не меншим 5 ГОм, а для тензодатчика СAS MNC 50L – більше 2 Гом. Крім того за допомогою омметра визначають вхідний та вихідний опір. Вхідний опір Flintec SB8 – 380+10 Ом; СAS MNC 50L – 410+30 Ом і вихідний опір відповідно 350+3 і 350+3,5. Якщо виміряний опір не відповідає допустимим значенням то прилад не експлуатують, а відправляють на гарантійний ремонт.
При повірці тензодатчика його підключають до контролера та ЕОМ. Без навантаження тензодатчика на ЕОМ повинен відображатись нуль. Потім на тензодатчик встановлюють вантажі різної маси. Маса цих вантажів є заздалегідь відомою, оскільки вона виміряна іншими засобами вимірювання. Фактичну масу порівнюють з масою, що вимірюється тензодатчиком і відображається на ЕОМ. Різниця цих мас складатиме похибку вимірювання. Похибка тензодатчика повинна відповідати його класу точності, вказаному в інструкції ( Додаток Б ).
Передмонтажна перевірка електропневматичного перетворювача ЭП-1211
При проведенні перевірки необхідно здійснити зовнішній огляд, перевірити початок діапазону вихідного сигналу (установку нуля), діапазон зміни вихідного сигналу, герметичність пульсацію вихідного сигналу, основну похибку і варіацію.
При зовнішньому огляді повинна бути встановлена відповідність перетворювачів вимогам комплектності і маркуванню. Перетворювачі не повинні мати пошкоджень і дефектів, що погіршують їх зовнішній вигляд і перешкоджають їх застосуванню в експлуатації.
При перевірці діапазону вхідного сигналу на вхід подається електричний сигнал, рівний нижньому а потім верхньому значенню вхідного сигналу. При цьому на виході перетворювача повинен бути пневматичний сигнал, відповідно рівний 20 і 100 кПа з допустимим відхиленням, що не перевищує величину похибки перетворювача.
Перевірка початку діапазону початку вихідного сигналу проводиться при тиску живлення 140 кПа і при нижньому значенні вхідного сигналу.
Перевірка герметичності проводиться шляхом подачі на вхід перетворювача струму, рівному верхньому значенню, а в лінію живлення перетворювача тиск 160 кПа. При цьому в місцях з’єднання пневматичних ліній витік повітря не допускається.
Розмах пульсації вихідного сигналу повіряють по зразковому манометру з верхньою межею вимірювання 100 кПа, встановленому на кінці пневматичної лінії довжиною не більше 4 м. Повірку здійснюють при значеннях вихідного сигналу 20 і 100 кПа або близьких до них значеннях. Розмах пульсації не повинен перевищувати 0,5 межі допустимої основної похибки. Основну похибку визначають не менше, ніж при п’яти значеннях вхідних (вихідних) сигналів перетворювачів.
Кожному значенню вихідного сигналу повинно відповідати своє значення вхідного сигналу.
Таблиця 2 Співвідношення між вхідним і вихідними сигналами
-
мА
кПа
4
20
8
40
12
60
16
80
20
100
Основну похибку визначають як різницю між розрахованим і дійсним значеннями вхідного сигналу перетворювача, виражену у відсотках від його діапазону. Схема повірки наведена в додатку Б.
Передмонтажна перевірка електроклапана ЭК3-32
Спочатку передмонтажної перевірки здійснюють зовнішній огляд, при якому визначають відсутність видимих дефектів, а також перевіряють комплектність клапана згідно інструкції.
Після зовнішнього огляду здійснюють перевірку опору ізоляції струмоведучих частин, провідників. Для цього використовують мегомметр напругою 500 В. Один щупом торкаються корпуса, а іншим - кінця провідника. Виміряний опір ізоляції повинен бути не менше 1 МОм. При виявленні недоліків на двох перших стадіях перевірки клапан не підлягає подальшій експлуатації.
Також в процесі передмонтажної повірки здійснюють визначення відхилення дійсного ходу штока та настройка довжини штока. При подачі на клапан напруги 24 В шток повинен здійснити повне переміщення регулюючого органу, а при знятті напруги повинен повертатись у початкове положення. Якщо цього не відбувається, то клапану необхідна підстройка.
Передмонтажна повірка пневматичного клапана 25ч30нж
Передмонтажна повірка включає: зовнішній огляд, визначення відхилення дійсного ходу штока, порогу чутливості, настройка довжини штока.
Після проведення зовнішнього огляду здійснюють саму повірку клапана.
Для цього відключають виконавчий механізм від електропневматичного перетворювача і підключають до задатчика тиску. Змінюючи подачу тиску на виконавчий механізм, який контролюється за допомогою зразкового манометра, спостерігають за переміщенням регулюючого органу :
при 20 кПа клапан повинен буде повністю відкритий;
при 60 кПа клапан повинен закритись наполовину;
при 100 кПа клапан має повністю закритись.
При наявності відхилень від вище вказаних даних необхідно провести ремонт виконавчого механізма.
Поріг чутливості визначають при 20, 50, 80% значення командного сигналу, як при збільшенні так і при зменшенні. Для визначення порога чутливості поступово збільшують чи зменшують командний тиск до момента зміщення штока і проводять відлік по манометру. Якщо всі етапи передмонтажної повірки пройшли вдало то клапан можна встановлювати на обладнання.
2.2 Монтаж первинних перетворювачів
Основним при монтажу вимірювальних перетворювачів і відбірних пристроїв являється правильний вибір місця установки і конструктивне рішення вузла пристрою, яке відповідає умовам роботи даного пристрою і експлуатаційним вимогам. Ці питання вирішуються в процесі розробки монтажних креслень. На цьому етапі підбираються креслення типових конструкцій для установки: виконавчих механізмів, регулюючих органів і відбірних пристроїв, які розміщують на стінах, міжповерхових перекриттях, колонах приміщення або безпосередньо на технологічних агрегатах і трубопроводах. Також місця установки засобів автоматизації і способу їх монтажу необхідно вибирати з урахуванням вимог заводських інструкцій і з таким розрахунком, щоб забезпечити необхідну точність вимірювання, вільний доступ до приладів і апаратури керування, а також зручність їх обслуговування. Особливу увагу необхідно звертати на вибір місця для розміщення первинного сприймаючого елементу всередині робочої зони апарату. Дуже важливо, щоб реакція чутливого елементу відображала середнє значення параметру у вимірювальній зоні або в регулюємій ділянці об'єкту.
Монтаж хвилеводного рівнеміра Rosemount 5300
Як
правило, рівнемір монтується на фланцевому
або різьбовому патрубку, розміщеному
у верхній частині резервуара. При цьому
зонд може бути встановлений під кутом
до 90
по вертикалі. Крім того корпус рівнеміра
можна повернути в будь-якому напрямку
на 360
.
Зонд повинен бути підвішений так, щоб він перекривав весь необхідний діапазон вимірювання рівня.
Для твердих тіл слід забезпечити використання зонда 6 мм, так як він має найбільш високу міцність при розтягу. Зонд повинен мати провисання > 1cм/м для запобігання його пошкодження.
Треба уникати закріплення зонта в резервуарах з сипучими середовищами, що перевищують по висоті 30 м.
Для отримання оптимальних робочих характеристик в неметалевих ємкостях зонд повинен бути закріплений або з допомогою 2-х дюймового/ DN 50 або великого металевого фланця, або прикрученим на 200мм чи великому металевому листі.
Монтаж на товстому залізобетонному бункері повинен бути виконаний нарівні з нижньою межею з металевим екрануванням.
Зонд не повинен контактувати з стінкою, патрубком або іншими перешкодами в резервуарі. Мінімальна відстань від зонда до стінки резервуара повинна бути не менше 100мм - у випадку гладкої металевої стінки і не менше 500 мм - у випадку перешкод, що викликають поміхи, шероховатостей металевої поверхні та ін..
В застосуванні з сипучими середовищами середовище може викликати направлені вниз зусилля на кришці бункера. Кришка бункера повинна бути в змозі витримати руйнуюче навантаження зонда або, в крайньому випадку, максимальне руйнуюче розтягуюче навантаження зонда.
Для твердих середовищ монтаж рекомендовано виконувати коло бункер пустий. Також потрібно регулярно перевіряти зонд на наявність дефектів.

Рисунок 1 Монтаж хвилеводного рівнеміра Rosemount 5300
Монтаж хвилеводного рівнеміра здійснюють на патрубку, який вварюється у кришку бункера ( Рисунок 1). Для правильності монтажу слід правильно вибрати діаметр та висоту патрубка, а також відстань патрубка до стінки резервуара. Всі ці розміри вибирають в залежності від типу вибраного зонда. Для гнучкого однопровідного зонта діаметр D=150 мм і більше (рекомендований) і 50мм (мінімальний); висота патрубка H вибирається в залежності від довжини зонта, а відстань від зонда до стінки бункера L повинна бути не менше 100 мм. Габаритні розміри рівнеміра вказані в додатку А.
Монтаж радарного рівнеміра Rosemount 5400
Для досягнення високої якості і точності вимірювань при використанні рівнеміра 5400 необхідно враховувати наступні рекомендації:
Рівнемір слід встановлювати в місцях, звідки чітко і безперешкодно проглядається рівень поверхні і немає можливості попадання яких-небудь перешкод в зону поширення променя радара.
Датчик треба встановлювати не по центру ( Рисунок 2 , В ).
Рівнемір рекомендовано встановлювати як можна далі від вхідних патрубків для наливу продукта.
Об’єкти і наливні труби, що створюють турбулентність, повинні знаходитись збоку від вимірювального променя радара ( Рисунок 2, С).
Для отримання максимально узького променя слід використовувати антену як можна більшого діаметра, так як вона концентрує промінь радара і менш сприйнятлива до поміхам від перешкод. Крім того, вона забезпечує максимальний коефіцієнт направленої дії.
Для зменшення впливу турбулентності на процес треба застосовувати заспокоюючі або байпасні пристрої.
Антена повинна бути вирівняна вертикально (відхилення від вертикальної осі рівнеміра допускається в межах одного градуса).
Для найбільшої ефективності вимірювань антена повинна виступати вниз за патрубок на 10 мм або більше.
Завдяки круговій поляризації не існує вимог до відстані від зонда (променя) до стінки резервуара, якщо стінк плоска і не існує таких перешкод, як нагрівальні спіралі і трапи. Оптимальні відстані складають 1/3 радіуса резервуара.
Установка радарного рівнеміра Rosemount 5400 на резервуарі показана на рисунку 2.

Рисунок 2 Установка рівнеміра 5400 на резервуарі
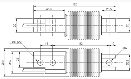
Монтаж тензодатчика Flintec SB8
Тензодатчик типу " консольна балка на зсув " встановлюється в дозаторі для визначення маси борошна. Він має три монтажних отвори під різьбу М8 для його кріплення на технологічному обладнанні. При монтажі тензодатчика треба дотримуватись вимоги, щоб тензодатчик був встановлений строго горизонтальному, як в повздовжньому так і в поперечному положенні. На рисунку 3 зображено кріплення тензодатчика всередині дозатора. Тензодатчик встановлюють у спеціальне вухо ковша і фіксують болтом 30, так щоб два інших кріпильних отвори тензодатчика співпадали з бобишками 28 на кріпильній рамі. Після цього підтягують ковш до рами і кріплять тензодатчик за допомогою болтів 13. За допомогою болтів 27 кріпляться дві страховочні пластини. Тензодатчик підключають до перетворювача за допомогою кабеля діаметром 5.8 мм, прокладку якого необхідно здійснювати в водогазопровідних захисних трубах діаметром 3/4 дюйма, або в металорукаві діаметром 12 мм. Кабель повинен бути екранованим, щоб уникнути негативного впливу зовнішніх магнітних полів.
Монтажно-габаритні розміри тензодатчика зображені на рисунку 5.

Рисунок 3 Схема кріплення тензодатчика

Рисунок 4 Монтажно-габаритні розміри тензодатчика Flintec SB8
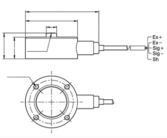
Монтаж тензодатчика СAS MNC 50L
Цей тензодатчик типу "шайба" вимірює масу опари в дозаторі. Цей тензодатчик має 4 кріпильних отвори з різьбою М5*0,8. За допомогою цих отворів він болтами прикручується до опори. Зверху на тензодатчик встановлюється резервуар дозатора, тобто тензодатчик встановлюється під ніжку дозатора. При цьому треба слідкувати, щоб в процесі монтажу не виникло перекосів, щоб ніжка не зісковзнула з тензодатчика і між ними був щільний контакт. До перетворювача тензодатчик підключається 5-жильним екранованим кабелем, захищеним водогазопровідною захисною трубою або металорукавом. Монтажно-габаритні розміри тензодатчика зображені на рисунку 5.

Рисунок 5 Монтажно-габаритні розміри тензодатчика CAS MNC 50L
2.3 Розрахунок та монтаж щитів , таблиця підключень
Типи і конструкції щитів
Щитами є корпус або каркас з вмонтованою апаратурою контролю, управління і регулювання, а також електричною і трубною проводками, підготовленими до підключення зовнішніх ланцюгів і приладів на об'єктах. Щити виконуються з уніфікованих елементів. Така конструкція дозволяє здійснювати збірку щитів в багатопанельні секційні складальні одиниці без додаткових підгоночних робіт.
Типорозміри щитів і пультів визначаються по ГОСТ 3244—68. Основні типи щитів, стативов, пультів і допоміжних елементів приведені на рисунку
ОСТ 36.13—76 передбачає випуск щитів шафових двух- і трьохсекційними, які збираються з щитів одиночних і опорних рам відповідних типів.
Щити шафові і панельні можуть бути як повногабаритними, так і малогабаритними. Повногабаритні шафові щити мають наступні конструктивні розміри: висоту Н = 2200 мм (допускається також висота 1800, 2000, 2400 мм), ширина (довжину лицьової частини) L = 600; 800; 1000; 1200 мм; глибину B = 600; 800; 1000; 1200 мм (допускається 400 мм). Висота, відмінна від 2200 мм, застосовується тільки в окремих випадках, наприклад висота Н = 2400 мм допустима у разі поєднання з щитами такої ж висоти.
Щити шафові із задніми дверима виготовляються завглибшки 600 мм (у технічно обгрунтованих випадках допускається 800 мм), шириною 600, 800, 1000 мм. Висота, як і для інших повногабаритних конструкцій — 2200 мм. Щити шафові двосекційні випускаються шириною 1200, 1400, 1600, 1800, 2000, складеними з секцій шириною 600, 800, 1000 мм, трисекційні — шириною 1800, 2000, 2200 мм і 2400 мм. Щити, відкриті з однієї або двох сторін, призначаються для групового монтажу.
Основною і загальною складальною одиницею всіх щитів є панель з каркасом, виконана із сталевого листа завтовшки 3 мм і призначена для установки приладів і апаратури. Панель з каркасом складається з плоскої панелі, підставки висотою 80 мм з приварними стінками, дверної рами, що дозволяє вмонтовувати або двері, що відкриваються на кут не менше 170°, або задню стінку, а також О-подібне стягування. Бічні і задні стінки виготовляються із сталевого листа завтовшки 2 мм і не розраховані на установку на них приладів і апаратури. До складу шафових щитів входять також кронштейни для освітлення і лист даху. Двері в щитах зазвичай двостулкові заввишки 1900 мм і шириною приблизно на 200 мм менше ширини (для шаф із задніми дверима) або глибина (для шаф з бічними дверима) щита. Для щитів з розмірами відповідних сторін щита 600 мм дверей роблять одностулковими.
Конструкція щитів передбачає їх установку на наступних елементах будівель: на підлозі, фундаменті, перекритті. Введення електричних і трубних проводок виконуються в щити знизу (трубну проводку в технічно обгрунтованих випадках допускається вводити зверху).

Рисунок Шафові щити із задніми дверима
а – щит, виконання; б – щит двохсекційний ІІ; в – щит трьохсекційний; 1 – каркас; 2 - стінка бокова; 3 – римболт; 4 – кришка; 5 – двері; 6 – заглушка; 7, 8, 10 – панель, 9 – рама опорна.
Розрахунок щитів
Вибір типу щитових конструкцій залежить від їх експлуатаційного призначення і місця установки, а також від необхідного співвідношення між моторним і сенсорним полями щита. При великих відносних розмірах моторного поля використовують пульти.
Вибір ширини щитових конструкцій здійснюють залежно від кількості, компоновки і габаритів розміщуваних на них приладів і апаратури. Решту розмірів звичайно не вибирають, оскільки переважне вживання мають щити із задніми дверцятами глибиною 600мм як обслуговувані ззовні і тому не вимагають спеціальних внутрішніх проходів обслуговування.
Прилади і апаратуру розміщують на фасадних сторонах щитових конструкцій, дотримуючи певні ергономічні принципи. Частіше всього зліва направо по ходу технологічного процесу (функціональний принцип) з використанням мнемосхем - комплексу символів, що зображають спрощену схему технологічного процесу з вбудованими світловими індикаторами, а іноді і командоапаратами і мініатюрними приладами. Усередині щитів розміщуються неоперативна допоміжна апаратура і збірки роз'ємних з'єднувачів для електричних трубних проводок. При цьому пневмоапаратуру розміщують під електроапаратурою, а при значному тепловиділенні останньої її розташовують у верхній частині конструкції. . Для повногабаритних шафових і панельних щитів визначаємо розміри загального поля розміщення приладів і апаратури, оскільки на фасаді щита розташовують і апаратуру управління, і прилади для отримання інформації.
Для повногабаритних шафових і панельних щитів необхідно визначаємо розміри загального поля розміщення приладів і апаратури, оскільки на фасаді щита розташовують і апаратуру управління, і прилади для отримання інформації.
При довжині фасаду L = 0,6м розміри загального поля розміщення, що рекомендуються
S >об.р> = Δ Н >р> L = ( 1,9 - 0,9 ) ∙ 0,6 = 0,6м2;
допустимі розміри загального поля розміщення
S >об.д> = Δ Н >д> L = ( 2,1 - 0,7 ) ∙ 0,6 = 0,84м2,
де Δ Н >р>, Δ Н >д> – розмір відповідно рекомендовані і допустимого діапазону установки приладів і апаратури по висоті від основи, м . При довжині фасаду L = 0,8м
S >об.р> = 1 ∙ 0,8 = 0,8м2; S >об.д> = 1,4 ∙ 0,8 = 1,12м2.
При довжині фасаду L = 1м
S >об.р> = 1 ∙ 1 = 1м2; S >об.д> = 1,4 ∙ 1 = 1,4м2.
У щиті тістомісильного відділення повинні бути встановлені два блоки живлення МТМ 101-4, габаритні розміри яких 70*77*110 мм; один блок живлення МТМ 141 з розмірами 53,5*93,5*65,5; перетворювача Seneca Z-SG з габаритними розмірами 112*110*17,5 мм; два електропневматичних перетворювачі ЭП-1211, що мають габаритні розміри 130*36 *48 мм. На щиті також встановлюється мікропроцесорний контролер з габаритами 105*90*65 мм. Розрахувавши розміри загального та допустимого розміщення і знаючи габарити всіх щитових приладів можна вибрати необхідні габарити щита. В даному випадку прилади та засоби автоматизації мають невеликі габарити і тому їх можна розмістити на щиті з довжиною фасаду L = 0,6м та розмірами загального поля розміщення, що рекомендуються S >об.р> =0,6м2. Тому вибираємо щит шафового типу із задніми дверима, що відкриваються ЩШ-ЗД 600*600*1200. На лівій стінці можна розмістити блоки живлення МТМ 101-4 та перетворювачі сигналу тензодатчиків Seneca Z-SG, на передній стінці буде розміщуватись контролер, а на правій стінці - електропневматичні перетворювачі ЭП-1211 та двохканальний блок живлення МТМ 141.
Монтаж щитів
Щит встановлюється на бетонній основі. Монтаж щита виконують відповідно до типових креслеників.
Шафовий щит монтується на загальній рамі, виконаній з швелера завтовшки150 мм, яку після перевірки її горизонтальності приварюють до металевого перекриття. Установка щита зображена на рисунку

Рисунок Установка шафових щитів на металевому перекриттю (а) і бетонній основі (б) з вводом зовнішніх проводок знизу за допомогою гільз
1 – основа щита; 2 – щит; 3 – провідник; 4 – роз’ємна втулка; 5 – гумовий килим; 6 – підлога щита; 7 – металеве перекриття; 8 – водогазопровідні труби; 9 – бетонне перекриття; 10 – бетонна подушка.
Простір під щитом в межах висоти рами використовують для підведення і розводки кабелів і труб. На раму щита кладеться настил із сталевого листа завтовшки не менше 4 мм, покритого гумовою доріжкою.
Спочатку щит вирівнють по відвісу і рівню, потім закріплюють.
Металевий щит, на якому знаходитимуться електричні прилади і апарати, приєднують з допомогою додаткового заземлення до мережі заземлення автоматизованого об'єкту, або до металоконструкцій будівель. У якості заземляючих провідників використовують мідні провідники перетином 1 мм2 (сталеві заземляючі провідників приєднують зваркою, а при неможливості її застосування — за допомогою болтових з'єднань).
Після установки і заземлення щита проводять його підключення до зовнішніх сполучних проводок (електричною і трубною), ізолюючи кінці кабелю і проводів. Потім електричні проводки підключають до збірки комутаційних затискачів, а трубні — до збірки трубчастих з'єднувачів.
Зовнішні проводки вводять в щит знизу, проте при необхідності для щитів допускається бічне або верхнє введення. Кабелі, дроти і труби, що вводяться закріплюють біля щита на відстані не більше 1 м.
Введення знизу виконуються через отвори в перекриттях. Їх розташовують на відстані близько 150 мм від стінки щита з апаратурою, до якої підводять зовнішні проводки. Кабелі, металеві і пластмасові труби (окрім захисних), капіляри манометричних термометрів вводять знизу через захисні гільзи, які розміщуються в отворі перекриття (рисунок ). Захисні труби вводять в щит без захисних гільз. При введенні зверху або збоку щита використовують сальникове введення для капілярів (рисунок а), введення захисних труб з монтажем напівроз'ємних втулок (рисунок б) і введення труб проводок за допомогою перебиральних з'єднувачів. Групове введення здійснюється через люк, що вирізується в стінці щита.

Рисунок Пристрої введення:
а – сальникове введення для кабелів, труб; б – сальникове введення для капілярів; в – введеняя захисних труб; 1 – гайка; 2 – труба; 3 – кабель; 4 – щит; 5 – капіляр; 6 – гніздо; 7 – ущільнююча гума; 8 – шайба; 9 – втулка.
Після монтажу щитів займаються прокладанням до них трубних та електричних проводок та здійснюють їх підключення. Для правильності підключення на основі принципової схеми складають таблицю підключень (з’єднань).
Таблиця 3 Таблиця з’єднань
-
Номер провода
Звідки іде
Куди іде
Примітка
100
Rosemount 5300:1
ОВЕН ПЛК154: 25
101
Rosemount 5300:2
ОВЕН ПЛК154: 26
102
Rosemount 5400:1
ОВЕН ПЛК154: 27
103
Rosemount 5400: 2
ОВЕН ПЛК154: 28
104
Flintec SB8: 2
Seneca Z-SG(поз.2б): 8
105
Flintec SB8: 4
Seneca Z-SG(поз.2б): 11
106
Flintec SB8: 3
Seneca Z-SG(поз.2б): 9
107
Flintec SB8: 6
Seneca Z-SG(поз.2б): 12
108
Seneca Z-SG(поз.2б): 4
ОВЕН ПЛК154: 29
109
Seneca Z-SG(поз.2б): 5
ОВЕН ПЛК154: 30
110
CAS MNC 50L:3
Seneca Z-SG( поз.5б): 9
111
CAS MNC 50L:4
Seneca Z-SG(поз.5б):12
112
Seneca Z-SG( поз.5б): 4
ОВЕН ПЛК154: 31
113
Seneca Z-SG( поз.5б): 5
ОВЕН ПЛК154: 32
114
ОВЕН ПЛК154: 7
ЭП-1211(поз. 1б): 1
115
ОВЕН ПЛК154: 8
ЭП-1211(поз. 1б): 2
116
ОВЕН ПЛК154: 10
ЭП-1211(поз. 1г): 1
117
ОВЕН ПЛК154: 10
ЭП-1211(поз. 1г): 2
118
ОВЕН ПЛК154: 1
Phenom II: 1
119
ОВЕН ПЛК154: 2
Phenom II: 3
120
ОВЕН ПЛК154: 3
Phenom II: 2
121
ОВЕН ПЛК154: 4
Phenom II: 6
122
ОВЕН ПЛК154: 5
Phenom II: 5
123
ОВЕН ПЛК154: 6
Phenom II: 4
124
ОВЕН ПЛК154: 7
Phenom II: 8
125
ОВЕН ПЛК154: 8
Phenom II: 7
126
ОВЕН ПЛК154: 9
Phenom II: 9
800
МТМ 101-4: 1
Rн.1
801
Rн.1
Rosemount 5300: 1
802
МТМ 101-4: 2
Rosemount 5300: 2
803
МТМ 101-4: 3
Rн.2
804
Rн.2
Rosemount 5300: 1
805
МТМ 101-4: 4
Rosemount 5300: 2
806
МТМ 101-4: 5
Seneca Z-SG(поз.2б): 2
807
МТМ 101-4: 6
Seneca Z-SG(поз.2б): 3
808
Flintec SB8: 1
Seneca Z-SG(поз.2б): 7
809
Flintec SB8: 5
Seneca Z-SG(поз.2б):10
810
МТМ 101-4: 7
Seneca Z-SG(поз.5б): 2
811
МТМ 101-4: 8
Seneca Z-SG(поз.5б): 3
812
CAS MNC 50L: 1
Seneca Z-SG(поз.5б): 7
813
CAS MNC 50L: 2
Seneca Z-SG(поз.5б):10
814
МТМ 101-4: 1
ОВЕН ПЛК154: 15
815
ОВЕН ПЛК154: 16
ЭК3-32(поз. 4б): 2
816
ЭК3-32(поз. 4б): 1
МТМ 101-4: 2
817
МТМ 101-4: 3
ОВЕН ПЛК154: 17
818
ОВЕН ПЛК154: 18
ЭК3-32(поз. 5в): 2
819
ЭК3-32(поз. 5в): 1
МТМ 101-4: 4
820
МТМ 101-4: 5
ОВЕН ПЛК154: 21
821
ОВЕН ПЛК154: 22
ЭК3-32(поз. 5г): 2
822
ЭК3-32(поз. 5г): 1
МТМ 101-4: 6
823
МТМ 101-4: 7
ОВЕН ПЛК154: 13
824
МТМ 101-4: 8
ОВЕН ПЛК154: 14
825
МТМ 141: 1
ЭП-1211(поз. 1б): 4
826
МТМ 141: 2
ЭП-1211(поз. 1б): 5
827
МТМ 141: 3
ЭП-1211(поз. 1г): 4
828
МТМ 141: 4
ЭП-1211(поз. 1г): 5
01
З колектора вис. тиску
РД1
02
РД1
Ф1
03
Ф1
25ч30нж (поз. 1д): 1
03
Ф1
25ч30нж (поз. 1в): 1
04
3 колектора низ. тиску
РД2
05
РД2
Ф2
06
Ф2
ЭП-1211(поз. 1г): 6
06
Ф2
ЭП-1211(поз. 1б): 6
ПНП6*1
07
ЭП-1211(поз. 1г): 7
25ч30нж (поз. 1д): 2
ПНП6*1
08
ЭП-1211(поз. 1б): 7
25ч30нж (поз. 1в): 2
ПНП6*1
Література
1. Бєлік В. Г. "Монтаж та налагодження засобів автоматизації в цукровій промисловості", МОСКВА: Харчова промисловість, 1976, 208 с.
2. Камінський М. Л. "Монтаж приладів і засобів автоматизації": Підручник для середніх проф.-тех. Закладів. - 5 видавництво. – М.: Вища школа., 1983.-248 с.
3. Трегуб В. Г. "Проектування, монтаж і експлуатація систем автоматизації харчових виробництв". М.: Харчова промисловість, 1980.- 352 с.
4. Клюєв А. С. "Наладка засобів виміру і систем технологічного контролю". -2 видання, М.:Енергоатомвидавництво, 1990. - 400 с.
5. Гресько А. А. " Довідник слєсаря по контрольно-вимірювальним приладам". – К.: Техніка, 1988. – 176 с.
6. Волошин З. С. "Довідник спеціаліста КИПіА цукрової промисловості". –М.: Агропромвидавництво, 1985. – 287 с.
7. Благовєщенська М. М. "Автоматика та автоматизація харчових виробництв" контролер монтаж щит перетворювач
М.: Агропромвидавництво, 1991. – 239 с. , для студентів вищих навчальних закладів.
8. Пальчевський Б. О. "Автоматизація технологічних процесів", навчальний посібник, Львів: Світ, 2007. – 392 с.
9. Дьяков В. І. "Типові розрахунки по електрообладнанню". – 7 видавництво. – М.: Вища школа, 1991. – 160 с.
10. Хлопков В. Ф. "Организація, планування виробництва і управління на підприємствах цукрової промисловості". – М.: Харчова промисловість, 1978. – 456 с.