Расчет и проектирование зубчатых передач
Министерство
образования и науки Украины
Национальный аэрокосмический университет
им. Н. Е. Жуковского ”ХАИ”
Кафедра 202
Курсовой проект по основам конструкции машин и механизмов
«Расчет и проектирование зубчатых передач»
( Редуктор “АИ – 20”)
Выполнил : студент 232 гр.
Удовитченко А.С.
Проверил :
преподаватель
Харьков 2005
Содержание
Введение
Планетарный редуктор АИ -20
Проектировочный расчет 1-й ступени
Расчет зацепления Z1-Z2
Расчет зацепления Z2-Z3
Проектировочный расчет 2-й ступени
Зацепление Z4-Z5
Зацепления Z5-Z6
Конструирование и расчет на прочность валов и осей
Проектировочный расчёт оси сателлитов
Расчет основного вала ТВД
Расчет и выбор подшипников
Расчет шлицевых соединений
Расчет болтового соединения
Смазка механизма
Вывод
Список использованной литературы
Введение
Зубчатые передачи – весьма распространенные элементы различных машин и приборов. Применительно к машинам, в частности, к трансмиссиям энергосиловых установок летательных аппаратов, они являются силовыми. Их прочность и работоспособность оказывают существенное влияние на надежность и долговечность последних.
Характер нагружения и условия работы зубьев довольно сложное. В связи с этим может быть отмечено следующее:
Кажущееся равномерное вращение зубчатых передач в действительности является неравномерным. Из-за погрешностей в геометрии зубьев скорость вращения оказывается не постоянной. Зубчатая передача является сложной колебательной системой, которая объединяет ряд локальных ее элементов (зубья, конструктивные элементы колеса, валы и присоединенные к ним массы).
За каждый оборот зубья один или несколько раз входят и выходят из зацепления. В точке контакта возникают нормальные и касательные глубинные контактные напряжения, изменяющиеся по пульсирующему циклу. Действие переменных контактных напряжений вызывает усталостное выкрашивание рабочих поверхностей зубьев. Выкрашивание характерно для закрытых передач с обильной смазкой.
У основания зуба возникают изгибные и сжимающие напряжения. По величине преобладающими являются изгибные напряжения. Поэтому, когда речь идет о прочности зубьев у их основания, оценке подлежат прежде всего изгибные или суммарные напряжения.
В процессе эксплуатации зубчатые передачи испытывают действие кратковременных перегрузок (пиковых нагрузок).
При повышенных переменных напряжениях разрушение зуба может возникнуть также и от так называемой малоцикловой усталости.
У тяжело нагруженных зубчатых передач большие давления в зоне контакта могут привести к выдавливанию смазки, появлению полусухого трения и, как следствие, к повышенному тепловыделению.
Для предупреждения возможных видов повреждения ведутся следующие расчеты зубчатых передач:
а) расчет зубьев на контактную прочность.
Целью его является предупреждение появления усталостного выкрашивания.
б) расчет зубьев на изгибную прочность. Целью расчета является предупреждение поломки вызванное действием изгибных напряжений.
в) проверка прочности зубьев по малоцикловой усталости.
г) проверка прочности зубьев при действии пиковых нагрузок.
д) расчет на заедание.
Построение расчета зубчатых передач с учетом перечисленных выше особенностей их работы представляет большую трудность.
Планетарный редуктор АИ-20
Планетарным зубчатым называется механизм, содержащий колеса, именуемыми сателлитами, оси которых подвижны.
Сателлиты устанавливаются в водило h, ось которого называется основной. Зубчатые колеса вместе с осями, совпадающих с основной осью- называют центральными колесам.
Центральные колеса и водило воспринимающие нагрузки от внешних моментов называется основными звеньями. Число сателлитов обозначают nw=3…6, но встречаются передачи с 1-м сателлитом или более 6-и.
Планетарные механизмы, в котором два основных звена, связанны с ведущим и ведомым валами, а третье не вне вращается (соединено с корпусом), называется планетарной передачей. Если все три основных звена соединены с валами, из которых один ведущий и два ведомых или наоборот, называют дифференциальным механизмом.
В данной курсовой работе был спроектирован и рассчитан редуктор турбовинтового двигателя АИ-20.
Этот редуктор имеет планетарные передачи. Он состоит из двух ступеней, причем во второй ступени сателлиты закреплены неподвижно в корпусе, что соответствует планетарной передачи по определению.
В проекте приведен расчет зубчатых зацеплений и других деталей.
Конструирование и расчет на прочность валов и осей
1)Диаметр вала солнечного колеса z>1>:
d>в=>>
>
,
где М>кр>=М>р1*>U>12*>η>подш>;
М>кр> =269,536*0,9*0,98*0,97=230,6 Нм,
η>подш>=0,98 –КПД подшипников;
η>зп>=0,97 – КПД зубчатой передачи;
[τ>кр>]=(60…80) МПа –для термообработанных валов авиаредуктора;
d>в1=
>
0,025м
=25мм;
Увеличим d>в1 >до большего диаметра и примем d>в1 >=40мм.
2)Расчет оси сателлита z>2>>:>
Ось сателлита z>2> считаем на изгиб по формуле:
d=
;
Для определения М (изгибающего момента) нужно построить эпюру изгибающих моментов для оси сателлита. Для построения эпюр используется программа Mor 3.0
М>из>=79,867 Нм;
d=
19,8 мм,
где
=
=0,75.
Ось изготовлена из
стали 30ХГСА для которой [
]=1500
кгс/см2;
Принимаем dоси=36 мм, так как в нее надо еще вставить маслоперепускную втулку.
3)Расчет оси сателлита z>5>:
Этот расчет ведется аналогично расчету оси сателлита z>2.>
Материал принимаем
такой же как и в предыдущем случае –
Сталь30ХГСА для которой [
]
= 1500 кгс/см2.
=0,75.
По эпюре изгибающих моментов находим максимальный момент:
М>max> = 128.427 Нм.
Тогда d
=
=
23,2 мм.
Так как в ось сателлита нужно вставить еще маслоперепускную втулку, то принимаем d>оси> = 45 мм.
4)Расчет вала водила:
Этот расчет производится по крутящему моменту, который найдем по формуле:
М>кр> = 2*F>t>*r,
где F>t>>1> = 5990 Н, r = 90 мм – межосевое расстояние (плечё), тогда М>кр >=2*5990*0,09 = 1078,2 Нм.
Диаметр вала находим по формуле:
d>вод>
=
=
= 0,04256 м
42,6
мм ,
где
=(60-80)*106
.
Так как внутри водила расположен еще один вал, то из конструктивных соображений и сравнив с предподчительными диаметрами, принимаем
d>вод.нар
>= 55 мм,
тогда d>внут
>= 44 мм (
).
Расчет роликов в сателлитах
1)Для сателлита z>2:>
Посчитаем динамическую грузоподъёмность получившегося подшипника по формуле:
С
= f>c*>(
i*l>eff>*cos

)
*z
*Д>т>>
,
>
где f>c>> >– коэффициент, зависящий от геометрии деталей подшипника, точности его изготовления и материала;
l>eff>> >–фактическая длина ролика (длина контакта);
z – количество тел качения;
Д>т> – диаметр тел качения;
i в нашем случае будет равным 1 (считаем как однородный подшипник);
=0,
тогда cos
= 1
Посчитаем количество тел качения:
Д = 65 мм; d>в
>= 45 мм
(принимаем ролики
10
14);
Z
=
=
17 штук;
d>м>
=
,
где
мм
– суммарный зазор между роликами.
d>м>
=
= 54,62 мм;
,
тогда по таблице находим f>c> = 7,98;
Грузоподъёмность равна:
C
= 7,98*(1*14*1)
*17
*10
= 7118,94 кгс = 71189,4 Н.
Находим эквивалентную динамическую нагрузку:
Р>а> = (Х*F>r>> >+ Y*F>a>)*К>б>*К>т> , (y*F>a>=0, Х=1),
где К>б> – коэффициент безопасности К>б> = 1,2;
К>т> – температурный коэффициент К>т >= 1;
F>r> – радиальная сила F>r>> >= F>t>.
Р = 1*5990*1,2*1 = 7188Н.
Видно, что грузоподъёмность в несколько раз превышает нагрузку, поэтому данные ролики обеспечат вполне нормальную работу вращения сателлита.
L=(C/P)P=(71189.4/7188)10/3=2086.2 млн. об.
P-для роликов принимаем равным 10/3.
L>h>=
34770.13
ч
2) Для сателлита z>5:>
Возьмём такие же
ролики, как и в первой ступени, то есть
10
14.
Расчет динамической грузоподъёмности аналогичен, то есть
С = 71189.4 Н.
Эквивалентная динамическая нагрузка равна:
Р>а> = Х*F>r>*К>б>*К>т> = 1*9621.3*1,2*1 = 11545.56 Н,
L=(C/P)P=(71189.4/11545)10/3=429.94 млн. об.
L>h>=
7165.61
ч
ресурс работы роликов больше 7000 часов, следовательно они обеспечивают нормальную работу вращения сателлита.
Расчет основного вала винта ТВД
1)Проектировочный расчет:
Данный вал нагружается изгибающим, крутящим и гироскопическим моментами.
Влияние сжимающих и растягивающих сил мало и поэтому не учитывается. Расчет ведем по формуле:
d
=
,
где М>кр>
= 9550*
= 13179 Нм,
[
]
= 70*106
,

d
=
113,8
мм.
Принимаем ближайший рекомендуемый: d>в> = 80 мм.
2)Проверочный расчет:
Для расчета валов определяем реакции в опорах и строим эпюры изгибающих и крутящих моментов.
Расстояния между опорами вала назначаем по прототипу в долях от диаметра вала.
Но первоначально определяем усилия, действующие на вал:
1)максимальный вращающий момент;
2)сила тяги винта F, растягивающая вал. Максимальное значение силы тяги, при работе винта на старте определяют из выражения:
F=
,
где Р>дв
>– мощность
двигателя, кВт;
>в>=
-
КПД винта;
-
скорость полета самолета (
=
);
3)вес винта G,
который берем из технических данных и
для учета сил инерции умножаем на
коэффициент перегрузки силовой установки
n>1=
>;
4)центробежная сила неуравновешенных масс винта F>ц.б> , которой обычно пренебрегают вследствие ее малости по сравнению с другими силами;
5)гироскопический момент М>г> , возникающий при эволюциях самолета, когда изменяется направление оси вращения винта.
Для винтов с тремя и более лопастями максимальный гироскопический момент вычисляют по формуле:
М>г
>>max>>
>=
,
где
-
угловая скорость вращения ротора в
пространстве:
=
-
средняя угловая скорость вращения
самолета в пространстве. Здесь n>2
>–
коэффициент перегрузки (для пассажирских
самолетов: n>2
>=
);
>
>>
>- скорость
полета самолета при эволюции,
,
g=9,8
– ускорение свободного падения;
-
угол поворота винта, отсчитываемый от
плоскости вращения самолета (изменяется
от 0 до 180о);
-
угол между осями вращения винта и
самолета.
При
гироскопический момент имеет максимальное
значение.
-
момент инерции винта, может быть найден
через массу и радиус инерции по формуле:
=m*r2
. Радиус
инерции определяют через наибольший
радиус лопасти: r=
.
Коэффициент
для дюралюминиевых лопастей можно
принять равным
.
Находим эти значения:
F=
Н;
G=200*g=2000, G*n>1>=2000*5=10000 Н;
R=1м;
,
r=0.4
*1=0.4
м.
I=200*0.42=32 кг*м2;
;
М>г>=32*104,67*0,03=
100,48 Нм;
T>max>=Т>1>+Т>2>=2233224+797580=3030,804 Нм;
Т>кр>>1>=F>t3>*k*
=5990*3*
=2345,085
Нм;
Т>кр2>=
F>t>>3>*k*
=5990*3*
=808,69
Нм;
Расстояния вала между опорами равны:
а=
=0,8;
в=
=1,21;
Определим реакции в опорах.
Вокруг точки А (по часовой стрелке момент считаем положительным):
-G*a+M>г>+R>в>=0;
R>в>=
=6528,53
Н;
Вокруг точки B (по часовой стрелке момент считаем положительным):
R>a>*в-G(a+в)+М>Г>=0;
R>a>=
=16528.53
Н;

Строим эпюры нагружения моментами вала:

М>u>=М>Г>-G*a=100.48-8000=[7899,52] Нм;
Проверка:
;
W=
=115.91*10-6;
=68,152*106
Па =68 МПа
, [
]=190
МПа;
Вал выдерживает, так как коэффициент запаса прочности равен:
k=
=2.79.
Расчет и выбор подшипников
Подшипники служат опорами для валов вращающихся осей. Они воспринимают радиальные и осевые нагрузки, приложенные к валу и передают их на раму машины. От их качества в значительной мере зависит работоспособность и долговечность машин.
Задняя опора водила и колесо закреплены и вращается посредством шарикового подшипника, который мало нагружен и по этому он не рассчитывается, а просто подбирается по диаметру вала.
Задняя опора основного вала воспринимает осевую , радиальную силу и гироскопический момент. Поэтому здесь используют шариковый четырехточечный подшипник (радиально упорный).
Проверка на долговечность:
С=87100 – динамическая грузоподъемность;
Коэффициенты: Х=0,41; V=1,0; Y=0,87; К>б>=1,2; К>т>=1.
F>r> – радиальная реакции в данной опоре;
F>a>> >- осевая реакция в опоре;
p =3, для шариковых подшипников.
L=
=16,468;
В часах работы получим:
L=
6593
час;
Таким образом этого ресурса вполне хватит для обеспечения ресурса работы редуктора (Т=6400 час).
Передней опорой основного вала служит роликовый подшипник (радиальный) типа 32124 по ГОСТ 8328-75, подшипник с особо легкой серии.
Проверка на долговечность:
L=
, С = 103000, Р=(X*F>r>+Y*F>a>)*К>б>*К>т>;
Коэффициенты: Х=1; F>a>=0 (осевая реакция отсутствует);
К>б>=1,2; К>т>=1; F>r> =16516.9 Н;
Р=1*16516,9*1,2*1=19820,28 Н;
L=
=(7.795)
=939.124
В часах работы:
L=
=13730
час.
Таким образом, этого ресурса вполне хватает для обеспечения ресурса работы редуктора (Т=6400 час).
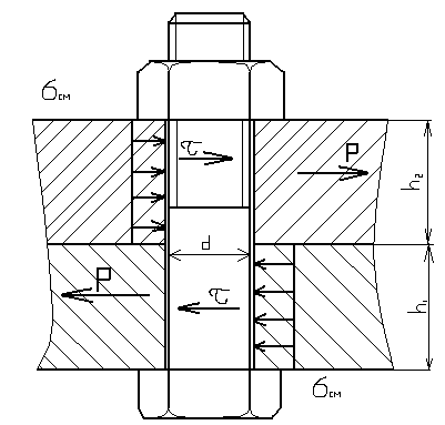
Расчет шлицевых соединений
Расчет шлицевого соединения расмотрим на примере колеса. Размеры шлицев выбираются по таблицам стандартов в зависимости от диаметра вала. Боковые поверхности шлицев испытывают напряжение смятия, а в сечениях у их оснований возникают напряжения среза и изгиба.
Схема для расчета шлицевых соединений.
Для шлицев стандартного профиля значение имеют напряжения смятия, которые определяются по формуле:

,
где
М>кр> – наибольший допустимый крутящий момент, передаваемый соединением;
=
(0,7
0,8)
– коэффициент, учитывающий неравномерность
усилия по рабочим поверхностям зубьев,
обычно принимают
=
0,75;
F – площадь всех боковых поверхностей зубьев с одной стороны на 1 мм длины, в мм2.
F=z*[
]
– для
прямобочных (прямоугольных) зубьев;
F=0.8*m*z – для эвольвентных зубьев, где m – модуль , z – количество зубьев;
F=
-
для треугольных зубьев;
r – радиус закругления, мм; f – радиус фаски, мм; D>в> – наружный диаметр зубьев вала, мм; d>а> – диаметр отверстия шлицевой втулки;
r>ср
>=
-
для прямобочных (прямоугольных) зубьев;
r>ср >=0,5*d – для эвольвентных и треугольных зубьев;
[
]
– допускаемое напряжение на смятие.
1)Шлицы на валу-рессоре, идущему от двигателя возьмем эвольвентными:
эв.60×2×28.
Посчитаем эти шлицы на смятие:
М>кр>=269,556 Нм = 269,556*103 Нмм;
[
]
=220
(для стали 30ХГСА);
=
80о;
F= 0,8*2*28=44,8 мм; l=34 мм;
r>ср
>=
мм;
d>a
>=
d>o>-
x = m*z*cos
- х
= 2*28*cos30o
-1 = 47.5 мм;
=
= 75.5
< [
]
= 220
;
Напряжение смятия меньше предельно допустимого почти в 3 раза, следовательно, выбранные шлицы эвольвентного профиля будут нормально работать при таких нагрузках.
2)Шлицы от колеса z>3>, которые передают крутящий момент на ступень перебора (z>4>): эв. 85×2,5×32.
М>кр> = F>t>*r>3>=5990*0.126 = 754.74 Нм, l = 22 мм (берем из чертежа);
[
]
= 300
(для стали 12×2НЧА),
= 30о;
d>a>
= d>o>-X
= m*z*cos
-X
= 2*32*cos30o
– 1.25 =
54.18 мм;
r>ср
= >>
>мм;
F = 0.8*m*z = 0.8*2*32 = 51.2 мм;
=
< [
]
= 300
.
Следовательно,
не превышает допустимого значения.
3)Шлицы, передающие крутящий момент от колеса z>6 >на главный вал, берем эвольвентные: эв. 95×2,5×36.
М>кр> = F>t>*r>6> = 9875*0.126 = 1244,25 Нм;
l = 22 мм; m = 2.5; z = 36; D>c> = 95 мм; X = 1.25 мм.
d>a> = d>c> – X = m*z*cos30o – 1.25 = 2.5*36*cos30o – 1.25 = 76.7 мм;
r>ср>
=
мм;
F = 0.8*m*z = 0.8*2.5*36 = 72 мм;
=
< [
]
= 380
(сталь
38ХМЮА).
То есть шлицы выдерживают данный режим работы.
4)Шлицы, передающие крутящий момент от водила к основному валу –
эвольвентные: эв. 45×2,5×18.
М>кр> = 1078,2 Нм, l = 35 мм; m = 2.5; z = 18; X = 1.25 мм;
d>a >= d>o> – X = m*z*cos30o> >– X = 2.5*18*cos30o – 1.25 = 37,72 мм;
r>ср>
=
мм;
F = 0.8*m*z =
0.8*2.5*18 = 36 мм2;
;
=
=
= 371,65
< [
]
=410
-
(применяем сталь 30ХГСАУ).
С расчета следует, что выбранные шлицы вполне выдерживают данные напряжения смятия, возникающие при работе редуктора.
Расчет болтового соединения
Расчет болтового соединения проводим для фланца (на конце основного вала), предназначенного для передачи крутящего момента от вала редуктора к тяговому винту.
Предположим, что болтовое соединение выполнено без зазора группой болтов.
При расчете прочности соединения не учитываются силы трения в стыке, так как затяжка в данном болтовом соединении не обязательна. Стержень болта рассчитывают на напряжения среза и смятия.
Схема для расчета болта, поставленого без зазора при поперечной нагрузке.

Рис.4.Эпюры напряжений сжатия стержня болта
а) действительное Рис. 4-5 б) расчетное
Условия прочности
по напряжениям среза:
.
Где i – число плоскостей среза (i=1);
-
диаметр болта (d>o>=16);
,
где z – количество болтов;
;
;
м (по чертежу)
N- мощность двигателя, кВт;
n- частота вращения винта, об/мин.
Н.
Подставим в формулу
для
.
МПа,
МПа
( для стали 40ХН).
Рассчитаем
,
где l=20
мм толщина фланца, соприкасающаяся с
болтом (по чертежу), а
МПа
(для стали 40ХН).
МПа;
так как
МПа
МПа.
То есть, из расчета болтов видно, что они “с запасом” выдерживают нагрузки на смятие и срез, возникающие при работе редуктора.
Смазка механизма
Смазочные материалы в машинах применяются с целью уменьшения интенсивности изнашивания, снижения силы трения, отвода от крутящихся (трущихся) поверхностей теплоты и продуктов изнашивания, и также для предохранения деталей от коррозии. Снижение сил трения благодаря смазке обеспечивает повышение КПД машины (редуктора). Кроме того, большая стабильность коэффициента трения и демпфирующие свойства слоя смазочного материала между взаимодействующими поверхностями способствует снижению динамических нагрузок, увеличению плавности и точности работы машины (редуктора).
В зависимости от условия работы- применяют жидкие, пластичные и твердые смазочные материалы. Наиболее распространенные жидкие масла. К ним относятся индустриальные масла общего назначения и специальные масла, первоначальное назначение которых отражено в их названии:
1. Турбинные (для смазывания подшипников и других агрегатов турбин);
2. Авиационные;
3. Трансмиссионные;
4. Автомобильные и др..
В данном редукторе используется смесь масел по объему:
75% - трансформаторного масла по ГОСТ 982-56;
25% - МС-20 по ГОСТ 1013-49.
В редукторе используется один из способов подвода и нанесения смазочного материала поверхность трения, а точнее, циркуляционный способ (жидкий смазочный материал подается принудительно, например поливом или подачей под давлением, к трущимся поверхностям, стекает с них в маслосборник и через нагнетательную систему вновь подается к поверхностям трения ).
редуктор вал подшипник
Вывод
Таким образом, был произведен расчет авиационного редуктора, двигателя АИ- 20. Его геометрические параметры, по возможности, согласованны с выданным прототипом.
Для расчета были использованы такие исходные данные:
N=1380 кВт;
nt=12400 об/мин;
nв=1000 об/мин;
Т=7000 часов.
В процессе работы над курсовым проектом были рассчитаны и подобранны, по возможности, близкие к стандартным различные виды соединений (болтовое, шлицевое), зубчатых зацеплений. Был произведен расчет и подбор подшипников, проверка на долговечность которых позволила утверждать то, что конструкция может успешно работать на протяжении всего ресурса.
Итогом курсового проекта стали сборочный чертеж редуктора и рабочий чертеж детали.
Список использованной литературы
Расчет и проектирование зубчатых передач. Учебное пособие к курсовому проектированию по деталям машин, Харьков, ХАИ – 1980, 113с.
Детали машин, М.М.Иванов, М. – Высшая школа, 1964г., 448с.
Я.Я.Перель, Подшипники качения. Справочник, М. – Машиностроение, 1983, 543с.
Справочник материалов, Киев – Высшая школа, 1986, 638с.
В.И.Анурьев, Справочник конструктора – машиностроения, в 3-х томах, Т.1,2,3 ; М. – Машиностроение,1979.
6. В.И. Назин “Проектирование подшипников и валов”.