Расчет трансформатора (работа 2)
Введение
Известно, что наибольшее распространение в трансформатостроении получили силовые трансформаторы со стержневыми магнитопроводами, как наиболее простые и удобные в конструктивном отношении по сравнению с трансформаторами броневого типа. Трансформаторы броневого типа в России в основном используются в маломощных радиотехнических установках. Трансформатор со стержневым магнитопроводом обладает лучшими условиями охлаждения обмоток и сердечника, доступностью осмотра обмоток при ревизии трансформатора, простотой сборки и ремонта сердечника и т.д. [1].
В курсовой работе в краткой форме произведен расчет силового трансформатора без подробного рассмотрения ряда второстепенных деталей и узлов имеющих значение при заводском проектировании. Однако это дает возможность овладеть основами расчета трансформаторов.
Исходные данные для проектирования
|
Номинальная мощность трансформатора………. |
S = 400 кВА |
|
Число фаз……………………………… |
m =3 |
|
Частота сети……………………………. |
f=50 Гц |
|
Режим работы трансформатора……………… |
продолжительный |
|
Номинальное высшее линейное напряжение……. |
U>ВН> = 10000 В |
|
Номинальное низшее линейное напряжение……. |
U>НН> = 515 В |
|
Схема и группа соединения обмоток…………. |
Y/Y – 12 |
|
Способ охлаждения трансформатора…………. |
естественное масляное |
|
Напряжение короткого замыкания……………. |
u>к> = 4,5% |
|
Потери короткого замыкания………………. |
Р>к> = 3000 Вт |
|
Потери холостого хода……………………. |
Р>о> = 1500 Вт |
|
Ток холостого хода………………………. Материал обмоток………………………. |
i>o> = 4,9% алюминий |
Обозначим, для краткости, первичную обмотку трансформатора –1, а вторичную – 2.
1 Основные электрические величины
Номинальные фазные напряжения (при этом принимаем во внимание, что при схеме звезда):

В.
Номинальные токи. При схеме «звезда» I>ф> = I>л>


т.о. I>1> = I>1ф >= 448,4 А; I>2> = I>2ф >= 23,1 А
2. Определение основных размеров трансформатора
Данные для расчета:
металл провода обмоток – алюминий;
марка стали сердечника – 3411 (Э310);
толщина листов стали – 0,35 мм;
удельные потери в стали р>10>= 1,75 Вт/кг;
магнитная индукция в стержнях В>с>=1,6 Тл;
средняя плотность тока в обмотках j = 2 А/мм2;
Отношение веса стали к весу металла обмоток
,
где p>м> – удельные потери в металле обмоток для алюминия p>м>=12,75 Вт/кг.
ЭДС на один виток
В/виток.
где С>0> – коэффициент определяемый формой катушек, материалом. При трехслойной конструкции, алюминий, круглая форма катушек
С>0 >= 0,14…0,21 [4]. Примем С>0 >=0,17.
Число витков в обмотке 1
виток;
Число витков в обмотке 2
витков.
Уточненное значение ЭДС на виток
В/виток
Площадь поперечного сечения стали стержня сердечника
см2;

Рисунок 2.1 Ступенчатая форма поперечного сечения стержня трансформатора
Число ступеней стержня сердечника n=6; [4]
Число каналов в сердечнике – сердечник без каналов;
Коэффициент заполнения площади описанного круга площадью ступенчатой фигуры k>кр>=0,935 [4];
Изоляция стали – бумага;
Коэффициент заполнения ступенчатой фигуры сталью f>с>=0,92 [4];
Диаметр круга, описанного вокруг стержня сердечника
см.
Номинальная мощность обмотки 1 на стержень сердечника
кВА;
где с – число фаз.
Номинальное напряжение обмотки 1 на стержень сердечника
В;
Номинальный ток обмотки 1 на стержень сердечника
А;
Число витков обмотки 1 на стержень сердечника
виток;
Предварительная площадь поперечного сечения провода обмотки 1
мм2;
Тип обмотки 1 – цилиндрическая двухслойная из провода прямоугольного сечения [2];
Номинальная полная мощность обмотки 2 на стержень сердечника
кВА;
Номинальное напряжение обмотки 2 на стержень
В;
Номинальный ток обмотки 2
А;
Число витков обмотки 2 на стержень
витков;
Предварительная площадь поперечного сечения провода обмотки 2
мм2;
Тип обмотки 2 – многослойная цилиндрическая из провода круглого сечения [2].
Испытательное напряжение обмотки 1
кВ; [4]
Испытательное напряжение обмотки 2
кВ; [4]
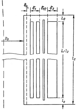
Изоляционный цилиндр между обмоткой 1 и сердечником δ>цо>> >не предусматривается;
Полное расстояние между обмоткой 1 и стержнем сердечника
δ>о>=0,9 см; [4]
Расстояние между обмоткой и ярмом
l>о>=3 см;
Толщина изоляционного цилиндра в промежутке между обмотками 1 и 2
δ>ц12>=0,3 см;
Толщина каждого из двух вертикальных каналов
а>к12>=0,5 см;
Полное расстояние между обмотками 1 и 2
δ>12>=2.а>к12>+δ>ц12>=2.0,5+0,3=1,3 см;
Предварительная радиальная толщина обмотки 1 из алюминиевого провода при мощности одного стержня от 50 до 500 кВт δ>1>= 3,6…4,4, принимаем δ>1>=4 см [4].
Предварительная радиальная толщина обмотки 2 при предыдущих мощностях δ>2>= 2,5…3, принимаем δ>2>=2,7 см [4].
Предварительное приведенное расстояние между обмотками
см.
Средний диаметр обмотки 1
см;
Средний диаметр обмотки 2
см;
Средняя длина витка обмоток
см.
Активная составляющая напряжения короткого замыкания
;
Индуктивная составляющая напряжения короткого замыкания
;
Высота обмоток по оси стержня сердечника
см;
где К>р>= 0,95…0,97 – коэффициент учитывающий переход от средней длины магнитных линий потоков рассеяния к действительной высоте обмоток по оси стержня [4].

Рисунок 2.3 Предварительный эскиз расположения обмоток в окне трансформатора
Высота окна сердечника
см.
Отношение высоты окна сердечника к диаметру стержня сердечника
,
При обмотках из алюминиевого провода в трансформаторах с масляным охлаждением l>c>/D>0>=4,2…5,2 [4]
3. Расчет обмоток трансформатора
Уточнение средней плотности тока в обмотках
А/мм2.
где k>м> – коэффициент учитывающий потери в отводах и потери от потоков рассеяния в баке трансформатора. k>м> =0.96…0,92 [4].
γ>м> – удельный вес алюминия, γ>м>=2,7 кг/см3.
Предварительная удельная тепловая загрузка поверхности обмотки 1
q – количество теплоты переданное маслом охлаждающей поверхности, q>1>≤ 700…900 – при цилиндрической, винтовой обмотке из алюминия, режим продолжительный. Принимаем q>1>=700 Вт/м2;
Предварительная удельная тепловая загрузка поверхности обмотки 2
q>2>≤500…700 – при многослойной обмотке из алюминия, с проводом круглого сечения. Принимаем q>1>=500 Вт/м2 [4].
4. Расчет цилиндрической обмотки 1 из провода прямоугольного сечения
Предварительная плотность тока в обмотке 1
А/мм2;
Площадь поперечного сечения провода обмотки 1
мм2.
Цилиндрическая обмотка 1 из провода прямоугольного сечения может иметь один или два слоя, принимаем число слоев n>в1>=2.
Число витков в слое
витков;
Предварительная высота витка вдоль стержня сердечника
см;
Число цилиндрических поверхностей охлаждения обмотки

где k>п>≈0,75
– коэффициент частичного закрытия
поверхности обмотки рейками, образующие
вертикальные каналы, принимаем
[5].
Окончательно по табл. 5–3 [4] принимаются следующие размеры провода
мм
где а>1> – большая сторона сечения провода;
b>1> – меньшая сторона сечения провода;
δ>u> – нормальная изоляция провода, для провода марки ПББО δ>u> = 0,45 [4];
– число параллельных
проводов.
Площадь поперечного сечения провода
=
мм2;
где S>м1к> – площадь поперечного сечения провода обмотки 1
Плотность тока в обмотке 1
А/мм2;
Толщина витка вдоль стержня сердечника
см;
где b>1мк> – осевая толщина m – ного изолированного параллельного провода.
Удельная тепловая загрузка поверхности обмотки 1
Вт/м2;
Радиальная толщина витка
см.
a>u>>1 >= a>1> + δ>u>
Высота обмотки 1 вдоль стержня сердечника
см;
Радиальная толщина вертикального канала между двумя слоями обмотки 1. Для масляных трансформаторов.
а>к>=0,6 см;
Радиальная толщина обмотки 1
см.
Средний диаметр обмотки 1
см;
Средняя длина витка обмотки 1
см;
Вес металла обмотки 1
кг,
где
г/cм3
– удельный вес обмоточного провода
[6].
Потери в обмотке 1 без учета добавочных потерь
Вт;
Сумма толщин всех проводов без изоляции обмотки 1 вдоль стержня
см;
Полное число проводов обмотки 1 вдоль радиуса
;
Коэффициент увеличения потерь в обмотке 1 от поверхностного эффекта

где ρ – удельное сопротивление алюминия при 75 ºC, ρ =0,034 Ом·м;
;
Потери в обмотке 1 с учетом добавочных потерь
Вт.
5. Расчет многослойной цилиндрической обмотки 2 из провода круглого сечения
Плотность тока в обмотке 2
А/мм2;
Площадь поперечного сечения провода обмотки 2
мм2.
Число параллельных проводов в обмотке 2
;
Диаметр голого и изолированного провода (таблица 5–1) [4]
мм;
Марка провода – АПБ;
Площадь поперечного сечения провода обмотки 2
мм2;
где
– площадь поперечного сечения
изолированного провода
Плотность тока в обмотке 2
А/мм2;
Расчетный диаметр изолированного провода обмотки 2 с учетом неплотности намотки
см;
Толщина витка вдоль стержня сердечника
см;
Число витков в одном слое обмотки

Число слоев обмотки 2
,
что нежелательно;
принимаем
;
Окончательное число витков в слое
,
т.е. 10 слоев
по 77 витков и 1 слой из 28 витков, т.е. всего
витков.
Рабочее напряжение между двумя слоями
В;
Толщина междуслойной изоляции
δ>мсл>=0,036 см;
Выступ междуслойной изоляции на торцах обмотки 2 равен 1,6 см [4];
Число цилиндрических поверхностей охлаждения обмотки 2 на стержень сердечника
;
Принимаем
(округляется
до целого значения в пределах от 1 до 4)
Удельная тепловая загрузка поверхности обмотки 2
Вт/м2.
Число слоев и витков в слое во внутренней катушке – 1 слой по 77 витков в слое;
Число слоев и витков в слое в наружной катушке – 1 слой по 77 витков и 1 слой из 28 витков;
Радиальная ширина вертикального канала между двумя концентрическими катушками обмотки 2
а>к2>=0,7 см;
Радиальная толщина обмотки 2
см;
Высота обмотки 2
см.
Уточнение приведенного расстояния
см,
где
– приведенное расстояние между обмотками,
см;
– высота обмоток, см.
Уточнение действительного расстояния между обмотками 1 и 2
см;
Средний диаметр обмотки 2
см;
Средняя длина витка обмотки 2
см;
Вес металла обмотки 2
кг.
Потери в обмотке 2 без учета добавочных потерь
Вт;
Коэффициент увеличения потерь в обмотке 2 от поверхностного эффекта


Потери в обмотке 2 с учетом добавочных потерь
Вт.
6. Параметры и относительное изменение напряжения трансформатора
Потери короткого замыкания
Вт,
т.е. на 0,3% больше заданного, что допустимо [4].
Активная составляющая напряжения короткого замыкания
%;
Приведенное расстояние между обмотками
см;
Коэффициент, учитывающий переход от средней линии магнитных силовых линий потоков рассеяния к высоте обмоток
;
Средняя длина витка обмоток 1 и 2
см;
Индуктивная составляющая напряжения короткого замыкания
%;
Напряжение короткого замыкания
%,
т.е. на 3,5% больше задания, что допустимо.
Активное сопротивление обмотки 1
Ом;
Активное сопротивление обмотки 2
Ом;
Активная составляющая сопротивления короткого замыкания, приведенная к числу витков обмотки 1
Ом;
Индуктивная составляющая сопротивления короткого замыкания, приведенная к числу витков обмотки 1
Ом;
Процентное изменение напряжения при номинальной нагрузке (β= 1) и
cos φ = 0,8

%.
7. Механические силы в обмотках при коротком замыкании
Установившийся ток к. з. в обмотках
А;
А;
Максимальное значение тока к. з. в обмотке 2
А;
Суммарная радиальная сила при к.з.
кг;
Разрывающее напряжение в проводе обмотки 2
кг/см2,
что допустимо. Допустимое напряжение для алюминия σ ≤600…700 кг/см2
8. Расчет магнитной системы трансформатора
Принимаем: запрессовка стержней сердечника выполнена клиньями между сердечником и обмоткой 1, сердечник без каналов [4];
Ширина пакетов стержней сердечника:
см;
см;
см;
см;
см;
см;
Толщина пакетов стержня сердечника (в сердечнике нет каналов):
см;
см;
см;
см;
см;
см;
Площадь поперечного сечения ступенчатой фигуры стержня сердечника

см2;
Площадь поперечного сечения стали стержня сердечника
см2;
Магнитная индукция в стали стержня сердечника
Тл.
Коэффициент увеличения площади поперечного сечения стали ярма
k>я>=1,05; [4]
Поперечное сечение стали ярма
см2;
Магнитная индукция в стали ярма
Тл;
Высота ярма сердечника
;
см;
Толщина ярма перпендикулярно листам стали
см.
Наружный диаметр обмотки 2
см;
Расстояние между осями стержней сердечника
см;
Длина ярма сердечника
см;
Длина стержней сердечника
см;
Вес стали стержней сердечника
кг;
Вес стали ярем сердечника
кг;
Полный вес стали сердечника
кг.
Вес металла обмоток
кг;
Отношение веса стали к весу металла обмоток
.
Потери в стали сердечника (потери холостого хода) [5]

где
G>у>= G>с.у.>+ G>я.у.>= γS>с>•2b>1>+ γS>я>•2b>1>
G>у> =7,6•216•2•17,19•10-3+7,6•226•2•17,19•10-3=56,4+59,1=115,5 кг;
Ку=1,5, [5]
P>10>=1,75 Вт/кг; P>10я>=1,57 Вт/кг; [4]
т.о.
Вт;
т.е. на 4% больше заданного, что допустимо.
Сборка сердечника – впереплет.
Число эквивалентных магнитных зазоров в сердечнике крайней фазы с магнитной индукцией В>с>
;
Число эквивалентных магнитных зазоров в сердечнике крайней фазы с магнитной индукцией В>я>
;
Амплитуда намагничивающего тока крайней фазы обмотки 1

где aw>c> – удельные магнитодвижущие силы (МДС) в стержне; [4]
aw>я> – удельные МДС в ярме; [4]
δ>э> – длина эквивалентного воздушного зазора в стержне и ярме при сборке сердечника в переплет, δ>э> = 0,005 см [4].
А;
Число зазоров в сердечнике средней фазы с магнитной индукцией В>с>
;
Число зазоров в сердечнике средней фазы с магнитной индукцией В>я>
;
Амплитуда намагничивающего тока средней фазы обмотки 1

А;
Среднее значение амплитуды намагничивающего тока для трех фаз
А.
Реактивная составляющая фазного тока холостого хода обмотки 1
А.
где k>A>>1> – коэффициент амплитуды, зависящий от магнитной индукции и вида стали.
Реактивная составляющая фазного тока холостого хода по упрощенному методу расчета

где σ>с> – коэффициент учитывающий соединение обмоток на стороне питания, σ>с>=1 если обмотки соединены в треугольник или звезду с нулевым проводом, σ>с>=1…0,92 если на стороне питания обмотки соединены в звезду без нулевого провода;
р>рс> – удельная реактивная мощность намагничивания листовой электротехнической стали, р>рс> = 22…44;
р>δс> – удельная реактивная мощность намагничивания мест сопряжения стальных листов р>δс> = 1,8…2,7 при В=В>с>;
р>δя> – удельная реактивная мощность намагничивания мест сопряжения ярма
р>δя> = 1,7…2,2 при В=В>я>.
А;
Реактивная составляющая линейного тока холостого хода по упрощенному методу расчета
А.
Активная составляющая фазного тока холостого кода обмотки 1
А;
Фазный ток холостого хода
А;
Линейный ток
холостого хода обмотки 1
,
т. к. соединение «звезда».
Линейный ток холостого хода в процентах от номинального тока
%,
т.е. на 2% больше заданной величины, что допустимо.
9. Коэффициент полезного действия
Коэффициент полезного действия при номинальной нагрузке и cos φ = 0,8
%;
Кратность тока нагрузки, при которой коэффициент полезного действия максимальный
;
Максимальное значение КПД при cos φ>2> = 0,8
%.
Заключение
Проектирование трансформаторов включает в себя расчет и их конструирование. В данной курсовой работе рассматривался только расчет силового трехфазного трансформатора с масляным охлаждением мощностью 400 кВА напряжением 10/0,4 кВ.
На основе задания и исходных данных выбираем трехфазный масляный трансформатор, соответствующий требованиям ГОСТ 11677, ГОСТ 11920, ГОСТ-15150, марки ТМГ-400/10–0,4 – У1 – трансформатор трехфазный силовой масляный герметичного исполнения (без маслорасширителя) общего назначения мощностью 400 кВ-А с естественным масляным охлаждением, с напряжением на высокой стороне 10 кВ, на низкой – 0,4 кВ, климатического исполнения для умеренного климата.
Библиографический список
1. Беспалов, В.Я. Электрические машины [Текст]: учебник / В.Я. Беспалов [и др.]. – М.: Академия, 2006. – 313 с.
2. Ванурин, В.Н. Электрические машины [Текст]: учебник / В.Н. Ванурин. – М.: Энергия, 2006. – 380 с.
3. Епифанов, А.П. Электрические машины [Текст]: учебник / А.П. Епифанов. – М.: Лань, 2006. – 263 с.
4. Тихомиров, П.М. Расчет трансформаторов [Текст]: учебник / П.М. Тихомиров. – М.: Энергия, 1976. – 544 с.
5. Дымков, А.М. Расчет и конструирование трансформаторов [Текст]: учебник / А.М. Дымков. – М.: Высш. шк., 1971. – 264 с.
6. Сергеев, П.С. Проектирование электрических машин [Текст]: учебник / П.С. Сергеев, Н.В. Виноградов, Ф.А. Горяинов. – М.: Энергия, 1969. – 632 с.
7. Ермолин, Н.П. Расчет силовых трансформаторов [Текст]: пособие по курсовому проектированию / Н.П. Ермолин, Г.Г. Швец. – Л.: ЛЭТИ, 1964. – 167 с.