Оборудование и основы технологии проектирования электросталеплавильных цехов
Содержание
Введение
1. Вакуумные дуговые печи
2. Установки электрошлакового переплава
3. Электронно-лучевые установки
4. Установки плазменно-дугового переплава в водоохлаждаемый кристаллизатор
5. Вакуумные индукционные печи
Заключение
Используемая литература
Введение
К плавильному оборудованию цехов специальной электрометаллургии относятся вакуумные дуговые печи (ВДП), установки электрошлакового переплава (ЭШП), электроннолучевые установки (ЭЛУ), плазменные установки и вакуумные индукционные печи (ВИП). Все перечисленные плавильные агрегаты, кроме ВИП, предназначены для переплава литых или кованых заготовок в медный водоохлаждаемый кристаллизатор с целью улучшения качества металла. Особенностью большинства из перечисленных агрегатов является наличие в плавильной зоне вакуума или нейтральной атмосферы (обычно аргона), что позволяет эффективно удалять из переплавляемого металла газы и неметаллические включения, а также обеспечивать минимальный угар легирующих элементов.
1. Вакуумные дуговые печи
электросталеплавильный цех печь оборудование
Промышленное освоение этих печей относится к периоду 1953—1954 гг. Если первые слитки, выплавленные в ВДП, имели диаметр 100—150 мм, то в настоящее время, например в ФРГ, выплавляют стальные слитки диаметром 1500 и 1800 мм и массой 50 и 200 т соответственно.
Наибольшее распространение в настоящее время получили ВДП, в которых дуга горит между зеркалом расплава и расходуемым электродом, изготовленным из предназначенного для переплава металла. Оторвавшиеся от расходуемого электрода капли расплавленного и перегретого металла формируются в слиток в металлической водоохлаждаемой изложнице-кристаллизаторе (рис. 1, а). Это обеспечивает направленную кристаллизацию слитка и получение зерен с относительно мелкой структурой. В результате вакуумного дугового переплава сталей в зависимости от их химического состава содержание кислорода в составе неметаллических включений в металле снижается на 30—65 %, содержание азота уменьшается на 25-30%, водород удаляется полностью, испаряются вредные примеси цветных металлов, таких как свинец, висмут, сурьма.
Все это улучшает механические свойства металла: пластичность, усталостную прочность, ударную вязкость. В, ВДП преимущественно используется постоянный ток прямой полярности, при которой переплавляемый электрод служит катодом, а металл наплавляемого слитка анодом. Это обеспечивает более устойчивое горение электрической дуги.
Источником тепла в ВДП является мощный электрический разряд, для которого характерными являются большая сила постоянного тока и сравнительно низкое напряжение 20—ЗОВ Межэлектродный промежуток заполняется парами переплавляемого металла и выделяющимися из него газами.
Процесс плавки в ВДП осуществляется в следующей последовательности. На поддон кристаллизатора укладывают затравку (металлическую шайбу). К подвижному штоку, жестко связанному с электрододержателем, присоединяют (приваривают) расходуемый электрод. Химический состав металла затравки и расходуемого электрода должен быть одинаковым. Уплотняют плавильную камеру печи и откачивают вакуумными насосами воздух. Получив необходимый вакуум (0,06 Па), включают печь, т.е. подают на электроды напряжение, и опускают расходуемый электрод к затравке до зажигания дуги. По окончании плавки печь отключают, разгерметизируют плавильную камеру и извлекают из кристаллизатора готовый слиток.

Рис. 1. Схема (а) и общий вид (б) дуговой вакуумной печи
типа ДСВ-11-2-Г37
1- расходуемый электрод; 2- рабочая (вакуумная) камера; 3-кристаллизатор; 4- слиток; 5- откачная система; 6- проходное вакуумное уплотнение; 7- токоведущий шток; 8- механизм передвижения электрода; 9,10,11- соответственно механизмы подъема, разгрузки и выката кристаллизатора
По принципу действия ВДП с расходуемым электродом разделяются на печи для плавки в глухой кристаллизатор и печи с вытягиванием слитка по мере его наплавления. При выплавке стали преимущественно применяются ВДП с глухим кристаллизатором.
Общий вид промышленной печи ДСВ-11.2-Г37, предназначенной для плавки стального слитка массой до 60 т, показан на рис. 1,6.
Отечественной промышленностью освоено производство печей серии ДСВ для выплавки стальных слитков массой от 1 до 60 т.
ВДП с глухим кристаллизатором включает следующие основные узлы: вакуум-камеру, кристаллизатор, шток электро-додержателя с механизмом подачи переплавляемой заготовки, механизм подачи кристаллизатора с расходуемым электродом в вакуум-камеру и разгрузки слитка из кристаллизатора, вакуумную систему. Одним из основных узлов ВДП является вакуум-камера, в которой размещается расходуемый электрод. Вакуум-камера представляет собой водоохлаждаемый герметичный сосуд с двойными стенками. К вакуум-камере снизу крепят кристаллизатор, который является наиболее теплонагруженным и взрывоопасным узлом печи (рис. 1). Он состоит из внутренней гильзы и наружного кожуха, между которыми имеется полость для протока воды. Гильза изготовляется из металла с высокой теплопроводностью — меди или хромистой бронзы БрХ-0,8 и имеет толщину стенки 30—40 мм. Наружный кожух кристаллизатора изготовляют обычно из немагнитной стали. Ширину водяного зазора выбирают такой, чтобы обеспечить достаточную скорость воды при отсутствии кипения и выпадения солей жесткости. Максимальная величина удельных тепловых потоков, воспринимаемых стенками кристаллизатора, составляет при выплавке стали 510—1300 кВт/м2.
Геометрические параметры печи зависят от массы и размеров слитка. При переплаве расходуемого электрода получают, как правило, цилиндрические слитки, что объясняется простотой их механической обработки при обдирке поверхности. Наряду с цилиндрическими выплавляют слитки квадратного и прямоугольного сечений.
Параметрами печи, определяющими ее габариты, особенно по высоте, являются длина слитка и соотношение длины и размеров сечения. На выбор этих параметров влияют следующие факторы:
1) возможность передела выплавленных слитков методами пластической деформации. С этой точки зрения отношение длины слитка к его диаметру не должно превышать 2,5-3 для слитков, подвергаемых ковке и прессованию. При прокатке на сорт это отношение может быть увеличено до 4-5;
2) изготовление расходуемых электродов. Стальные электроды изготавливаются посредством прокатки, ковки или отливки в изложнице или полунепрерывным методом. Длина их может быть достаточно большой;
3) удаление газов из зоны их максимального выделения. При большой длине кристаллизатора промежуток между ним и электродом начинает снижать проводимость системы откачки и дегазация металла в начале плавки ухудшается. Это особенно заметно при высоком вакууме (0,133—0,00133 Па);
4) производительность печи. Для улучшения этого показателя целесообразно максимально увеличивать длину, а следовательно, и массу слитка.
Увеличение длины слитка требует увеличения длины кристаллизатора и штока, что приводит к пропорциональному росту высоты цеха, стоимости изготовления печи и монтажа ее в цехе. Для стальных слитков, подлежащих ковке или прессованию, отношение длины к диаметру слитка не должно превышать 2,5-3,0. Для стальных слитков, прокатываемых на сортовую заготовку, это отношение следует увеличить до 4—5. Масса расходуемого электрода определяется массой слитка и остатка (огарка) электрода после плавки, а размеры электрода — выбором соотношения диаметра электрода и кристаллизатора. Решающее влияние на диаметр расходуемого электрода обычно оказывает возможность его изготовления современными средствами. При выборе сечения следует учитывать кривизну электродов, возможности центровки и крепления огарка, качество приварки к огарку. Не следует допускать уменьшение зазора между электродом и кристаллизатором менее 30—60 мм, увеличивая его при росте диаметра кристаллизатора. При чрезмерно малом зазоре может произойти переброс дуги на стенку кристаллизатора. Следует также учитывать проводимость зазора с точки зрения откачки газов из зоны дуги.
Приведенные соображения показывают, что целесообразно иметь соотношение диаметров электрода и кристаллизатора максимально близким к единице, ограничивая его лишь возможностями откачки и исключением переброса дуги. На большинстве промышленных печей величина зазора составляет при переплаве стали 30—60 мм.
2. Установки электрошлакового переплава
Способ электрошлакового переплава (ЭШП) был впервые разработан в Институте электросварки имени Е.О. Патона АН УССЕ и внедрен в промышленных условиях в 1958 г. Сущность процесса ЭШП состоит в переплаве металла расходуемого электрода в слое электропроводного флюса (шлака), размещенного в водоохлаждаемом металлическом кристаллизаторе, который устанавливается на водоохлаждаемый поддон (рис. 2)

Рис. 2. Принципиальная схема однофазной установки ЭШП (а) и распределение
тепла в шлаковой ванне при использовании флюса АНФ-6 (б): 1 — расходуемый электрод; 2 — водоохлаждаемый кристаллизатор; 3 — расплавленный шлак; 4 — слиток; 5 — ванна жидкого металла; 6 — шлаковый гарнисаж; 7 — понижающий трансформатор; 8 — поддон
Переменный ток проходит через электрод и шлак, который при высокой температуре становится электропроводным и разогревается до 1600—2000 °С. За счет выделения мощности в шлаковой ванне температура последней поддерживается более или менее постоянной (1700—2000 °С).
Часть тепла шлаковой ванны передается погруженному в нее торцу электрода, который оплавляется, а капли металла, проходя через шлак, очищаются от вредных примесей. Химический состав применяемых флюсов отличается высокой основностью. Наплавляемый в водоохлаждаемый кристаллизатор металл формируется в плотный слиток с однородной макроструктурой, отличающейся ровной гладкой поверхностью, которая не требует дополнительной механической обработки (обдирки) перед прокаткой, ковкой. Хорошая поверхность слитка, получаемого в установках ЭШП, связана с образованием на поверхности кристаллизатора шлакового гарнисажа.
Высокая основность и температура шлаковой ванны обеспечивают высокую степень удаления серы (от 0,015—0,02 до 0,003—0,006%). Кроме того, при электрошлаковом переплаве из металла удаляются газы и неметаллические включения. Так, если сталь не содержит нитридообразующих элементов (титана, ниобия), то содержание кислорода снижается в 2 раза, водорода — в 1,5—2,0 раза, азота — в 1,5—2,5 раза, общее содержание неметаллических включений — в 2—Зраза. Необходимо отметить, что степень удаления газов при электрошлаковом переплаве стали меньше, чем при вакуумно-дуговой плавке.
Процесс плавки включает следующие операции: вспомогательные (разгрузка слитка из кристаллизатора, установка расходуемого электрода и соединение его с головкой электрододержателя), наведение шлаковой ванны, наплавление слитка в кристаллизатор и выведение усадочной раковины. Шлаковая ванна может наводиться с применением твердого или предварительно расплавленного флюса. Для расплавления твердого флюса непосредственно в кристаллизаторе применяют специальные электропроводящие в холодном состоянии смеси. При этом перед загрузкой смеси на медный поддон кристаллизатора укладывают затравку - шайбу из углеродистой стали. Расход флюса независимо от способа наведения шлака составляет обычно 3-5 % массы слитка.
Таблица 14. Состав и свойства флюсов для установок ЭШП
|
Марка флюса |
Химический состав, % |
Температура плавления, °С |
Плотность, т/м3 |
Удельное электрическое сопротивление, Ом • м |
||
|
CaF2 |
А12О3 |
СаО |
MgO |
|||
|
АНФ-1П 95 |
_ |
5 |
_ |
1390-1410 |
2,25 |
0,0015-0,002 |
|
АНФ-6 70 |
30 |
— |
1320-1340 |
2,47 |
0,003-0,0035 |
|
|
АН-291 18 |
40 |
25 |
17 |
1450 |
2,64 |
0,0037-0,004 |
В конструктивном отношении установки ЭШП относительно просты по сравнению с ВДП, так как они работают в основном на воздухе и не требуют герметичности и сложных вакуумных откачных систем. Установка ЭШП включает следующие узлы: кристаллизатор, стойку-колонну, по которой с помощью специального механизма перемещается каретка элект-рододержателя или кристаллизатор, электрододержатель с механизмом зажима электродов, поддон, тележку для установки и отката кристаллизатора, устройство для сифонной заливки шлака в кристаллизатор (рис. 45).

Рис. 3. Схема (а) и общий вид (б) однофазной
одноэлектродной установки ЭШП
1 — электропечной понижающий трансформатор; 2 — расходуемый электрод; 3 — кристаллизатор; 4 — ванна жидкого шлака; 5 — шлаковая корочка (гарнисаж); 6 — слиток; 7 — тележка для выката слитка; 8 — механизм подъема каретки; 9 — каретка; 10 — механизм передвижения несущей конструкции; 11 — стойка; 12 — несущая конструкция
Нижняя часть стойки-колонны используется как канал вентиляционной сиитемы для отсоса выделяющихся из кристаллизатора газов и пыли.
Установки ЭШП нашли широкое применение в металлургии и машиностроении для получения слитков сплошного сечения цилиндрической, квадратной и прямоугольной форм (табл. 15). Наряду с получением слитков сплошного сечения метод ЭШП применяют, как было сказано выше, для выплавки полых слитков. Для этого созданы специализированные установки ЭШП. Схема выплавки полых слитков с расположением электродов в кольцевом зазоре, образуемом наружным и внутренним кристаллизаторами (дорном), является наиболее распространенной. При выплавке относительно коротких полых слитков целесообразно иметь внутренний кристаллизатор, подвижный относительно наружного кристаллизатора и поддона. Если внутренний кристаллизатор остается по ходу плавки неподвижным, то в этом случае поддон со слитком и наружным кристаллизатором должен подниматься вверх (рис. 47, в).
Методом электрошлакового переплава получают также фасонные литые отливки ответственного назначения. Технологические возможности ЭШП велики, и они еще себя полностью не исчерпали.
3. Электронно-лучевые установки
Электронно-лучевые установки (ЭЛУ) начали получать развитие с середины 50-х годов. Они предназначены для глубокого рафинирования стали и сплавов, а также тугоплавких металлов, таких как молибден, ниобий, тантал, цирконий, вольфрам. В электросталеплавильном производстве наибольший эффект получают при выплавке в ЭЛУ конструкционных высокопрочных, штамповых, некоторых инструментальных, подшипниковых, коррозионностойких и жаропрочных сталей.
Электронно-лучевой нагрев основан на преобразовании кинетической энергии разогнанных до больших скоростей (от 50 до 100 км/с) электронов в тепловую при их соударении с поверхностью нагреваемого объекта, которым в плавильных установках является металл. При этом электрическая энергия превращается в тепловую в очень тонком поверхностном слое металла, от которого тепло распространяется вглубь теплопроводностью и конвекцией, если нагреваемый металл находится в жидком состоянии. Источником электронов является нагретый до температуры > 2000 °С катод, который выполняется из вольфрама. Нагрев катода обеспечивает процесс термоэлектронной эмиссии. Катоды могут быть прямого или косвенного нагрева. При прямом нагреве катод в виде проволоки нагревается при непосредственном пропускании через него тока от индивидуального накального трансформатора. При косвенном нагреве катод нагревается излучением от специального нагревателя, получающего питание от накального трансформатора. Катод косвенного нагрева выполняется в виде сферической или эллипсоидальной поверхности, что обеспечивает наиболее эффективное формирование электронного луча. Это обусловливает преимущества катодов косвенного нагрева по сравнению с катодами прямого нагрева.
Ускорение электронов осуществляется под действием электрического поля высокого напряжения постоянного тока (ускоряющее напряжение), которое прикладывается с одной стороны к катоду (минус), а с другой — к аноду (плюс). Поток электронов от катода к аноду определяет собой величину так называемого анодного тока. В плавильных ЭЛУ величина ускоряющего напряжения составляет 5—40 кВ. Соуда- -рение электронов, имеющих большие скорости, с анодом вызывает рентгеновское излучение, аналогичное тому, которое возникает в рентгеновских трубках. Это излучение оказывает вредное биологическое воздействие на обслуживающий ЭЛУ персонал. Поэтому если ускоряющее напряжение превышает 20 кВ, то принимаются меры по защите персонала от рентгеновского излучения. При напряжении до 40 кВ уста-, новки размещают в стальном кожухе с толщиной стенок не менее 15 мм, а гляделки выполняют из свинцового стекла толщиной 40 мм. При более высоком ускоряющем напряжении применяют защиту из свинцовых листов. Формирование потока электронов в виде направленного луча и нагрев металла осуществляются в глубоком вакууме (10~2-10_3 Па). Для того, чтобы сосредоточить весь поток электронов в нужном направлении, применяют фокусирующие и отклоняющие устройства, которые основаны на взаимодействии летящих с большой скоростью электронов с электрическим или магнитным полем. Благодаря этим устройствам удается сконцентрировать поток электронов в относительно узкий пучок (луч) и осуществить его развертку на поверхности нагреваемого металла по различным желаемым траекториям.
Устройство для получения электронов, сообщения им больших скоростей и сбора потока электронов в луч с выведением его в плавильное пространство называется электронной пушкой.
ЭЛУ предназначены для переплава металла в виде заготовок в медный водоохлаждаемый кристаллизатор. В качестве исходной шихты возможно применение также скрапа, гранул, стружки. Слитки формируются в кристаллизаторе с постепенным их вытягиванием. Поверхность слитка имеет низкое качество, что связано с образованием "короны" вследствие испарения в вакууме элементов и их оксидов и осаждения паров и брызг металла на стенках кристаллизатора. Все установки электронно-лучевого нагрева имеют мощные вакуумные системы, которые более сложны, чем на других установках (например, ВДП, ВИП), и которые требуют трехступенчатой системы удаления газов с помощью механических форвакуумных, механических или паромасляных и высоковакуумных паромасляных насосов.
Установки ЭЛУ по сравнению с ВДП обладают значительно большими возможностями по дегазации металла и удалению из него неметаллических включений. Объясняется это тем, что в ЭЛУ ванна жидкого металла в верхней части слитка может выдерживаться в вакууме более длительное время, а перегрев металла легко осуществляется в любых целесообразных пределах. Электронный луч позволяет создавать высокую плотность мощности на поверхности 'металла (Ю2-109 Вт/см2), которая легко и плавно может регулироваться. В ЭЛУ можно управлять процессом кристаллизации слитка за счет изменения скорости плавки, подводимой мощности и развертки луча на поверхности жидкого металла. В ЭЛУ источник энергии вынесен из' пространства, где осуществляется технологический процесс, и его мощность в отличие от ВДП и ЭШП можно регулировать независимо от того, что происходит в рабочей камере". Это обеспечивает значительно большую гибкость в управлении процессом переплава металла, чем при ВДП и ЭШП.
Вместе с тем следует отметить, что широкое применение ЭЛУ в электросталеплавильном производстве сдерживается рядом факторов, к числу которых относятся: низкие производительность и КПД, сложность изготовления и высокая стоимость высоковольтных источников питания постоянного тока, сложность изготовления отдельных узлов, необходимость применения сложного и мощного вакуумного оборудования и использования высококвалифицированного обслуживающего персонала. Так, при одинаковой мощности 150-200 кВт массовая скорость плавки в ВДП составляет 5—10 кг/мин, а в ЭЛУ - 0,4-0,5 кг/мин, т.е. в 10-20 раз меньше, общий КПД электронно-лучевой плавки составляет только ~ 10 %.
Для плавильных установок электронно-лучевого нагрева наибольшее распространение получили агрегаты с аксиальными пушками, единичная мощность которых доходит до 7500 кВт (рис. 50). ЭЛУ с аксиальными пушками характеризуются наличием сильно сфокусированного конусообразного электронного луча, 'формируемого в пространстве, отделенном от плавильной камеры установки. У мощных аксиальных пушек промышленных плавильных установок имеется массивный катод косвенного нагрева, который разогревается до рабочей температуры посредством бомбардировки его электронами от вспомогательного катода К1, выполненного в виде вольфрамовой спирали, нагреваемой за счет прохождения через нее тока от самостоятельного накального трансформатора. Основной катод К представляет собой вогнутую снизу вольфрамовую линзу диаметром 2,5-4,0 см, что обеспечивает формирование сходящегося электронного луча. Между вспомогательным и основным катодами приложено напряжение постоянного тока 3,5-5,0 кВ (основной катод в данном случае по отношению к вспомогательному катоду, играет роль анода). Основной анод/1 имеет специфическую форму, которая обеспечивает прохождение всего электронного пучка полностью через анодное отверстие. Ускоряющее напряжение 30-40 кВ прикладывается к основному катоду (минус) и основному аноду (плюс). Выйдя из основного анода, пучок электронов попадает в лучепровод Л, соединяющий катодную камеру пушки с плавильной камерой ЭЛУ. Длина электронного луча от основного катода до поверхности жидкого металла в кристаллизаторе на промышленных установках с аксиальными пушками достигает 1-2 м. Назначение лучепровода заключается в защите катодного узла пушки от попадания в него газов из плавильной камеры. С этой целью лучепровод имеет самостоятельную систему откачки. Таким образом, в ЭЛУ с аксиальными пушками имеются три автономные системы откачки: катодного узла, лучепровода, плавильной камеры. Благодаря этому в зоне формирования электронного луча поддерживается стабильное остаточное давление в пределах 5 • 10 2-5 • 10 3 Па, исключаются попадание паров металла и вероятность электрических пробоев, что в конечном счете обеспечивает надежную работу катода, стойкость которого составляет сотни часов. Проходя через лучепровод, электронный пучок расширяется, поэтому для его дополнительного сжатия проводят магнитную фокусировку с помощью магнитных линз М (соленоидов).
В плавильных ЭЛУ с аксиальными пушками, предназначенными для переплава, заготовки могут подаваться вертикально или горизонтально. Равномерное оплавление заготовок в ряде случаев обеспечивается их вращением. Кристаллизаторы применяются медные водоохлаждаемые. Для облегчения вытягивания слитка кристаллизатор в верхней части имеет цилиндрическую форму, а в нижней он расширяется в виде конуса. Механизм вытягивания слитка представляет собой водоохлаждаемый шток с закрепленной на нем затравкой. Шток проходит через вакуумное уплотнение под плавильную камеру, где он соединяется с приводом механизма вытягивания.
В плавильной камере размещаются переплавляемая заготовка, электронные пушки и кристаллизатор. Стенки камеры делаются двойными водоохлаждаемыми. В камеру вварены патрубки для ее соединения с вакуумной системой. Гляделки для визуального наблюдения за процессом переплава снабжены поворотным диском с промежуточными защитными стеклами, которые по мере запыления заменяют. Характеристика ЭЛУ, предназначенных для переплава стали и сплавов, приведена в табл.16. Установка ЕМО-1200, предназначенная для получения стального слитка массой до 18т, показана на рис. 4.

Электроннолучевая печь типа ЕМО-1200 с горизонтальной подачей заготовок
1 - электронная аксиальная пушка; 2 — слиток; кристаллизатор; 4 — подача заготовок; 5 — вакуумные насосы
4. Установки плазменно-дугового переплава в водоохлаждаемый кристаллизатор
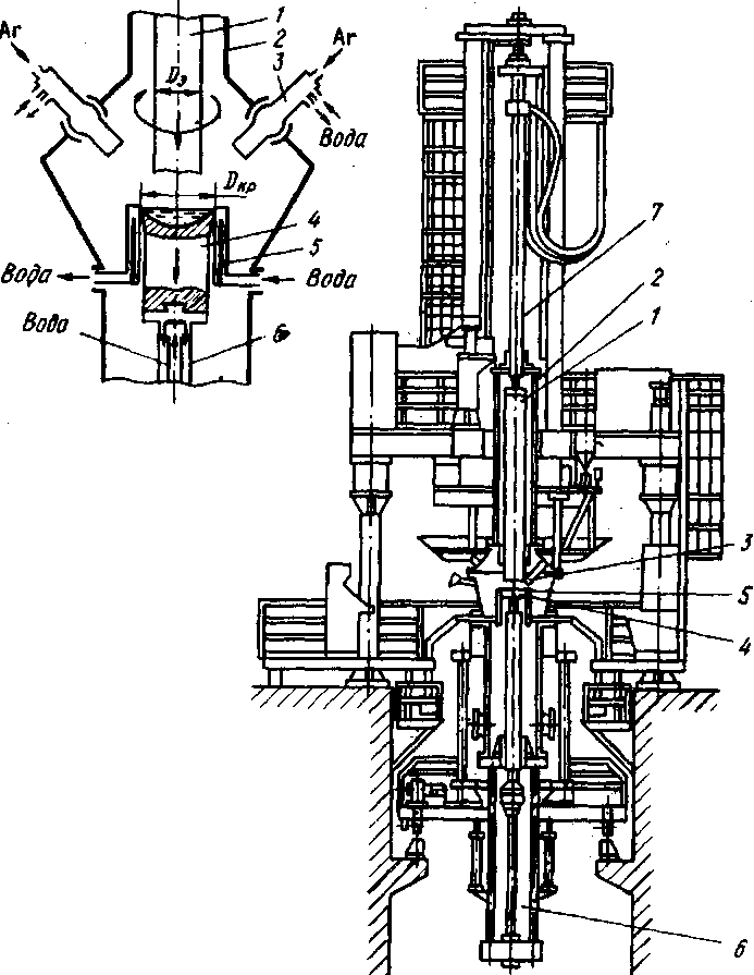
Установки указанного типа предназначены для переплава заготовок металла, а также гранул и порошка в условиях нейтральной атмосферы - аргона с помощью низкотемпературной - плазмы. Плавка в инертной атмосфере равноценна раскислению и дегазации жидкого металла в вакууме, если парциальное давление азота, водорода, паров воды и оксида углерода в атмосфере печи достаточно мало. Наличие водоохлаждаемого кристаллизатора, в котором формируется слиток в процессе тгереплава заготовки (гранул, порошка), обеспечивает возможность получения плотной мелкозернистой структуры металла. Сохраняя достоинства установок вакуумно-дугового (ВДП) и электронно-лучевого переплава (ЭЛУ), установки плазменно-дугового переплава (ПДП) в кристаллизатор отличаются простотой конструкции, большей безопасностью в эксплуатации. Плазяатроны этих установок выполняются только с металлическими катодами из вольфрама. Схемы плазменных яечей для переплава в кристаллизатор с вертикальным и радиальным размещением плазматронов показаны на рис. 5.

Рис. 5.Схемы плаз-менно-дуговых печей с вертикальным (а) и радиальным (б) размещением плазма-тронов
1 — источник питания; 2 — рабочая камера; 3 — плазма-трон; 4 — переплавляемая заготовка; 5 — кристаллизатор; 6 — слиток
Особенностью указанных печей является их оборудование системой рециркуляции, плазмообразующего газа производительностью до 50 м3/ч и вакуумной системой для удадения воздуха из плавильной камеры. Установки ИЭС им. Е.О.Патона нашли применение для переплава жаропрочных и прецизионных сплавов, а также подшипниковых, конструкционных и коррозионностойких сталей с вытягиванием слитка по мере его наплавления из кристаллизатора. Ниже приведена техническая характеристика плазменных печей для переплава в кристаллизатор:
|
Установка .... |
У-461 |
У-468 |
У-550 |
У-600 |
|
Мощность плазматронов, кВт |
160 |
240 |
2000 |
1800 |
|
Напряжение питания плазматронов, В |
40-80 |
40-80 |
До 200 |
До 200 |
|
Число плазматронов, шт |
4 |
6 |
6 |
6 |
|
Максимальный диаметр слитка, мм |
100 |
150 |
630 |
650 |
|
Максимальная масса слитка, кг |
30 |
130 |
3500 |
5000 |
|
Скорость вытягивания слитка, мм/мин |
0,5-30,0 |
1,0-10,0 |
1,5-15,0 |
2,0-20,0 |
|
Высота установки, м |
3,52 |
5,26 |
10,0 |
19,35 |
|
Площадь плавильной камеры с рабочей площадкой, м2 |
10,5 |
10,5 |
48,0 |
48,0 |
К основным достоинствам плазменной печи для плавки в кристаллизатор относятся: возможность выплавки слитков различного профиля при дозированной подаче флюса в центр металлической ванны; наличие перемешивания жидкой ванны за счет воздействия на него потоков плазмообразующего газа; наличие защитной атмосферы нейтрального газа.

Рис. 6. Схема (а) и общий вид (tf) многоплазматронной переплавной плазменно-дуговой печи типа У-600
1 — расходуемая заготовка; 2 — рабочая камера; 3 — плазматроны; 4 — слиток; 5 - кристаллизатор; 6 -механизм вытягивания слитка; 7 — механизм подачи и вращения заготовки
5. Вакуумные индукционные печи
Вакуумные индукционные печи (ВИП) предназначены для плавки и рафинирования высоколегированных сталей, жаропрочных и прецизионных сплавов с низким содержанием углерода с таким расчетом, чтобы во время плавки поддерживалось остаточное давление 10-1—10-2 Па. ВИП работают на отходах собственного металлургического производства и чистых металлических материалах. Крупные ВИП иногда вместо твердой завалки используют жидкий полупродукт, выплавленный в других агрегатах (обычно ДСП). По сравнению с другими плавильными установками специальной электрометаллургии ВИП имеет следующие преимущества:
1) жидкий металл можно длительное время выдерживать в вакууме. Это обеспечивает глубокую дегазацию, раскисление и очищение стали от неметаллических включений и примесей цветных металлов;
2) можно выплавлять любые сложные по химическому составу стали и сплавы, наличие электромагнитного перемешивания металла создает благоприятные условия для быстрого растворения легирующих добавок;
3) простота регулирования мощности и дозировки энергии обеспечивает быстрый перегрев металла до требуемого уровня с высокой точностью.
К недостаткам ВИП относятся: загрязнение металла материалом тигля, холодные шлаки, низкая стойкость тигля (20—50 плавок на промышленных печах).
Электрический КПД вакуумной индукционной печи при плавке сталей составляет η = 0,7÷0,8.
В индукционных тигельных печах, к которым относится ВИП, происходит естественная циркуляция расплавленного металла, обусловленная электродинамическими усилиями. Циркуляция металла возникает при взаимодействии вихревых токов, протекающих в жидком металле, с током индуктора.. Равнодействующая сила, направленная от индуктора на металл, приходится на среднюю часть тигля. Это приводит к возникновению в расплаве так называемой двухконтурной циркуляции, когда расплав в верхней части ванны выдавливается вверх, а в нижней — вниз, образуя самостоятельные контуры движения металла (рис. 55, а). В результате в центре тигля поверхность металла поднимается, образуя выпуклый мениск.
Интенсивное перемешивание металла играет- положительную роль, ускоряя процессы растворения легирующих добавок и выравнивая температуру в объеме ванны. Наличие мениска относится к нежелательным явлениям, так как шлак перемещается к стенкам тигля, способствуя ускоренному разъеданию его футеровки, а в центре металл оголяется, что приводит к увеличению потерь тепла и ухудшению условий протекания реакций между шлаком и металлом. Эффект перемешивания металла возрастает с понижением частоты и снижается при переходе к более высоким частотам.
Электрическое питание вакуумных индукционных печей осуществляется от машинных высокочастотных генераторов,. ти-ристорных преобразователей частоты и ламповых генераторов (применяются на лабораторных печах). КПД машинных генераторов составляет 70-85%, ламповых 50-70%, тиристорных преобразователей 90-95 %.
Особенности конструкции вакуумных индукционных плавильных печей
По Принципу работы вакуумные индукционные печи (ВИП) выполняются двух типов — периодического и полунепрерывного действия.
Печи периодического действия имеют одну вакуум-камеру, где после эвакуации воздуха производится плавка металла с последующей его разливкой в изложницу или форму. После разливки металла печь разгерметизируют для удаления изложницы со слитком, осмотра и ремонта тигля, загрузки шихты. При этом либо отводится в сторону или снимается крышка корпуса, либо отводится корпус вакуумной камеры. После извлечения слитка, чистки тигля и загрузки в тигель новой порции шихты в вакуум-камеру устанавливают порожнюю изложницу, печь закрывают, производят откачку воздуха и начинают очередную плавку.
Печи полунепрерывного действия имеют три вакуум-камеры: плавильную, загрузочную и разливочную. Иногда разливочная камера заменяется камерой изложницы. Тогда металл разливают в плавильной камере. Загрузочная и разливочная камеры (или камеры изложницы) отделены от плавильной камеры шлюзовыми затворами шиберного типа. Это позволяет проводить, в печи без разгерметизации не одну плавку, а серию плавок, количество которых определяется стойкостью футеровки тигля (одной кампании тигля).
В печах полунепрерывного действия благодаря наличию шлюзовых затворов одновременно с плавкой металла в вакууме в плавильной камере в загрузочной камере при атмосферном давлении устанавливается корзина с новой порцией шихты. В разливочной камере в это же время проводятся операции по извлечению изложниц с залитым в них металлом и установкой изложниц под разливку. Загрузочная и разливочная камеры отделены от внешней среды технологическими затворами шиберного типа. После проведения всех необходимых операций загрузочная и разливочная камеры герметизируются с помощью затворов и из них эвакуируется воздух. Печи полунепрерывного действия получили широкое распространение благодаря ряду преимуществ по сравнению с печами периодического действия - более высокой производительности из-за отсутствия откачки воздуха из плавильной камеры перед каждой плавкой, более высокой стойкости тигля вследствие уменьшения периодического охлаждения и нагрева при разгерметизации плавильной камеры, исключения времени на остывание изложниц или форм перед удалением их из плавильной камеры, уменьшения окисления металла и его загрязнения из-за напуска воздуха в плавильную камеру.
Современная индукционная вакуумная печь полунепрерывного действия вместимостью 2,5 т (ИСВ-2.5-НИ) конструкции ВНИИЭТО показана на рис. 7.

Схема вакуумной индукционной электропечи ИСВ-2.5НИ полунепрерывного действия вместимостью 2,5 т конструкции ВНИИЭТО
Печь состоит из плавильной камеры 1 с цилиндрической частью 8, внутри которой расположен индуктор с тиглем 2. Наклон печи осуществляется цепным механизмом 3. Загрузочная камера 7, внутри которой располагается саморазгружающаяся корзина 5, отделена от плавильной камеры вакуумным затвором 4. Корзина с шихтой 5 перемещается с помощью канатного механизма 6. Печь снабжена восьмисекционным дозатором 9 для загрузки в тигель по ходу плавки раскислителей и легирующих добавок. Для удобства обслуживания печи в верхней части корпуса снаружи установлена площадка 10. Зачистка тигля производится ломиком 11, расположенным на глухой крышке 12. Камера изложниц 13 прямоугольной формы соединена с плавильной камерой через вакуумной затвор. Рядом с камерой изложниц установлен специальный стенд, предназначенный 'для установки тележки с изложницами 14 перед их закатыванием в плавильную камеру и после выката их из печи. Печь снабжена самоходной тележкой 15 для отката крышки 16 плавильной камеры 1. Изложницы между плавильной камерой и камерой изложниц перемещаются на тележке с помощью механизма, приводимого в действие от электропривода. Вакуумная система снабжена форвакуумными и бустерными насосами, которые обеспечивают откачку воздуха из плавильной камеры, камеры загрузки, камеры изложниц и дозатора.
Заключение
В данном реферате были рассмотрены оборудование и основы технологии проектирования электросталеплавильных цехов, а также особенности эксплуатации и конструкции плавильного оборудования электросталеплавильных цехов и цехов специальной электрометаллургии.
К плавильному оборудованию цехов специальной электрометаллургии относятся вакуумные дуговые печи (ВДП), установки электрошлакового переплава (ЭШП), электроннолучевые установки (ЭЛУ), плазменные установки и вакуумные индукционные печи (ВИП). Все перечисленные плавильные агрегаты, кроме ВИП, предназначены для переплава литых или кованых заготовок в медный водоохлаждаемый кристаллизатор с целью улучшения качества металла. Особенностью большинства из перечисленных агрегатов является наличие в плавильной зоне вакуума или нейтральной атмосферы (обычно аргона), что позволяет эффективно удалять из переплавляемого металла газы и неметаллические включения, а также обеспечивать минимальный угар легирующих элементов.
Используемая литература
Никольский Л.Е., 3инуров И.Ю. «Оборудование электросталеплавильных цехов» Учеб. пособие для вузов. - М.: Металлургия, 1993. - С.272