Дослідження роботи і продуктивності вібраційного бункерно-завантажувального пристрою
Размещено на http://www. аllbest.ru/
Лабораторна робота № 1
Тема: Дослідження роботи і продуктивності вібраційного бункерно-завантажувального пристрою.
Мета роботи: При виконанні роботи необхідно ознайомитись з конструкцією вібробункера та призначенням його частин, дослідити режими його роботи та продуктивність.
Обладнання та пристрої:
Вібробункер.
Набори дисків різних матеріалів і розмірів.
Штангенциркуль та лінійка.
Загальні положення
Практика використання різних завантажувальних пристроїв показала, що для невеликих та простих заготовок найбільш ефективними засобами живлення є вібробункери, що мають особливі механізми для автоматичного орієнтування заготовок як в бункері, так і за межами його.
У автоматичних системах живлення вібробункери виконують функції захвата заготовок з навалу, орієнтування та подачу їх в робочу зону робочої машини безперервним потоком. Заготовки пересуваються по гвинтовому лотку до вихідного лотка, що розташований у верхній частині чаші вібробункера, за рахунок вібропересування.
Послідовність виконання роботи

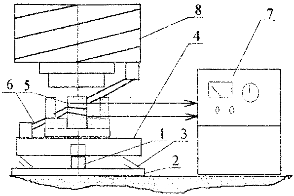
Рис. 1. Вібраційний БЗУ
1. Вібраційний БЗУ складається з чаші 8, на внутрішній циліндричній поверхні якої виконаний гвинтовий лоток. Дно чаші підживлювача укріплено на трьох похилих пласких пружинах 6, закріплених затискачами в верхньому та нижньому башмаках. Привід БЗУ виконується від вертикального вібратора 5, встановленого в центрі плити 4.
Для віброізоляції БЗУ встановлено на трьох гвинтових нежорстких пружинах 3.
Зменшення рухомості підживлювача на пружинах досягається встановленням його на основі 2 та осі 1 з розрізною втулкою, яка входить в отвір плити і з невеликою щілиною. БЗУ працює на частоті 50 Гц.
Технічна характеристика БЗУ
Діаметр чаші, мм
Момент інерції чаші, н/см, не більше 315
Найбільший розмір деталі, мм 40
Найбільша швидкість вібротранспортування, м/с 0,12
Найбільша маса завантаження, кг 16
Повна потужність електричного ланцюга, ВА 300
Габаритні розміри, діаметр Ч висота, мм 490Ч518
Маса, кг 90
2. Дослідити роботу вібробункера при зміні підведеної до котушки вібратора напруги.
|
U, В |
Q, шт./хв. |
V, мм/с |
F>м>, Н |
a>д>, мм |
|
50 |
11 |
4,58 |
1,11 |
0,0292 |
|
60 |
25 |
10,4 |
2,52 |
0,0662 |
|
70 |
54 |
22,5 |
5,43 |
0,143 |
|
80 |
72 |
30,0 |
7,26 |
0,191 |
|
90 |
116 |
48,3 |
11,7 |
0,308 |
|
100 |
176 |
73,3 |
17,7 |
0,467 |
Розрахувати швидкість руху виробу за формулою:
,
де V - швидкість руху деталі, мм/с.
d - діаметр деталі, мм.
3. Визначити вплив ваги 6 деталі та висоти на її швидкість:
,
де а>g> - амплітуда коливань, мм.
щ - кутова частота струму;
-
Н, мм
t>1>, c
t>2>, c
t>3>, c
t>cp>, c
V, мм/с
5
7
7
7
7
89,7
10
8
8
7
7,67
81,9
15
10
9
10
9,67
64,9
20
10
13
11
11,3
55,6
4. Визначити впилив матеріалу деталі (коефіцієнта тертя та ваги) на швидкість її вібротранспортування.
|
Матеріал та коефіцієнт тертя, f |
t>1>, c |
t>2>, c |
t>3>, c |
t>cp>, c |
V, мм/с |
|
Дерево |
9 |
7 |
7 |
7,67 |
81,9 |
|
Гумма |
6 |
6 |
7 |
6,33 |
99,2 |
|
Алюміній |
10 |
10 |
10 |
10 |
62,8 |
|
Сталь |
7 |
7 |
7 |
7 |
89,7 |
|
Латунь |
12 |
11 |
11 |
11,3 |
55,6 |
Зусилля електромагніту:
,
де G - вага вібробункера, кг;
G>1> - вага деталей, кг;
у = 2,5 - модуль резонансу.
5. Визначити вплив ваги деталі на швидкість її вібротрапснортування.
|
Вага, г |
t>1>, c |
t>2>, c |
t>3>, c |
t>cp>, c |
V, мм/с |
|
М>1 >= 5 |
12 |
13 |
12 |
12,3 |
51,1 |
|
М>2(>>Al>>) >= 35,8 |
13 |
14 |
14 |
13,7 |
45,8 |
|
М>3(>>сталь>>)>> >= 94,7 |
13 |
13 |
15 |
13,7 |
45,8 |
|
М>4(латунь) >= 100,76 |
11 |
12 |
12 |
11,7 |
43,7 |






Висновок: на лабораторній роботі ми досліджували продуктивність БЗУ (швидкість руху виробів) в залежності від зміни напруги, ваги та висоті виробу, матеріалу.
На першому досліді ми спостерігали як змінюється робота вібробункера при підведенні до котушки вібратора різних напруг. Ми побачили, що при збільшенні напруги збільшується швидкість руху виробів, а отже і збільшується продуктивність.
Наступний дослід полягав у визначенні впливу ваги деталі та її висоти на її швидкість. При збільшенні висоти, а відповідно і ваги деталі, швидкість руху деталей зменшується.
Далі ми розглядали вплив матеріалу деталі (коефіцієнта тертя) на швидкість її вібротранспортування. Виявилось, що чим менший коефіцієнт тертя, тим вища швидкість транспортування деталі.
Останній дослід – визначення впливу ваги на швидкість її вібротранспортування. Виявилось, що із збільшенням ваги швидкість зменшується.
вібробункер вібротранспортування завантажувальний пристрій
Размещено на аllbest.ru