Центрифуги осаджувальні горизонтальні зі шнековим вивантаженням осаду
Зміст
Вступ
1. Центрифуги осаджувальні горизонтальні зі шнековим вивантаженням осаду
1.1 Центрифуги безперервної дії
1.1.1 Центрифуги осаджувальні горизонтальні зі шнековим вивантаженням осаду
1.2 Ротор
1.3 Редуктор
2. Конструкції фільтрівних горизонтальних центрифуг зі шнековим вивантаженням осаду
2.1 Центрифуги фільтрівні горизонтальні зі шнековим вивантаженням осаду
2.2 Конструкція планетарного редуктора горизонтальної фільтрівної центрифуги зі шнековим вивантаженням осаду
2.3 Центрифуги фільтруючі горизонтальні з пульсуючим вивантаженням осаду типу ФГП
2.4 Основні вузли центрифуг
Литература
Вступ
Тема реферату "Центрифуги осаджувальні горизонтальні зі шнековим вивантаженням осаду. Конструкції фільтрівних горизонтальних центрифуг зі шнековим вивантаженням осаду" з дисципліни "Устаткування підприємств хімічної та нафтохімічної промисловості".
У спрощеному вигляді центрифуга являє собою швидко обертовий навколо своєї осі порожнистий ротор. Суспензія (або емульсія) завантажується в ротор періодично або безперервно. Продукти розділення виводяться з ротора також періодично або безперервно.
У практиці центрифугування застосовують два способи розділення рідких неоднорідних систем: відцентрове фільтрування та відцентрове осадження. Відповідно до цього виготовляють фільтраційні центрифуги з перфорованим ротором, на внутрішній поверхні якого укладена фільтрувальна перегородка, та осаджувальні центрифуги - з осаджувальним ротором, котрий має суцільну обичайку. Виготовляють також комбіновані осаджувально-фільтраційні центрифуги, в яких суміщені обидва процеси розділення.
Мета роботи - ознайомитися з:
конструкцією осаджувальних горизонтальних центрифуг зі шнековим вивантаженням осаду;
конструкцією основних вузлів центрифуг;
конструкцією фільтрівних горизонтальних центрифуг зі шнековим вивантаженням осаду;
конструкцією фільтрівних горизонтальних центрифуг з пульсуючим вивантаженням осаду типу ФГП.
1. Центрифуги осаджувальні горизонтальні зі шнековим вивантаженням осаду
1.1 Центрифуги безперервної дії
1.1.1 Центрифуги осаджувальні горизонтальні зі шнековим вивантаженням осаду
Ці центрифуги призначені для розділення суспензій з об'ємною концентрацією твердої фази від 1 до 40%, розміром частинок більше 5 мкм, різницею щільностей твердої та рідкої фаз понад 0,2 кг/м3.
Залежно від технологічного призначення центрифуги підрозділяють на три групи:
освітлюючі та класифікуючі;
універсальні осаджувальні;
зневоджувальні осаджувальні.
Освітлюючі (у тому числі класифікуючі) центрифуги - однакової конструкції, за виключенням освітлюючих прямотечійних центрифуг спеціальної конструкції. Ці машини характеризуються високим фактором розділення (максимально 2800); відношенням робочої довжини ротора до його діаметра понад 3.
Освітлюючі центрифуги призначені для очистки малоконцентро-ваних суспензій з високодисперсною твердою фазою - з видовженою циліндричною ділянкою ротора. Продуктивність цих центрифуг по суспензії має бути високою. Продуктивність по осаду та його вологості звичайно не регламентується.
У тих випадках, коли вимагається особливо висока чистота фугату, котра отримується на тарілчастих сепараторах і трубчастих центрифугах, освітлюючі центрифуги типу ОГШ використовують для попередньої очистки суспензії від частинок розміром понад 5 мкм, а також для зниження концентрації твердої фази суспензії.
Універсальні осаджувальні центрифуги призначені для розділення суспензій з твердою фазою малої та середньої концентрації. При роботі цих центрифуг утворюється порівняно чистий фугат і осад невеликої вологості. Відношення робочої довжини ротора до його діаметра - понад 2 до 3.
Зневоджувальні осаджувальні центрифуги призначені для розділення високо концентрованих грубих суспензій. Для цих центрифуг характерна висока продуктивність по осаду та порівняно невелика його вологість. Відношення робочої довжини ротора до його діаметра становить не більше 2.
Загальною конструктивною ознакою типової протитечийної центрифуги (рисунок 1) є горизонтальне розташування осі циліндрично-конічного ротора 3 із співвісно установленим усередині нього шнеком 4. Ротор і шнек обертаються в одному напряму, але з різною частотою, внаслідок чого шнек транспортує утворений осад вздовж ротора до вивантажувальних вікон, розташованих у вузькій частині ротора.
Ротор центрифуги, розташований на опорах 2 і 6, приводиться до обертання від електродвигуна через клинопасову передачу.
Привід шнека здійснюється від ротора центрифуги через спеціальний редуктор 1.
Ротор закрито кожухом 4 з перегородками, які відокремлюють камеру кожуха для вивантаження осаду від камери для виведення фугату. При перенавантаженні захисний пристрій 1 вимикає центрифугу, одночасно вмикаються світловий та звуковий сигнали.
Центрифуга з електродвигуном змонтована на віброізолюючому пристрої. При роботі центрифуги суспензія по живильній трубі 7 подається у внутрішню порожнину шнека, звідки через вікна поступає в ротор. Під дією відцентрової сили суспензія розділяється і на стінках ротора осаджуються частинки твердої фази. Освітлена рідина тече у бік зливних вікон, переливається через зливний поріг і викидається з ротора. Діаметр зливного порога можна регулювати змінними затулками або поворотними шайбами.

Рисунок 1 - Конструкція центрифуги типу ОГШ
Частоту обертання ротора можна регулювати змінними шківами. Технологічний режим в центрифугах типу ОГШ регулюють зміненням швидкості подачі суспензії і частоти обертання ротора, а також зміненням величини діаметра зливного порога.
У прямотечійних центрифуг, на відміну від протитечійних, напрям руху суспензії та осаду в роторі співпадають.
1.2 Ротор
Типова конструкція ротора представлена на рисунку 2. Ротор складається з трьох основних частин: циліндро-конічної обичайки 8 та цапф 1 і 17, скріплених з обичайкою болтами. У цапфі, яка розташована з боку більшого діаметра обичайки (циліндричної частини), є вікна з регулювальними кільцями 3 або шайбами для зливу рідкої фази, а в протилежній цапфі - вікна для вивантаження твердого осаду. З метою захисту вікон вивантаження від підвищеного опрацювання при обробленні абразивних матеріалів їх обладнують спеціальними графітовими або металокерамічними втулками.

Рисунок 2 - Ротор центрифуги ОГШ-353К-02:
1, 17 - цапфи; 2, 7, 13, 16 - манжетні гумові ущільнення;
3 - регулювальне кільце зливу рідкої фази; 4, 11 - цапфи шнека;
5, 14 підшипники котіння; 6, 12 - кришки підшипників; 8 - обичайка; 9 - шнек; 10 - подовжня планка; 16 - кільце
Усередині ротора на підшипниках котіння 5 і 14, розташованих у відповідних втулках порожнистих цапф, обертається шнек 9. Порожнини підшипників ущільнені гумовими манжетами 2, 7, 13 і 16. Витки шнека при обробленні абразивних матеріалів наплавляють твердими сплавами. Одну маточину шнека виконують від'ємною, другу - приварною.
Для забезпечення співвісності цапф ротора їх з'єднують з обичайкою, як правило, по щільній посадці з наступною остаточною обробкою місць під корінні підшипники, редуктор і привідний шків з однієї установки. Фланцеві з'єднання цапф і обичайки обов'язково штифтують. У більшості випадків на внутрішній поверхні обичайки ротора уздовж її твірної роблять канавки або приварюють планки 10, щоб забезпечити поздовжнє переміщення осаду та запобігти його круговому переміщенню. На зовнішній поверхні обичайки є виточки, в які при зібранні машини входять перегородки кожуха, створюючи лабіринти і ущільнення, котрі розділяють порожнини кожуха
1.3 Редуктор
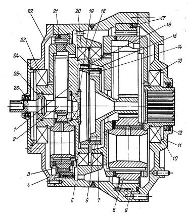
Одним з основних вузлів центрифуг типу ОГШ є двохступінчастий планетарний редуктор, призначений для передачі крутного моменту від ротора до шнеку. Залежно від розташування приводу центрифуги корпус редуктора кріпиться або безпосередньо до привідного шківа, або до спеціального перехідника, який закріплюється на кінці цапфи ротора. На рисунку 3 зображено редуктор центрифуги ОГШ-802К-07.
Принцип роботи редуктора такий. З'єднаний з цапфою ротора корпус редуктора 5 за допомогою запресованих в нього зубчастих вінців 4 і 9 передає обертання через шестерні-сателіти 3 й 8 водилам 1 і 10 відповідно першого та другого ступенів редуктора. Шестерні-сателіти 3 водила першого ступеня знаходяться у зачепленні з центральною шестернею 2, а водило другого ступеня - з блоком шестерень 6, який через зубчасту муфту 7 знаходиться одночасно в зачепленні з водилом першого ступеня. При відсутності перенавантаження редуктора центральна шестерня 2 не обертається, тому що її утримує захисний пристрій редуктора.
Така кінематична схема двоступінчастого планетарного редуктора забезпечує обертання водила другого ступеня з необхідною відносною частотою обертання, яка передається шнеку за допомогою шліцьового проміжного валика. Обидва водила і центральна шестерня 2 першого ступеня обертаються на шарикопідшипниках, а шестерні-сателіти - на підшипниках ковзання. Голчасті підшипники застосовують лише в центрифузі ОГШ-32.

Рисунок 3 - Планетарний редуктор центрифуги ОПП-802К-07:
1, 10 - водила першого та другого ступенів; 2 - центральна шестерня першого ступеня; 3, 8 - сателітні шестерні першого та другого ступенів; 4, 9 - зубчасті вінці першого та другого ступенів; 5 - корпус; 6 - блок шестерень; 7 - зубчаста муфта; 11 - кришка редуктора; 12, 26 - манжетні ущільнення; 13, 20, 23, 25 - шарикопідшипники; 14, 16 - стопорні кільця; 15, 18 - пружинне та дистанційне кільця; 17, 21 - ущільнення; 19, 24 - кришки підшипників; 22 - кришка корпуса
2. Конструкції фільтрівних горизонтальних центрифуг зі шнековим вивантаженням осаду
2.1 Центрифуги фільтрівні горизонтальні зі шнековим вивантаженням осаду
Ці центрифуги призначені для розділення концентрованих суспензій об'ємною концентрацією 40-50 % з розчинною твердою фазою, в якій переважають частинки розміром понад 150 мкм.
У зв'язку з підвищеною кількістю твердої фази в фільтраті його доцільно повертати в схему технологічного процесу або додатково освітлювати.
Високий фактор розділення в поєднанні з малою товщиною шару осаду на ситі дозволяє отримувати осад з малим вмістом рідкої фази і в деяких випадках вилучити промивку.
Загальною конструктивною ознакою центрифуг типу ФГШ (рисунок 4) є горизонтальне розташування осі конічного щілинного ротора 4 з ситом 5 на внутрішній поверхні.

Рисунок 4 - Конструкція фільтрівної шнекової центрифуги
Для вивантаження з ротора відфільтрованого осаду усередині ротора у тому ж напряму, але з іншою кутовою швидкістю обертається співвісно розташований з ним шнек 6. За допомогою планетарно-диференційного редуктора 1 досягається різне значення швидкостей обертання ротора і шнека.
2.2 Конструкція планетарного редуктора горизонтальної фільтрівної центрифуги зі шнековим вивантаженням осаду
Планетарний редуктор (рисунок 5) служить для передачі обертання від головного валу машини до валу шнека з уповільненням частоти обертання останнього на 44 об/хв. Редуктор кріпиться консольно до шківа головного валу. Він має дві ступені зубчастих передач. Перша ступінь утворена сонячною шестернею 3, трьома сателітними шестернями 5 з голчастими підшипниками, посадженими на осях 4 і зубчастим вінцем 7, який запресовано в корпус редуктора. Друга ступінь створена сонячною шестернею 8, трьома сателітними шестернями 9 та вінцем 10. У кожному з сателітів передбачено по два голчастих підшипника. З боку торців сателіти обмежені дистанційними каленими шайбами, які запобігають спрацюванню водил. Для ущільнення стику кришок редуктора з його корпусом передбачені гумові кільця 6 і 11, а для ущільнення проходів вхідного та вихідного валів редуктора - манжети 2 і 13.
2.3 Центрифуги фільтруючі горизонтальні з пульсуючим вивантаженням осаду типу ФГП
Ці центрифуги призначені для розділення концентрованих суспензій об'ємною концентрацією понад 20%, з крупнокришталевою, переважно розчинною твердою фазою з перевагою частинок розміром понад 100 мкм. Оптимальна об'ємна концентрація твердої фазі в суспензії, яка поступає в центрифугу, становить 45-50%. При більш низькій концентрації необхідно згущення суспензії.
У зв'язку з підвищеним вмістом твердої фази в фільтраті його доцільно повертати в схему технологічного процесу або додатково освітлювати.
Центрифуги застосовують також для розділення суспензій зі середньоабразивною твердою фазою в основному для оброблення кристалічних продуктів, а також коротковолокнистих матеріалів. На центрифугах цього типу проводиться ефективна промивка осаду.
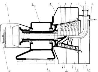
Загальною конструктивною ознакою цих центрифуг є двокаскадній консольно розташований ротор з рухомим штовхателем.
Основні вузли центрифуги (рисунок 6): ротор 5, вал 6, станина 10, кожух 2, торцева муфта 8, гідроциліндр 7, маслосистема з холодильником 9 та привід.
Вал, привід, торцева муфта і маслосистема розташовані на станині. Нижня частина станини - ванна зі змійовиком для охолодження масла.
Ротор складається з обичайок, на яких закріплені щільові колосникові сита. Усередину ротора підведені живильна 1 і промивна II труби, закріплені на кожусі.
Другий каскад ротора закріплено на пустотілому валу, усередині якого на бронзових втулках переміщується шток. На одному кінці штока закріплено перший каскад ротора, на другому - гідроциліндр. Привід ротора здійснюється від електродвигуна через клинопасову передачу.
У середній частині кожуха розташовані отвори для відведення фільтрату та газів. В верхню частину кожуха подається рідина для промивки зовнішньої поверхні ротора та внутрішньої поверхні кожуха.

Рисунок 5 - Планетарний редуктор центрифуги ФГШ-401К-01:
1 - важіль; 2, 13 - манжетні ущільнення; 3, 8 - сонячні шестерні першого та другого ступеня; 4 - осі сателітів; 5, 9 - сателіти; 6, 11 - гумові кільця; 7, 10 - зубчасті вінці; 12 - дистанційна шайба; 14 - вихідний вал; 15, 16 - кришки; 17,20 - водила першого та другого ступеня; 18 - корпус; 19 - пробка; 21, 22 - передня і торцева кришки.
.
Система змащування підшипників центрифуги - циркуляційна від маслонасосної станції. Маслонасосна станція складається з насоса з електродвигуном, фільтра для мастила, запобіжного клапана і вентиля, який регулює надходження мастила в гідроциліндр. За допомогою гідроциліндра штоку з першим каскадом ротора надається зворотно-поступовий рух.

Рисунок 6 - Конструкція центрифуги з пульсуючим вивантаженням осаду
Центрифуги відрізняються одна від іншої діаметром, довжиною та кількістю каскадів. Зі збільшенням кількості каскадів знижується вологість осаду, підвищується продуктивність центрифуги та зменшується витрата енергії, необхідної для виштовхування осаду. При роботі центрифуги суспензія по живильній трубі і приймальному конусу подається в ротор. Фільтрат проходить через сито ротора і виводиться з кожуха. Створений на поверхні сита першого каскаду шар осаду при його зворотному русі (праворуч) скидається кільцем 4 на сито другого каскаду.
Потім ці операції повторюються. Промивка осаду проводиться на першому каскаді ротора. Товщина шару осаду установлюється зрівнювальним кільцем 3. Число пульсацій регулюють зміненням кількості масла, що поступає в гідроциліндр від маслонасоса.
Опорну раму гідроізолюючих пристроїв установлюють на фундамент або кріплять до носійних будівельних конструкцій.
2.4 Основні вузли центрифуг
Ротор.
Ротор відноситься до найвідповідальніших вузлів центрифуги. Основними вузлами і деталями двокаскадного ротора (рисунок 7) є зовнішня та внутрішня обичайки 14 і 3, днище 6, диск штовхателя 10, захисний конус 11 та фільтрувальні сита 1.
Зовнішня обичайка за допомогою восьми товстих перемичок 4 приварена до днища ротора, а внутрішня - до диска штовхателя. У крупногабаритній центрифузі 1/2 ФГП-145 зовнішня обичайка з’єднана з днищем за допомогою циліндричної обичайки з крупними прямокутними вікнами по периметру.
До восьми стояків днища ротора, що проходять через овальні отвори диска штовхателя, за допомогою болтів кріпиться захисний конус 11 з опорним кільцем 5, а до захисного конуса приєднується приємний конус 13 зі змінним зрівнювальним кільцем 2. Обичайки перфоруються крупними овальними або циліндричними отворами. Усередину їх вставляють шпальтові щільовидні сита, які затискуються з торця притискними кільцями. Шляхом притискного кільця першого каскаду та опорного кільця захисного конуса осад переміщується по ситам.
Для утворення ущільнення між кожухом та ротором на зовнішній поверхні обичайки другого каскаду на відстані 20 мм від торця роблять навантаження або установлюють лабірінтне кільце. Ущільнення між кожухом та маточиною ротора здійснюється лабірінтним кільцем 9. Посадка ротора на циліндричний кінець головного валу ковзна з кріпленням до валу по торцю болтами. До днища ротора приварено жолоб 8, у який по трубопроводу подається промивна рідина.
Під дією відцентрової сили по отворам 7 в днищі та його стояках рідина поступає в тильну запону ротора, промиваючи його. В центрифузі 1/2 ФГП-145 для більш інтенсивної промивки задньої запони ротора передбачені два жолоби.
центрифуга ротор осад фільтрування

Рисунок 7 - Двокаскадний ротор:
1 - фільтрувальне сито; 2 - змінне порівнювальне кільце; 3, 14 - внутрішня та зовнішня обичайки; 4 - перемичка; 5 - опорне кільце; 6 - днище; 7 - отвір для підведення промивної рідини в тильну частину ротора; 8 - жолоб; 9 - лабірінтне кільце; 10 - диск штовхателя; 11 - захисний конус; 12 - торцева шайба; 13 - приємний конус.
Диск штовхача кріпиться на конічному кінці штока спеціальною торцевою шайбою 12 або гайкою.
Шпальтові щільовидні сита, що застосовуються в центрифугах з пульсуючим вивантаженням, складаються з прутків спеціального профілю, які набираються у вигляді карт на циліндричні шпильки та стягуються з торців шліцьовими гайками за допомогою прямокутних планок. Прутки стикаються між собою вушками, котрими надягаються на шпильки, та спеціально передбаченими на прутках виступами певної висоти, завдяки чому забезпечується необхідний розмір щілини між прутками.
Найбільшому зношенню сита піддаються на довжині переміщення каскадів. Конструкція сит дозволяє перевертати їх в роторі на 180° і тим самим збільшувати строк їх служби.
Литература
1. Лукьяненко В.М., Таранец А.В. Центрифуги: Справ. изд. - М.: Химия, 1988.384 с.
2. Промышленные центрифуги. Каталог. М.: ЦИНТИхимнефтемаш, 1986.112 с.