Конструкції автоматизованих фільтраційних та осаджувальних центрифуг з ножовим вивантаженням осаду
Зміст
Вступ
1.Конструкції автоматизованих фільтраційних та осаджувальних центрифуг з ножовим вивантаженням осаду
1.1 Класифікація центрифуг
2. Центрифуги періодичної дії
2.1 Центрифуги автоматизовані фільтраційні та осаджувальні з ножовим вивантаженням осаду типів ФГН і ОГН
2.2 Конструкції та принцип дії фільтрівних центрифуг
2.3 Принцип дії осаджувальних центрифуг
2.4 Переваги центрифуг
2.5 Вади центрифуг
2.6 Основні вузли горизонтальних автоматизованих центрифуг
2.6.1 Ротор
2.6.2 Механізм зрізання осаду
Висновок
Список використаних джерел
Вступ
Тема реферату "Конструкції автоматизованих фільтраційних та осаджувальних центрифуг з ножовим вивантаженням осаду" з дисципліни "Устаткування підприємств хімічної та нафтохімічної промисловості".
Мета роботи – ознайомитися з класифікацією центрифуг; конструкціями автоматизованих фільтраційних та осаджувальних центрифуг з ножовим вивантаженням осаду; конструкціями та принципом дії фільтрівних центрифуг; принципом дії осаджувальних центрифуг; конструкціями основних вузлів горизонтальних автоматизованих центрифуг.
У спрощеному вигляді центрифуга являє собою швидко обертовий навколо своєї осі порожнистий ротор. Суспензія (або емульсія) завантажується в ротор періодично або безперервно. Продукти розділення виводяться з ротора також періодично або безперервно.
У практиці центрифугування застосовують два способи розділення рідких неоднорідних систем: відцентрове фільтрування та відцентрове осадження. Відповідно до цього виготовляють фільтраційні центрифуги з перфорованим ротором, на внутрішній поверхні якого укладена фільтрувальна перегородка, та осаджувальні центрифуги – з осаджувальним ротором, котрий має суцільну обичайку. Виготовляють також комбіновані осаджувально-фільтраційні центрифуги, в яких суміщені обидва процеси розділення.
При розділенні суспензій у фільтраційних центрифугах в роторі під дією відцентрової сили відбувається фільтрація рідини через фільтрувальну тканину або металеву сітку з одночасним відкладенням на останній частинок твердої фази; рідина проходить через сита і потім через отвори в роторі викидається в кожух центрифуги, що оточує ротор, а осад вивантажується або під час обертання ротора, або після його повного зупинення.
При розділенні суспензій в осаджувальних центрифугах тверді частинки, які мають більшу щільність, ніж рідкий компонент, осаджуються під дією відцентрової сили на обичайці ротора у вигляді кільцевого шару; рідкий компонент також створює кільцевий шар, але розташований ближче до осі обертання. Рідина відводиться з обертового ротора шляхом переливу через борт або за допомогою відсмоктувальної труби. Осад вивантажується на ходу або після зупинення машини.
Розділення емульсій відбувається аналогічно: біля стінки ротора створюється шар важкої рідини, а ближче до осі обертання – шар легкої рідини. Центрифуги, що призначені для розділення емульсій, називають розділяючими (сепаруючими). Завантаження емульсії та відведення важкої та легкої рідини з ротора такої центрифуги здійснюється безперервно.
1. Конструкції автоматизованих фільтраційних та осаджувальних центрифуг з ножовим вивантаженням осаду
1.1 Класифікація центрифуг
Промислові центрифуги можуть бути класифіковані за різними характерними ознаками.
За технологічним призначенням, або принципом розділення розрізняють такі типи центрифуг:
– фільтраційні – призначені для розділення порівняно грубо дисперсних суспензій з кришталевою та аморфною твердою фазою, а також для відділення вологи від штучних матеріалів; застосування їх забезпечує найменший вміст рідкої фази в осаді та ефективну його промивку;
– осаджувальні та освітлювальні – призначені для розділення трудно фільтрованих суспензій, освітлення суспензій невеликої концентрації, а також для класифікації суспензій за крупністю та щільністю твердих частинок;
– розділяючі (сепаруючі) – призначені для розділення емульсій;
– комбіновані, в яких поєднуються обидва принципи розділення – осадження з наступним фільтруванням та фільтрування з наступним осадженням у полі відцентрових сил.
За основною конструктивною ознакою центрифуги бувають:
– горизонтальні – з горизонтальним валом, який має жорсткі або пружні опори; ротор може бути розташований між опорами або на консолі;
– вертикальні –з вертикальним валом, який має жорсткі або пружні опори і вал з верхнім або нижнім приводом;
– нахилені – з нахиленим валом, який має жорсткі опори;
– з вертикальним валом, який має пружну верхню опору і жорстку шарнірну нижню опору; ротор закріплюють на верхньому кінці валу – вертикальні центрифуги з підпертим валом та пружною верхньою опорою;
– підвісні з верхнім приводом – з вертикальним валом, підвішеним на верхній шарнірній пружній опорі; ротор закріплюють на нижньому кінці валу;
– підвісні з нижнім приводом (маятникові) – з вертикальним валом, опори якого розміщені у загальному жорсткому корпусі, підвішеному на трьох колонках; ротор закріплено на верхньому кінці валу;
– вертикальні трубчасті – з вертикально підвішеним довгим трубчастим ротором.
За способом вивантаження осаду центрифуги підрозділяють на такі типи:
– з ручним вивантаженням через верхній борт; осад вивантажують без застосування спеціальних механізмів після повного зупинення ротора;
– з ручним вивантаженням через днище – без застосування спеціальних механізмів після повного зупинення-ротора;
– з ручним вивантаженням та розібрання ротора; осад вивантажується без застосування спеціальних механізмів після повного зупинення ротора;
–з контейнерним або касетним вивантаженням – за допомогою спеціальних з'ємних контейнерів, м'яких або жорстких касет тощо.;
– з ножовим вивантаженням; осад вивантажується ножем, скребком або рихлителем спеціального механізму на ходу при повному або зменшеному числі обертів ротора з одночасним виведенням осаду через бункер, а також пневматичним механічним транспортером;
– з гравітаційним вивантаженням (саморозвантажувальні); осад вивантажується під дією власної ваги під час зупинення ротора;
– зі шнековим вивантаженням – за допомогою шнека, який обертається відносно ротора безперервно при безперервній роботі машини;
– з поршневим вивантаженням осаду штовхателем, котрий здійснює вертно-поступний (пульсуючий) рух уздовж осі ротора при безперервній роботі машини;
– з відцентровим (інерційним) вивантаженням; осад вивантажується під дією відцентрових сил безперервно при безперервній роботі машини;
– з вібраційним вивантаженням; осад вивантажується безперервно під дією коливань обертового ротора;
– з гідравлічним вивантаженням; вологий осад та рідка фаза вивантажуються через сопла або отвори ротора при робочій швидкості останнього.
За степенем герметизації, вибухозахищенності та залежно від дотримання спеціальних вимог (модифікації) розрізняють такі виповнення центрифуг:
– негерметизоване – без спеціальних ущільнювальних пристроїв, котрі ізолюють робочі порожнини машини від зовнішнього середовища, з електрообладнанням звичайного виповнення; застосовуються для оброблення нетоксичних, нелетких, вогне- та вибухобезпечних продуктів у вибухобезпечних виробництвах;
– негерметизоване з вибухозахищеним електрообладнанням – без спеціальних ущільнювальних пристроїв, котрі ізолюють робочі порожнини машини від зовнішнього середовища, з електрообладнанням у вибухозахищеному виповненні; застосовуються для оброблення нетоксичних, нелетких, вогне- та вибухобезпечних продуктів у вибухобезпечних виробництвах;
– герметизоване вибухозахищене – з ізоляцією робочих порожнин машини від зовнішнього середовища, електрообладнанням у вибухозахищеному виповненні та піддувом у порожнину кожуха інертного газу під тиском від 0,101 до 0,11 МПа; застосовуються у вогне- та вибухонебезпечних виробництвах, де не можуть виникати вибухонебезпечні концентрації газо- та пароповітряних сумішей;
– герметизоване – з ізоляцією внутрішніх робочих порожнин від зовнішнього середовища і електрообладнанням у вибухозахищеному виповненні; застосовуються для роботи під тиском понад 0,11 МПа у вогне- та вибухонебезпечних виробництвах;
– з обігрівом або охолодженням – зі спеціальними пристроями для підігріву (охолодження) кожуха або ротора машини та з електрообладнанням у звичайному виповненні;
– з обігрівом або охолодженням – зі спеціальними пристроями для підігріву (охолодження) кожуха або ротора машини і з електрообладнанням у вибухозахищеному виповненні;
– капсульоване – вся машина, за виключенням приводу, поміщена у герметичну оболонку;
– спеціальне – для роботи в спеціальних умовах.
2. Центрифуги періодичної дії
2.1 Центрифуги автоматизовані фільтраційні та осаджувальні
з ножовим вивантаженням осаду типів ФГН і ОГН
Автоматизовані горизонтальні центрифуги – це машини періодичної дії з ножовим з'ємом осаду та автоматичним управлінням усіма операціями. Вони можуть бути використані для розділення суспензій у широкому діапазоні дисперсностей і концентрацій твердої фази.
Автоматичне управління центрифугою дозволяє здійснювати дію усіх робочих органів в автоматичному режимі по операційно відповідно до робочого циклу машини. Цикл технологічних операцій, заданих програмою автоматичного режиму, повторюється періодично при безперервному обертанні ротора.
Залежно від технологічного призначення автоматизовані центрифуги випускаються двох типів: ФГН і ОГН – фільтраційні та осаджувальні горизонтальні з ножовим з'ємом осаду. Фільтраційні центрифуги дістали найбільшого поширення, вони призначені для розділення суспензій, у яких тверда фаза має кришталеву або зернисту структуру з розміром зерна 30-150 мкм.
Осаджувальні центрифуги застосовуються рідкіше, вони призначені для розділення середньо- та дрібнозернистих (розмір зерна 5-40 мкм) трудно фільтрівних суспензій у тих випадках, коли допустимий високий вміст рідкої фази в отриманому осаді та коли використання фільтрувальних поверхонь неможливо. Осаджувальні центрифуги застосовують також для попередньої обробки тонко дисперсних суспензій з метою віддалення грубих фракцій твердої фази.
При діаметрі ротора до 1600 мм включно його розташовують консольно. При діаметрі ротора понад 2000 мм його розташовують між двома опорами [при цьому він може бути одинарним або здвоєним (при діаметрі ротора 2200мм )] (рисунок 1).
Здвоєні ротори застосовують для збільшення робочої поверхні центрифугування горизонтальних центрифуг з ножовим з'ємом осаду. Живлення та вивантаження кожної половини ротора здійснюється роздільно. Тривалість та послідовність цих операцій контролюється автоматично. Цикли роботи обох половин ротора можуть бути розраховані так, що вивантаження осаду в одній половині ротора співпадає з фільтруванням у другій його половині. Зсув циклів дозволяє зробити рівномірними витрату енергії і вивантаження осаду, наближаючи ці машини до центрифуг безперервної дії.

Рисунок 1 – Принципові схеми центрифуг:
а – з розташуванням ротора між опорами; б – зі здвоєним ротором;
в – з консольним розташуванням ротора
Центрифуги зі здвоєним ротором застосовуються для центрифугування великої кількості швидко фільтрованих продуктів або у тих випадках, коли не потрібна висока степінь віджиму.
2.2 Конструкції та принцип дії фільтрівних центрифуг
Фільтрівні центрифуги призначені для розділення суспензій з середньою та дрібнозернистою (розмір частинок понад З0 мкм), переважно розчинною твердою фазою об’ємною концентрацією понад 10%. При обробці суспензій з меншою концентрацією твердої фази значно збільшується цикл їх розділення, а центрифуги цього типу призначені для роботи з більш короткими циклами, ніж інші типи фільтрівних центрифуг періодичної дії.
На центрифугах типу ФГН не рекомендується обробляти нерозчинні продукти або продукти з нерозчинними домішками, тому що у цих випадках затрудняється регенерація підшару, що залишається на фільтрувальної основи. Конструкцією центрифуг передбачена висока степінь зневоднення та промивки осаду.
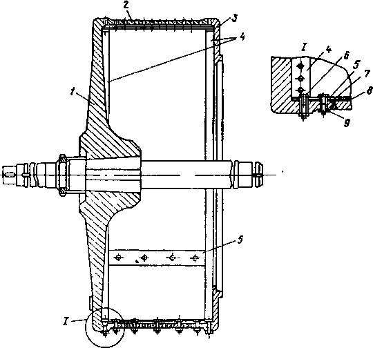
Схема автоматизованої центрифуги з консольним розташуванням ротора показана на рисунку 2.
Загальною конструктивною ознакою цих центрифуг є горизонтальне розташування осі ротора 5, вал якого обертається у підшипниках котіння 6, установлених в станині 8. Привід центрифуги здійснюється від електродвигуна через клинопасову передачу.

Рисунок 2 – Конструктивна схема центрифуг типу ФГН і ОГН
На передній кришці центрифуги змонтовано: механізм зрізання осаду 3, розвантажувальний бункер 1, живильна труба 2, труба для промивки та регенерації (для фільтраційних центрифуг), регулятор рівня шару завантаження та перемикачі руху ножа.
В кожусі 4 центрифуги передбачено люк для доступу при заміні або ремонту сит для фільтрівних центрифуг і люк-повітряник для відведення парів та газів з порожнини кожуха.
Завантажувальний клапан установлено безпосередньо на баці з мішалкою для суспензії.
Суспензія подається в ротор 5 через завантажувальний клапан і живильник (на рисунку не показані). Завантаження продукту регулюється за допомогою регулятора, який дозволяє проводити як одноразове, так і багаторазове завантаження до отримання необхідної товщини шару осаду в роторі.
Після завантаження ротора здійснюється відтиснення – віддалення з осаду рідкої фази, а потім промивання осаду рідиною, яка подається через промивний клапан та промивну трубу (на рисунку не показані). По закінченні промивання повторюється операція відтиснення. Відтиснений осад зрізається ножем механізму зрізу 3, ссипається в приємний бункер 1 і виводиться з центрифуги. Незрізаний шар віддаляється шляхом промивання (регенерації) фільтрувальної основи спеціальними розчинами, що поступають через клапан регенерації та промивну трубу.
Фільтрат, промивна вода та рідини регенерації відводяться з центрифуги роздільно, через розділяючий клапан.
Тривалість операцій відтиснення, промивання та регенерації контролюється за допомогою реле тривалості, установленого на станції автоматичного управління.
2.3 Принцип дії осаджувальних центрифуг
Осаджувальні центрифуги призначені переважно для розділення трудно фільтрованих суспензій з нерозчинною твердою фазою (розмір частинок 5-40 мкм). Промивка осаду в цих центрифугах не передбачена. Кінцева вологість осаду порівняно висока.
В центрифугах типів ФГН і ОГН осад, що вивантажується, при зрізанні ножем здрібнюється. Для обробки суспензій з липким мазким осадом ці центрифуги не придатні.
Ротор осаджувальних центрифуг типу ОГК суцільнозварний.
Конструкцією цих центрифуг, на відміну від фільтрівних, передбачено механізм відведення освітленої рідини, який складається з відводівної труби з силовим гідроциліндром та дроселем для регулювання швидкості повороту відводівної труби. У осаджувальних центрифуг відсутні розподільні клапани, а також клапани промивки та регенерації.
При роботі центрифуги суспензія поступає через регулювальний завантажувальний клапан і живильну трубу. При досягненні заданого рівня шару осаду подача суспензії автоматично припиняється, після чого здійснюється відтиснення і та, в разі необхідності, промивка осаду.
Віджатий осад зрізається поступово рухованим або поворотним ножем і через бункер вивантажується з центрифуги.
В осаджувальних центрифугах суспензію можна обробляти двома способами:
– суспензія подається в ротор до його заповнення; потім подача припиняється і після осадження твердої фази через відводівну трубу виводиться освітлена рідка фаза;
– суспензія подається в ротор безперервно; тверда фаза накопичується в роторі, а освітлена рідка фаза переливається через борт і виводиться з центрифуги. Живлення центрифуги продовжується до заповнення ротора осадом. Залишена рідка фаза через відводів ну трубу виводиться з ротора.
2.4 Переваги центрифуг
До переваг центрифуг типів ФГН та ОГН відносяться простота конструкції, широкий діапазон габаритних розмірів (типорозмірів), автоматичне управління, можливість обробки суспензій у широкому діапазоні концентрацій твердої фази та розмірів частинок, висока якість промивки твердої фази (на центрифугах ФГН), отримання освітленої рідкої фази.
Ці машини зручні в обслуговуванні і завдяки герметичності конструкції можуть працювати у вибухонебезпечних приміщеннях, а також у приміщеннях з підвищеною вологістю.
2.5 Вади центрифуг
До вад центрифуг цього типу відносяться: неможливість оброблення у ряді випадків суспензій з нерозчинною твердою фазою, здрібнення кристалів при зрізанні ножем; періодичність процесу, яка не завжди дозволяє вмикати машини в автоматичні та особливо у безперервно діючи технологічні лінії; нерівномірне використання при різних операціях потужності електродвигуна, велика питома маса та пов'язана з цим необхідність установлення їх на міцних віброізоляційних постаментах чи фундаментах; нездатність до самобалансування при завантаженні, яка часто призводить до виникнення сильних вібрацій.
2.6 Основні вузли горизонтальних автоматизованих центрифуг
2.6.1 Ротор
Ротор є основним робочим органом центрифуги. Його виготовляють зварним з вуглецевих або корозійностійких сталей, а також з титанових сплавів (рисунок 3). Він складається з днища 1, обичайки 2 та переднього борта 3 (у крупно габаритних машинах днище та борт виконують литими або зварними).
По внутрішній циліндричній поверхні фільтрувального ротора укладають фільтрувальну основу, яка звичайно складається з двох сит, – фільтрувального 7 та укладеного під ним дренажного 8, призначення якого – забезпечити максимальну робочу площу поверхні фільтрувальної основи.
Як фільтрувальну основу застосовують плетені сітки (металеві або полімерні) та тканини. Оскільки фільтрувальні основи часто чинять вирішальний вплив на якість відцентрового фільтрування, вони повинні задовольняти таким вимогам:
– гарно затримувати тверду фазу суспензії;
– мати мінімальний гідравлічний опір;
– мати гарну адгезію до фільтрувального матеріалу;
– бути достатньо міцними;
– не набухати при зіткненні з рідиною;
– характеризуватися рівномірним розподіленням властивостей.
Від правильного вибору фільтрувальної основи, способу кріплення, зручності промивки, очистки та заміни, а також від довговічності та надійності багато в чому залежить ефективність застосування центрифуги. Цим якраз обумовлена різноманітність фільтрувальних основ та способів їх кріплення в роторі.
Один із найпоширеніших способів кріплення сит у роторі показано на рисунку 2.3. По колу ротора сита кріпляться двома розрізними перфорованими кільцями 4, а по ширині - перфорованою планкою 5 та спеціальними болтами 6 з низькою голівкою. Усі болти обов'язково стопоряться пелюстковими шайбами 9.

Рисунок 3 – Ротор горизонтальної автоматичної центрифуги:
1 – днище; 2 – обичайка; 3 – передній борт; 4 – перфороване кільце;
5 – перфорована планка; 6 – болт;
7, 8 – фільтрувальне та дренажне сита; 9 – шайба
На рисунку 4 зображено елемент ротора центрифуги, у якому застотосовані швидкоз'ємні притискувачі фільтрувальної основи. До обичайки сита притискують з кожного боку шістьома сегментами 4 з листової сталі з привареними бобишками 3. Стопоріння притискного гвинта 1 здійснюється контргайкою 2. По ширині ротора сито накладають унаклад та зшивають дротом.
Ротор малогабаритної центрифуги ФГН-63 (рисунок 5) на відміну від роторів інших центрифуг має з'ємний борт 1, котрий кріпиться до перфорованої обичайки 4 болтами 6 і стопорними шайбами 7. Для кріплення сит днище ротора 5 має кільцеву канавку, а з'ємний борт – западину, куди вкладаються краї фільтрувального 2 та дренажного сита З.

Рисунок 4 – Елемент ротора центрифуги із швидкоз'ємним кріпленням сит:
1 – гвинт; 2 – контргайка; 3 – бобишка; 4 – сегмент

Рисунок 5 – Елемент ротора центрифуги ФГН-633К-02:
1 – з’ємний борт; 2,3 – фільтрувальне та дренажне сита
При кріпленні борта здійснюється натягнення сит. Поперечні стики фільтрувального та дренажного сит зварюють контактною зваркою унаклад. Під дією відцентрової сили сита щільно притискуються до обичайки. Площину роз'єму переднього борта та обичайки ротора ущільнюють шнуром 8 з матеріалу, стійкого до обробного продукту.
2.6.2 Механізм зрізання осаду
В горизонтальних автоматичних центрифугах застосовують механізми зрізання відфільтрованого осаду кількох типів. Найбільш поширені механізми зрізання з широким (на всю довжину ротора) ножем, який переміщується радіально відносно ротора, або здійснює обертовий (поворотний) рух. Рідкіше застосовують механізм зрізання з вузьким ножем (скребачкою), що здійснює разом з обертовим рухом ще й вертно-поступове переміщення вздовж ротора. Різівний ніж виготовляють двох типів: з наплавленням леза з твердого сплаву (звичайно стеліту марки ВК-3) на різівній пластині зі сталі 12Х18Н10Т; та з застосуванням набору спеціально виготовлених різівних пластин з твердого сплаву марки Т5К10.
Як показав досвід експлуатації центрифуг, ніж з неплавкою доцільно застосовувати при обробці дрібнозернистих сильно ущільнюваних продуктів, а ніж із застосуванням набору пластин з твердого сплаву – для обробки крупнозернистих пухких продуктів; тому останнім часом центрифуги комплектують ножами обох типів.
Висновок
центрифуга фільтраційний автоматизований осад
В процесі виконання роботи ми ознайомилися з класифікацією центрифуг; конструкціями автоматизованих фільтраційних та осаджувальних центрифуг з ножовим вивантаженням осаду; конструкціями та принципом дії фільтрівних центрифуг; принципом дії осаджувальних центрифуг; конструкціями основних вузлів горизонтальних автоматизованих центрифуг.
Список використаних джерел
1. Лукьяненко В.М., Таранец А.В. Центрифуги: Справ. изд. – М. : Химия, 1988. 384 с.
2. Промышленные центрифуги. Каталог. М.: ЦИНТИхимнефтемаш, 1986. 112 с.