Проект коробки скоростей вертикально-сверлильного станка
Государственный комитет Российской Федерации по высшему образованию
Ульяновский государственный технический университет
Кафедра: «Металлорежущие станки и инструменты»
ПОЯСНИТЕЛЬНАЯ ЗАПИСКА
к курсовой работе
Тема: «Проект коробки скоростей вертикально-сверлильного станка»
Разработал:
студент гр. ТИМд 41
Вериялов А.М.
Руководитель проекта:
Антонец И.В.
Ульяновск 1999
Содержание
Введение
1. Построение графика частот вращения шпинделя и определение числа зубьев передач
1.1 Исходные данные
1.2 Построение графика частот вращения шпинделя
1.3 Определение чисел зубьев шестерен
1.4 Проверка выполнения частот вращения
2. Разработка кинематической схемы коробки скоростей
3. Предварительный прочностной расчет привода
3.1 Определение расчетной частоты вращения шпинделя
3.2 Определение мощностей и передаваемых крутящих моментов на валах
4. Расчет модулей зубчатых передач
5. Расчет диаметров валов
6. Расчет подшипников качения
7. Расчет шлицевых соединений
8. Расчет шпоночных соединений
Литература
Введение
Универсальный вертикально-сверлильный станок модели 2А135.
Назначение и область применения.
Станок 2А135 предназначен для работы в ремонтных, инструментальных и производственных цехах с мелкосерийным выпуском продукции. Будучи снабжен приспособлениями, он может применяться также в массовом производстве. Станок рассчитан на условный диаметр сверления отверстия 35 мм, допускает усилие подачи 1600 кг, крутящий момент 4000.
Наличие на станке девятискоростной коробки скоростей и одинацатискоростной коробки подач полностью обеспечивает выбор нормальных режимов резания при сверлении, рассверливании, зенкеровании, частично развертыванию, а также при наличии электрореверса при нарезании резьбы. Жесткость конструкции, прочность рабочих механизмов и мощность привода позволяют использовать режущий инструмент, оснащенный твердым сплавом.
Основные технические данные и характеристики.
|
Условный диаметр сверления, мм |
35 |
|
Наибольшее допустимое усилие подачи, кг |
1600 |
|
Допустимый крутящий момент М>кр> на шпинделе, кг*см |
4000 |
|
Мощность электродвигателя, кВт |
4,5 |
|
Число оборотов электродвигателя в минуту |
2870 |
|
Конус – Морзе №4 |
|
|
Вылет шпинделя, мм |
300 |
|
Наибольшая глубина сверления при автоматической подаче, мм |
225 |
|
Наибольшее вертикальное перемещение салазок шпинделя, мм |
200 |
|
Число скоростей шпинделя |
9 |
|
Пределы чисел оборотов шпинделя в минуту |
68-1100 |
|
Число подач шпинделя |
11 |
|
Пределы подач, мм/об |
0,115-1,6 |
|
Электрический реверс ручной и автоматический |
|
|
Наибольшее вертикальное перемещение стола, мм |
325 |
|
Рабочая поверхность стола, мм |
450*500 |
|
Наибольшее и наименьшее расстояние от торца шпинделя, мм: |
|
|
до стола |
0-750 |
|
до фундаментальной плиты |
705-1130 |
|
Охлаждается от электронасоса производительностью, л/мин |
22 |
|
Габарит станка, мм 1240*810*2563 |
|
|
Вес станка, кг |
1415 |
1. Построение графика частот вращения шпинделя и определение
числа зубьев передач
шпиндель коробка скорость вал подшипник
1.1 Исходные данные
|
- число частот вращения шпинделя |
z=18 |
|
- коэффициент геометрической прогрессии |
> |
|
- минимальная частота вращения шпинделя |
n>min>=25 об/мин |
|
- частота вращения вала электродвигателя |
n>Э.Д. >= 1500 об/мин |
|
- мощность электродвигателя |
N=5 кВт |
|
- ресурс станка |
Т = 16000 ч |
1.2 Построение графика частот вращения шпинделя
Из структурной формулы z=3*3*2 видно, что число валов в коробке скоростей 5 (число сомножителей плюс один и плюс вал электродвигателя).
Для построения графика на одинаковом расстоянии друг от друга проводим вертикальные линии, число которых равно числу валов в приводе.
На расстоянии равном lg проводим горизонтальные линии, число которых равно числу частот вращения шпинделя плюс 2-5.
При построении графика следует учесть, что передаточные отношения понижающих передач не должны быть меньше ј, а повышающих не более 2.
1.3 Определение чисел зубьев шестерен
>
>
– данное отношение с
достаточной точностью выполняется
ременной передачей со шкивами 140
и 200
мм.
Принимаем число зубьев шестерен z>Ш >= 21
>
>;
>
>;
>
>;
>
>;
>
>;
>
>;
>
>;
>
>;
Принимаем >
>;
>
>;
>
>;
>
>;
>
>;
>
>;
>
>;
>
>;
>
>;
Принимаем >
>;
>
>;
>
>;
>
>;
>
>;
>
>;
Таблица 1.1
|
> |
i>1> |
i>2> |
i>3> |
i>4> |
i>5> |
i>6> |
i>7> |
i>8> |
i>9> |
|
z>Ш>/z>K> |
80/150 |
21/67 |
25/63 |
29/59 |
23/73 |
37/59 |
53/43 |
24/76 |
47/53 |
|
>z> |
- |
88 |
96 |
100 |

Рис. 1.1 – График частот вращения шпинделя
1.4 Проверка выполнения частот вращения
n=10(-1)%= 10(1,26-1)=2,6%
Действительные частоты вращения шпинделя n>Д> находим из уравнений кинематического баланса. Результаты расчета представлены в табл. 1.2.
Таблица 1.2 – Результаты проверки отклонения действительных частот
вращения шпинделя от заданных геометрическим рядом
|
№ Ступени |
Уравнение кинематического баланса |
Действительное значение частот вращения n>д>; об/мин |
Частота вращения по геометрическому ряду n>Г.Р.>, об/мин |
Отклонения частот вращения > |
|
I |
> |
24,9 |
25 |
-0,4 |
|
II |
> |
31,6 |
31,5 |
0,4 |
|
III |
> |
39,1 |
40 |
-2,25 |
|
IV |
> |
49,7 |
50 |
-0,6 |
|
V |
> |
62,9 |
63 |
-0,4 |
|
VI |
> |
70,5 |
71,5 |
-1,4 |
|
VII |
> |
78 |
80 |
-2 |
|
VIII |
> |
88,7 |
90 |
-1,4 |
|
IX |
> |
97,6 |
100 |
-2,4 |
|
X |
> |
109,9 |
112,5 |
-2,31 |
|
XI |
> |
123,6 |
125 |
-1,12 |
|
XII |
> |
139,5 |
142,5 |
-2,1 |
|
XIII |
> |
156,1 |
160 |
-2,4 |
|
XIV |
> |
176,6 |
180 |
-1,9 |
|
XV |
> |
275,2 |
282,5 |
-2,6 |
|
XVI |
> |
348,1 |
357,5 |
-2,5 |
Проверка показала, что отклонения всех действительных частот вращения шпинделя от частот геометрического ряда находятся в пределах допустимого.
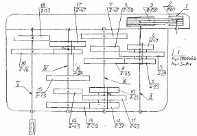
2. Разработка кинематической схемы коробки скоростей

Рис. 2.1 – Кинематическая схема коробки скоростей
3. Предварительный прочностной расчет привода
3.1 Определение расчетной частоты вращения шпинделя
>
>;
где n>min> и n>max> – соответственно минимальная и максимальная частоты вращения шпинделя по геометрическому ряду.
>
>
об/мин; принимаем n>p>=63
об/мин
3.2 Определение мощностей и передаваемых крутящих моментов
на валах
Мощность на валах коробки скоростей определяется по формуле:
>
>
где N>Э.Д.> – мощность электродвигателя;
>1> – КПД пары подшипников качения (>1>=0,99);
>2> – КПД пары прямозубых цилиндрических колёс (>2>=0,97),
>
>кВт;
>
>
кВт;
>
>
кВт;
>
>
кВт;
>
>
кВт.
Крутящие моменты на валах:
>
>
Н*м;
>
>
Н*м;
>
>
Н*м;
>
>
Н*м;
>
>
Н*м.
Результаты расчета сведены в табл. 3.1.
Таблица 3.1 – Мощности и крутящие моменты на валах
|
№ вала |
Частота вращения n, об/мин |
Передаваемая мощность N>i>, кВт |
Передаваемый крутящий момент Т>2>, Н*м |
|
I |
1500 |
5,0 |
32,14 |
|
II |
800 |
4,61 |
57,87 |
|
III |
315 |
4,43 |
140,04 |
|
IV |
200 |
4,25 |
215 |
|
V |
63 |
4,08 |
653,8 |
4. Расчет модулей зубчатых передач
Модуль определяется по формуле:
>
>;
где а>> – межосевое расстояние;
>z> – суммарное число зубьев проектируемой передачи.
Полученные значения модуля округляются до стандартных значений.
В данном курсовом проекте модули рассчитываются на ЭВМ. Исходные данные для расчета модулей приведены в табл. 4.1.
По результатам расчета модулей на ЭВМ (см. приложение 1) выбираем модули из стандартного ряда.
Для зубчатых передач 4…9 шестерен выбираем модули равные 2 мм, для зубчатых передач 10…15 шестерен выбираем модули равные 2,5 мм, для зубчатых передач 16…19 шестерен выбираем модули равные 3 мм.
Таблица 4.1 – Исходные данные для расчета модулей
Исходные данные |
Обозначения и размерность |
Расчетные формулы |
Указания по выбору |
Числовые величины |
|
1 |
2 |
3 |
4 |
5 |
|
Степень точности зубчатых передач |
ГОСТ 1643-81 |
7 |
||
|
Марка стали и термообработка |
1) 40Х – зак-ка с нагревом 2) 12ХН3А – цем. с закалкой 3) 40ХФА – азотация |
|||
|
Мощность на валах |
кВт |
N>II>=4.61 N>III>=4.43 N>IV>=4.25 N>V>=4.08 |
||
|
Число зубьев шестерни (зубчатое колесо с меньшим количеством зубьев) |
Z |
VI=25 XII=37 XVI=24 |
||
|
Расчетная частота вращения вала (шестерни) |
n, об/мин |
n>I>=800 n>I>=315 n>I>=200 n>I>=63 |
||
|
Передаточное число зубчатой пары |
i |
i>3>=63/25=2,52 i>6>=59/37=1,59 i>7>=76/24=3,16 |
||
|
Отношение ширины зубчатого венца к модулю |
>В> |
>В>=b/m |
>В>=714 |
10 |
|
Коэффициенты:
- формы зуба |
к>П> к>Д> Y>H> |
1,2 1)1,1 2)1,0 3)1,05 0,44 |
||
|
Общая продолжительность работы механизма |
Т>м>, ч |
16000 |
||
|
Суммарное число циклов нагружения зуба за Т>м> |
N>C> |
N>C>=60n Т>м> |
7,68*108 3,02*108 1,92*108 6,05*107 |
|
|
Коэффициент переменности режима нагрузок |
K>и реж> |
0,8 |
||
|
Длительный предел выносливости зуба при работе на изгиб |
>и пр>, Мпа |
Для 3-х сталей |
1-240 2-460 3-300 |
|
|
Допускаемое напряжение на изгиб |
[>и >], Мпа |
[>и >]= >и пр>* K>и реж> |
Для 3-х сталей |
1-192 2-368 3-240 |
|
Делительный предел контактной выносливости |
>кд>, Мпа |
Для 3-х сталей |
1-950 2-1200 3-1050 |
|
|
Допускаемое напряжение при расчете на контактную прочность |
[>к >], Мпа |
[>к >]= >кд>* K>и реж> |
Для 3-х сталей |
1-760 2-960 3-840 |
|
Коэффициент переменности режима нагрузок |
К>к реж> |
0,8 |
5. Расчет диаметров валов
Диаметр вала рассчитывается по формуле:
>
>;
где с = 1,3…1,5;
N>i> – мощность на рассчитываемом валу;
n>i>> >– частота вращения рассчитываемого вала.
В данном курсовом проекте расчет диаметров валов производится на ЭВМ.
Исходные данные для расчета в даны в табл. 5.1.
По результатам расчета диаметров валов на ЭВМ принимаем следующие значения:
для первого вала d = 25 мм;
для второго вала d = 25 мм;
для третьего вала d = 35 мм;
для четвертого вала d = 45 мм;
для пятого вала диаметр берем с базового варианта d = 70 мм.

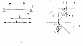
Рис. 5.1 – Общая расчетная схема

Рис. 5.2 – Расчетная схема нагружения II-го вала

Рис. 5.3 – Расчетная схема нагружения III-го вала

Рис. 5.4 – Расчетная схема нагружения IV-го вала
Таблица 5.1 – Исходные данные для расчета диаметров валов
|
Исходные данные и определяемые величины |
Обозначение и размерность |
Числовые величины |
||||
|
1 |
2 |
3 |
||||
|
Крутящий момент на рассчитываемом валу |
Т, Н*см |
Т>2>=5787; Т>3>=14004; Т>4>=21200; Т>5>=65380 |
||||
|
Допускаемое напряжение на изгиб |
[>и>], МПа |
[>2>]=75; [>3>]=75; [>4>]=74; [>5>]=70. |
||||
|
Начальные диаметры колес |
D, см |
D>0>=107; D>1>=5,0; D>2>=107; D>3>=107. |
||||
|
D>0>=12,6; D>1>=11,1; D>2>=107; D>3>=107. |
||||||
|
D>0>=7,2; D>1>=17,7; D>2>=107; D>3>=107. |
||||||
|
Расстояния по расчетным схемам (рис. 5.1; рис. 5.2; рис. 5.3; рис. 5.4) |
g |
l>0> |
l>1> |
l>2> |
l>3> |
|
II |
19,6 |
0 |
2,5 |
27,6 |
0 |
|
|
III |
42,0 |
19,9 |
2,75 |
0 |
0 |
|
|
IV |
42,0 |
13,3 |
2,75 |
0 |
0 |
|
|
V |
42,0 |
13,3 |
0 |
0 |
- |
|
|
Углы действия |
> > |
>0>=>2>=>3>=0; >1>=1,57; >0>=>2>=>3>=1,57; >1>=3,14. |
||||
|
>2>=>3>=0; >0>=1,57; >1>=2,21; >2>=>3>=1,57; >0>=3,14; >1>=3,78. |
||||||
|
>2>=>3>=0; >0>=1,16; >1>=2,21; >2>=>3>=1,57; >0>=5,89; >1>=0,93. |
В приложении представлены распечатки вводы исходных данных и результаты расчета диаметра валов.
6. Расчет подшипников качения
Выбор подшипников качения ведется по динамической грузоподъемности С, определяемой по формуле:
>
>;
где L – число оборотов за расчетный срок службы подшипников;
Р – расчетная нагрузка подшипника, Н;
С – динамическая грузоподъемность подшипника;
– коэффициент (для подшипников =3).
Расчетный срок службы подшипника в часах выражается зависимостью:
>
>;
Расчетную нагрузку подшипника определяют по формуле:
>
>;
где F>r> – радиальная нагрузка, Н;
F>a> – осевая нагрузка, Н;
x – коэффициент радиальной нагрузки;
y – коэффициент вращения (при вращении внутреннего кольца v=1, при вращении наружного кольца v=1,2);
k>r> – коэффициент безопасности (для токарных станков k>r>=1…1,2);
k>T> – безразмерный температурный коэффициент.
В коробках скоростей обычно используют прямозубые колеса, поэтому формула для определения расчетной нагрузки, без учета осевых сил примет вид:
>
>;
величина радиальной нагрузки подсчитывается по формуле:
>
>;
где >
>,
>
>
- наибольшие по величине опорные реакции,
определяемые при расчете вала.
Проведем подбор подшипников для II вала. Из распечатки расчета вала выписываем наибольшие опорные реакции G(0)=979,813 H, B>1>(0)=690,197 и определяем
>
>
Н;
для определения расчетной нагрузки принимаем v=1, k>T>=1,05, k>>=1,3, тогда:
>
>
Н;
определяем L, при известной частоте вращения n=800 об/мин (см. табл. 2.1) и задавшись L>n>=16000 ч:
>
>
млн. оборотов.
Динамическая грузоподъемность:
>
>
Н.
Результаты расчета всех валов сведены в табл. 6.1.
Таблица 6.1 – Динамическая грузоподъемность подшипников
|
№ вала |
G(0), H |
B>1>(0), H |
F>r>, H |
P, H |
L, млн. об. |
C, H |
|
II |
979,813 |
690,197 |
1198,50 |
1635,95 |
768 |
14981,56 |
|
III |
528,586 |
1150,644 |
1266,25 |
1728,43 |
302,4 |
11601,45 |
|
IV |
1311,036 |
1621,642 |
2085,31 |
2846,45 |
192 |
16421,16 |
По расчетному значению С и принятым по приложению 2 диаметрам валов: d>II>=20 мм; d>III>=35 мм; d>IV>=45 мм, выбираем по каталогу /3/ подшипники: №205 (С=14000); №107 (С=15900); №109 (С=21200).
7. Расчет шлицевых соединений
По каталогу /3/ производим выбор геометрических характеристик шлицевых валов. Номинальные размеры для II-го вала 6*23*28; для III-го вала 8*32*38, для IV-го вала 8*42*48. Затем производим проверочный расчет шлицевых соединений по напряжению смятия.
>
>,
где z – число зубьев шлица;
D – наружный диаметр;
d – внутренний диаметр шлицевого соединения;
r – радиус при вершине шлицевого соединения;
l – длина шлицевого соединения;
М>кр> – момент передаваемый шлицевым соединением;
[>см>] – предельное допускаемое напряжение на смятие; (для нормализованной Стали 45 [>см>]=150 МПа).
Для II-го вала:
>
>;
Для III-го вала:
>
>;
Для IV-го вала:
>
>.
Выбранные нами шлицевые соединения проходят проверочный расчет по напряжению смятия.
8. Расчет шпоночных соединений
По каталогу /3/ для выбранных нами диаметров валов определяем геометрические характеристики шпоночного соединения. Длину шпонки выбираем из нормального ряда с таким расчетом, чтобы она была на 5…10 мм короче ступицы закрепляемой детали.
Проверяем шпоночное соединение на смятие по формуле:
>
>;
где l>p> – длина шпонки;
к – рабочая глубина в ступице.
Для V-го вала:
>
>.
Шпоночные соединения удовлетворяют проверочному расчету по напряжению смятия.
Литература
Киреев Г.И. Комплексный расчет коробок скоростей металлорежущих станков на ЕС-ЭВМ: указания по курсовому и дипломному проектированию для студентов специальности 0501. Часть I. – Ульяновск: УлПИ, 1984. – 43 с.
Шестернинов А.В., Горшков Г.М., Филиппов Д.Ю. Расчет приводов подач металлорежущих станков. Методические указания по курсовому и дипломному проектированию для студентов специальности 1201. – Ульяновск: УлПИ, 1992. – 48 с.
Дунаев П.Ф., Лешков О.П. Конструирование узлов и деталей машин: Учебное пособие для техн. спец. Вузов. – 5-е изд., перераб. и доп. – М: Высш. шк., 1998. – 447 с.
>
и >
>
>
>
>
>
>
>
>
>
>
>
>
>
>
>
>
>
>
>
>
>
рад