Технология выполнения токарных работ
МИНИСТЕРСТВО ОБРАЗОВАНИЯ И НАУКИ РФ
Уральский политехнический колледж
Федерального государственного бюджетного образовательного учреждения высшего профессионального образования
Новоуральский технологический институт
Цикловая методическая комиссия
«Общетехнических и машиностроительных дисциплин»
Отчет по практике
для получения первичных профессиональных навыков базового уровня, очной формы обучения
Новоуральск 2010
Содержание
Введение
Виды и причины брака при изготовлении изделий на токарных станках
Организация труда и рабочего места токаря
Режущий инструмент, применяемый при обработке материалов резанием
Технологическая оснастка, применяемая при обработке изделий резанием
Кузнечнопрессовое производство
Ввод данных и обработка изделий на станках с ЧПУ
Охрана труда при выполнении токарных работ
Литература
Ведение
Токарные станки применяются для обработки преимущественно тел вращения путём снятия с них стружки при точении. Токарный станок - один из древнейших станков, на основе которого создавались станки сверлильной, расточной и др. групп. Токарные станки составляют значительную группу металлорежущих станков, отличаются большим разнообразием. На токарном станке можно выполнять различные виды токарной обработки: обтачивание цилиндрических, конических, фасонных поверхностей, подрезку торцов, отрезку, растачивание, а также сверление и развёртывание отверстий, нарезание резьбы и накатку рифлений, притирку и т.п. Используя специальные приспособления, на токарном станке можно осуществлять фрезерование, шлифование, нарезание зубьев и др. виды обработки. На специализированных токарных станках обрабатывают колёсные пары, муфты, трубы и др. изделия.
На токарном станке в процессе резания вращение заготовки, закрепляемой в патроне зажимном или в центрах, осуществляется от привода главного движения, обеспечивающего ступенчатое или бесступенчатое регулирование частоты вращения шпинделя для настройки на требуемую скорость резания. Поступательное перемещение режущего инструмента обеспечивается кинематической цепью движения подачи, первое звено которой - шпиндель, последнее - зубчато-реечная передача (при точении) или кинематическая пара ходовой винт - маточная гайка (при нарезании резьбы на токарно-винторезном станке). Настройка подачи производится с помощью коробки подач.
Шпиндельный узел выполняется жёстким и виброустойчивым. Опорами шпинделя обычно служат подшипники качения. В прецизионных токарных станках применяют гидростатические подшипники. На переднем конце шпинделя может устанавливаться планшайба или патрон, в которых закрепляют заготовки. Задняя бабка используется при обработке заготовок в центрах, а также для закрепления инструмента при сверлении, зенкеровании и развёртывании.
В привод главного движения токарного станка могут входить одно- и многоскоростной асинхронный электродвигатель и многоступенчатая коробка скоростей и механический вариатор либо регулируемый электродвигатель постоянного тока и коробка скоростей (обычно в тяжёлых токарный станок). Иногда в токарных станках применяют др. приводы (например, гидравлические).
Требования автоматизации мелкосерийного производства привели к развитию токарных станков и обрабатывающих центров с числовым программным управлением (ЧПУ). Эти станки имеют некоторые особенности. Наряду с традиционной применяется компоновка, при которой станина имеет наклонные направляющие, что облегчает удаление стружки и защиту рабочего пространства. Зона резания закрыта кожухами. Программируется: переключение скоростей шпинделя, продольные и поперечные перемещения суппорта с бесступенчатым регулированием подачи, быстрые перемещения суппорта, поворот револьверной головки, пуск, остановка и реверс привода главного движения, автоматическая смена инструмента (при наличии много инструментального магазина). В некоторых центровых станках применяются самозажимные поводковые патроны и автоматизированные задние бабки. Во многих случаях станки имеют поворотные револьверные головки с индивидуальным электро- или гидроприводом. Подачи могут осуществляться от шаговых электродвигателей с гидроусилителями, двигателей постоянного тока, от гидродвигателей; применяют ходовые винты качения (шаровые). Инструменты налаживают вне станка с помощью оптических устройств или приспособлений для настройки резцов по индикаторам или шаблонам. На станке производят только смену и закрепление предварительно налаженных блоков или всего резцедержателя.
Универсальные токарные станки применяют в основном в условиях единичного и мелкосерийного производства. При оснащении токарного станка специальными приспособлениями (гидро- или электрокопировальными суппортами, быстрозажимными автоматизированными патронами и т.п.) область их применения распространяется на серийное производство. В массовом производстве применяют токарные и револьверные автоматы и полуавтоматы. Обслуживание автомата сводится к периодической наладке, подаче материала на станок и контролю обрабатываемых деталей. В полуавтомате не автоматизированы движения, связанные с загрузкой и снятием заготовок. Автоматическое управление рабочим циклом этих станков осуществляется с помощью распределительного вала, на котором установлены кулачки.
По принципу осуществления вспомогательных (холостых) движений автоматы и полуавтоматы можно разделить на 3 группы.
Первая - станки, имеющие 1 распределительный вал, вращающийся с постоянной для данной настройки частотой; вал управляет рабочими и вспомогательными движениями. Эта схема применяется в автоматах малых размеров с небольшим числом холостых движений.
Вторая группа - станки с 1 распределительным валом, имеющим 2 частоты вращения: малую при рабочих и большую при холостых операциях. Обычно эта схема применяется в многошпиндельных автоматах и полуавтоматах.
Третья группа - станки, имеющие, кроме распределительного вала, быстроходный вспомогательный вал, осуществляющий холостые движения.
1. Виды и причины брака при изготовлении изделий на токарных станках
Брак при обтачивании цилиндрических поверхностей и меры его предупреждения.
При обтачивании цилиндрических поверхностей возможны следующие виды брака:
часть поверхности детали осталась необработанной;
размеры обточенной поверхности неправильны;
обточенная поверхность получилась конической;
обточенная поверхность получилась овальной;
шероховатость обработанной поверхности не соответствует указаниям в чертеже.
Часть поверхности детали остается необработанной из-за неправильных размеров заготовки, недостаточного припуска на обработку, плохой правки (кривизна) заготовки, неправильной установки и неточной выверки детали, неточного расположения центровых отверстий и смещения заднего центра. Такой брак обычно неисправим.
Чтобы предупредить брак такого вида, необходимо:
осматривать заготовку и проверять сомнительные размеры ее;
следить за достаточной величиной припуска на обработку;
тщательно править заготовку перед её установкой на станок;
проверять правильность установки заготовки;
следить за правильным расположением центровых отверстий;
проверять правильность установки заднего центра.
2. Неправильные размеры обточенной поверхности возможны при неточной установке резца на глубину резания или при неправильном измерении детали при снятии пробной стружки. Исправить этот брак можно повторным обтачиванием только в том случае, если размер диаметра детали получился больше требуемого. При получении диаметра детали меньше требуемого, брак неисправим.
3. Конусность обточенной поверхности получается обычно при результате смещения заднего центра относительно переднего. Для устранения причины этого вида брака необходимо правильно установить задний центр. Обычной причиной смещения заднего центра является попадание грязи или мелкой стружки в коническое отверстие пиноли. Очисткой центра и конического отверстия пиноли можно устранить и эту причину брака. Если и после очистки вершины конусов переднего и заднего центров не совпадают, надо соответственно переместить корпус задней бабки на ее плите.
Исправить этот вид брака повторным обтачиванием можно только в том случае, если меньший диаметр конуса равен или больше требуемого размера.
4. Овальность обточенной детали получается при биении шпинделя вследствие неравномерной выработки его подшипников или неравномерного износа его шеек. Предупредить брак по этой причине можно своевременной проверкой и ремонтом станка.
Указанный вид брака получается также при биении переднего центра вследствие попадания грязи или мелкой стружки в коническое отверстие шпинделя.
Очисткой переднего центра и конического отверстия шпинделя можно устранить брак по этой причине.
5. Недостаточная чистота поверхности при обтачивании может быть по ряду причин:
большая подача резца,
применение резца с неправильными углами,
плохая заточка резца,
малый радиус закругления вершины резца,
большая вязкость материала детали,
вибрации резца из-за большого вылета из резцовой головки,
недостаточно прочное крепление резца,
увеличение зазора между отдельными частями суппорта,
дрожание детали из-за слабого крепления ее или вследствие износа подшипников и шеек шпинделя.
Перечисленные в п. 5 причины брака могут быть своевременно устранены. Исправить этот брак иногда удается снятием тонкой отделочной стружки.
Брак при подрезании торцовых поверхностей и уступов и меры его предупреждения.
При подрезании торцовых поверхностей и уступов возможны следующие виды брака:
часть торцовой поверхности или уступа осталась необработанной;
торцовая поверхность или уступ неправильно расположены по длине детали;
уступ расположен не перпендикулярно к оси детали;
чистота торцовой поверхности или уступа недостаточна.
Часть торцовой поверхности или уступа остается необработанной вследствие неверных размеров заготовки, малого припуска на обработку, неправильной установки и неточной выверки детали в патроне, неправильной установки резца по длине детали или по высоте центров.
Такой брак обычно неисправим, но предупредить его можно:
проверкой размеров заготовки;
увеличением припуска на обработку;
проверкой правильности установки детали и резца.
Неправильное расположение торцовой поверхности или уступа по длине получается при неверном или неточном нанесении риски на поверхности детали, при неточной установке резца или несвоевременном выключений самохода (при продольной подаче), а также при осевом смещении детали в патроне в результате недостаточно прочного ее закрепления. Если при этом граница уступа перейдена, то брак неисправим. Предупредить такой брак можно более тщательным нанесением рисок, проверкой установки резца и прочности закрепления детали в патроне, а также своевременным выключением самохода при работе с продольной подачей.
Неперпендикулярное расположение торцовой поверхности или уступа к оси детали при работе с поперечной подачей получается при неточности направляющих суппорта, вследствие отжима резца из-за его чрезмерно большого вылета или слишком малого сечения, непрочного закрепления резца в резцовой головке, а также из-за завышенных подачи и глубины резания. При работе с продольной подачей обычная причина брака — неправильная установка резца. Устранив перечисленные причины, брак, указанный в п. 3, можно избежать. Часто, когда требуется изготовить большую партию деталей, измеряют не диаметр канавки, а ее глубину, пользуясь для этого шаблоном. Для этой же цели можно пользоваться штангенциркулем, у которого для таких измерений имеется специальный выдвигаемый стержень, или штангенглубиномером. Ширину канавки измеряют линейкой, штангенциркулем или шаблоном.
Брак при вытачивании канавок и отрезании и меры его предупреждения.
При вытачивании канавок и отрезании возможны следующие виды брака:
неточное расположение канавки по длине детали;
ширина канавки больше или меньше требуемой;
глубина канавки больше или меньше требуемой;
неправильная длина отрезанной детали;
недостаточная чистота поверхности канавки или торца отрезанной детали.
Неточное расположение канавки по длине детали получается при неправильной разметке места под канавку или неверной установке резца и является результатом невнимательности токаря; брак является неисправимым. Предупредить брак можно точной разметкой и правильным нанесением рисок под канавки, проверкой нанесенных рисок и правильной установкой резца по длине детали.
Ширина канавки получается больше или меньше требуемой, если ширина резца выбрана неверно. Брак неисправим, когда ширина канавки получилась больше требуемой; при ширине канавки меньше требуемой исправление возможно дополнительным вытачиванием.
Глубина канавки больше требуемой получается при неправильной длине прохода резца. Брак неисправим.
Неправильная длина отрезанной детали получается при невнимательной работе. Брак неисправим, если длина отрезанной детали получилась меньше требуемой.
Недостаточная чистота поверхности канавки, а также торца отрезанной детали, получается, по причинам, указанным выше для такого же вида брака при подрезании торцов и уступов. Кроме того, причиной может быть неверная установка резца, касающегося боковым краем уже обработанной поверхности.
Брак при сверлении и меры его предупреждения.
Основной причиной брака при сверлении является увод сверла от требуемого направления, что чаще всего наблюдается при сверлении длинных отверстий.
Увод сверла происходит:
при сверлении заготовок, у которых торцовые поверхности не перпендикулярны к оси;
при работе длинными сверлами;
при работе неправильно заточенными сверлами, у которых одна режущая кромка длиннее другой;
при сверлении металла, который имеет раковины или содержит твердые включения.
В целях предупреждения увода сверла необходимо обращать внимание на то, чтобы торцовая поверхность детали была чисто и точно обработана и была перпендикулярна к оси отверстия.
Увод сверла при работе длинными сверлами можно уменьшить предварительным надсверливанием отверстия коротким сверлом того же диаметра.
Увод сверла из-за неправильной заточки легко предупредить предварительной проверкой заточки шаблоном.
Если на пути сверла в материале детали встречаются раковины или твердые включения, то предотвратить увод сверла почти невозможно. Его можно только уменьшить путем уменьшения подачи, что в то же время явится средством предупреждения возможной поломки сверла.
Брак при центровании и меры его предупреждения.
Изготовление центровых отверстий в деталях должно быть качественным, так как от этого зависит правильное базирование деталей при их обработке в центрах.
Чтобы предупредить брак при центровании, необходимо:
Обеспечить глубину, диаметры.
Конус под углом 60° должен быть чисто обработан, не иметь дробления или огранки.
Чтобы избежать увода сверла при центровании, торцовые поверхности детали перед центрованием должны быть чисто обработаны и перпендикулярны к оси детали.
2. Организация рабочего места токаря
Рабочим местом токаря называется участок производственной площади, закрепленный за данным рабочим и предназначенный для выполнения токарной работы. Рабочее место оснащается в соответствии с характером выполняемых работ на токарном станке, применяемых приспособлений, режущего и измерительного инструмента.
На рабочем месте токаря находятся: станок, шкафчик с режущими и измерительными инструментами и принадлежностями к станку (патрон, планшайба, закаленные и сырые кулачки, люнет, ключи, центры и т. д.), заготовки и готовые детали.
Рациональная организация рабочего места токаря предусматривает наиболее удобные для производительной работы планировку и размещение заготовок, приспособлений и инструментов, обеспечение безопасности работы, установление и поддержание чистоты, порядка и нормальных условий труда на рабочем месте, организацию бесперебойного обслуживания его всем необходимым.
Рациональная организация рабочего места, постоянное совершенствование и поддержание его в должном порядке составляют характерную особенность передовых методов работы.
Планировка рабочего места токаря.
При планировке рабочего места токаря надо руководствоваться следующими правилами.
Все должно быть сосредоточено вокруг рабочего на возможно близком расстоянии, но так, чтобы не мешало его свободным движениям.
Все, что во время работы употребляется часто, располагать ближе; все, что употребляется редко, укладывать дальше,
Класть заготовки и инструменты необходимо таким образом, чтобы место их расположения соответствовало естественным движениям рук рабочего. Например, заготовки, которые берутся левой рукой, должны быть уложены в ящики слева. Если же заготовку трудно поднять одной рукой, надо ее класть так, чтобы можно было удобно взять обеими руками.
Чертежи и операционные карты располагают на планшете, а рабочие наряды кладут в один из ящиков инструментального шкафчика.
Заготовки и готовые детали не должны загромождать рабочее место токаря и должны быть расположены так, чтобы от начала взятия заготовки с места, где она лежит, и до момента складывания ее как уже готовой детали направление всех движений рабочего совпадало с направлением технологического потока. Это особенно важно при обработке крупных деталей.
Мелкие заготовки, обрабатываемые в больших количествах, следует хранить в ящиках, расположенных у станка на уровне рук рабочего. Готовые детали нужно складывать в такие же ящики, расположенные вблизи рабочего места.
Для расположения крупных заготовок и приспособлений, а также и обработанных деталей на рабочем месте должны быть предусмотрены стеллажи.
Инструменты, мелкие приспособления и документы следует хранить в инструментальном ящике.
Порядок и чистота на рабочем месте
Поддерживание порядка и чистоты является частью рациональной организации рабочего места. Необходимо соблюдать правила ухода за рабочим местом. В условиях массового производства, а также во всех случаях, когда выполняется узко ограниченный круг работ, составляются специальные инструкции по обслуживанию каждого рабочего места. Эти инструкции могут быть оформлены в виде карт организации труда и рабочего места. Такие правила инструкции вывешиваются на рабочих местах.
Организация условий труда предусматривает рациональное освещение, борьбу с производственным шумом, создание нормальной температуры, влажности и чистоты воздуха, обеспечение безопасности работы.
Организация труда на рабочем месте.
Экономия рабочего времени обеспечивает повышение производительности труда и является основным правилом токаря.
До начала работы токарь обязан:
проверить исправность станка, работу всех механизмов, системы охлаждения, наличие ограждений; если станок неисправен, надо немедленно сообщить дежурному слесарю;
смазать станок, осмотреть все масленки, заполнить маслом и закрыть их отверстия; хорошая и своевременная смазка соответствующим маслом сохраняет точность и удлиняет долговечность станка;
ознакомиться с предстоящей работой; хранить чертеж и технологическую карту в удобном для работы положении; проверить наличие и исправность инструмента и приспособлений;
осмотреть заготовки и проверить их соответствие чертежу в отношении припусков, отсутствия внешних и других дефектов (литейной корки, кузнечной окалины, коррозии ид. д.), влияющих на качество детали или стойкость инструмента;
удалить с рабочего места все, что не нужно для предстоящей работы.
Во время работы токарь должен:
строго выполнять установленный технологический процесс; экономить смазочные и обтирочные материалы, а также электроэнергию, не допуская работы станка вхолостую;
не уходить от станка без разрешения мастера;
каждую заготовку, обработанную деталь, приспособление и инструмент (режущий и измерительный) класть только на предусмотренные для них места, а не бросать куда попало;
пользоваться каждым предметом только по прямому назначению, т. е. не применять резец вместо молотка, не пользоваться случайными обрезками вместо подкладок для резца и т. д.;
беречь рабочие поверхности станка от ударов и грязи, не класть режущие и измерительные инструменты, ключи и детали на рабочие поверхности станка;
работать только острым, хорошо заточенным инструментом, так как тупой резец сильно увеличивает нагрузку станка, дает нечистую поверхность детали и ведет к поломке станка и инструмента.
По окончании работы токарь должен:
разложить все инструменты и предметы по своим местам; протереть все инструменты и рабочие поверхности приспособлений промасленной тряпкой;
предъявить обработанные детали контролеру вместе с рабочим нарядом;
сдать в кладовую ненужные больше инструменты и приспособления;
смести щеткой стружку со станка, протереть станок обтирочным материалом, тщательно удалив всю грязь;
бросить промасленные тряпки в отведенные для этого ящики;
получить задание на следующий день, чтобы заранее ознакомиться с чертежом и технологическим процессом и подготовить инструмент и приспособления.
3. Режущий инструмент, применяемый при обработке материалов резанием
При работе на токарных станках используют различные режущие инструменты:
резцы;
сверла;
развертки;
метчики;
плашки;
фасонный инструмент.
Токарные резцы. Резец состоит из головки (рабочей части) и стержня, служащего для закрепления резца. Передней поверхностью резца называют поверхность, по которой сходит стружка. Задние (главная и вспомогательная) поверхности обращены обрабатываемой заготовке. Главная режущая кромка выполняет основную работу резания. Она образуется пересечением передней и главной задней поверхностей резца. Вспомогательная режущая кромка 6 образуется пересечением передней и вспомогательной задней поверхностей. Место пересечения главной и вспомогательной режущих кромок называют вершиной резца.
Для определения углов резца установлено понятие координатных плоскостей. Применительно к токарной обработке это плоскость резания и основная плоскость. Плоскостью резания называют плоскостью, касательную к поверхности резания и проходящую через режущую кромку. Основная плоскость параллельна направлениям подач (продольной и поперечной); она совпадает с опорной поверхностью резца.
Углы резца разделяются на главные и вспомогательные. Главные углы резца измеряют в главной секущей плоскости, т.е. в плоскости, перпендикулярной проекции главной режущей кромки на основную плоскость.
Главным задним углом α называют угол между главной задней поверхностью резца и плоскостью резания.
Угол заострения β измеряют между передней и главной задней поверхностью резца.
Главным передним углом γ называют угол между передней поверхностью резца и плоскостью, перпендикулярной плоскости резания, проведенной через главную режущую кромку. Сумма углов α+β+γ=90°.
Угол резания δ образуется передней поверхностью резца и плоскостью резания.
Главным углом в плане φ называют угол между проекцией главной режущей кромки резца на основную плоскость и направлением его подачи.
Вспомогательный угол в плане
образуется
проекцией вспомогательной режущей
кромки резца на основную плоскость и
направлением его подачи.
Угол при вершине в плане ε называют угол между проекциями главной и вспомогательной режущей кромкой резца на основную плоскость.
Вспомогательный задний угол
-
это угол, образованный вспомогательной
задней поверхностью резца и плоскостью,
проходящей через его вспомогательную
режущую кромку перпендикулярно основной
плоскости.
Углом наклона главной режущей кромки λ называют угол между режущей кромкой и плоскостью, проведенной через вершину резца параллельно основной плоскости.
Резцы классифицируют:
по направлению подачи – на правые и левые. Правые резцы на токарном станке работают при подаче справа налево, т.е. перемещаются к передней бабке станка;
по конструкции головки – на прямые, отогнутые и оттянутые;
по роду материала – из быстрорежущей стали, твердого сплава и т.д.;
по способу изготовления – на цельные и составные. При использовании дорогостоящих режущих материалов резцы изготавливают составными: головку – из инструментального материала, а стержень – из конструкционной углеродистой стали. Наиболее распространены составные резцы с пластинками из твердого сплава или быстрорежущей стали. Пластинки из твердого сплава припаиваются или крепятся механически;
по сечению стержня – на прямоугольные, круглые и квадратные;
по виду обработки – на проходные, подрезные, отрезные, прорезные, расточные, фасонные, резьбонарезные и др.
Сверла. В зависимости от конструкции и назначения различают спиральные, перовые, для глубокого сверления, центровочные, с пластинками из твердых сплавов и другие сверла.
Наиболее распространены спиральные сверла. Они имеют две главные режущие кромки, образованные пересечением передних винтовых поверхностей канавок сверла, по которым сходит стружка, с задними поверхностями, обращенными к поверхности резания; поперечную режущую кромку (перемычку), образованную пересечением обеих задних поверхностей, и две вспомогательные режущие кромки, образованные пересечением передних поверхностей с поверхностью ленточки.
Угол наклона винтовой канавки ω – угол между осью сверла и касательной к винтовой линии по наружному диаметру сверла (ω=20÷30°).
Угол наклона поперечной режущей кромки (перемычки) ψ – острый угол между проекциями поперечной и главной режущих кромок на плоскость, перпендикулярную оси сверла (ψ=50÷55°).
Угол режущей части (угол при вершине) 2φ – угол между главными режущими кромками при вершине сверла (2φ=118°).
Передний угол γ – угол между касательной к передней поверхности в рассматриваемой точке режущей кромки и нормалью в той же точке к поверхности вращения режущей кромки вокруг оси сверла. По длине режущей кромки передний угол γ изменяется: наибольший у наружной поверхности сверла, где он практически равен углу наклона винтовой канавки ω, наименьший у поперечной режущей кромки.
Задний угол α – угол между касательной к задней поверхности в рассматриваемой точке режущей кромки и касательной в той же точке окружности ее вращения вокруг оси сверла. Задний угол сверла – величина переменная: α=8÷14° на периферии сверла и α=20÷26°- ближе к центру.
Зенкеры. Зенкеры бывают цельные и насадные. Они предназначены для обработки цилиндрических и конических отверстий и торцов. Цельные зенкеры изготовляют диаметром до 32 мм. По внешнему виду они несколько похожи на спиральные сверла, но имеют три винтовые канавки и, следовательно, три режущие кромки. Режущая или заборная часть выполняет основную работу резания. Калибрующая часть предназначена для калибрования отверстий и направления зенкера при резании. Хвостовик служит для закрепления зенкера в станке.
Главный угол в плане θ для зенкеров из быстрорежущей стали равен 45 – 60°, а для зенкеров твердосплавных – 60 – 75°.
У зенкеров, изготовляемых из быстрорежущей стали, передний угол γ равен 8 – 15° при обработке стальных деталей, 6 – 8° при обработке чугуна, 25 – 30° при обработке цветных металлов и сплавов. У твердосплавного зенкера γ = 5° при обработке чугуна и 0 – 5° при обработке стали.
Задний угол α =8 – 10°. Угол наклона винтовой канавки ω = 10 – 25°. Для лучшего направления зенкера при резании в его зубьях оставляют цилиндрическую фаску шириной 1,2 – 2,8 мм.
Насадные зенкеры применяют для обработки отверстий диаметром до 100 мм. Эти зенкеры имеют четыре винтовые канавки и, следовательно, четыре режущие кромки. Они крепятся на оправке. Для предупреждения провертывания зенкера во время работы на оправке имеется два выступа (шпонки), которые входят в соответствующие пазы на торце зенкера. Зенкеры изготавливают из быстрорежущей стали, а также оснащают пластинками из твердых сплавов.
Развертки. Они предназначены для обработки отверстий, к которым предъявляют высокие требования по точности и шероховатости поверхности.
Различают машинные и ручные развертки, а по форме обрабатываемого отверстия – цилиндрические и конические. Число зубьев развертки 6 – 16. Распределение зубьев у разверток по окружности, как правило, неравномерное, что обеспечивает более высокое качество обработанной поверхности отверстия.
По конструкции хвостовика развертки могут быть с цилиндрическим и коническим хвостовиками. Хвостовая цилиндрическая развертка состоит из рабочей части, шейки и хвостовика. Рабочая часть включает в себя направляющий конус с углом при вершине 90°, режущую, калибрующую часть и обратный конус. Режущая часть выполняет основную работу резания. У ручных разверток длину режущей части делают значительно большей, чем у машинных, с очень малым углом в плане. Угол режущей части составляет 30´ – 1°30´, машинных – 12 – 15°; при обработке хрупких (твердых) и труднообрабатываемых металлов φ = 3 ÷ 5°; у разверток, оснащенных пластинками из твердых сплавов, φ = 30 ÷ 45°. Для обработки глухих отверстий угол в плане φ ручных разверток составляет 45°, машинных – 60°; твердосплавных – 75° с заточкой фаски на торце под углом 45°.
Калибрующая часть служит для направления развертки при резании и калибровании отверстия. Обратный конус, находящийся за калибрующей частью, уменьшает трение развертки об обработанную поверхность и снижает величину разбивки отверстия. У ручных разверток диаметр около шейки меньше калибрующего на 0,005 – 0,008 мм, у машинных на 0,04 – 0,08 мм. Хвостовик у ручных разверток выполнен цилиндрическим с квадратным концом, у машинных – коническим и цилиндрическим. У чистовых разверток из быстрорежущей стали передний угол γ = 0; у черновых γ = 5 ÷ 10°; у разверток твердосплавных γ = 0 ÷ 5°. Задний угол α на режущей и калибрующей частях разверток выбирают в пределах 6 – 10°.
Метчики. Они предназначены для нарезания и калибрования резьбы в отверстиях. Различают метчики ручные, машинные, гаечные (для нарезания резьбы в гайках) и плашечные (для нарезания и калибрования резьбы в плашках). Ручные метчики поставляются комплектом. Комплект может состоять из 2 и 3 метчиков. Черновые метчики имеют заниженные размеры, а чистовой – полный профиль резьбы. Гаечные метчики выполняют с коротким, длинным и изогнутым хвостовиками.
Рабочая часть 1 метчика состоит из заборной 2 и калибрующей 3 частей. Заборная (режущая) часть у ручных черновых метчиков составляет 4 витка, у чистового метчика – 1,5 – 2 витка. У машинных метчиков длина заборной части при нарезании сквозных отверстий составляет 5 – 6 витков, при нарезании глухих отверстий – 2 витка. У гаечных метчиков длина заборной части – 11 – 12 витков.
Калибрующая часть служит для зачистки и калибрования резьбы, а также для направления метчика при нарезании. Для уменьшения трения калибрующая часть имеет незначительный обратный конус. Хвостовая часть метчика представляет собой стержень; конец хвостовика у ручных, а иногда и у машинных метчиков имеет форму квадрата.
Профиль канавки метчика оказывает влияние на пресс нарезания резьбы и должен способствовать отводу стружки. Широко распространены 3- и 5- канавочные метчики. Передний угол метчика γ = 5 ÷ 10° при обработке стали, 0 ÷ 5° при обработке чугуна и 10÷25° при обработке цветных металлов и сплавов. Задний угол α = 4 ÷ 12°. Обычно метчики изготавливают с прямыми канавками, но для лучшего отвода стружки канавки имеют угол наклона ε = 9 ÷ 15°.
Плашки. Их применяют для нарезания и калибрования наружных резьб за один рабочий ход. Наиболее широко используют плашки для нарезания резьб диаметром до 52 мм. Плашка представляет собой закаленную гайку с осевыми отверстиями, образующими режущие кромки. Обычно на плашках имеется от 3 до 6 отверстий для отвода стружки. Толщина плашки выбирается в пределах 8 – 10 витков. Режущая часть плашки выполнена в виде внутреннего конуса. Длина заборной части составляет 2 – 3 витка. Угол 2φ = =40÷60° при нарезании сквозной резьбы и 90° при нарезании резьбы до упора. Передний угол у стандартных плашек γ = 15 ÷ 20°. Задний угол α выполнен только на заборной (режущей) части. У стандартных плашек задний угол α = 6 ÷ 8°.
Фрезы. Фреза – многозубый режущий инструмент, который применяют для обработки на токарных станках наружных цилиндрических и фасонных поверхностей, пазов, лысок, канавок и др. каждый зуб фрезы представляет собой обычный резец.
По материалу режущей части фрезы делятся на углеродистые, быстрорежущие, твердосплавные, минералокерамические и оснащенные композитами. По конструкции фрезы бывают цельными, зубья которых выполнены заодно с корпусом, и сборными со вставными зубьями (ножами) или пластинками. По способу закрепления различают фрезы насадные, закрепляемые на оправке со шпонкой, и концевые, закрепляемые за хвостовик. По назначению (характеру выполняемых работ) и расположению лезвий фрезы бывают цилиндрическими, торцовыми, дисковыми и др.
Торцовая фреза – насадной
многозубый инструмент; бывает сборной
с пластинками из твердого сплава и со
вставными ножами. Режущая часть каждого
ножа имеет режущие кромки, расположение
которых определяется проекцией на
осевую плоскость, проходящую через
вершину зуба фрезы. Главная режущая
кромка имеет угол φ = 45 ÷ 90°. Вспомогательная
режущая кромка имеет угол
= 0 ÷ 5°.
Для снижения шероховатости
обработанной поверхности вспомогательная
кромка имеет два участка – дополнительную
кромку с
>д>
= 0° и
>д>
= 1,5 ÷ 2 мм и собственно вспомогательную
кромку с
≥ 2°. Вершина зуба бывает прямолинейной
(φ>0> φ/2,
=
=1,5÷ 2 мм) и скругленной на радиусе r = 2 ÷3
мм. Последние фрезы более стойкие к
изнашиванию и менее чувствительны к
биению главных режущих кромок; их
применяют для чернового и получистового
фрезерования.
Абразивные инструменты. При токарной обработке для обеспечения точности и высокого качества обрабатываемых поверхностей, а также при заточке и доводке режущего инструмента применяют абразивные инструменты.
В процессе резания металла абразивными инструментами участвует большое число одинаковых по размеру абразивных зерен, скрепленных связующим веществом (связкой). Связка определяет прочность и твердость инструмента, влияет на режимы, производительность и качество обработки. Связки бывают неорганическими и органическими. К первым относят керамическую и металлическую, а ко вторым – бакелитовую и вулканитовую.
Керамическая связка (К) создается на основе огнеупорной глины, обладает высокой прочностью, жесткостью, теплостойкостью и химической стойкостью, хорошо сохраняет профиль круга.
Бакелитовая связка (Б) создается на основе смол и обладает хорошей самозатачиваемостью и полирующим свойством, уступает керамической связке по теплостойкости к щелочам.
Вулканитовая связка (В) создается на основе синтетического каучука и обладает высокой упругостью и плотностью, уступает по прочности и теплостойкости.
Металлическая связка (М) создается на основе сплава меди, олова, цинка, никеля и других элементов и используется в основном для алмазных и эльборовых кругов, обладает высокой стойкостью и теплопроводностью.
По степени твердости различают мягкие (М1, М2, М3), средне мягкие (СМ1, СМ2), средние (С1, С2), средне твердые (СТ1, СТ2, СТ3), твердые (Т1, Т2) и другие шлифовальные круги.
4. Технологическая оснастка, применяемая при обработке изделий резанием
Основное назначение технологической оснастки – обеспечить требуемую точность обработки. С помощью оснастки можно в ряде случаев повышать точность обработки, если даже станки не соответствуют необходимым требованиям по точности. Для этих целей, например, можно собирать приспособления с направлением борштанг, сверл и зенкеров. С помощью таких приспособлений можно обеспечить требуемую точность межцентровых расстояний, соосность отверстий и т.д. При обработке заготовок резанием 40 – 80% времени приходится на вспомогательные приемы работы, а на долю основного технологического времени лишь 60 – 20%. Повышение оснащенности и расширение технологических возможностей действующего оборудования за счет применения современной переналаживаемой технологической оснастки является одним из наиболее эффективных средств повышения производительности труда.
Основные требования к комплексу универсально – сборной и переналаживаемой оснастки (УСПО):
Элементы УСПО должны быть общемашиностроительными, многоцелевого и многократного применения.
Приспособления, собираемые из элементов УСПО, должны быть надежными, эффективными и одинаково работоспособными в условиях как единичного, так и крупносерийного производства, в том числе в условиях групповой обработки деталей.
Элементы общего применения (крепежные, прижимные, направляющие детали и средства механизации) должны быть применимы для сборки специальных приспособлений в условиях производства любой серийности, в том числе массового производства.
Точность изготовления элементов УСПО должна допускать полную взаимозаменяемость без подгонки. Все элементы УСПО должны иметь максимальную готовность к агрегатированию без предварительной подготовки. Время сборки и переналадки должно быть сведено к минимуму.
Применяемые материалы и виды термической и химико-термической обработки должны обеспечивать примерно одинаковую прочность, поверхностную твердость, износостойкость и коррозионную стойкость всех элементов, входящих в комплекс на весь период эксплуатации (12 – 15 лет).
Жесткость и виброустойчивость приспособлений предопределяют выбор скорости и глубины резания, величины подачи и числа рабочих ходов. А следовательно, влияют на производительность обработки. Основой эффективности переналаживаемой оснастки является широкая универсальность и высокая долговечность составляющих ее элементов. Это позволяет многократно использовать одни и те же детали и сборочные единицы в разных компоновках, которые создаются в течении всего срока службы, в большом числе переналадок и перекомпоновок для обработки новых партий и групп деталей. Поэтому одним из требований к оснастке многократного применения является установление такой нормы долговечности, которая позволит полностью использовать возможности обратимости элементов до замены одного поколения оснастки многократного применения другим, более прогрессивным.
5. Кузнечнопрессовое производство
Приводные комбинированные пресс – ножницы С – 229А.
Пресс – ножницы приводные комбинированные, модель С – 229А предназначены для резки сортового и фасонного проката (швеллерного, углового, круглого, квадратного) и листа, а также для пробивки отверстий и треугольной высечки. Пресс – ножницы могут быть установлены в арматурных цехах заводов сборного железобетона, в заготовительных и ремонтных цехах машиностроительных заводов, на строительных площадках под навесом в условиях умеренного климата.
Технические данные станка:
|
№ пп |
Наименование показателей |
Значение |
Единица измерений |
|
1. |
Максимально – допустимое усилие на ножах |
60000 |
кгс |
|
2. |
Разрезаемый материал с временным сопротивлением |
47 |
кгс/см2 |
|
3. |
Наибольшие размеры разрезаемого проката: сталь круглая сталь квадратная (сторона квадрата) сталь угловая равнобокая швеллер сталь толстолистовая сталь полосовая |
40 34×34 9 8 и 12 13 20×40 |
мм мм № № мм мм |
|
4. |
Максимальный размер пробиваемого отверстия (при толщине металла 15 мм) |
20 |
мм |
|
5. |
Число ходов кулисы в мин |
33 |
мин |
|
6. |
Расстояние от оси ползуна до станины |
200 |
мм |
|
7. |
Электродвигатель тип мощность число оборотов |
АО2 – 22 – 2 2,2 3000 |
кВт об/мин |
|
8. |
Габаритные размеры: длина ширина высота |
1500 600 1250 |
мм мм мм |
|
9. |
Масса |
1130 |
кг |
Ножницы кривошипные листовые с наклонным ножом НД3316Г.
Ножницы кривошипные листовые с
наклонным ножом НД3316Г предназначены
для резки листового материала с пределом
прочности
≤
50 кгс/мм2 и
с наибольшими размерами поперечного
сечения 4×2000 мм.
Поперечная резка листа, толщина и ширина которого соответствует технической характеристике ножниц, производится за один ход ножа, продольная резка производится рядом повторных резов при продвижении листа вдоль линии реза. При этом длина листа может быть неограниченной, а ширина отрезаемой полосы определяется величиной вылета станины.
Пневматический ковочный молот МА4129.
Молот ковочный пневматический 75 кг модели МА4129 предназначен для выполнения различных работ: протяжки, осадки, прошивки отверстий, горячей рубки материала, кузнечной сварки, гибки материала и т.п. методом свободной ковки на плоских и фасонных бойках.
6. Ввод данных и обработка изделий на станках с ЧПУ
Повышение производительности и качества работ на металлорежущих станках связано с механизацией и автоматизацией цикла обработки заготовки.
Под управляющей программой понимают совокупность команд на языке программирования, соответствующую заданному алгоритму функционирования станка по обработке конкретной заготовки.
В зависимости от способа задания размерной информации все системы управления станками разделяют на аналоговые (нечисловые) и числовые. Аналоговые системы управления преобразуют исходную информацию, заложенную в программоноситель в процессе подготовки производства. Программоносителями могут быть: упоры, расположенные определенным образом на станке, копиры, кулачки и распределительные валы. Исполнительные органы станка, по исходной информации, представленной в виде аналога программы перемещений, воспроизводят данную программу обработки заготовки.
Аналоговые системы управления классифицируют на следующие типы: замкнутые, незамкнутые, копировальные со следящим приводом.
Системы управления замкнутого типа осуществляют контроль исполнительного органа станка по пути (путевые), времени (временные), скорости, мощности, давлению и другим параметрам.
Системы управления с приводом от копира, кулачка, храпового механизма и другие, осуществляющие дозированное перемещение исполнительных органов станка, а также системы без усилителя мощности (копировальные прямого действия) относят к незамкнутым.
Широкое применение в станках различных типов нашли копировальные системы со следящим приводом (гидравлическим, электрогидравлическим или электрическим). Эти системы имеют обратную механическую или электрическую связь.
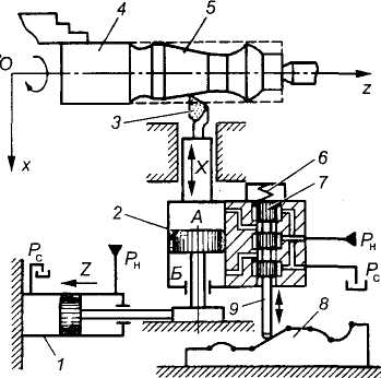
В качестве примера рассмотрим работу копировальной системы управления с гидравлическим следящим приводом, имеющим механическую обратную связь (рис. 1), используемую на токарном станке для изготовления из заготовки 4 фасонной детали 5 по копиру 8. Гидронасос, при работе системы, подает масло под давлением

Рис. 1. Система управления копировальная с гидравлическим следящим приводом и механической обратной связью: 1 — гидроцилиндр; 2 — гидропривод; 3 — резец; 4 — заготовка; 5 — фасонная часть детали; 6 — пружина; 7— гидрораспределитель; 8 — копир; 9 — щуп
Рн в правую полость гидроцилиндра 1, а левая полость его соединена со сливным трубопроводом Рс. В результате разности давлений поршень гидроцилиндра 1 со штоком начнет движение по оси Z, увлекая за собой шток следящего гидропривода 2. Дросселирующий гидрораспределитель 7 соединен с напорным Рн и сливным Рс трубопроводами. Продольное движение (по оси Z) щупа 9 по копиру 8 вызывает перемещение гидрораспределителя 7 относительно корпуса, в котором он размещен. Отрыв щупа 9 от рабочей поверхности копира 8 исключает пружина 6 гидрораспределителя. В результате перемещения гидрораспределителя относительно корпуса следящего гидропривода 2 открываются дросселирующие щели, образованные корпусом и гидрораспределителем. Полости А и Б гидроцилиндра соединяются соответственно с напорным и сливным трубопроводами. Перепад давления на поршне следящего гидропривода 2 вызывает перемещение корпуса привода за дросселирующим гидрораспределителем 7, т. е. происходит слежение за перемещением щупа по копиру. Перемещение корпуса гидропривода 2 передается резцу 3, жестко связанному с корпусом.
Таким образом, резец 3 получает продольное перемещение (по оси Z) от гидроцилиндра 1, а поперечное перемещение (по оси X) — от корпуса гидропривода 2.
Копировальные системы широко применяют для управления обработкой детали по одной, двум и трем координатам. Возможность быстрой смены программоносителя (копира) позволяет использовать их в условиях серийного производства.
Аналоговые системы управления позволяют повысить производительность механической обработки, но не обладают достаточной гибкостью. Это обусловливает высокую стоимость переналадки оборудования.
Цикловое программное управление станками
Частично или полностью программировать цикл работы станка, режим обработки и смену инструмента, задавать путем предварительно налаживаемых упоров величину перемещений его исполнительных органов можно с помощью системы циклового программного управления (ЦПУ). Будучи аналоговой системой управления замкнутого типа, она обладает высокой гибкостью, обеспечивает легкое изменение последовательности включения аппаратов (электрических, гидравлических, пневматических и т. д.), управляющих элементами цикла. Преимущество системы ЦПУ: простота конструкции и обслуживания, а также низкая стоимость; недостаток — трудоемкость размерной наладки упоров и кулачков.
Станки с ЦПУ применяют в условиях серийного, крупносерийного и массового производства деталей простых геометрических форм. Этими системами оснащают токарно-револьверные, токарно-копировальные, лоботокарные, вертикально-фрезерные, копировально-фрезерные, вертикально-сверлильные, агрегатные станки, промышленные роботы (ПР) и др.
В систему ЦПУ (рис. 2) входит программатор циклов, схема автоматики, исполнительное устройство и устройство обратной связи. Само устройство ЦПУ состоит из программатора циклов и схемы автоматики. Программатор циклов состоит из блока 1 задания программы и блока 7 поэтапного ее ввода. Часть программы, одновременно вводимую в систему управления называют этапом. Из блока 1 информация поступает в схему автоматики, состоящую из блока 2 управления циклом работы станка и блока 6 преобразования сигналов контроля.
Действия программатора циклов с исполнительными органами станка и датчиком обратной связи согласует схема автоматики, которая усиливает и размножает команды и может выполнять ряд логических функций, в том числе реализацию стандартных циклов. Сигнал из блока 1 через блок 2 поступает в исполнительное устройство, которое обеспечивает отработку заданных программой команд: включает исполнительные элементы 3 (приводы исполнительных органов станка, электромагниты, муфты и т. д.) и исполнительные органы 4 станка (суппорты, револьверные головки, столы и т. д.).
Окончание обработки контролирует датчик 5, который через блок 6 дает команду блоку 7 на включение следующего этапа программы.

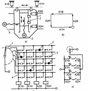
Рис. 2. Функциональная схема системы ЦПУ
В качестве примера на рис. 3, а приведена система ЦПУ станком, исполнительные органы которого (продольные 1 и поперечные 2 салазки) приводятся в движение от электродвигателей 4 и 3 соответственно.
Перемещение салазок 1 ограничивают переключатели К.1В и К1Н, а салазок 2 — переключатели К2В и К.2Н. Величину хода салазок задают упорами.
Широко распространенным электрическим программатором является штекерная панель, она вместе с шаговым искателем составляет командоаппарат (рис. 3, в). Шаговый искатель состоит из контактного поля и ротора.

Рис. 3. Система ЦПУ: а — кинематическая схема (1, 2— продольные и поперечные салазки соответственно; 3, 4 — электродвигатели); б — обрабатываемый цикл; в — штекерная панель с электромагнитом шагового искателя (1 — щетка; 2, 4— горизонтальная и вертикальная шины; 3 — штекерное гнездо; 5—8— штекеры); г — схема управления.
Контактное поле представляет собой совокупность неподвижных контактных пластин, расположенных по окружности и изолированных друг от друга. Ротор изготавливают в виде щетки с электромагнитным приводом. Он состоит из электромагнита и храпового механизма. При поступлении на вход электромагнита импульсного сигнала ротор поворачивается на один шаг и коммутирует очередную пластину контактного поля. На штекерной панели монтируют горизонтальные 2 и вертикальные 4 шины, соединяя их соответственно с пластинами шагового искателя и с обмотками реле. Количество горизонтальных шин равно числу ходов цикла, а вертикальных шин — числу команд. В местах пересечения горизонтальных и вертикальных шин располагают штекерные гнезда 3. Они состоят из двух полуколец, одно из которых соединяют с горизонтальной шиной, а другое — с вертикальной. При установке штекера в гнездо, соответствующие шины соединяются, и срабатывает реле. При отсутствии штекера шины разомкнуты, и реле не срабатывает. Так, для программирования цикла (см. рис. 3, а), содержащего четыре последовательных хода салазок 7 и 2 (К1В и К1Н — соответственно ход салазок 1 вперед и назад, К2В и К2Н — соответственно ход салазок 2 вперед и назад; рис. 1.17, б), необходимо установить в гнезда штекерной панели штекеры 5, 6, 7 и 8 (см. рис. 3, в). От шагового искателя, при включении станка, напряжение поступает на верхнюю горизонтальную шину штекерной панели. Срабатывает реле К2В (рис. 3, г) и подает команду «Вперед» приводу поперечных салазок. Последние перемещаются вперед до срабатывания переключателя К2В. Контакты К2В замыкаются, что вызывает срабатывание электромагнита шагового искателя. Ротор искателя поворачивается на один шаг, верхняя шина и реле К2В обесточиваются и движение прекращается. Затем напряжение поступает на вторую горизонтальную шину: срабатывает реле К1В и подает команду «Вперед» приводу продольной подачи. Продольные салазки перемещаются справа налево до срабатывания переключателя К1В и, следовательно, шагового искателя; возникает сигнал К2Н (поперечные салазки перемещаются в начальное положение), а затем сигнал К1Н (продольные салазки перемещаются в начальное положение). Ротор шагового искателя на вспомогательном ходу возвращается в исходное положение, после этого цикл повторяется.

Рис. 4. Кулачковая панель: 1 — плита; 2— кулачки; 3— пазы; 4— путевые переключатели
Штекеры в отверстия панели вставляет оператор непосредственно на станке. Для избегания ошибок программирования и его ускорения на штекерную панель накладывают бумажные шаблоны, на которых в соответствии с программой пробиты отверстия, через них штекеры вводят в гнезда панели. Для многократного использования исполнительных органов в цикле число конечных переключателей должно быть увеличено. В таких случаях для управления движением по каждой координатной оси целесообразно применять кулачковую панель (рис. 4), представляющую собой плиту 1 с Т-образными пазами 3, в которых устанавливают кулачки, 2, взаимодействующие с блоком 4 путевых переключателей.
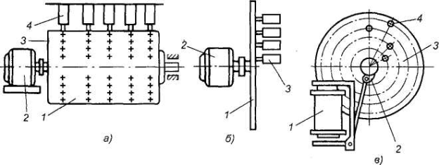
Для задания команд существуют различные по конструкции программаторы. Например, кулачковый командоаппарат является программатором механического типа с кинематическим заданием программы. Его выполняют в виде барабана 1 с приводом 2 от электродвигателя со встроенным редуктором (рис. 5, б). Барабан периодически поворачивается на определенный угол и фиксируется в заданном положении. На его цилиндрической поверхности, выполняющей роль панели, предусмотрены гнезда 3, в которые устанавливают штекеры (шарики или штифты). Количество гнезд по окружности барабана равно числу этапов программы, а вдоль образующей барабана — числу программируемых параметров. Информация считывается блоком 4 путевых переключателей; при наличии штекера переключатель срабатывает и выдает команду. Конструктивно кулачковый командоаппарат часто выполняют дисковым (рис. 5, б). На торце диска 1, имеющего дискретный привод 2, сделаны гнезда. Информацию считывает блок 3 путевых переключателей. Командоаппарат со сменным алюминиевым диском 3 показан на рис. 4, в. На диске записывают (путем пробивки в определенных местах отверстий 4) требуемую информацию, считывание которой осуществляет фотоэлектрический прибор. Диск можно использовать многократно. Дискретный привод командоаппарата состоит из электромагнита 1 и храпового механизма 2.

Рис. 5. Схемы конструкций командоаппаратов: о — барабанного типа; б — дискового типа; в — со сменным перфорированным диском (1 — электромагнит; 2 — храповый механизм; 3 — диск)

Рис. 6. Функциональная схема программируемого командоаппарата: 1 — центральный процессор; 2 — постоянное запоминающее устройство; 3 — входное устройство; 4 — сканатор; 5 — выходное устройство; б — программная панель
Программируемые командоаппараты (ПК), построенные на базе микроэлектроники, являются универсальными системами ЦПУ. Они представляют собой управляющие логические машины последовательного действия.
Программируемый командоаппарат состоит из центрального процессора (управляющего устройства) 1, постоянного запоминающего устройства 2, входного 3 и выходного 5, устройств сканатора (генератора импульсов) 4 (рис. 6).
Программную панель 6 (загрузчик программ), оснащенную декадными переключателями и клавишами с обозначением логических элементов можно подключать к ПК. Программирование осуществляют последовательным нажатием клавишей. Программа записывается и запоминается в устройстве 2. В режиме работы сканатор 4 поочередно подключает к процессору 1 устройства 3 и 5. В процессоре 7 согласно программе выполняются заданные логические операции, преобразующие состояния входов в состояния выходов.
Числовое программное управление для автоматизированного оборудования
Термины и определения основных понятий в области числового программного управления металлорежущим оборудованием устанавливает ГОСТ 20523—80.
Числовое программное управление станком (ЧПУ) — управление обработкой заготовки на станке по управляющей программе, в которой данные заданы в цифровой форме.
Устройство, выдающее управляющие воздействия на исполнительные органы станка в соответствии с управляющей программой и информацией о состоянии управляемого объекта, называют устройством числового программного управления (УЧПУ).
Различают аппаратное и программируемое УЧПУ. В аппаратном (NC) устройстве алгоритмы работы реализуются схемным путем и не могут быть изменены после изготовления устройства. Эти устройства выпускают для различных групп станков: токарных («Контур-2ПТ», Н22), фрезерных («Контур-ЗП», НЗЗ), координатно-расточных («Размер-2М», ПЗЗ) и т. д. Такие УЧПУ изготовляют с вводом управляющей программы на перфоленте. В программируемых устройствах (CNC) алгоритмы реализуются с помощью программ, вводимых в память устройства и могут быть изменены после изготовления устройства. Устройства УЧПУ типа CNC включает малую ЭВМ, оперативную память и внешний интерфейс.
Система числового программного управления (СЧПУ) представляет собой совокупность функционально взаимосвязанных и взаимодействующих технических и программных средств, обеспечивающих ЧПУ станком.
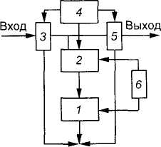
Основной функцией СЧПУ является управление приводами подач станков в соответствии с заданной программой, а дополнительными — смена инструмента и т. д. На рис. 7 представлена обобщенная структурная схема СЧПУ. Схема работает следующим образом: устройство 1 ввода программы преобразовывает ее в электрические сигналы и направляет в устройство 7 отработки программы, которое через устройство 8 управления приводом воздействует на объект регулирования — привод 4 подач. Подвижную часть станка, связанную с приводом 4 подач, контролирует датчик 5, включенный в цепь главной обратной связи.
брак токарный резание кузнечнопрессовый

Рис. 7. Обобщенная структурная схема СЧПУ: 1 — устройство ввода программы; 2 — устройство реализации дополнительных функций; 3 — исполнительные элементы; 4 — привод подач; 5— датчик; 6 — устройство обратной связи; 7 — устройство обработки программы; 8 — устройство управления приводом.
С датчика 5 через устройство 6 обратной связи информация поступает в устройство 7 отработки программы. Здесь происходит сравнение фактического перемещения с заданным по программе для внесения соответствующих коррективов в производимые перемещения. С устройства 1 электрические сигналы также поступают в устройство 2 для реализации дополнительных функций. Устройство 2 воздействует на исполнительные элементы 3 технологических команд (двигатели, электромагниты, электромагнитные муфты и др.), при этом исполнительные элементы включаются или выключаются. Достоинство станков с ЧПУ — быстрое переналаживание без смены или перестановки механических элементов. Нужно только изменить вводимую в станок информацию и он начнет работать по другой программе, т. е. обрабатывать другую заготовку (деталь). Высокая универсальность станков с ЧПУ удобна в тех случаях, когда нужен быстрый переход на изготовление другой детали, обработка которой на обычных станках требует использования специальной оснастки.
Точность размеров и формы обрабатываемой детали, а также требуемый параметр шероховатости поверхности обеспечиваются жесткостью и точностью станка, дискретностью и стабильностью позиционирования и ввода коррекции, а также качеством СЧПУ.
Конструктивно системы ЧПУ бывают разомкнутыми, замкнутыми и самонастраивающимися; по виду управления движением — позиционными, прямоугольными, непрерывными (контурными).
Системы ЧПУ разомкнутого вида используют один поток информации. Программу считывает устройство, в результате чего на выходе последнего появляются командные сигналы, которые после преобразования направляют к механизму, осуществляющему перемещение исполнительных органов станка (например, суппортов). Контроль соответствия действительного перемещения заданному отсутствует.
В замкнутых СЧПУ для обратной связи используются два потока информации. Один поток поступает от считывающего устройства, а второй — от устройства, измеряющего действительные перемещения суппортов, кареток или других исполнительных органов станка.
У самонастраивающихся систем (CNC) информация, поступающая от считывающего устройства корректируется с учетом поступающих из блока памяти сведений о результатах обработки предыдущей заготовки. За счет этого повышается точность обработки, так как изменения условий работы запоминаются и обобщаются в устройствах самонастройки памяти станка, а затем преобразуются в управляющий сигнал. От простых СЧПУ CNC отличается автоматической приспособляемостью процесса обработки заготовки к изменяющимся условиям обработки (по определенным критериям) для лучшего использования возможностей станка и инструмента. Станки с простой СЧПУ отрабатывают программу без учета действия случайных факторов, например припуска, твердости обрабатываемого материала и состояния режущих кромок инструмента. CNC, в зависимости от поставленной задачи и методов ее решения разделяют на системы регулирования какого-либо параметра (например, скорости резания и т. д.) и системы, обеспечивающие поддержание наибольшего значения одного или нескольких параметров.
Системы ЧПУ, обеспечивающие точную установку исполнительного механизма в заданное положение, называют позиционными. Исполнительный орган в этом случае в определенной последовательности обходит заданные координаты по осям X и Y (рис. 8). При этом сначала выполняется установка (позиционирование) исполнительного органа в точке с заданными координатами, а затем — обработка. Разновидностью позиционных СЧПУ являются прямоугольные СЧПУ, в которых программируются не точки, а отдельные отрезки, но при этом продольная и поперечная подачи разделены во времени.
Системы ЧПУ (рис. 8, 6) обеспечивающие последовательное включение продольной и поперечной подач станка при обработке поверхности ступенчатой формы, называют прямоугольными. Эти СЧПУ используют в токарных, карусельных, револьверных, фрезерных и других станках. Обработку ступенчатых валов и других деталей с прямоугольными контурами выполняют только по траекториям, параллельным направлению перемещений рабочих органов.
Системы ЧПУ (рис. 8, в), обеспечивающие непрерывное управление рабочими органами в соответствии с заданными законами изменения их пути и скорости перемещения для получения необходимого контура обработки, называют контурными. При этом инструмент движется относительно заготовки по криволинейной траектории, которая получается в результате сложения движений по двум (плоская криволинейная траектория) или трем (пространственная криволинейная траектория) прямолинейным координатам.

Рис. 8. Виды обработки при использовании позиционных (а), прямоугольных (б) и контурных (в) СЧПУ.
Такие СЧПУ применяют в токарных и фрезерных станках при изготовлении деталей с фасонными поверхностями. Подача S инструмента в каждый момент обработки складывается из поперечной snon и продольной Sпр подач. Следовательно, перемещения инструмента по различным координатным осям функционально связаны друг с другом.
Подготовка управляющих программ для станков с числовым программным управлением
Подготовка управляющих программ (УП) обработки заготовки на станке с ЧПУ предусматривает нанесение на программоноситель необходимых команд, которые могут быть автоматически прочитаны и выполнены системой управления станка.
Предварительно собирают и упорядочивают информацию. Геометрическую информацию (размеры элементов детали, координаты отверстий, радиус дуги окружности обрабатываемого контура и др.) получают из чертежа детали. Технологическую информацию, индивидуальную для каждого технологического перехода (например, вид инструмента, частоту вращения, подачу и др.), формируют, пользуясь справочниками и инструкциями. На основе геометрической и технологической информации по каждому переходу составляют УП.
Существуют следующие методы подготовки УП: ручное программирование, при котором сбор, упорядочение информации и нанесение ее на программоноситель осуществляет технолог-программист; машинное программирование, при котором такие работы, как кодирование информации, определение перемещений инструмента, выбор режимов резания, оптимальной последовательности выполнения переходов, выполняет ЭВМ; машинное программирование непосредственно у станка, оснащенного микропроцессорным УЧПУ.
Методы кодирования УП, вид программоносителя и плотность записи на нем, способы считывания информации с УП являются основными показателями систем ЧПУ и зависят в основном от его элементной базы.
Код — условное обозначение цифр, чисел и букв, используемых для составления программы, нанесение ее на программоноситель и прочтения СЧПУ. Различают понятия «цифра» (0, 1, 2,..., 9) и «число», которое является последовательностью цифр с учетом их разрядности. Счислением называют совокупность приемов, наименования и записи чисел.
Для построения системы счисления в качестве основания можно использовать любое целое число В≥ 1, т. е.
Z=ZiBn-1+ ZjBn-2+ZkBn-3 + ... + ZpB n-n,
где Z — кодируемое число; Zi, Zj Zk, Zp — цифры, из которых составлено число; п — разряд цифры; В>1 — основание счисления.
В системах ЧПУ применяют и единичный (унитарный) код, в котором любое число выражается количеством 1. Например, числа 1, 2, 3, ..., 9, 10 записывают в унитарном коде следующим образом: 1; 11; 111; ...; 111111111; 111111111111.
Число в десятичной системе счисления представляют как сумму произведений цифр (0, 1, 2, ..., 9), умноженное на 10n, где п — разряд этой цифры. В этой системе основание В= 10. Например, число 1465,4 записывают следующим образом:
1465,4 = 1 • 103 + 4 • 102 + 6 • 101 + 5 • 10° + 4 • 10-1.
Такой вид записи, имеет большую наглядность при кодировании, но вызывает существенные трудности при реализации его в схемах вычислительной техники. Считывающее устройство не может в одной строке различать десять возможных цифр, поэтому каждый разряд цифр должен иметь десять строк с разделением от 0 до 9, т. е. для 5-разрядного числа нужно 50 строк.
В двоичной системе счисления основание В = 2. При этом цифры (0, 1, 2, ..., 9) изображают как 4-разрядные двоичные числа (табл. 1.).
Записи всех цифр от 0 до 9 при двоичной системе счисления выполняют на четыре дорожки, а не 10, как при десятичной системе. Однако при переходе к числам, которые имеют несколько десятичных разрядов, чтение их в двоичной системе практически невозможно, так как необходимо делать довольно длительные вычисления. Например, число 7943,95 в двоичном коде будет иметь следующий вид: 7943,95 = 0111 1001 0100 0011 1001 0101.
Двоичную систему счисления для изображения чисел в управляющей программе используют при реализации в схемах и на перфоленте. Поскольку в этой системе для изображения любых чисел применяют всего две цифры 0 и 1, то при построении блоков вычислительной техники можно использовать элементы, имеющие два устойчивых состояния (например, наличие или отсутствие напряжения в цепи и т. д.).
Для станков с ЧПУ запись программы осуществляют на программоносителях: перфолентах, перфокартах, магнитных лентах.
Единые для всех видов станков правила кодирования информации УП на носителе данных регламентированы Международным стандартом ИСО. Управляющую программу записывают в виде последовательных кадров. Перед кодированием информации выполняют условную запись кадра, используя для этого буквенные, графические и цифровые символы, приведенные в.
При записи кадров под словом программы подразумевают последовательность символов, рассматриваемых в определенной связи как единое целое. Оно состоит из адреса, обозначенного буквой, и числа, отображающего или величину перемещения, или скорость подачи, либо код какой-то другой функции. Например, слово Y+ 013345 означает следующее: перемещение суппорта станка в положительном направлении оси У на величину 13 345 дискрет (импульсов), что при дискретности 0,01 мм/имп означает перемещение на 133,45 мм. Часть слова управляющей программы, определяющая назначение следующих за ним данных, содержащихся в этом слове называют адресом. Фразу составляют несколько слов, описывающих обработку определенного участка заготовки. Она содержит информацию о геометрических и технологических параметрах, необходимых для обработки определенного участка или для выполнения вспомогательных функций (начало программы, подвод инструмента и т. д.). В программе последовательность фраз определяет последовательность обработки отдельных участков заготовки (детали). Программа может быть записана двумя способами: с фразами постоянной и переменной длины. Фразы постоянной длины называют кадрами. Последовательность слов, расположенных в определенном порядке и несущих информацию о технологической операции называют кадром программы. Каждому слову при записи программы кадрами отведено определенное число строк.
Записи фразами с переменной длиной могут выполняться тремя способами: адресным, табуляционным и универсальным. При записи адресным способом каждое слово начинается с буквы, которая указывает назначение последующей числовой информации. При этом длина фраз оказывается переменной; одну фразу от другой отделяют буквой Н (знак окончания фразы). Если применяют табуляционный способ записи, то все слова фразы следуют друг за другом в определенной последовательности, их разделяют буквой Я (знак табуляции, условно обозначаемый TAB). В универсальном способе записи используют отдельные элементы адресного и табуляционного способов.
Условная запись формата УП показывает, как следует формировать его при конкретном программировании для данного станка.
В руководстве к станку с ЧПУ приводят следующие сведения: перечень и назначение всех реализуемых подготовительных и вспомогательных функций; таблицы кодов скоростей подач и главного движения; таблицы кодовых номеров позиций инструмента; перечень номеров корректоров с указанием их назначения и особенностей применения; пределы размерных перемещений по всем осям координат; перечень всех воспринимаемых и реализуемых символов кодового набора; перечень и кодовые номера всех подпрограмм, хранящихся в памяти УЧПУ.
7. Охрана труда при выполнении токарных работ
При подготовке станка к работе дополнительно проверьте:
надежность крепления патрона или планшайбы от само откручивания и срыва со шпинделя при работе, особенно при изменении частоты или направления вращения шпинделя;
надежность закрепления резцедержателя задней бабки и пиноли задней бабки в заданных положениях;
исправность и надежность крепления ограждения зоны резания, ходовых валиков.
Устанавливайте правильно заточенные и исправные резцы(без трещин, надломов, с прочным креплением пластин твердого сплава, быстрорежущей стали и т.п.).
Устанавливайте резцы так, чтобы вылет их был минимальным. Крепите резцы не менее, чем двумя болтами резцедержателя. Резец должен устанавливаться режущей кромкой по оси вращения обрабатываемой детали, для чего применяйте специальные подкладки, равные или большие по длине и ширине опорной поверхности резца. Не устанавливайте под резец больше трех подкладок.
Следите за исправностью инструмента, своевременно заменяйте затупившийся инструмент. Производите смену инструмента в задней бабке или револьверной головке после остановки станка и отвода задней бабки или револьверной головки от обрабатываемого изделия. Не оставляйте в револьверной головке инструмент, не применяемый при обработке данной детали. Остерегайтесь удара режущим инструментом при повороте револьверной головки или резцедержателя.
Очистите от масла и грязи посадочные поверхности инструмента, пиноли и револьверной головки перед креплением инструмента в пиноли задней бабки и гнездах револьверной головки.
Не устанавливайте инструмент с поврежденным хвостовиком.
Захватывайте деталь кулачками на возможно большую длину при закреплении детали в кулачковом патроне или планшайбе.
Проверьте надежность крепления кулачков в гнездах патрона или планшайбы при установке детали максимального диаметра.
Пользуйтесь молотком, а не случайными предметами при выверке детали, используйте при этом защитные очки.
Немедленно снимите ключ с патрона или планшайбы после закрепления (снятия) детали.
При обработке резанием заготовок, выходящих за пределы оборудования, должны быть остановлены переносные ограждения.
Работайте с ограждением зажимных патронов универсальных токарных и токарно-револьверных станков.
Закрепляйте и подавайте рукой в шпиндель обрабатываемый пруток только при выключенном главном приводе станка.
Протирайте от масла и грязи патрон или планшайбу перед установкой на станок и перед снятием со станка.
Производите установку (снятие) патрона или планшайбы ручным навинчиванием (свинчиванием) патрона или планшайбы на шпиндель.
Не свинчивайте патрон или планшайбу внезапным быстрым торможением и реверсированием шпинделя. Свинчивание ударами кулачков о подставку допускается только при ручном вращении шпинделя или патрона
При закреплении обрабатываемого изделия в центрах:
проверьте исправность центров, соответствие их размеров размерам центровых отверстий обрабатываемого изделия, а также правильность его установки в шпиндель станка и пиноль задней бабки;
смажьте центр задней бабки во избежание его заедания;
протрите центровые отверстия обрабатываемого изделия;
закрепите надежно заднюю бабку в нужном положении;
установив обрабатываемое изделие, подожмите его центром задней бабки так, чтобы деталь могла вращаться в центрах без особого усилия, и закрепите пиноль, не допуская при этом ее большого вылета;
проверьте надежность закрепления задней бабки и пиноли в заданном положении после установки обрабатываемого изделия на станок.
Располагайте обрабатываемую поверхность как можно ближе к опорному и зажимному приспособлению.
В кулачковом патроне без подпора центром задней бабки можно закреплять только короткие (длиной не более двух диаметров) уравновешенные детали. В других случаях следует пользоваться для подпора детали центром задней бабки.
Не стойте на линии отлета стружки, находитесь во время работы с правой стороны суппорта. Устанавливайте сплошные или сетчатые экраны или щиты для защиты соседних рабочих мест и проходов от отлетающей стружки.
Во избежание травм из–за поломки инструмента или вырыва детали, необходимо соблюдать следующий порядок пуска и остановки станка:
при пуске станка сначала включите вращение шпинделя, плавно без удара подведите инструмент к обрабатываемому изделию, затем включите подачу;
перед остановкой станка выключите подачу, отведите режущий инструмент от детали, а затем выключите вращение шпинделя.
Не производите работы в рукавицах или перчатках при вращающемся шпинделе.
Соблюдайте следующие правила при полировке, опиловке, зачистке, шлифовке обрабатываемой детали на станке с ручным инструментом или наждачной шкуркой:
отведите на безопасное расстояние от обрабатываемой детали суппорт, револьверную головку и заднюю бабку, если она свободна;
встаньте лицом к патрону, держите ручку напильника левой рукой, а правой поддерживайте его конец, располагайтесь, так, чтобы напильник был от Вас с левой стороны, а не против груди или живота;
не используйте сильно истертую или надорванную шкурку при шлифовке и полировке детали.
Не удаляйте стружку из растачиваемого отверстия рукой и не выдувайте ртом. Для удаления стружки из растачиваемого отверстия пользуйтесь крючком, магнитным приспособлением и т.п.
Использовать сжатый воздух для удаления стружки при растачивании отверстий допускается только в соответствии с технологической документацией.
В технологической документации должны быть указаны приспособления, используемые для подвода сжатого воздуха.
Перед началом работы проверьте систему подвода воздуха:
наличие и состояние кожухов – глушителей;
отсутствие повреждений воздушных шлангов;
надежность подсоединения шлангов к системе подвода сжатого воздуха.
Во время работы:
применяйте защитные очки и противошумовые вкладыши «Беруши» или наушники;
включайте сжатый воздух только при врезании резца в обрабатываемое изделие;
не включайте сжатый воздух при неработающем приводе станка.
Отключите сжатый воздух рукояткой приспособления и закройте вентиль ввода.
Литература
Блюмберг В.А., Зазерский Е.И. Справочник токаря. – Л.: Машиностроение. 2000. – 405с.
Ганенко А.П. оформление текстовых и графических материалов при подготовке дипломных проектов, курсовых и письменных экзаменационных работ (требование ЕСДК). Учебное пособие/А.П. Ганенко, Ю.В. Милованов. – М.: ИРПО: изд. центр «Академия» 2004. – 352с.
Инструкции предприятия по охране труда, технологии выполнения работ.
Фещенко В.Н., Махмутов Р.Х. Токарная обработка.: Учеб. для проф. учеб. заведений. – 3 изд. испр. М. Высшая школа; Изд. центр «Академия».: 2004. – 303с.
Черпаков Б.И. Технологическая оснастка.: Учеб. для сред. образования/Б.И. Черпаков. – М.: «Академия». 2004. – 288с.