Технологическая оснастка (работа 1)
Практическая работа
по курсу «Технологическая оснастка»
Вариант №7
Практическая работа № 1
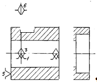
Задание: начертить схему базирования и схему установки для заданной детали при фрезеровании паза в размер b и h.



Р
ешение:
Схема базирования

Схема установки детали

Практическая работа № 2
фрезерование пневматический токарный втулка
Задание: рассчитать погрешность
базирования для нижеприведенной схемы
установки детали. Обработка отверстия
d в детали, установленной отверстием
d1(Ø20+0.021) н
а
штырь диаметром d2 (Ø20
)


и
параллельную оси отверстия плоскость.



Решение:
На операции необходимо выполнить размеры а и b, определение положения обрабатываемого отверстия d. Точность обработки отверстия определяется инструментом.
Погрешность базирования размера равна максимальному зазору посадки на штыри, т.е.:
εбаз=δ1 +δ2+2∆,
δ1=0,021 - допуск на диаметр установочного отверстия;
δ2=0,021 - допуск на диаметр штыря;
2∆=0,020 - минимальный гарантированный диаметральный зазор посадки.
εба=0,021+0,021+0,020=0,062мм
Погрешность базирования размера b равна: εбв= εба = 0,062мм.
Практическая работа № 3
Задание: определить необходимую силу зажима для заданных на схеме условий закрепления. М=200кгс∙мм, D>1 >=150мм, d =100 мм, d>1 >=60мм, f>1>= f>2>=0,16

Решение:

Практическая работа № 4
Задание: для заданной на схеме конструкции с пневмоприводом определить диаметр пневмоцилиндра, который обеспечит необходимую силу зажима Q заготовки в приспособлении

Q =400 кгс L = 150 мм, α=20ْ
l=15мм, К=10мм, d=8мм.
Решение:




Практическая работа № 5
Задание: определить потребную силу тяги и основные размеры пневматического двигателя для закрепления детали при токарной обработке в самоцентрирующем патроне. Коэффициент трения между кулачками патрона и заготовкой f = 0,25. Коэффициент трения в трущихся парах патрона fi = 0,15. Коэффициент запаса закрепления К = 2,5.
Тип патрона и его параметры: с рычажным приводом, l=70 мм; l>1>=90 мм; a/в=1/3,5; D=120 мм;D>1>=100 мм; P>z> =200 кгс; P>x>=75 кгс
Тип пневмодвигателя - пневмоцилиндр.

Решение:
Сила зажима детали одним кулачком патрона:

n=3 - число кулачков патрона.
Определение потребной силы тяги и размеров пневматического двигателя при токарной обработке в самоцентрирующем патроне.

Определяем потребную силу на штоке механизированного привода патрона

Диаметр цилиндра двухстороннего действия (при давлении в штоковой полости) определяем из формулы:

Принимаем по ГОСТ 21821-76 D>ц>=230 мм, d>шт>=34,5мм
Длина хода штока l>штока>=S*b/a=3*3,5=17,5 мм.
Практическая работа № 6
Задание: разработать конструкцию и произвести расчет патрона с гидропластмассовым зажимом для чистовой обработки наружного диаметра втулки на токарном станке. Материал тонкостенной втулки сталь ЗОХГС (σ>Т>=85 кгс/мм2; Е=2,1∙104 кгс/мм2).

Исходные данные: D=120 мм; d=100 мм; 1=100 мм; М>рез>=600 кгс∙см.
Решение:
Учитывая высокою точность допуска на радиальное биение детали, выбираем установку детали с базированием по внутреннему диаметру в само центрирующем патроне с гидропластмассой , обеспечивающем точность центрирования в пределах 0,005-0,01 мм.
Расчет патрона сводится к расчету размеров установочной втулки, диаметра и хода плунжера, усилия на плунжер, диаметра поршня пневмоцилидра привода,
1. диаметр наружной поверхности
втулки D принимаем по внутреннему
диаметру детали по посадке 17 (ǿ120f7(
)
2. Длину 1 тонкостенной части втулки принимаем равной длине базового размера отверстия детали, 1=100 мм.
3. Толщина стенки оболочки (l>D/2; D>50мм)

=0,025∙120=3 мм.

Ширина посадочного пояска
Принимаем Т=12мм
4. Максимальный диаметральный зазор между установочной поверхностью втулки и базовой поверхностью зажимной детали, т.е. величина деформации. При которой оболочка соприкасается с деталью
S>max>=D>изд.max>-D >вт.min>=120,054-119,893=0,161 мм
Допустимая упругая деформация втулки
120
0,3469 мм,
где К=1,4-коэфициент запаса прочности.
5. Определяем давление гидропластмассы Р>r> соответствующее первичному контакту оболочки с деталью

;

Давление гидропластмассы Р>r>, зависящее от величины момента резания
где
-приведенная
сила
К=1,5-2,5- коэффициент запаса закрепления, принимаем К=3.
f =0,1-0,16- коэффициент трения на поверхности сопряжения, принимаем f =0,1; ψ=0,69
Тогда

Суммарное давление гидропластмассы, необходимое для прочного удержания заготовки на втулке

6. Диаметр плунжера

Сила Р>ч> на плунжере или штоке пневматического привода

Диаметр поршня

Принимаем по ГОСТ2181-76 D=125мм
7. Определяем ход поршня и плунжера




7. Определяем длину l>К> поверхности контакта обрабатываемой детали с втулкой, когда деталь закреплена

Коэффициент запаса контакта
Условие надежного крепления (0,5<а=0,78<0,8) и центрирования соблюдено.