Как помочь роднику и речке
Как помочь роднику и речке
Расчистка родника
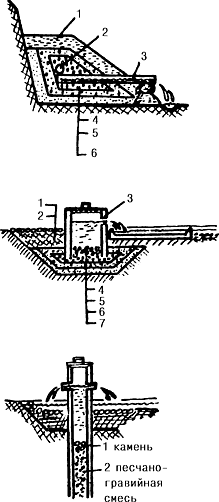
Как расчищать родники? Многие родники, которые вам, ребята, знакомы, засыпаны мусором. Попытайтесь их отыскать, определите, что нужно сделать для их возрождения. Мусор погрузите на тележку и отвезите на свалку. Окопайте землю вокруг родника, снимите накопившуюся грязь. Чтобы к источнику было удобно подойти, обложите его мытыми крупными камнями. У спуска к источнику можно установить табличку с названием ключа, указать фамилии ребят, взявших над ним шефство. Также необходимо расчистить и русло реки, а при возможности, добиться его заповедания. Следующий этап расчистки некоторых заиленных родников более серьезный. Сначала нужно отвести воду, чтобы не мешала земляным работам. Затем расчистить родник, выкопав (обязательно вручную!) яму глубиной 1-1,5 метра и диаметром 2-3 метра. Это если, конечно, родник бьет сосредоточенно, из одной точки. Если же подземная вода выбивается на поверхность рассеянно - на площадке в несколько метров, то копают канаву. Откосы ямы или канавы покрывают так называемым <обратным фильтром>, т.е. сначала кладут слой песка, а потом более крупный фильтрующий материал - гравий и щебень. На него устанавливают железобетонное кольцо-колодец, деревянный сруб или просто плетеную корзину. На дно колодца для пригрузки фильтра укладывают слой камня-булыжника. Вокруг колодца - слой глины, ее хорошо утрамбовывают. Нельзя изменять русло родника, нарушать его выход.
Для глубоких, водообильных родников после расчистки оплывшей земли в грунт забивают металлическую трубу длиной 2-3 метра, диаметром 25-30 сантиметров.

Как расчищать
источник.
1 - пористый грунт; 2 - дренажная
труба; 3 - отводящая труба; 4 - щебень; 5 -
песчано-гравийная смесь; 6 - песок.
1 - камень; 2 - глина; 3 - труба; 4 - камень; 5 - щебень; 6 - песчано-гравийная смесь; 7 - песок.
В нижней части трубы должны быть прорези - перфорации. Грунт из трубы выбирают, а перфорированную часть засыпают песчано-гравийной смесью и делают пригрузку из более крупных камней.
У сливного отверстия можно положить деревянную колоду, подступы замостить. Родник желательно обсадить ивами, поставить скамейку.
Очистка реки
Помощи <голубых патрулей> ждут не только родники, но и озера, реки. Чтобы возродить в реке жизнь, нужно сделать на ее дне через каждые 100-200 метров завалы из камней. Да-да, не удивляйтесь, именно завалы из камней. На них будут селитъся водоросли, моллюски, которые станут очищать воду. Рядом начнут прятаться мальки рыб. Вода, преодолевая перепады высот, переливается и журчит. Это ей на пользу: органические вещества преобразуются в проточной воде в минеральные, накатываясь на камни, вода аэрируется и пополняет запасы кислорода. Преграды, заставляющие воду переливаться и журчать, такие же целители воды, как опытные врачи для больного.
Для завалов на дно реки берутся в основном камни ноздреватые и шершавые, размером в несколько десятков сантиметров. Их можно навалить один на одни или же опустить на дно несколько сеток с камнями по 20-50 кг каждая.
Как показывает опыт, каменные завалы не только способству ют очищению воды и увеличению рыбьего царства. Через несколько лет в этих местах вновь начнут цвести кубышка и белая кувшинка.
Свалки мусора
Сколько еще источников загрязнения не учтено! Это в основном небольшие объекты, чаще всего сельскохозяйственного направления: фермы, склады ядохимикатов, консервные цеха, свалки мусора, гаражи, мойки машин. И здесь для <голубого патруля> непочатый фронт работ. Можно начать с осмотра свалок нечистот и мусора, находящихся недалеко от реки. Если они расположены в водоохранной зоне, то их необходимо ликвидировать. Если это не удается сделать своим силами - обратитесь в местные органы власти или напишите статью в газету.
Основные правила содержания свалок следующие. Места свалок должны быть согласованы с природоохранными органами и иметь разрешение местных органов власти. Территория, выбранная под свалку, не должна затапливаться во время паводков и располагаться на местности выше родников, колодцев, истоков рек, водоемов. На свалках нельзя складировать ядовитые и другие вредные вещества. Если эти правила нарушены - бейте тревогу. Неплохо бы нарисовать карту реки, где показать все близлежащие свалки, фермы, места сброса сточных вод, а также родники, лесопосадки и другие объекты. Это позволит вести борьбу с загрязнением речки более целенаправленно.
Водоохранная зона
Особенное внимание уделяйте водоохранным зонам. От них во многом зависит жизнь реки. Ширина водоохранной зоны может быть разной, от 20 до 100 метров, в зависимости от протяженности реки.
В водоохранных зонах запрещается: регулярная распашка берегов и выращивание сельскохозяйственных культур (особенно пропашных: сахарная свекла, кукуруза и др.); выпас скота и устройство летних лагерей для крупного рогатого скота; хранение и применение ядохимикатов и минеральных удобрений; открытие карьеров; организация свалок; размещение хмельников; строитель ство баз отдыха, разбивка палаток, заезд и стоянка автомобилей; корчевка кустарников и мелколесья почвозащитного назначения.
В водоохранных зонах высаживаются деревья и сеются многолетние травы.
Можно установить водоохранные знаки, на которых указывается ширина водоохранной зоны и дается перечень запрещенных и разрешенных в зоне работ. При обследовании водоохранных зон малых рек проводите экспедиции. Для более эффективной работы имейте информацию об исследуемой реке. Ее можно получить у районного землеустроителя.
Надо узнать, в каких колхозах и совхозах паспортизированы склады ядохимикатов и минеральных удобрений, а в каких нет. Такую информацию можно получить в районных санстанциях. Так же перед рейдом узнайте, каким колхозам и совхозам и в какой срок предписано привести в порядок склады ядохимикатов и минеральных удобрений. С этими данными отряду <голубых патрулей> легче проводить рейды.
Рейды по проверке водоохранных зон малых рек и применению минеральных удобрений и ядохимикатов лучше делать весной, в период весенней обработки почвы (до посева). В конце лета, в начале осени (до уборки урожая) провести повторные рейды в местах, где были обнаружены нарушения, в местах, где возможны нарушения.
Обнаружив нарушения в хозяйстве, необходимо указать о них руководству. Если при повторной проверке выяснится, что недостатки не устранены, составляется акт, который передается природоохранным органам.
Борьба с оврагами
Одна из главных причин заиления рек - овраги. Спасая голубые артерии, нужно научиться бороться с эрозией почвы. Овраг можно закрепить плетневыми запрудами. При их установке поперек русла оврага копается траншея шириной полметра, глубиной 30 сантиметров, которая врезается в берега размыва.

Укрепление оврага кольями вербы и тополя: а - колья ивы и тополя, б - земля.
В дно траншеи вставляются ивовые колья и переплетаются плотно прутьями. Высота каждой из запруд - не более метра. Расстояние между ними такое, чтобы верх нижней запруды был на одном уровне с низом верхней. Откосы оврагов обсаживайте деревцами. Весной это делается, когда земля а оврагах оттает и пройдет вода, осенью - ближе к зиме, после сильных осенних дождей. Глубина ямок до 30 сантиметров. Чтобы в овраг попадало как можно меньше воды, ее нужно распылить. Для этого в зоне водосбора оврага черед каждые 50 метров делаются прокопы, отводящие струи воды в разные стороны. Оставшись без мощного потока, овраг прекращает расти.
Готовясь к борьбе с оврагом, научитесь вычислять его длину. Для этого весной впереди в 20 метрах от оврага вбивается колышек. Затем каждый месяц делаются замеры: от колышка до острия оврага. Разница между замерами и покажет рост оврага.
Залесение берегов реки
Стать рекам чище здорово помогают прибрежные деревья. Ива и ольха корнями извлекают из воды нитраты и другие соли. Даже самая лучшая очистная установка не может очистить реку от вредных примесей, как это делают корни деревьев, тростника, рогоза и камыша.
Но прибрежные растения полезны еще и другим: они обогащают слой воздуха над водной поверхностью кислородом, который так необходим речке. Вода, обтекая корни ольхи и ивы, бурлит, и в ней происходят процессы окисления. Тенистые кроны деревьев спасают речку от жаркого солнца, уменьшают испарение воды. Деревья не дают берегам обваливаться, предотвращают русла рек от заиления, задерживают стоки с различными удобрениями и ядохимикатами с окружающих полей. Деревья помогают речке. Значит, для того, чтобы вылечить речку, нужно помочь деревьям.
Наиболее подходящие породы для облесения берегов рек - ива и тополь, так как они прорастают из кольев и черенков. Есть два способа посадки кольев и черенков вдоль рек. Один из них годится для высоких берегов, не затапливаемых паводками, В атом случае длина черенков - 25-35 сантиметров, толщина - 0,8-1,5 сантиметра. Длина кольев ив и тополей - 1-2 метра.
Нарезают черенки и колья до начала сокодвижения. Черенки сажают на глубину до 30 сантиметров в лунки, подготовленные железным прутом соответствующего диаметра. Колья из тополей и ив вставляют в ямы, сделанные ломом на глубину до 60 сантиметров. Забивать колья в землю нельзя, можно повредить кору. Посадка черенков, саженцев и кольев - лишь полдела. Первые 2-3 года нужно ухаживать за посадками, оберегать от скота, пропалывать от сорняков, рыхлить и, по возможности, поливать почву.
Однако, обсадка берегов деревьями не всегда достигает цели, потому что весенняя вода или лед в половодье подмывают берега, ломают саженцы, и все это падает в речку. Специалисты заметили, что колья тополя или ивы могут укореняться и давать ветки не только, когда посажены в землю вертикально или прикопаны горизонтально, но будут расти, когда прикопаны под наклоном. Второй способ обсадки берегов и состоит в том, что колья тополя и ивы длиной 5-6 метров кладут на прибрежную землю так, чтобы одни их концы были наравне с водой или сразу над уровнем воды, а другие доходили до верха берегового склона. Когда эти будущие деревья связаны между собой в определенную систему и создают что-то вроде живой подушки, берег речки станет более стойким против размыва. Развиваясь, они создают богатую корневую систему и выпускают много поросли. Перепутанные во всех направлениях корни такой посадки создают живой матрац, очень стойкий против быстрого течения.

Укрепление берегов речки при помощи наклонно прикопанных кольев ивы и тополя.
Густая поросль от кольев покрывает береговой склон до самой воды. Если нижнюю часть поросли вырубят, или ее поломает лед, верхние ветки поддерживают жизнь этой корневой системы через тот самый кол, что вы, ребята, присыпали землей. Эти колья в земле продолжают жить и гонят соки снизу вверх по всей системе.
Широкое применение такого способа предполагает использование большого количества тополевых или ивовых кольев (на один километр берега - 1 тыс. штук), по возможности тонких, ровных, с зеленой непотресканной корой для лучшего прорастания и укоренения. Колья прикалываются к берегу на расстоянии один метр друг от друга, параллельно один к другому, перпендикулярно к течению речки. Помещают колья в неглубокие выкопанные канавки, закрепляют деревянными крючьями, а затем все забрасывают землей.
Борейко В.Е., Грищенко B.H.