Громкоговорители динамики, рупоры и телефоны
Громкоговорители и телефоны
Определение, классификация, параметры. Громкоговоритель (теле фон) - прибор для преобразования электрических колебаний в акустические колебания воздушной среды - является последним и од ним из наиболее важных звеньев любого акустического тракта, так как его свойства оказывают чрезвычайно большое влияние на качество работы этого тракта в целом.
По способу преобразования колебаний громкоговорители и телефоны разделяются на электродинамические катушечные (подавляющее число типов громкоговорителей), электромагнитные (основное число телефонов), электростатические, пьезоэлектрические и некоторые другие; по виду излучения - на громкоговорители непосредственного излучения, диффузорные и рупорные; по воспроизводимому диапазону - на широкополосные, низко -, средне - и высокочастотные; по потребляемой электрической мощности на мощные и маломощные.
Стандартом ГОСТ 16122 - 78 установлены определения параметров громкоговорителей и относящихся к ним терминов. Приведем основные из них.
Номинальная мощность - максимальная подводимая электрическая мощность, ограниченная тепловой и механической прочностью громкоговорителя и нелинейными искажениями, превышающими заданное значение. Обычно оно меньше паспортного. Громкоговоритель не должен выходить из строя при длительном ее воздействии.
Частотная характеристика громкоговорителя по звуковому давлению - зависимость звукового давления, развиваемого громкоговорителем, в точке свободного поля (находящейся на определенном расстоянии от рабочего центра) от частоты при постоянном напряжении на зажимах громкоговорителя.
Рабочий центр - обычно геометрический центр симметрии выходного отверстия излучателя Для сложных излучателей рабочий центр указывается в описании громкоговорителей.
Неравномерность частотной характеристики и эффективно воспроизводимый диапазон частот определяются по частотной характеристике, снятой на рабочей оси, которая обычно совпадает с геометрической осью излучателя, а для сложных излучателей указывается в описании.
Среднее стандартное звуковое давление (отдача) - среднее звуковое давление, развиваемое в диапазоне рабочих частот на рабочей оси на расстоянии 1 м от громкоговорителя и 1 см от телефона при подведении к громкоговорителю электрической мощности 0,1 Вт, а к телефону - 1 мВт.
Входное сопротивление громкоговорителя зависит от частоты, поэтому в справочниках приводится номинальное электрическое сопротивление - минимальный модуль полного электрического сопротивления громкоговорителя в диапазоне частот выше частоты основного резонанса его механической колебательной системы, при которой полное сопротивление достигает максимального значения.
Характеристика направленности - зависимость звукового давления, развиваемого громкоговорителем, в точках свободного поля, находящихся на одинаковом расстоянии от рабочего центра, от угла между рабочей осью громкоговорителя и направлением на выбранную точку. Обычно эту характеристику нормируют к осевому звуковому давлению. Характеристика направленности изменяется в зависимости от частоты, поэтому ее измеряют на ряде частот или в заданной полосе частот. Характеристику направленности, снятую в плоскости, называют диаграммой направленности.
Коэффициент осевой концентрации - отношение акустических мощностей ненаправленного и направленного излучателей при равенстве их осевых звуковых давлений.
Коэффициент гармоник - отношение среднеквадратичного звукового давления гармоник к среднему звуковому давлению измеряют для ряда заданных частот при подведении к громкоговорителю синусоидального напряжения, соответствующего номинальной мощности.
Коэффициент полезного действия громкоговорителя в паспортных данных обычно не приводится. Вместо него указывают стандартное звуковое давление или характеристическую чувствительность, однозначно связанные между собой и с акустической мощностью. Если подвести к громкоговорителю электрическую мощность 0,1 Вт, то (согласно определению стандартного звукового давления) осевое звуковое давление равно стандартному,
Характеристическая чувствительность - отношение среднего звукового давления, развиваемого громкоговорителем в номинальном диапазоне частот на рабочей оси на расстоянии 1 м от рабочего центра, к корню квадратному из подводимой электрической мощности.
Дребезжание - спектральные компоненты излучаемого громкоговорителем сигнала, вызываемые механическими дефектами его конструкции и слышимые при его работе в номинальном и эффективно воспроизводимом диапазонах частот. Установлены две категории телефонов: Н (нормальные) - для работы при температурах от - 10 до +45'С и влажности до 90+ 3%; У (устойчивые) - при температурах от -50 до + 50' С и влажности до 95+3% . Полное электрическое сопротивление на частоте 1000 Гц должно быть 260±52Ом, хотя допускаются и другие его значения. Коэффициент гармоник на частоте 1000 Гц не должен превышать 5% при мощности 1 мВ А.
Габаритные размеры телефона не должны превышать размеров кругового цилиндра с диаметром основания 48мм и высотой 24,5 мм; диаметр слухового, отверстия - 13 мм.
Нормы на параметры громкоговорителей изложены в ГОСТ 90!0 - 78. Громкоговорители (головки) должны выдерживать испытания на теплоустойчивость до 60'С, на влагоустойчивость - до 93+-2% при 30'С, на холодостойкость - от - 20 до - 40'С, а так же на ударную устойчивость ударную прочность и виброустойчивость. Стандартное звуковое давление на расстоянии 1 м при мощности 0,1 Вт должно быть не менее О,2 Па, за исключением громкоговорителей, используемых в закрытых акустических системах (см. ниже). Частотная характеристика должна соответствовать типовой с допустимым отклонением +- 6 дБ. Если же типовая частотная характеристика не приводится, то допустимая неравномерность в номинальном диапазоне рабочих частот не должна превышать 14 дБ.
Предусмотрены следующие номинальные мощности: 0,1, 0,25; 0,5; 1,0; 2,0; 3,0; 4,0; 6,0; 8,0; 1О,О; 15,0; 2О,О; 25,0; 30,О;50,0 Вт и независимо от этого ряда мощностей ряд номинальных сопротивлений: 2,4,8,15, 25, 5О,100,400,800 Ом. Допустимые отклонения от приведенных сопротивлений не превышают + 15; - 20%
Громкоговорители не должны дребезжать при подведении к ним синусоидального сигнала номинальной мощности в диапазоне от минимальной частоты основного резонанса до наивысшей частоты номинального диапазона рабочих частот.
У одного из выводов громкоговорителя иногда- наносятся знак полярности в виде точки, пукли или знака "+", который помогает правильно осуществить параллельное соединение громкоговорителей. Обозначение громкоговорителя, например 1 ГД-3-100, расшифровывается так: первая, цифра (1) - мощность, Вт; буквы "ГД" - громкоговоритель динамический; вторая цифра (3) - порядковый номер разработки; последние цифры (100) - значение резонансной частоты, Гц. При маркировке нестандартных громкоговорителей добавляются буквы, указывающие завод изготовитель (например : 3ГД-6 ВЭФ, 5ГД-3 РРЗ. Электростатические громкоговорители маркируются тремя буквами: ГСВ (громкоговоритель статический высокочастотный) или ГСШ (громкоговоритель статический широкополосный), характеризующими тип, и цифрами, обозначающими номер разработки (например, ГСВ-1, ГСЩ-1).
Международные нормы на высококачественные громкоговорители системы высокой верности (НiFi) коротко формулируются так. Номинальный диапазон рабочих частот - 50 Гц...12 кГц. Частотная характеристика, снятая треть октавными полосами розового шума, должна укладываться в допустимую область с неравномерностью не более 8 дБ в диапазоне частот 100 Гц...4 кГц и не более 12 дБ на частотах ниже 100 Гц и выше 4 кГц (розовый шум - шумовой сигнал, уровень спектральной плотности энергии которого при повышении частоты снижается с постоянной крутизной 3 дБ/окт, в диапазоне частот измерений; октава (окт) - диапазон частот, ограниченный значениями F>min> и F>max> для которого F>max> /F>min> = 2).Звуковое давление, приведенное к расстоянию 1 м, при рабочей мощности должно быть не менее 1,2 Па (96 дБ). Коэффициент гармоник не должен превышать 3% в диапазоне частот 250 Гц...1 кГц при подводимом синусоидальном сигнале рабочей мощности, 2% в диапазоне частот 1...2 кГц при подведении 1/2 мощности и1% в диапазоне частот 2...4 кГц при подведении 1/4 мощности. Частотные характеристики, снятые пол углом 15° и оси вверх, вниз, вправо, влево, не должны отличаться от осевой характеристики при их совмещении больше чем на 4 дБ. Частотные характеристики громкоговорителей для двух каналов стереофонической установки не должны различаться более чем на 2 дБ. Рекомендуемые значения сопротивлений - 4 и 8 Ом.
Телефоны применяются в бытовой аппаратуре и связи. Стереофонические телефоны дают возможность полного разделении правого в левого каналов микрофон - усилитель - телефон - ухо.
Электромагнитные телефоны (например, типа ТК-47) применяются в телефонных аппаратах и переговорных устройствах. Принцип действия: на постоянный магнитный поток системы, состоящей из постоянного магнита и магнитопровода (полюсных наконечников), накладывается переменный поток звуковой частоты, создаваемый надетыми на магнитопровод катушками, к которым подводится напряжение звуковой частоты. Перед полюсными наконечниками находится ферромагнитная диафрагма (мембрана). Под воздействием постоянного и переменного магнитных потоков, пронизывающих диафрагму, мембрана колеблется в такт с переменным магнитным потоком и излучает акустическую волну, поступающую в ухо. В результате возникает ощущение звука.
При одинаковом звуковом давлении (отдаче) телефоны разного сопротивления имеют разные чувствительности. Чтобы сравнить телефоны, вводят понятие приведенной чувствительности: Мпр= Мт [Zт]/Zст, где Мпр - приведенная чувствительность телефона, Па/В; Мт - его чувствительность (отношение звукового давления к подводимому напряжению); [Zт] - модуль его электрического сопротивления; Zст - стандартное сопротивление, которое в телефонии принимается равным 600 Ом. Средняя чувствительность телефона типа ТК-47 в диапазоне 300 Гц...3 кГц составляет 15...- 17 Па/В, а сопротивление его катушек постоянному току - 130 Ом В переговорных устройствах и на радиостанциях в основном применяется телефон типа ТА-4, частотная характеристика которого более равномерна, средняя чувствительность в диапазоне 300 Гц... 4 кГц составляет 3 Па/В при сопротивлении постоянному току 2,2 кОм в 15 Па/В - при сопротивлении 65 Ом. Более сложную магнитную систему имеет телефон типа ДЭМК-6А. Для того чтобы при изменениях атмосферного давления его диафрагма не прогибалась внутрь или не выпучивалась, телефон снабжен керамической пробкой, пропускающей воздух, но не пропускающей влагу. Средняя чувствительность составляет 20 Па/В при сопротивлении постоянному току 130 Ом. Несколько отличается от него телефон типа ДЭМК-7Т. В нем нет керамической пробки, а в основании проделан ряд отверстий, что придает его частотной характеристике многорезонансный характер, как, например, у телефона типа ТА-4, Электрические эквивалентные схемы телефонов типов ДЭМК-6А и ТК-47 одинаковы. При сравнительном рассмотрении частотных характеристик чувствительности перечисленных телефонов нужно учитывать; что они не приведены к стандартному сопротивлению 600 Ом н поэтому располагаются на равных уровнях.

Рис. 1. Устройство телефона:
а - тип ТДС-1 (1 - малый электродинамический громкоговоритель; 2 - корпус; 3 - решетка; 4 - мягкий амбушюр; 5 - контакт; 6 - звукопоглощающий материал); б - квадрофонический ( 1,2 - громкоговорители соответственно переднего и заднего каналов; 3 - амбушюр; 4 - корпус); в,г - изодинамический.
тродинамического типа. Описание принципа действия этого типа телефонов приводится ниже; в качестве примера приведем конструкцию телефона ТДС-1 (рис. 1, а). В корпусе находится малый электродинамический громкоговоритель с диффузором или полусферической диафрагмой. Пространство между ним и корпусом заполнено звукопоглощающим материалом (поролон). Перед громкоговорителем находится перферированная решетка.
К краю корпуса примыкает мягкий амбушюр, прилегающий к ушной раковине. Пара таких телефонов позволяет получить высококачественное воспроизведение особенно низших частот при малой мощности, обеспечивая хороший стереофонический эффект н довольно надежно изолируя слушателя от внешних шумов, а окружающих от звуков воспроизведения. Устройства квадрафонического телефона схематически показано на рис. 1 б. Его основным отличием является то, что на каждое ухо действуют два громкоговорителя. На рисунке приведены громкоговорители переднего и заднего каналов, например правых каналов. Так же устроен телефон перед него и заднего левых каналов. Преобразователи передних каналов располагаются при надевании наушников прямо против входа в слуховые каналы, а задние смещены за ушную раковину, что не сколько ослабляет высокие частоты. Иногда оба громкоговорителя включаются через специальный электрический контур, позволяющий подчеркнуть низкие частоты для одного преобразователя и высокие для другого.
Электродинамические головные телефоны построены на электродинамическом принципе, но без применения громкоговорителей. Наиболее- известный из них - изодинамический. Он состоит из магнитной системы и диафрагмы. Оригинальная магнитная система, в свою очередь, состоит из двух дискообразных магнитов, например, из феррита бария, намагниченных так, что каждый из них имеет три пары полюсов. Например, центральная часть, ограниченная окружностью, имеет полярность N , следующая кольцевая - S, а наружная кольцевая - N. Таким образом, по поверхности магнита проходят два радиальных магнитных потока. Так же намагничен и второй магнит, Магниты по всей плоскости перфорированы для того, чтобы обеспечить проход звука через отверстия при колебаниях диафрагмы из синтетической пленки, натянутой между магнитами на равных расстояниях от поверхности каждого из них. На пленку нанесен проводник в виде спирали. В том месте, где встречаются противоположно направленные потоки (окружность, проходящая через точку А), витки спирали начинают идти в обратном направлении. Следовательно, сохраняется взаиморасположение магнитного поля и электрического тока. Диафрагма изодинамического телефона возбуждается по всей поверхности, поэтому он очень эффективен, имеет весьма равномерную частотную характеристику и ничтожные линейные искажения.
В пьезоэлектрических телефонах используются пьезоэлектрические синтетические пленки. Фирма "Пайонир" применяет пленку поливинилиденфлуорид. Она имеет разную толщину (от 8 до 30 мкм), малую жесткость и удовлетворительные пьезоэлектрические параметры. Качество такого телефона достаточно высокое. При этом он не требует напряжения поляризации (см. ниже описание электростатических громкоговорителей).

Рис. 2. Устройство диффузионного электродинамического громкоговорителя:
1 - звуковая катушка; 2 - диффузор; 3 - подвес диффузора; 4 - корпус; 5 - шайба; 6, 8 - фланцы; 7 - магнит; 9 - керн; 10 - кольцевой зазор; 11 - отверстия для выхода тыльного излучения.
Диффузорные электродинамические громкоговорители. В диффузорном громкоговорителе диффузор (рассеиватель),входящий в его механическую подвижную систему, выполняет функции преобразования механических колебаний в акустические и излучения звука.
Процесс излучения звуковых волн довольно прост: при своих колебаниях диафрагма приводит в движение частицы прилегающего к ней воздуха, создавая попеременно его сжатие и разрежение. Колебания этих частиц передаются соседним слоям воздуха и т. д., создаются волны сжатия и разрежения, которые движутся со скоростью звука вдаль. На рис. 2 приведен схематический чертеж электродинамического громкоговорителя. Принцип его действия заключается в том, что катушка с накатанным на нее проводом; находящаяся в радиальном магнитном поле, при пропускании через нее переменного тока i испытывает действие силы F = Bli где В - индукция в зазоре; l - длина провода.
Эта сила приводит в движение диффузор, жестко скрепленный с катушкой (называемой звуковой) и подвешенный к корпусу по внешнему краю, а также центрируемый шайбой. В результате диффузор является поршневым излучателем и имеет одну степень свободы колебаний (только по осевому направлению). Магнитное поле создается кольцевым постоянным магнитом (в ряде громкоговорителей магнитом служит керн) и магнитной цепью из двух фланцев и керна. Между керном и верхним фланцем есть кольцевой зазор, в котором размещена звуковая катушка, свободно колеблющаяся в нем. Чтобы диффузор не изгибался как мембрана и для создания необходимой жесткости, ему обычно придают Форму усеченного конуса с круговым или эллиптическим основанием. Тем не менее на высших частотах диффузор, изгибаясь, колеблется как мембрана: волны изгиба двигаются от центра к периферии и обратно, создавая стоячие волны по радиусам диффузора. Для больших диаметров диффузора (около 25 см) эти колебания начинают появляться на частотах выше 1500 Гц, для меньших - на более высоких частотах и воспринимаются слушателем как искажения звука.
Механическая колебательная система имеет резонансную частоту
Wм = 1/sqr(mc>m>), которую называют частотой механического резонанса (m - масса подвижной системы; С>m>- ее гибкость. Ниже частоты механического резонанса среднее звуковое давление громкоговорителя резко падает. Практически для широкополосных громкоговорителей не удается уменьшить частоту механического резонанса до 60...70 Гц. Следовательно, нижняя граница передаваемого диапазона частот не менее 50...60 Гц, а в большинстве случаев не менее 70...80 Гц. Частоту, выше которой диффузор колеблется как мембрана, можно повысить (при сохранении его массы и размеров), придав диффузору большую жесткость. Эта достигается утолщением стенок диффузора с уменьшением

Рис. 3. Частотная характеристика давления диффузорного громкоговорителя тина 4ГД-8Е в экране.
их толщины к периферии.
Одновременно с этим уменьшают плотность материала, например делают его пористым (без сквозных пор). Применяется различная пропитка материала диффузора, поэтому в диапазоне частот, в котором диффузор колеблется как мембрана, частотная характеристика получается очень изрезанной (рис. 3). Но так как слух человека из-за достаточно широких критических полосок слуха сглаживает частотную характеристику, то не все пики и провалы заметны на слух. Частотная зависимость осевой чувствительности громкоговорителя (отношение звукового давления на оси к подводимому напряжению) без учета резких пиков и провалов близка и равномерной до частот примерно 6...7 кГц (см. рис. 3). Это объясняется тем, что с увеличением частоты перестает колебаться внешняя, часть диффузора. Выше 7...8 кГц частотная характеристика круто падает. Все это относится к несоставным громкоговорителям, рассчитанным для работы в широком диапазоне частот.

Рис. 4. Громкоговоритель с дополнительным корпусом.
Верхнюю границу диапазона частот повышают до 10...12 кГц, например, кольцевой гофрировкой диффузора. При этом с увеличением частоты перестают колебаться один за другим внешние участки диффузора, одновременно уменьшается возможность колебания его как мембраны. Другой способ - применение дополнительного конуса, который вставляется внутрь диффузора (рис. 4).
В этих случаях на высоких частотах основной диффузор перестает работать из-за относительно гибкого соединения его со звуковой катушкой и в работу включается малый диффузор, достаточно жесткий и легкий. Чувствительность (эффективность излучения) громкоговорителя на высоких частотах повышают, уменьшая индуктивность звуковой катушки, например, с помощью вихревых токов Фуко; уменьшение индуктивности снижает ее электрическое сопротивление и приводит к возрастанию тока на высоких частотах. Для этого на керн надевают насадку в виде медного колпачка е разрезом. На низких частотах чувствительность громкоговорителя повышают, применяя специальные акустические оформления.
Направленность одиночных диффузорных громкоговорителей неявно выражена из-за малости поверхности излучения; она проявляется в диапазоне высоких частот.
Наибольшая подводимая к головке электрическая мощность ограничена значением, при котором коэффициент гармоник не превышает нормы, установленной ГОСТом или техническими условиями (обычно не более 5...10% на частотах 100...200 Гц). Этот параметр называют номинальной мощностью, выражают ее в ваттах, указывают в паспорте или другом документе на головку. В настоящее время громкоговорители выпускаются мощностью 0,025...50 Вт. КПД головки громкоговорителя (отношение излучаемой акустической мощности к подводимой электрической)снижается при уменьшении ее размеров, так как одновременно уменьшаются площадь поверхности диффузора, объем провода катушки и индукция в зазоре. Поэтому у малогабаритных громкоговорителей значение КПД очень мало: в основном составляет 0,2...0,5%, не превышая даже у самых мощных 1...2%. Чтобы скомпенсировать уменьшение звуковой отдачи, сопутствующее снижению КПД, к громкоговорителям малогабаритных акустических систем приходится подводить существенно большую мощность. Среднее стандартное звуковое давление, создаваемое современными динамическими головками, составляет 0,1...0,3 Па. Нелинейные искажения в диффузорных громкоговорителях в основном создаются из-за нелинейности механической системы в центрирующей шайбе и подвесе диффузора и из-за неравномерного распределения индукции в зазоре. Коэффициент нелинейных искажений на частотах около 100 Гц доходит до:1О% и более. Для его уменьшения применяют центрирующие шайбы, имеющие сложную конфигурацию и выполненные из специальных материалов, гофрированные подвесы, а также полюсные наконечники такой формы, при которой создается: более равномерное поле в зазоре. Для маломощных громкоговорителей высоту звуковой катушки делают больше высоты зазора, вследствие чего число пересекаемых силовых линий не зависит от амплитуды колебаний. В электродинамических громкоговорителях возможно появление субгармонических искажений, в результате которых создаются составляющие с частотами, равными половине частоты колебаний диффузора. Эти субгармоники появляются в тех случаях, когда образующая диффузора прямолинейна, т.е. когда диффузор имеет коническую форму. Чтобы уменьшить возможность возникновения субгармоник, образующей диффузора придают криволинейную форму (например, экспоненциальную).
Внутреннее сопротивление громкоговорителей обычно составляет несколько ом. Для согласования его с сопротивлением приемника, трансляционной линии и т.п. применяют трансформаторы. При этом входное сопротивление громкоговорителей с трансформатором определяется номинальным напряжением источника мощности и номинальной мощностью громкоговорителя Zbx =Uном/Pном.
Рупорные излучатели. Основным недостатком громкоговорителей непосредственного излучения является их чрезвычайно низкий КПД. Причина этого заключается в несогласованности сопротивлений механической системы и окружающей среды. Для повышения сопротивления излучения нужно увеличивать размеры излучателя, но это повлечет рост механического сопротивления массы излучателя и не даст выигрыша в КПД. Поскольку диффузор выполняет две функции: преобразования механических колебаний в акустические и излучения этих колебаний в окружающую среду, разрешить такое противоречие можно только разделением этих функций, которое осуществляется в рупорных громкоговорителях, Рупор служит также для согласования сопротивлений механической системы и окружающей среды. Рупором называют трубу с переменным сечением. Входное отверстие излучающего рупора (горло) меньше, чем выходное (устье). Выходное отверстие является излучателем, а входное - нагрузкой для механической системы. Таким образом, излучатель может быть сделан сколь угодно большим, а механическая система - небольшой и потому легкой.

Рис. 4. Виды рупоров: а - сдвоенный; б - секционированный.
Рупоры применяют с различным законом изменения поперечного сечения. Наиболее распространены рупоры экспоненциальные; реже применяются конические, так как они имеют значительно менее равномерную амплитудно-частотную характеристику. Для острой направленности и более низкой границы передаваемого диапазона частот следует увеличивать выходное отверстие рупора и выбирать рупор большей длины. Для увеличения длины рупор часто свертывают или складывают (рис. 4). С аналогичными явлением мы сталкиваемся в духовых музыкальных инструментах: чем ниже регистр инструмента, тем длиннее его рупор.
Для концентрации или расстояния звуковых волн применяются акустические линзы, основанные на преломлении звуковых лучей при переходе из одной среды в другую с разными скоростями распространения (например, скорость распространения звуковых волн в пористых материалах или в решетках и жалюзи пластин отличается от скорости распространения в открытом пространстве). К недостаткам рупора можно отнести нелинейные искажения, обусловленные большой величиной и резким изменением амплитуды звукового давления в пределах одной длины волны в горле рупора, а также частотные искажения в рупорах конической формы. Рупорные электродинамические громкоговорители имеют два конструктивных варианта: узко- и широкогорлые. Площадь входного отверстия рупора в узкогорлых громкоговорителях в несколько раз меньше площади поршневой диафрагмы, в широкогорлых - эти площади или одинаковы, или близки друг к другу.

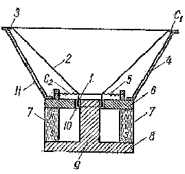
Рис. 5. Конденсаторный громкоговоритель:
а - конструкция (1 - массивный электрод; 2 - гибкий электрод с изоляцией; 3 - натягивающий винт); б - схема включению.
На рис.5 , а приведена схематическая конструкция конденсаторного громкоговорителя. На ребристом полуцилиндре с помощью винта натянута тонкая металлическая фольга, с внутренней стороны облицованная диэлектриком, или полимерная пленка, снаружи покрытая металлом. Поверхности полуцилиндра и фольга служат электродами конденсатора. Между электродами приложено поляризующее напряжение U>0>. На эти электроды подается еще переменное напряжение U; сила притяжения электродов F = (U>0>+ U)2 S/8пd2 где S - площадь электродов; d - расстояние между ними. При U < U0 можно пренебречь квадратичной составляющей, тогда переменная сила F = СU>0>U/d, так как С =. S/4пd Следовательно, сила, действующая на гибкий электрод, определяется отношением поляризующего напряжения к межэлектродному расстоянию U>0>/d, емкостью конденсатора С и переменным напряжением. Коэффициент электромеханической связи громкоговорителя обратно пропорционален частоте, а электрическая характеристика i/ U = wС прямо пропорциональна ей, т. е. они компенсируют друг друга, что выравнивает чувствительность на высоких частотах;
Конденсаторный громкоговоритель используют, как правило, в качестве высокочастотного элемента акустических систем. Например, при внешних размерах 15 х 10 см и длине волны не более 8 см (т. е. на частоте 4250 Гц) его коэффициент излучения не зависит от частоты. Для получения частотно-независимой чувствительности частоту резонанса механической системы выбирают на нижней границе передаваемого диапазона частот, последовательно с громкоговорителем, включая активное электрическое сопротивление R6 (рис. 5, б), которое уменьшает падение напряжения на громкоговорителе с увеличением частоты за счет роста тока через емкость. Значение отношения U>0>/d ограничено электрической прочностью пленки, поэтому чувствительность зависит только от размеров излучателя. Разработаны громкоговорители конденсаторного типа и на широкий диапазон частот (например, АСЭ-1), но производство их очень дорого.
Электретные громкоговорители отличаются от конденсаторных применением э них электретной пленки, заранее наэлектризованной. Поляризующее напряжение образуется предварительной электризацией одного иэ электродов, изготовляемого из полимеров или керамических поляризующихся материалов и имеющего металлическое покрытие. Оно является электродом конденсатора, а электрет - источником поляризующего напряжения. Поляризация электрета постепенно уменьшается и через несколько лет требуется его замена или повторная поляризация. В этом заключается как недостаток электретного громкоговорителя по сравнению с конденсаторным, так и его достоинство, поскольку для него не требуется источник напряжения. По механическим и акустическим характеристикам электретный громкоговоритель не отличается от конденсаторного.
Пьезогромкоговорители. Край пластинки из сегнетовой соли или пьезокерамики связывают с диффузором и получают громкоговоритель непосредственного излучения, коэффициент электромеханической связи которого такой же, как конденсаторного. Малая климатическая стойкость сегнетовой соли, низкая чувствительность пьезокерамики, большая неравномерность частотной характеристики, высокое входное сопротивление и большие нелинейные искажения ограничивают применение пьезогромкоговорителей.