Датчик влажности
МИНИСТЕРСТВО ОБРАЗОВАНИЯ РОССИЙСКОЙ ФЕДЕРАЦИИ
НОВГОРОДСКИЙ ГОСУДАРСТВЕННЫЙ УНИВЕРСИТЕТ
ИМЕНИ ЯРОСЛАВА МУДРОГО
ДАТЧИК ВЛАЖНОСТИ
Курсовая работа по дисциплине «Датчики физических величин»
а) Доцент кафедры ОЭФ
б) Студент группы 9012
_______ Руппель Д.А.
«__»________2000
Новгород Великий 2000
Содержание
Перечень условных обозначений
5 Основная часть
5.1 Описание физической величины
Для характеристики содержания влаги в материалах применяются две величины: влагосодержание и влажность. Ранее эти величины назывались соответственно абсолютной и относительной влажностью.
Под влагосодержанием и понимается отношение массы влаги М, содержащейся в теле, к массе абсолютно сухого тела M>0>:
U=M/M>0 >(1)
Под влажностью W -понимается отношение массы влаги M, содержащейся в теле, к массе влажного материала М>1>.
W=M/(M+M>0>) (2)
Иногда эти величины выражают через веса и в процентах. В таком случае выражения (1) и (2) принимают вид:
U%=((P-P>0>)/P>0>)*100%
W%=((P-P>0>)/P)*100%
где Р—вес влажного тела;
Р>0>—вес абсолютно сухого тела.
Для указания содержания влаги в материале может быть применена любая из этих величин. Переход от одной величины к другой может быть осуществлен по соотношениям:
W=U/(1+U) (3)
U=W/(1-W) (4)
Так, например, и=1 соответствует W=0,5. На рис. показана зависимость между U и W, построенная по соотношениям (1-4).
В определенных отраслях промышленности для указания содержания влаги в материале применяются влагосодержание U или влажность W в зависимости от установившихся традиций. Большей частью в теоретических исследованиях и расчетах содержание влаги задается влагосодержанием и; в производственных условиях в экспериментах для той же цели чаще применяют влажность W.
При измерениях влажности необходимо учитывать формы ее связи с материалом, а также особенности гигротермического равновесия материала с окружающей воздушной средой.
Естественные и промышленные влагосодержащие материалы относятся к коллоидным, капиллярно-пористым или капиллярно-пористым коллоидным телам. К коллоидным телам принадлежат эластичные гели, студни, желатины, мучное тесто и т. д. Примером капиллярно-пористых тел являются кварцевый песок, слабо обожженные керамические материалы и т. д. Большинство влажных материалов являются коллоидными, капиллярно-пористыми телами. Коллоидные тела характеризуются малыми размерами капилляров, близкими к радиусу действия молекулярных сил, и могут рассматриваться в общем случае также как капиллярно-пористые тела. Способность материалов поглощать и отдавать влагу определяется, с одной стороны, свойствам и твердого «скелета» материала, а с другой - формой связи с ним влаги. На первую группу свойств наибольшее влияние оказывают размеры капилляров. Различает три группы капиллярно-пористых тел: микрокапиллярные, макрокапиллярные и гетеропорозные. У первых радиус капилляров меньше 10-5 см, у вторых - больше этой величины, у третьих - капилляры имеют разные размеры. На перенос влаги внутри капиллярно-пористых тел влияют также форма капилляров, их расположение и соединение, а также механические свойства материалов.
Наиболее полная классификация форм связи влаги с материалом дана П. А. Ребиндером, исходя из интенсивности форм связи. В зависимости от энергии, необходимой для удаления влаги из тела, связи делятся на химические, физико-химические и физико-механические. К первой группе относятся наиболее сильные связи: ионная и молекулярная. При этих формах связи вода как таковая исчезает и ее молекулы входят в состав нового вещества (гидратная вода). Химически связанная влага резко отличается по своим свойствам от свободной; ее нельзя удалить сушкой или отжатием.
К физико-химическим связям относятся адсорбционная и осмотическая связи. Первая характерна для гидрофильных и гидрофобных тел; удаление влаги происходит испарением, десорбцией у гидрофильных тел или дезадсорбцией - у гидрофобных. Осмотическая связь имеет место у растительных клеток с концентрированным раствором, в которые вода проникает из окружающей среды, с менее концентрированным раствором.
При наиболее слабой связи - физико-механической - вода удерживается в неопределенных соотношениях. Связь может иметь структурный характер, например, в студне образующих веществах. В микрокапиллярах связь образуется поглощением воды из влажного воздуха или непосредственным соприкосновением материала с водой, в макрокапиллярах—поглощением воды прямым соприкосновением. В обоих случаях вода механически удерживается адсорбционными силами у стенок. Основная масса воды, кроме связанной адсорбционно, сохраняет свои свойства. Условием нарушения связи является действие давления, превосходящего капиллярное. Наконец, связь смешиванием образуется в непористых смачиваемых телах прилипанием воды при ее соприкосновении с поверхностью тела. Удаление влаги, как и при структурной связи, производится испарением.
Разграничение влаги по форме ее связи с сухим материалом представляет сложную задачу, хотя для этого был предложен ряд методов, основанных на использовании изменения физических (в том числе и электрических) характеристик.
5.2 Описание и выбор метода измерения влажности
Методы измерения-влажности принято делить на прямые и косвенные. В прямых методах производится непосредственное разделение влажного материала на сухое вещество и влагу. В косвенных методах измеряется другая величина, функционально связанная с влажностью материала. Косвенные методы требуют предварительной калибровки с целью установления зависимости между влажностью материала и измеряемой величиной.
5.2.1 Метод высушивания
Наиболее распространенным прямым методом является метод высушивания, заключающийся в воздушно-тепловой сушке образца материала до достижения равновесия с окружающей средой; это равновесие условно считается равноценным полному удалению влаги. На практике применяется высушивание до постоянного веса; чаще применяют так называемые ускоренные методы сушки
В первом случае сушку заканчивают, если два последовательных взвешивания исследуемого, образца дают одинаковые или весьма близкие результаты. Так как скорость сушки постепенно уменьшается, предполагается, что при этом удаляется почти вся влага, содержащаяся в образце. Длительность определения этим методом составляет обычно от нескольких часов до суток и более. В ускоренных методах сушка ведется в течение определенного, значительно более короткого промежутка времени, при повышенной температуре (например, стандартный метод определения влажности зерна сушкой размолотой навески при +130°С в течение 40 мин). В последние годы для ускоренной сушки ряда материалов стали применять инфракрасные лучи, а в отдельных случаях—диэлектрический нагрев (токи высокой частоты). Определению влажности твердых материалов высушиванием присущи следующие методические погрешности:
а) При высушивании органических материалов наряду с потерей гигроскопической влаги происходит потеря летучих; одновременно при сушке в воздухе имеет, место поглощение кислорода вследствие окисления вещества.
б) Прекращение сушки соответствует не полному удалению влаги, а равновесию между давлением водяных паров в материале и давлением водяных паров в воздухе.
в) Удаление связанной влаги в коллоидных материалах невозможно без разрушения коллоидной частицы и не достигается при высушивании.
г) В некоторых веществах в результате сушки образуется водонепроницаемая корка, препятствующая удалению влаги.
Некоторые из указанных погрешностей можно уменьшить сушкой в вакууме при пониженной температуре или в потоке инертного газа. Однако для вакуумной сушки требуется более громоздкая и сложная аппаратура, чем для воздушно-тепловой.
При наиболее распространенной сушке (в сушильных шкафах) имеются погрешности, зависящие от применяемой аппаратуры и техники высушивания. Так, например, результаты определения влажности зависят от длительности сушки, от температуры и атмосферного давления, при которых протекала сушка. Температура имеет особенно большое значение при использовании ускоренных методов, когда понижение температуры сильно влияет на количество удаленной влаги. На результаты высушивания влияют также форма и размеры бюкс и сушильного шкафа, распределение температуры в сушильном шкафу, скорость движения воздуха в нем, возможность уноса пыли или мелких частиц образца и т. д. Для материалов, подвергающихся перед определением влажности измельчению, большое значение имеет убыль влаги в образце в процессе измельчения. Эта убыль особенно велика, если при размоле имеет место нагрев образца. С другой стороны, возможно поглощение влаги из окружающей среды в промежутках
времени между окончанием сушки и взвешиванием образца.
В итоге высушивание представляет собой чисто эмпирический метод, которым определяется не истинная величина влажности, а некая условная величина, более или менее близкая к ней. Определения влажности, выполненные в неодинаковых условиях, дают плохо сопоставимые результаты. Более точные результаты дает вакуумная сушка, выполняемая обычно в камере при пониженном давлении (25 мм рт. ст. и ниже) до постоянного веса.
5.2.2 Дистилляционный метод
В дистилляционных методах исследуемый образец подогревается в сосуде с определенным количеством жидкости, не смешивающейся с водой (бензол, толуол, ксилол, минеральное масло и т. д.), до температуры кипения этой жидкости. Пары, проходя через холодильник, конденсируются в измерительном сосуде, в котором измеряется объем, или вес воды. Дистилляционные методы в различных модификациях и с использованием разных конструкций аппаратуры были разработаны для различных материалов, в том числе и для жидких. Однако дистилляционным методам также свойственны многие недостатки. Капли воды, остающиеся на стенках холодильника и трубок, вызывают погрешности в определениях. Применяемые растворители, как правило, огнеопасны, а аппаратура хрупка и громоздка.
Методы высушивания и дистилляционные приняты в качестве стандартных методов определения влажности большинства материалов.
5.2.3 Экстракционные методы
Экстракционные методы основаны на (извлечении влаги из исследуемого образца твердого материала водопоглощающей жидкостью (диоксан, спирт) и определении характеристик жидкого экстракта, зависящих от его влагосодержания: удельного веса, показателя преломления, температуры кипения или замерзания и т.п. В электрических экстракционных методах измеряются электрические свойства (удельное сопротивление, диэлектрическая проницаемость) экстракта. Экстракционные методы дают наилучшие результаты в применении к материалам, мелко измельченным или обладающим пористой структурой, обеспечивающей проникновение экстрагирующей жидкости в. капилляры.
5.2.4 Химический метод
Основой химических (методов является обработка образца твердого материала реагентом, вступающим в химическую реакцию только с влагой, содержащейся в образце. Количество воды в образце определяется по количеству жидкого или газообразного продукта реакции. Наиболее распространенными химическими методами являются карбидный (газометрический) метод и применена реактива Фишера.
В первом методе измельченный образец влажного материала тщательно смешивают с карбидом кальция в избыточном количестве, причем имеет место реакция:
СаС>2> + 2Н>2>0 =Са(ОН)>2> -\-С>2>Н>2>
Количество выделенного ацетиленового газа определяют измерением его объема или по повышению давление в плотно закрытом сосуде. Обычно прибор градуируют эмпирически, так как практически не вся вода участвует в реакции и количество выделенного ацетилена не соответствует уравнению реакции.
Менее распространен химический метод определению влажности по повышению температуры вследствие химической реакции реагента с влагой вещества; чаще всего в качестве реагента используется серная кислота. Повышение температуры смеси карбида кальция с материалом можно использовать также в карбидном методе, так как реакция воды с СаС>3> протекает с выделением тепла.
Иногда необходимо раздельное определение «поверхностной» и «внутренней» влажности материала. Кроме способов, основанных на удалении поверхностной влаги силикагелем, фильтровальной бумагой и т. п., можно применить предложенный И. К. Петровым метод, по которому предварительно взвешенную навеску материала опускают в воду измеряют ареометром, отградуированным в граммах (для данного материала), силу, действующую на навеску, н по разности весов навески определяют вес поверхностной влаги.
5.2.5 Метод СВЧ-влагометрии
Из методов измерения влажности, применяемых в промышленности, только высокочастотная влагометрия может конкурировать по широте использования с СВЧ-методом. Преимуществами СВЧ-влагометрии являются: возможность бесконтактного измерения, относительная простота и дешевизна аппаратуры, а в ряде случаев и хорошие метрологические характеристики. Метод основан на измерении электрических параметров датчика с материалом или амплитуды или (и) фазы прошедшей или отраженной волны в диапазоне до 30 ГГц. Различие высокочастотных и СВЧ-методов вызвано как соизмеримостью длины волны с минимальными характеристическими размерами объекта, так и особенностью поведения связанной воды в гигагерцевом диапазоне.
Одно из уникальных свойств воды - аномально высокая диэлектрическая проницаемость, вызванная тем, что оси 0-Н в молекуле воды имеют угол, близкий к 105°. Эта особенность, обусловленная законами квантовой механики, приводит к тому, что даже в отсутствие внешнего электрического поля молекула воды обладает собственным дипольным моментом. Ориентация полярной молекулы во внешнем поле отлична от ориентации неполярной молекулы при электронной или ионной поляризации, когда деформируется только электронное облако. При дипольной поляризации молекула поворачивается как единое целое, поэтому на процесс поляризации влияют энергия связи воды со скелетом и температура. Вращение молекулы отстает от вращающего момента, вызванного переменным электромагнитным полем, за счет сил трения, уменьшающих также и амплитуду результирующей поляризации. Это отставание удобно характеризовать временем релаксации, которое для воды равно 0,6*10-11 с (Т = 293 К) и для льда 10"5 с (Т< 273 К) [2.3J. Полимеризация воды со скелетом вблизи поверхности твердой фазы приводит к увеличению времени релаксации до 10-9—10-7 с. При совпадении частоты внешнего поля с собственной частотой диполей (область дисперсии) возрастают потери и диэлектрическая проницаемость начинает зависеть от частоты.
5.2.6 Нейтронный метод
Нейтронный метод измерения влажности основан на замедлении быстрых нейтронов при упругом столкновении их с атомами вещества. Так как массы ядра и нейтрона соизмеримы, то при упругом столкновении происходит уменьшение энергии нейтрона, равное энергии отдачи ядра. При столкновении с легкими атомами, в частности с атомами водорода. потеря энергии может быть весьма значительной. Анизотропный поток быстрых нейтронов, сохраняющий при прохождении через вещество свое первоначальное направление, превращается в изотропный поток тепловых нейтронов, которые можно регистрировать детектором, расположенным в непосредственной близости от источника быстрых нейтронов или в точке, удаленной на некоторое фиксированное расстояние.
В реальных средах, содержащих не только легкие, но и средние (с зарядом Z > 35) ядра, быстрые нейтроны испытывают как упругие, так и неупругие столкновения, а затем, когда в результате столкновений нейтрон потеряет большую часть энергии, он начнет терять энергию только на упругих столкновениях. В среде с легкими атомами роль неупругих столкновений значительно слабее. Так, замедляющая способность воды вычислена с учетом кислорода. Несколько большая замедляющая способность у парафина. Высокую замедляющую способность углеводородов объясняет сильное влияние органических примесей на точность при измерении влажности почв нейтронным методом. Используя свойство разной замедленности нейтронов в материалах, создаются нейтронные влагомеры.
5.2.7 Инфракрасные влагомеры
Известно, что в молекуле существуют два основных вида колебаний — валентные и деформационные. Колебания, в условиях которых атомы остаются на осях валентной связи, а расстояния между атомами периодически изменяются, называют валентными. Под деформационными понимают колебания, в условиях которых атомы отходят от оси валентных связей. Поскольку энергия деформационных колебаний значительно меньше энергии валентных колебаний, то деформационные колебания наблюдаются при больших длинах волн.
Валентные и деформационные колебания создают основные, обладающие наибольшей интенсивностью полосы поглощения, а также обертонные полосы, имеющие частоты, кратные основной. Интенсивность обертонных полос поглощения меньше интенсивности основных.
Разграничение спектров по характеру поглощения совпадает с энергетическим делением инфракрасной (ИК) области излучений на ближнюю область, соответствующую области обертонов, и среднюю, соответствующую области основных колебаний.
Главной особенностью ИК-спектров является то, что поглощение излучения зависит не только от молекулы в целом, но и от отдельных групп присутствующих в этой молекуле атомов. Это положение является основополагающим для ИК спектрального анализа вещественного состава и определения количеств тех или иных групп атомов, присутствующих в исследуемом материале.
Получают и исследуют ИК-спектры с помощью специальных приборов — спектрометров или спектрофотометров, в которых излучение источника направляется на исследуемый образец через монохроматор, выделяющий из интегрального пучка излучений монохроматическое излучение той или иной длины волны.
Излучение, прошедшее через контролируемый материал, улавливается приемником, а сигнал, формируемый приемником, усиливается и обрабатывается электронным блоком. Обычно в видимой и ближней ИК-областях источниками излучения служат лампы накаливания, а приемниками — фоторезисторы, например PbS, GaS, InSb и т.п. В средней и дальней ИК-областях источниками излучений могут быть накапливаемые керамические стержни, а приемниками - термопары, болометры и т.п.
Количественный анализ содержания в контролируемом материале того или иного компонента достаточно прост, если имеется полоса поглощения данного компонента, не перекрывающаяся полосами поглощения других компонентов. Тогда глубина полосы хорошо коррелируют с концентрацией исследуемого компонента.
Прибор обычно регистрирует прозрачность характеризующую отношение потока, прошедшего через вещество, к потоку, падающему на вещество:
5.2.8 Кондуктометрические датчики
Капиллярно-пористые влажные материалы с точки зрения физики диэлектриков относятся к макроскопически неоднородным диэлектрикам. Их неоднородность обусловлена в первую очередь наличием вкраплений влаги в основной (сухой) материал. Кроме того, подавляющее большинство естественных и промышленных материалов неоднородно по своему химическому составу, содержит примеси, загрязнения и воздушные включения.
Для таких материалов характерно превалирующее влияние влажности на электрические свойства материала. Являясь в сухом виде изоляторами с удельным объемным сопротивлением Pv=1010—1015 ом-см и выше, в результате увлажнения они становятся проводниками: величина Py понижается до 10-2—10-3 ом-см. Удельное сопротивление изменяется, следовательно, в зависимости от влажности в чрезвычайно широком диапазоне, охватывающем 12—18 порядков. Неоднородность диэлектрика, наличие в нем влаги сказываются не только на величине удельной проводимости, но и на качественных особенностях электропроводности: на ее зависимости от температуры и напряженности электрического поля.
5.2.9 Выбор метода
Для моего технического задания наиболее полно подходит кондуктометрический метод измерения влажности.
Метод высушивания очень надежен, но имеет большую погрешность и достаточно ограниченную область применения. Конструкция сушильных шкафов достаточно сложна и дорогостояща.
Дистилляционный метод, как уже оговаривалось, имеет много недостатков, таких как: огнеопасное и хрупкое оборудование, большая погрешность.
Экстракционный метод слишком сложн в своей постановке. Используются расходные материалы.
Химический метод в отличие от других методов учитывает содержание связанной воды в материале, достаточно прост, но использует расходные материалы.
СВЧ-технология измерения влажности надежна, позволяет бесконтактно измерять влажность материала, но по сравнению с кондуктометрическим методом более сложен в исполнении.
Нейтронный метод измерения влажности имеет очень маленькую погрешность (0,3-1%), удобен для измерения влажности почвы, бетона. Но слишком большой объем навески (слой 10-20см или сфера D=15-40см), влияние на показания органических примесей, фоновая радиоактивность, делает его не применимым к текущему техническому заданию.
Инфракрасный влагомер сложен. Требует дополнительное дорогостоящее оборудование (спектрометр, монохроматор).
В отличие от всех выше перечисленных методов кондуктометрические датчики являются очень чувствительными (изменение удельного сопротивления на 10-12 порядков), конструктивно легко выполнимы, не требуют дополнительно дорогостоящих приборов в большей степени отвечает моему техническому заданию, а главное дополнительному условию: измерение влажности сыпучих материалов.
Выбор и описание датчика
Основным требованием, предъявляемым к датчикам электрических влагомеров, является требование воспроизводимости факторов, влияющих на результаты измерения. В связи с этим в некоторых датчиках предусматриваются дополнительные устройства, предназначенные для создания одинаковых условий подготовки или введения образца материала в междуэлектродное пространство. Кроме того, к конструкции датчиков предъявляются и другие требования, как-то: небольшой вес (особенно в переносных влагомерах), высокое сопротивление изоляции, которое должно быть в несколько раз выше максимального сопротивления материала между электродами. Последнее требование влечет за собой необходимость тщательной очистки и наблюдения за состоянием изоляции в процессе эксплуатации, особенно при возможности загрязнения или увлажнения изоляции исследуемым материалом.
Для кондуктометрических влагомеров было разработано много конструкций датчиков; ниже рассматриваются наиболее характерные датчики, нашедшие практическое применение.
По принципу действия датчики для сыпучих материалов их можно разделить на две группы:
датчики без уплотнения сыпучего материала
датчики с принудительным уплотнением материала в междуэлектродном пространстве.
Основным недостатком датчиков первой группы является различная степень уплотнения материала между электродами, сильно влияющая па электрические характеристики материала. Скорость и высота падения материала при его введении в датчик, случайные сотрясения и удары по датчику меняют уплотнение. Для получения воспроизводимых условий измерения необходимы специальные приспособления и соблюдение определенной методики введения образца, обеспечивающие постоянство высоты и скорости падения материала в таких датчиках. Даже при соблюдении этих условий электрическое сопротивление материала при низкой влажности (до 12—13%) весьма велико, что несколько усложняет измерение. Еще важнее то обстоятельство, что при измерении сопротивления зернистых и кусковых материалов результат измерения зависит от состояния поверхности отдельных зерен или кусков (например, от ее шероховатости, запыленности). Также сильно влияет на результаты гранулометрический состав материала. В этих датчиках трудно получить постоянное сопротивление контакта материала с электродами.
По указанным причинам в настоящее время датчики без уплотнения применяются только в автоматических влагомерах, где постоянство уплотнения материала обеспечено самим измеряемым объектом и где полностью используются преимущества рассматриваемого типа датчиков — простота конструкции и удобство установки на потоке сыпучих материалов.
В датчиках неавтоматических кондуктометрических влагомеров чаще всего применяют принудительное уплотнение образца сыпучего материала. При сжатии сыпучих материалов их проводимость увеличивается вначале достаточно резко; с повышением давления рост проводимости замедляется и, начиная с некоторой величины давления, изменения давления почти не влияют на величину сопротивления. Для уменьшения влияния колебаний степени уплотнения на результаты измерении нередко приходится применять достаточно высокие давления. В этом заключается основной недостаток датчиков с уплотнением: большие усилия деформируют образец и в ряде случаев (например, при измерении влажности зерна) частично его разрушают. Вместо материала в естественном его состоянии объектом измерения становится искусственно спрессованный брикет из этого материала. Электрическое сопротивление такого брикета зависит и от механических свойств материала, таких, как твердость, стекловидность зерна и т. п. При прессовании образцов высокой влажности возможен частичный отжим влаги с ее выделением на электродах. Кроме того, большие усилия приводят к повышенному износу датчика. Деформация или разрушение образца материала при измерении влажности исключают возможность повторного измерения, что также является эксплуатационным недостатком.
Влагомер ВП-4
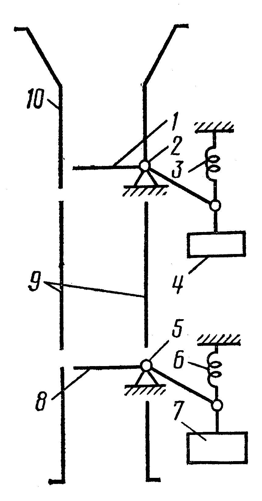
Г. Б. Пузрин предложил в конце 30-х годов конструкцию зерна, в котором постоянная навеска зерна подвергается сжатию в постоянном объеме с помощью ручного пресса. Эта конструкция была применена, во влагомере ВП-4 Г. Б. Пузрина для зерна, нашедшем в последующем значительное распространение в хлебозаготовительной системе На рис.1 приложения … показана конструкция электродного устройства влагомера ВЭ-2, представляющего собой модификацию прибора ВП-4, разработанную в последние годы. Навеска зерна 1 (для пшеницы, ржи, ячменя — 8 г, для овса — 7 г) насыпается в металлический стакан 2. Одним из электродов служит кольцо 3. изолированное от стакана с помощью прокладок 4. Второй, центральный, электрод 5 соединен с корпусом датчика.
Конструкция электродов рассчитана на уменьшение влияния сопротивления торцовых частей брикета зерна. Пуансон 6 служит для уплотнения образца; давление на пуансон создает ручной винтовой пресс, снабженный визирным устройством, указывающим предел вращения зажимного винта при каждом прессовании образца. Это устройство должно обеспечить постоянство давления на образец при определениях влажности. Стакан 2 заключен в футляр 7 из диэлектрика, который по замыслу авторов конструкции при выполнении измерения предохраняет датчик от нагревания руками лаборанта. У описанного датчика необходимо часто (по инструкции к прибору ВЭ-2 перед каждой сменой) проверять правильность установки визирного устройства. Проверка выполняется с помощью контрольного цилиндра, вставляемого в датчик; в случае необходимости положение визирного устройства корректируется.
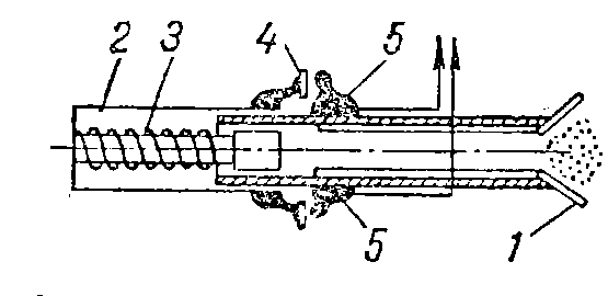
Влагомер для порошкообразных материалов
Датчик влагомера английской фирмы Маркони (Приложение … рис.1) Для измельченных порошкообразных материалов состоит из двух основных частей: ручного винтового пресса 1 и электродного устройства 2. Пресс имеет металлическую скобу с накладкой 8 для поддержания датчика рукой, а также опору 4 для установки на столе. Винт через пружину, смонтированную внутри стакана 5, воздействует на толкатель 6, уплотняющий посредством пуансона 7 образец материала внутри полого цилиндра 8. Электродное устройство имеет два металлических концентрических электрода: 9 и 10, электрод 9 имеет форму кольца, 10—чашечки с круговым углублением. Рабочие поверхности электродов расположены в одной плоскости; электроды смонтированы в корпусе, снабженном гнездом 11 для подключения к измерительной цепи. В этом датчике в кольцевом круговом зазоре между электродами, разделенными твердым диэлектриком, измеряется сопротивление спрессованной "лепешки" из исследуемого материала Взвешивания навески для определения влажности не требуется. Образец испытывается при определенном давлении (около 0,7 кГ/см2), создаваемом при вращении рычага пружина имеет предварительное натяжение.
Датчик влажности для формовочной смеси
Ограничение силы сжатия материала калиброванной пружиной применено в датчике для формовочной смеси литейного производства (Приложение … рис1). Датчик-щуп имеет электроды в виде наклонных латунных пластинок 1, погружаемых в формовочную смесь. По мере погружения электродов смесь уплотняется и ее механическое сопротивление возрастает. Давление на рукоятку 2 передается электродам пружиной 3 через шток. При определенном усилии, соответствующем давлению электродов на грунт, равному 0,5 кГ/см2, кольцо 4 замыкает выключатель 5 и вводит электроды в измерительную цепь.
Датчик влажности для зерна
Датчик, применяемый в распространенном в США влагомере для зерна типа TAG—Heppenstall, уплотняет сыпучий материал в узком зазоре между двумя вращающимися металлическими валками с рифленой цилиндрической поверхностью. Общин вид датчика показан в Приложении … рис2. Однофазный электродвигатель мощностью 0,25 л. с. вращает через редуктор (электродвигатель и редуктор не показаны на рисунке) валик 1 со скоростью 32 об/мин; валик 1 электрически соединен со станиной датчика. Второй валик 2 изолирован от корпуса стойками 3 из электроизоляционного материала. Валик 2 снабжен пружинящим трущимся контактом и ручкой 4 для поворачивания вручную с целью облегчения попадания зерна в зазор или выхода из него. Сцепление между валиками осуществляется через слой материала; последний поступает в зазор между валиками из засыпного бункера 5, изготовленного из пластмассы. Валики 1 и 2 выполют роль электродов; сопротивление слоя сыпучего материала измеряется во время вращения валиков. Величины зазора между валиками регулируются с помощью сменных прокладок 6 в зависимости от того, какая зерновая культура исследуется. Предельные величины зазора равны 0,6мм для льняного семени и 3 мм для кукурузы. Под валиками установлены два скребка 7 из пластмассы; скребки прижимаются пружиной 8 к поверхности валиков и очищают ее при вращении электродов. Весь датчик смонтирован на станине 9 из чугунного литья, имеющей два винта 10 для закрепления на столе.
Датчик с валками отличается громоздкостью и большим весом и неприменим для мелко измельченных материалов, таких, как мука. В то же время при применении этого датчика результаты измерения не зависят от величины навески; можно использовать большие навески (100— 150 г и больше), значительно лучше отражающие среднюю влажность материала, чем малые навески, используемые в датчике с ручным прессом. Здесь, так же как и в других датчиках с прессованием материала, на результаты измерения влияет износ электродов, происходящий вследствие больших усилий при прессовании. В датчике с валками вследствие износа изменяются острота нарезки валиков.
Автоматическая влагоизмерительная установка дискретного действия АДВ
Автоматическая влагоконтрольная установка дискретного действия АДВ предназначена для определения влажности зерна с целью соответствующего его размещения по хранилищам.
При диапазоне влажности пшеницы 10...50% шкала прибора разделена на три части, характеризующие состояние зерна: «Сухое», «Влажное» и «Сырое». Установка работает в стационарных условиях при температуре окружающего воздуха —5...+35°С и относительной влажности до 80%, питание от сети переменного тока напряжением 220 В.
В состав блок-схемы входит первичный преобразователь, который периодически заполняется пробами зерна, отбираемого из автомашин с помощью пневмопробоотборщика. Преобразователем управляет командный прибор.
Показания потенциометра дублируют показания измерительного прибора. Питание измерительной схемы установки от системы питания со стабилизированным напряжением.
Имеющееся в составе автоматического потенциометра позиционное регулирующее устройство управляет работой печатающего механизма, с помощью которого на приемных документах фиксируется категория влажности зерна.
В
лияние
температуры зерна на электрическую
емкость конденсатора-преобразователя
автоматически устраняется
с помощью находящегося внутри
него термокомпенсатора.
Проба зерна, вынутая из автомашины пневматическим пробоотборником, в определенном объеме попадает в приемный бункер 10, выполненный из изоляционного материала, и удерживается в нем заслонкой /, которая устанавливается в горизонтальное положение с помощью электромагнита 8.
По сигналу, полученному с командного прибора, отключается напряжение питания электромагнита 5, а заслонка 1 под действием пружины 4 и силы тяжести зерна мгновенно поворачивается вокруг своей оси- 2 и устанавливается вдоль стенки бункера 10. Проба зерна при этом попадает в измерительную ячейку кондуктометрического- преобразователя, находящегося между электродами 9. В ячейке зерно удерживается заслонкой 8, которую поднимает и удерживает в горизонтальном положении электромагнит 6.
По истечении определенного времени, необходимого для измерения и работы печатающего механизма, с электромагнита 6 снимается напряжение питания, заслонка 8 под действием пружины 7 и силы тяжести зерна поворачивается вокруг своей оси 5 и преобразователь освобождается от зерна. Через не которое время по команде прибора на электромагниты 3 и 6 поступает напряжение питания и они поднимают заслонки 1 и 8. После этого преобразователь готов к приему новой порции зерна.
П
риложение
…
Рис1 Датчик влажности для зерна с прессованием образца.
П
риложение
…
Рис.1 Датчик влажности для порошкообразных материалов.
Приложение …
Рис.1 Датчик влажности с вращающимися валками.
Приложение А
Р

ис1.
Зависимость влажности Fsat
от температуры.
Рис2. Семейство характеристик абсолютной и относительной влажности при различных температурах.
П
риложение
Б
Рис1 Конструкция датчика влажности на основе LiCl:
1-Платиновый резистор.
2-Стеклоткань c LiCl.
3-Электродная спираль.
Р
ис2
Зависимость температуры переходного
состояния tu
от точки росы
для датчика влажности
на основе LiCl.
П
риложение
В
Р
ис1
Принципиальное устройство диэлектрического
датчика влажности.
Рис2 Зависимость емкости датчика Cs от относительной влажности Fret.
П
риложение
…
Рис1 Датчик влажности для зерна с прессованием образца.
П
риложение
…
Рис.1 Датчик влажности для формовочной смеси.
П
риложение
Е
Рис1 Датчик влажности для формовочной смеси.
Рис2 Датчик влажности с вращающимися валками.
П
риложение
…
Рис.1 Датчик влажности для порошкообразных материалов.
Название, типдатчика |
Назначение |
Диапазон измерения % |
Погрешность измерения % |
Температура материала C |
Масса, кг |
АВ зерна АВЗК-1Влагомер зерна (полевой) типа ВЗПК-1 Переносной влагомер ВЗМ-1 Экспресс-влагомер типа ВСЛК-1 ВлагомерВСМК-1М Влагомер ВП-4 Влагомер для порошкообразных материалов Колос-1 Влагомер для формовочной смеси |
Измерение и запись влажности зерна Экспрессное опр. влажности зерна без размола Опр. влажности зеленой массы (силоса) Экспресс определение влажности конопли Экспресс-определение влажности льна, подсолнечника, сои Измерение влажности ржи, ячменя Измерение влажности измельченных материалов Влажность потока зерна Экспресс-определение влажности бетона, цемента и т.д. |
10…30 10…45(пшеница) 15…35(ячмень) 10…90 10..50 5…40 5…30 10…60 10…40 15…80 |
При влажности до 17% -1, выше -1,5 – 4 1,5 При влажности 5-17%-1, при 17-25-1,5,выше-3 При влажности 5-15%-1, выше1,5 При влажности 10-20%-1,20-35%-1.5, свыше35%-4 10-20%-1,свыше-1,5 15-25%-1 25-40%-2 40-60%-4,60-80%-7 |
– – 5…50 – – – – – 10-100 |
– – 12 – – – – – 2 |
Таблица 1. Влагомеры.