Навигационные комплексы Гланасс и Новстар
Содержание
Введение 3
1. Обзор существующих методов решения задачи синхронизации шкал времени разнесённых пунктов 7
1.1. КРАТКИЕ СВЕДЕНИЯ О СПУТНИКОВЫХ НАВИГАЦИОННЫХ СИСТЕМАХ 7
1.2. ВОЗМОЖНОСТЬ РЕШЕНИЯ ЗАДАЧИ СОГЛАСОВАНИЯ ШКАЛ ВРЕМЕНИ ПО СИГНАЛАМ СИСТЕМ «ГЛОНАСС» И «НАВСТАР» 8
1.3. МЕТОДЫ СИНХРОНИЗАЦИИ ШВ УДАЛЕННЫХ ПУНКТОВ 9
1.3.1. Краткая характеристика хранителей времени 9
1.3.2. Способы синхронизации удалённых пунктов 13
1.4. МЕТОДЫ СВЕРКИ ВРЕМЕННЫХ ШКАЛ ПРИМЕНЯЕМЫЕ В ССРНС ДЛЯ СИНХРОНИЗАЦИИ БХВ ИСЗ С НХВ. 15
1.5. МЕТОДЫ КОРРЕКЦИИ ВРЕМЕННЫХ ШКАЛ НА ПРИМЕРЕ НИСЗ. 17
1.5.1. Необходимость коррекции 17
1.5.2. Коррекция методом фазирования 17
1.5.3. Коррекция кода БШВ 18
1.6. ОЦЕНКА ТОЧНОСТИ СВЕРКИ ШВ УДАЛЕННЫХ ПУНКТОВ ПО ВЫБОРКЕ ОДНОВРЕМЕННЫХ ПСЕВДОДАЛЬНОМЕРНЫХ ИЗМЕРЕНИЙ. 18
1.7. ПОТЕНЦИАЛЬНАЯ ТОЧНОСТЬ СВЕРКИ ШВ ПУНКТА С ИЗВЕСТНЫМИ КООРДИНАТАМИ ПО ДАННЫМ ПСЕВДОДАЛЬНОМЕРНЫХ И РАДИАЛЬНЫХ ПСЕВДОСКОРОСТНЫХ ИЗМЕРЕНИЙ 24
1.8. СИНХРОНИЗАЦИЯ ВРЕМЕННЫХ ШКАЛ СЕТИ НИСЗ НА ОСНОВЕ ВЗАИМНЫХ ВРЕМЕННЫХ ИЗМЕРЕНИЙ 26
1.9. СПОСОБЫ УЧЁТА В НАВИГАЦИОННОМ СЕАНСЕ СМЕЩЕНИЙ ВРЕМЕННЫХ ШКАЛ НИСЗ 28
1.10. СТРУКТУРНАЯ СХЕМА ТИПОВОЙ АП ССРНС 31
1.10.1. Состав АП потребителя 31
1.10.2. Задачи решаемые блоками АП 32
2. Выбор и обоснование принятого варианта устройства коррекции шкал времени удалённых пунктов 36
2.1. Выбор и обоснование метода сверки и коррекции шкал времени 36
2.2. Выбор и обоснование аппаратуры приёма шкалы времени 37
2.2.1Одноканальная АП 37
2.2.2Многоканальная АП 40
2.3.Выбор и обоснование структурной схемы аппаратуры сверки и коррекции ШВ 41
2.4. Выбор и обоснование функциональной схемы устройства сверки и коррекции ШВ 42
2.4.1. Выбор микропроцессора 43
2.4.2. Выбор ОЗУ 44
2.4.3. Выбор ПЗУ 45
2.4.5. Выбор устройства ввода-вывода 46
2.5. Алгоритм работы устройства СКШВ 46
2.6. Синтез принципиальной схемы устройства СКШВ 47
3. Электрический расчёт 49
3.1. Краткие сведения о вторичных источниках питания 49
3.2. Расчёт силовой части импульсного преобразователя 50
3.2.1. Принцип действия преобразователя 51
3.2.2. Расчёт преобразователя 52
4. Конструктивный расчёт 57
4.1. Конструкция печатной платы 57
4.2. Конструкции блоков микроэлектронной аппаратуры 59
5. Технико-экономическое обоснование дипломного проекта 61
5.1. Методы экономического обоснования дипломного проекта. 61
5.2. Характеристика проекта. 62
5.3. Определение смётной стоимости и отпускной цены на НИОКР. 62
5.4. Построение сетевого графика 65
6. Охрана труда и экологическая безопасность 70
6.1. ТРЕБОВАНИЯ К ПЕРСОНАЛУ ПРИ ОБСЛУЖИВАНИИ И РЕГЛАМЕНТНЫХ РАБОТАХ НА ОБОРУДОВАНИИ НАХОДЯЩИМСЯ ПОД ВЫСОКИМ НАПРЯЖЕНИЕМ. 70
6.2. ОХРАНА ТРУДА В ПОМЕЩЕНИЯХ С ТЕХНИЧЕСКИМ МИКРОКЛИМАТОМ. 72
6.2.1. Общая характеристика технологического микроклимата в помещении и его влияние на организм работающих. 72
6.2.2. Нормативные санитарно–гигиенические параметры среды, средства и методы их обеспечения при организации технологического микроклимата 74
Заключение 78
Литература 80
Приложение 83
Введение
Развитие радионавигационных средств на протяжении всей истории их существования неизменно стимулировалось расширением области применения и усложнением задач, возлагавшихся на них, и прежде всего ростом требований к их дальности действия и точности. Если в первые десятилетия радионавигационные системы обслуживали морские корабли и самолеты, то затем состав их потребителей значительно расширился, и в настоящее время охватывает все категории подвижных объектов, принадлежащих различным ведомствам. Если для первых РИС - амплитудных радиомаяков и радиопеленгаторов - была достаточна дальность действия в несколько сотен километров, то затем постепенно требования к дальности возросли до 1...2.5 тыс. км (для внутриконтинентальной навигации), до 8...10 тыс. км (для межконтинентальной навигации) и, наконец, превратились в требования глобального навигационного обеспечения. Что касается точности, то поначалу устраивала точность в несколько километров, затем оказалось возможным реализовать точности в сотни метров и, наконец, с появлением технических возможностей для создания сетевых СРНС удалось удовлетворить требованиям на уровне десятка метров. Но требования продолжают ужесточаться, возникает необходимость в дециметровых и сантиметровых точностях, которые можно обеспечить, совершенствуя сетевые СРНС и применяя в них дифференциальный режим работы.
К настоящему времени в арсенале радионавигационной техники скопилось немало систем, отличающихся между собой дальностью действия и точностью, что предопределяет различие их в принципах действия. Средства ближней навигации (РСБН) в диапазоне УКВ используют импульсные дальномеры и фазовые или частотные угломерные устройства на примерах системы «ВОР», «ДМЕ», «РСБН». Из средств дальней радионавигации (РСДН) можно отметить длинноволновые «Чайку» и «Лоран-С», работающие в импульсно-фазовом режиме, и сверхдлинноволновые «Омегу» и «РСДН-20» с фазовыми измерениями. Находят также применение амплитудные многолепестковые радиомаяки типа «ВРМ-5» и «Консоль». Низкоорбитные спутниковые РНС "Цикада» и «Транзит», основанные на доплеровских (частотных) измерениях, широко обеспечивают кораблевождение. Наконец, находятся в стадии интенсивного развертывания среднеорбитные сетевые СРНС «Глонасс» и «Навстар», обладающие самыми высокими показателями: глобальностью, высокой точностью, непрерывным обслуживанием неограниченного числа потребителей.
Наиболее высоким уровнем эффективности использования различных РИС представляется создание единого радионавигационного поля, когда излучения всех источников навигационных сигналов синхронизированы. При этом информация, выделяемая при обработке сигналов любой из излучающих радиостанций, способна в соответствующей степени повысить точность и надежность навигационно-временных определений. Синхронизация излучения всех радионавигационных средств с помощью сигналов системы единого времени (СЕВ) будет способна объединить частные радионавигационные поля в Единое радионавигационное поле, что позволит более гибко предоставлять навигационно-временное обеспечение различным потребителям в необходимых районах.
Важно подчеркнуть, что основу Единого поля составит глобальное поле сетевых СРНС. Эти системы 2-го поколения являются сетевыми системами непрерывного действия, обеспечивающими глобальное высокоточное определение полного вектора состояния П. Сеть НИСЗ развертывается из 18-24 спутников, координировано обращающихся по круговым орбитам высотой около 20000 км (период обращения 12 ч), лежащим в 3-6 пересекающихся плоскостях с наклонением 55...65 так, что на каждой из орбит равномерно размещается 3-8 НИСЗ. Спутники на таких орбитах имеют достаточно обширную зону видимости и позволяют уверенно выполнять по ним радиально–скоростные измерения. Это позволило реализовать важную техническую идею – координацию пространственного расположения НИСЗ на орбитах и координацию по времени излучаемых спутниками сигналов. Именно координация движения всех НИСЗ придает системе сетевые свойства, которых она лишена при отсутствии коррекции положения НИСЗ.
В СНГ СРНС 2–го поколения получила наименование “Глонасс” (Глобальная навигационная спутниковая система), в США “Навстар” (Navstar–Navigational Satellite Time and Randin – навигационный спутник измерения времени и координат) или по ее фактическому назначению GPS (Global Position Sistem – глобальная система местоопределения). Основные свойства обеих СРНС определяются выбором системы НИСЗ (баллистическим построением), высокой стабильностью бортовых эталонов частоты, выбором сигнала и способов его обработки, а так же действенными способами устранения и компенсации ряда погрешностей.
ГЛОНАСС – глобальная навигационная спутниковая система, предназначенная для определения положения, скорости и точного времени для кораблей, самолетов, наземных объектов и других типов пользователей. Система “Глонасс состоит из трех подсистем: подсистемы космических аппаратов, подсистемы контроля и управления, оборудование пользователей.
Орбитальная группировка ИСЗ состоит из 24 спутников, по восемь в каждой из трех орбитальных плоскостях. Орбитальные плоскости размещаются через каждые 120 градусов по возрастанию абсолютного угла долготы.
Определение пространственных координат и составляющих скорости основывается на дальномерных и доплеровских измерениях. Спутниковые РИС характеризуются высокими требованиями к формированию системной шкалы времени и ее поддержанию (хранению) в течение всего срока существования системы. Необходимость в высокой стабильности временной шкалы возрастает по мере повышения требований к точности навигационных определений, в особенности при использовании пассивного дальномерного метода. Параметры системы и ее отдельных звеньев, а также математическое обеспечение (МО) выбираются так, чтобы точность навигационных определений оценивалась значениями по координатам до 10 м, по скорости до 0,05 м/с.
Глобальное поле сетевых СРНС при успешном развитии международного сотрудничества будет образовано полями обеих систем «Глонасс» и «Навстар», т.к. близость этих систем как по баллистическому построению орбитальной группировки КЛА, так и по радиосигналам, излучаемым КЛА, позволяет создать АП, работающую по сигналам обеих систем. При этом в качестве рабочих созвездий будут одновременно использованы КА, принадлежащие обеим системам.
В бортовой аппаратуре навигационно-временного обеспечения подвижных объектов, создаваемой в виде комплексов соответствующих средства основным радионавигационным каналом явится канал сетевых СРНС, позволяющий определять полный вектор состояния подвижного объекта - три его координаты, три составляющие вектора скорости, поправки к бортовой ШВ и к частоте местного эталонного генератора. Поскольку потребителями ССРНС будут не только подвижные объекты, но и стационарные, нуждающиеся в высокоточном определении их координат и поправок к местной ШВ, речь может идти не только о навигационно-временном обеспечении, но и о более широкой задаче - координатно-временном обеспечении. Применительно к такой постановке вопроса можно также утверждать, что основу координатно-временного обеспечения составит именно применение сетевых спутниковых РИС.
Можно утверждать, что основой навигационно-временного обеспечения потребителей всех видов (исследовательских, народнохозяйственных, оборонных) на ближайшие десятилетия явятся именно сетевые спутниковые системы «Глонасс» и «Навстар».
Целью дипломного проекта является разработка устройства при помощи которого можно осуществлять синхронизацию шкал времени (ШВ) удалённых пунктов. В качестве эталона времени принимается ШВ системы «ГЛОНАСС». При помощи этого устройства можно осуществлять привязку к другим системам точного времени (СЕВ, UTC). Этого можно достигнуть, учитывая известные расхождения между ШВ «ГЛОНАСС» и ШВ других систем. Ещё более повысить точность временного обеспечения можно путём использования сигналов американской спутниковой навигационной системы GPS (NAVSTAR), однако в данном проекте такая задача не ставится.
1. Обзор существующих методов решения задачи синхронизации шкал времени разнесённых пунктов
1.1. КРАТКИЕ СВЕДЕНИЯ О СПУТНИКОВЫХ НАВИГАЦИОННЫХ СИСТЕМАХ
Спутниковой радионавигационной системой (СРНС) принято называть такую РНС, в которой роль опорных радионавигационных точек (РНТ) выполняют ИСЗ, несущие навигационную аппаратуру. Навигационные ИСЗ (НИСЗ) являются аналогом неподвижных РНТ, представляющих собой опорные пункты наземных РНС. Перенос РНТ из наземных точек с фиксированными географическими координатами в точки, совершающие орбитальное движение, привел к существенным изменениям в построении этих РНС. Если наземные РНС содержат в качестве основных своих звеньев только аппаратуру РНТ и потребителей (П), то СРНС включают в себя ряд дополнительных звеньев. Упрощенная структурная схема СРНС включает космодром, систему НИСЗ, аппаратуру П, командно-измерительный комплекс (КИК) и центр управления (ЦУ).
Космодром обеспечивает вывод НИСЗ на требуемые орбиты при первоначальном развертывании СРНС, а также периодическое восполнение числа НИСЗ по мере выработки каждым из них ресурса. Главными объектами космодрома являются техническая позиция и стартовый комплекс. Техническая позиция обеспечивает прием, хранение и сборку ракетоносителей и НИСЗ, их испытания, заправку НИСЗ и их состыковку. В число задач стартового комплекса входят: доставка носителя с НИСЗ на стартовую площадку, установка на пусковую систему, предполетные испытания, заправка носителя, наведение и пуск. Приданные космодрому командно-измерительные средства по телеметрическому и траекторному каналам контролируют работу бортовых систем и траекторию полета на участке вывода на орбиту.
Система НИСЗ представляет собой совокупность источников навигационных сигналов, передающих одновременно значительный объем служебной информации. На НИСЗ, как на КА, размещается разнообразная аппаратура: средства пространственной стабилизации, аппаратура траекторных измерений, телеметрическая система, аппаратура командного и программного управления, системы энергопитания и терморегулирования. С навигационными блоками взаимодействуют бортовой эталон времени и бортовая ЭВМ.
Аппаратура потребителей предназначается для приема сигналов от НИСЗ, измерения навигационных параметров и обработки измерений. Для решения навигационных задач в аппаратуре П предусматривается специализированная ЭВМ.
Командно-измерительный комплекс (именуемый также подсистемой контроля и управления) служит для снабжения НИСЗ служебной информацией, необходимой для проведения навигационных сеансов, а также для контроля за НИСЗ и для управления ими как космическими аппаратами. Для этого с помощью наземных средств КИК выполняется телеметрический контроль за состоянием спутниковых систем и управление их работой, осуществляется определение параметров Движения НИСЗ и управление их движением, проводится сверка и согласование бортовой и наземной шкал времени, а также ведется снабжение П так называемой эфемеридной информацией, т. е. сведениями о текущих координатах сети НИСЗ, информацией о состоянии их бортовых шкал времени, а также рядом поправок.
Координирует функционирование всех элементов СРНС центр управления, который связан информационными и управляющими радиолиниями с космодромом и КИК.
1.2. ВОЗМОЖНОСТЬ РЕШЕНИЯ ЗАДАЧИ СОГЛАСОВАНИЯ ШКАЛ ВРЕМЕНИ ПО СИГНАЛАМ СИСТЕМ «ГЛОНАСС» И «НАВСТАР»
В ССРНС «Глонасс» и «Навстар» в качестве хранителей ШВ используются соответствующие высокостабильные НХВ и в каждой из систем наземный комплекс управления (НКУ) осуществляет синхронизацию шкал БХВ НИСЗ и НХВ.
Система «Навстар» предназначена не только для навигационных определений, но и для временных. При этом под временным определением понимается оценка поправки к шкале времени потребителя относительно некой универсальной шкалы. В качестве последней в системе «Навстар» принята шкала Морской обсерватории США - UТС>USNO>. Дополнительно НКУ решает задачу синхронизации шкалы НХВ системы «Навстар» и шкалы UТС>USNO>. Как будет отмечено далее, модель ухода НИСЗ в системе «Навстар» с достаточной степенью точности на интервале времени до 1ч описывается полиномом 2-й степени, коэффициенты полинома a>0>, а>1>, а>2> определяемые средствами НКУ, передаются в кадре сигнала в составе служебной информации и позволяют обеспечить синхронизацию ШВ сети НИСЗ системы. Кроме того, для обеспечения временных определений в составе служебной информации (СИ) передаются два коэффициента А>0>, А>1>, позволяющие потребителям определять время в шкале UТС>USNO>.
Аналогичный способ синхронизации ШВ БХВ используется и в системе «Глонасс». Отличие заключается в следующем: уход ШВ БХВ на интервале времени 0,5 ч описывается полиномом первой степени (коэффициенты a>0>, а>1>), в качестве универсальной ШВ используется шкала СЕВ, поправка к системной ШВ относительно шкалы СЕВ передается в виде коэффициента А>0>.
Формирование ШВ в системах «Глонасс» и «Навстар» схематично показано на рис. 1.

Рисунок 1 Схемы формирования шкал системного времени ССРНС "Глонасс" и "Навстар"
Принятая идеология синхронизации ШВ БХВ в системах «Глонасс» и «Навстар» позволяет достаточно просто обеспечить взаимную синхронизацию ШВ НИСЗ этих систем. Простейший вариант решения этой задачи заключается в следующем. К НХВ системы «Глонасс» подключается навигационно-временная аппаратура системы «Навстар» (или универсальная аппаратура), по сигналам НИСЗ системы «Навстар» решается временная задача и определяется расхождение системных ШВ. Расхождение в виде соответствующих коэффициентов закладывается на борт НИСЗ и передается в составе СИ. Аналогичный способ можно использовать и в НХВ системы «Навстар», где временная задача будет решаться аппаратурой «Глонасс» по сигналам её НИСЗ. Более высокую точность сведения ШВ систем можно обеспечить при синхронизации НХВ в дифференциальном режиме.
1.3. МЕТОДЫ СИНХРОНИЗАЦИИ ШВ УДАЛЕННЫХ ПУНКТОВ
1.3.1. Краткая характеристика хранителей времени
Наиболее высоким уровнем эффективности использования различных РИС представляется создание единого радионавигационного поля, когда излучения всех источников навигационных сигналов синхронизированы. При этом информация, выделяемая при обработке сигналов любой из излучающих радиостанций, способна в соответствующей степени повысить точность и надежность навигационно-временных определений.
Задачу синхронизации ШВ сети стационарных и подвижных пунктов можно решить различными методами. Однако в последнее время в связи с созданием глобальных сетевых спутниковых РИС «Глонасс» и «Навстар» вновь привлечено внимание к способу синхронизации с использованием НИСЗ , что связано с ожидаемой высокой точностью при глобальной зоне обслуживания.
Для обоснования использования СРНС для этих целей приведем общую характеристику хранителей временных шкал в этих системах.
Спутниковые РИС характеризуются высокими требованиями к формированию системной шкалы времени и ее поддержанию (хранению) в течение всего срока существования системы. Необходимость в высокой стабильности временной шкалы возрастает по мере повышения требований к точности навигационных определений, в особенности при использовании пассивного дальномерного метода.
Системная шкала времени задается наземным хранителем времени (НХВ). Носителями системного времени на борту НИСЗ являются бортовые хранители времени (БХВ). При этом в системе непосредственно используются бортовые шкалы НИСЗ, поскольку именно их состояние определяет точность измерений РНП, а шкала наземного хранителя выступает как эталонная. Приведение в соответствие шкал БХВ НИСЗ со шкалой НХВ, т. е. синхронизация временных шкал, осуществляется путем проведения операций сверки и коррекции времени с использованием радиоканалов НИСЗ - Земля и Земля - НИСЗ.
Времязадающим элементом в ССРНС является НХВ, который создает шкалу времени (и необходимую сетку синхрочастот) путем деления частоты высокостабильного опорного генератора.
В качестве опорного генератора используются цезиевые или водородные атомные стандарты. Одной из основных характеристик стандартов частоты является относительная нестабильность частоты на некотором определенном интервале времени
f/f>0>=(f>1 >-f>0>)/f>0>> >, (1.1)
где: f>1> и f>о> - соответственно действительное и номинальное значения частоты.
Для современных атомных стандартов суточная относительная нестабильность частоты (1...5)x10-14 и выше. Конечно, для поддержания столь высокой стабильности необходимо создание сложного аппаратурного комплекса, обеспечивающего функционирование сердцевины НХВ - атомного стандарта - в условиях постоянной температуры, минимального влияния внешних и внутренних электромагнитных полей, исключения вибраций и т. д.
В БХВ, как и в НХВ, временная шкала формируется высокостабильным опорным генератором. В БХВ используются кварцевые или атомные стандарты частоты. Космические кварцевые стандарты имеют относительную нестабильность (1...5)x10-10, а атомные до 1 x 10-11...1 x 10-12. Возможности дальнейшего улучшения стабильности кварцевых генераторов практически исчерпаны, а значения нестабильности частот атомных стандартов могут быть доведены до 1 x 10-13 и единиц 10-14.
Предположим, что бортовые шкалы времени НИСЗ приведены в строгое соответствие со шкалой НХВ. Далее, с течением времени начнется неизбежное расхождение этих шкал и прежде всего за счет ухода частоты БХВ, поскольку именно они эксплуатируются в наиболее сложных условиях. Наряду с этим при создании космических БХВ сталкиваются с рядом ограничений (весовых, габаритных и энергетических), что не позволяет реализовать инженерно-технические решения, направленные на повышение стабильности.
Стабильность частоты опорного генератора БХВ зависит от многих факторов. Для кварцевых стандартов, например, это - геометрические размеры кварцевой линзы, конструкция держателя кристалла, совершенство электронной схемы, стабильность поддержания теплового режима, параметры окружающего магнитного и электрического полей и т. д. Обычно принимаются меры конструктивного, схемного и технологического характера к тому, чтобы устранить или существенно ослабить влияние дестабилизирующих факторов. Так, в БХВ применяют систему термостатирования, обеспечивающую поддержание рабочей температуры с точностью до сотых долей градуса. Для защиты от воздействия внутренних и внешних электромагнитных полон используется система экранов, ослабляющих их до единиц и долей эрстеда.
При правильном учете особенностей функционирования БХВ в составе аппаратуры НИСЗ можно добиться некоторого ослабления воздействия дестабилизирующих факторов. Для прецизионной аппаратуры, к которой можно отнести и БХВ, требуется создание более благоприятных условий, например поддержание теплового режима в окрестности установки в пределах t>p>± 10С, где t>p> - оптимальная температура для работы БХВ. Соответственно налагается ограничение и на градиент температурного поля в месте установки БХВ при изменении внешнего и внутреннего тепловых потоков, действующих на НИСЗ.
Подбором взаимного расположения блоков аппаратуры, а при необходимости и установкой дополнительных экранов ослабляется воздействие наводимых в корпусе НИСЗ электромагнитных полей. При высокой насыщенности радиоэлектронной аппаратурой обеспечение указанных условий работоспособности БХВ на борту НИСЗ является нелегкой задачей.
Необходимо отметить, что на уход бортовой шкалы времени немалое влияние оказывают и индивидуальные особенности того или иного образца БХВ. Это – точность установки номинала частоты опорного генератора, точность воспроизводимости частоты от включения к включению, шумовые характеристики электронной схемы БХВ и др.
Основные характеристики некоторых типов спутниковых бортовых стандартов частоты приведены в табл. 1.
Таким образом важной стороной использования СРНС может является передача сигналов единого времени. Без особых трудностей шкала системы может быть синхронизирована со шкалой системы единого времени (СЕВ). Расхождения шкал, выявляемые в процессе синхронизации, фиксируются как поправка к системному времени. Эта поправка в виде, соответствующего кода вносится в состав кадра навигационного сигнала. Потребители в процессе навигационного сеанса определяют системное время, а учитывая указанную поправку, и время в шкале СЕВ.
Как видно из изложенного ССРНС 2-го поколения могут эффективно решать задачи временной синхронизации удаленных пунктов. Выполняться это может различными способами.
|
Характеристика |
Кварцевый стандарт частоты |
Атомные стандарты частоты |
||
|
Рубидиевый |
Цезиевый |
Водородный |
||
|
Масса, кг |
1,35 |
2,25 |
13,5 |
33,7 |
|
Потребление, Вт |
2,0 |
13,0 |
25,0 |
30,0 |
|
Объём, дм3 |
1,13 |
1,13 |
11,3 |
28 |
|
Относительная нестабильность частоты (за сутки) |
5 x 10-10...1 x 10-10 |
1 x 10-12 |
1 x 10-13 |
1 x 10-14 |
|
Температурный коэффициент частоты (1/С) |
2 x 10-11 |
– |
– |
– |
|
Факторы ограничивающие срок службы |
Старение кварца |
Ухудшение характеристик лампы |
Уровень шумов в атомно-лучевой трубке |
Запас водорода |
Таблица 1. Основные характеристики некоторых бортовых стандартов частоты НИСЗ.
Например в каждом из пунктов синхронизируемой сети ШВ формируются местными преобразователями фазы и частоты высокостабильных генераторов, обеспечивающих прецизионное хранение начала и масштабов интервалов времени. Для поддержания высокой точности синхронизации ШВ различных пунктов необходимы периодическая сверка и взаимное сведение этих шкал. Чем ниже стабильность хранения и точность сверки ШВ, тем чаще должно осуществляться их сведение для обеспечения заданной точности синхронизации.
При использовании сигналов нескольких синхронизированных НИСЗ сверка сети пунктов производится обработкой результатов измерений времен прихода сигналов на эти пункты. Наиболее характерные алгоритмы обработки измерений базируются на использовании метода наименьших квадратов или рекуррентного фильтра Калмана. В зависимости от способа дальнейшего использования найденного временного рассогласования, определяемого функциональным назначением данного синхронизируемого пункта, возможны различные варианты сведения ШВ сети пунктов по сигналам СРНС.
1.3.2. Способы синхронизации удалённых пунктов
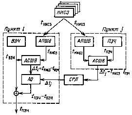
Наиболее простой способ синхронизации заключается в независимой работе пунктов по НИСЗ ССРНС (рис. 2). При этом каждый из синхронизируемых пунктов (i-й, j -й) независимо сверяет свою ШВ (t>ЭЧ>)с ШВ сети НИСЗ определяет поправку (t =t> НИСЗ >– t> >>ЭЧ>) и корректирует свою ШВ на размер этой поправки. Как видно из рис.1, после проведения сеансов сверки в i-м и j -м пунктах ШВ каждого из пунктов оказываются привязанными к шкале времени t >НИСЗ>. Типичным примером подобного способа синхронизации сети пунктов является использование для этого аппаратуры потребителей ССРНС.

Рисунок 2Структурная схема синхронизации ШВ сети спутников по сигналам ССРНС.

Рисунок 3 Структурная схема сверки ШВ первичного и вторичного ЭЧ
Нередко возникает
необходимость привязать ШВ некоторого
i-го
пункта не к ШВ НИСЗ, а к ШВ некоторого
другого j-го
пункта.
В качестве
примера можно привести сверку вторичного
эталона
частоты
(ВЭЧ) и первичного эталона частоты (ПЭЧ).
В этом
случае
сведение ШВ с помощью НИСЗ может быть
осуществлено
в соответствии
со структурной схемой, изображенной на
рис. 2.
Каждый из
пунктов определяет рассогласование
своей ШВ относительно ШВ системы НИСЗ.
Затем j-й
пункт, где расположен
ПЭЧ, передает
информацию о рассогласовании
(t>
j> =t>
НИСЗ >– t>
>>ПЭЧ>>
>)
на i-й
пункт, где расположен ВЭЧ. На этом
последнем пункте в
аппаратуре
обработки сравниваются размеры
рассогласования
(t>
НИСЗ >– t>
>>ПЭЧ>
) и
(t>
НИСЗ >– t>
>>ВЭЧ>
) и
расхождение ШВ ПЭЧ и ВЭЧ определяется
как их разность. При необходимости ШВ
ВЭЧ корректируется. Для передачи
информации о рассогласовании (t>
j> =t>
НИСЗ >– t>
>>ПЭЧ>>
>)
на пункт, где
расположен ВЭЧ, допустимо использовать
любую связную радиолинию, которая может
быть узкополосной, поскольку данная
информация медленно изменяется и легко
преобразуется в цифровую форму. Если
информация о ШВ ПЭЧ необходима широкому
кругу потребителей, то она может быть
передана им через НИСЗ.
1.4. МЕТОДЫ СВЕРКИ ВРЕМЕННЫХ ШКАЛ ПРИМЕНЯЕМЫЕ В ССРНС ДЛЯ СИНХРОНИЗАЦИИ БХВ ИСЗ С НХВ.
Сверка времени в СРНС проводится для выявления ухода шкалы времени относительно эталонной шкалы НХВ. По размеру ухода можно судить о функционировании хранителя времени (ХВ) и о необходимости коррекции шкалы.
В общем случае, ведя прием радионавигационного сигнала на пункте сверки, определяют значение времени в бортовой шкале на момент излучения сигнала НИСЗ. К моменту приема сигнала значение времени в бортовой шкале t>>> ШВ> изменится и будет определяться выражением
t>>> >>ШВ>>=> t>ИЗМ> + tр + tрэ + tпр, (1.2)
где:
tр - время распространения сигнала на трассе НИСЗ -Земля;
tрэ - «отставание» бортового времени, вызванное релятивистскими эффектами,
tпр - прочие аппаратурные и методические погрешности.
Время распространения сигнала tр определяется расстоянием между НИСЗ и пунктом сверки и скоростью распространения радиоволн. При этом необходимо учитывать, что в фазу радионавигационного сигнала, являющуюся носителем информации о бортовом времени, вносятся дополнительные фазовые сдвиги за счет рефракционных явлений в ионосфере и тропосфере.
Существенный вклад в погрешность определения времени распространения могут вносить задержки сигнала в наземной и бортовой аппаратуре радиоканала. Поэтому наземная аппаратура периодически калибруется и задержка учитывается при сверке шкал.
Релятивистские эффекты порождают различное течение времени на НИСЗ и на наземном пункте. Это вызвано, с одной стороны, относительным движением систем отсчета и, с другой, изменением течения времени под влиянием гравитационного потенциала. Знание с высокой точностью параметров взаимного движения НИСЗ и наземного пункта на моменты сверки позволяют рассчитать величину t>p>>э>> >с точностью до единиц наносекунд.
В зависимости от процедуры определения времени распространения сигнала от НИСЗ до наземного пункта различают пассивный и активный методы сверки времени.
При пассивном методе сверки времени на наземном пункте принимают радионавигационный сигнал и фиксируют значение времени бортовой шкалы. На основе данных траекторных измерений вычисляют дальность до НИСЗ и определяют время распространения сигнала. При этом учитывают параметры, характеризующие состояние ионосферы и тропосферы на трассе НИСЗ - Земля. Для проведения высокоточной сверки необходимо рассчитывать дальность до НИСЗ с погрешностью до 1 м, что требует использования измерительных систем высокой точности. С другой стороны, для учета рефракционных погрешностей необходимо иметь надежную модель распространения радиоволн.
После проведения серии измерений, используя известные методы статистической обработки информации, определяют значения расхождения бортовой и наземной шкал времени. Метод сверки временных шкал, подобный описанному, используется в СРНС «Глонасс» и «Навстар».
При активном методе сверки для определения времени распространения привлекаются измерительные каналы Земля - НИСЗ и НИСЗ - Земля. Время между посылкой запросного и приемом ретранслированного навигационным искусственным спутником Земли сигнала составляет удвоенное значение времени распространения t>p>.
Рефракционные и прочие погрешности учитываются расчетным путем так же, как и при пассивном методе, с помощью поправок.
Выбор метода сверки временных шкал зависит от требуемой точности сверки, знания модели распространения радиоволн с целью расчета рефракционных поправок, точности расчета положения НИСЗ на моменты сверки и т. д.
Ясно, что активный метод более прост в методическом обеспечении и прочих равных условиях позволяет реализовать более высокие точности, но требует дополнительной аппаратуры как на наземном пункте, так и на борту НИСЗ.
Значение бортового времени, полученное одним из описанных методов, сравнивается с временем НХВ, в результате чего и определяется расхождение шкал и его знак. Поправка к бортовой шкале времени, формируемая в виде кода коррекции, поступает в пункт управления для передачи на НИСЗ. Полезной оказывается также оценка относительного ухода частоты БХВ.
По результатам сверки можно установить закономерность ухода шкалы времени БХВ и прогнозировать его на определенные интервалы времени. Параметры модели ухода БХВ (например, в виде коэффициентов аппроксимирующего полинома) включаются в состав информационного кадра навигационного сигнала и используются потребителем для повышения точности местоопределения.
При недостаточной инструментальной точности коррекции бортовой шкалы может рассчитываться значение дополнительной поправки к бортовой шкале, которая также вносится в кадр навигационного сигнала.
1.5. МЕТОДЫ КОРРЕКЦИИ ВРЕМЕННЫХ ШКАЛ НА ПРИМЕРЕ НИСЗ.
1.5.1. Необходимость коррекции
Необходимость в коррекции бортовых шкал времени НИСЗ возникает в нескольких случаях, при первоначальном включении БХВ после вывода НИСЗ на орбиту, при уходе шкалы БХВ относительно шкалы НХВ, превышающем допустимое значение, при переключении резервных блоков БХВ.
Коррекция может выражаться в совмещении временных интервалов бортовой и наземной шкал или в приведении в соответствие их оцифровки. В первом случае операция носит название фазирования БШВ, во втором - коррекции кода БШВ. При фазировании управляющие команды воздействуют на блок делителей БХВ, а при коррекции кода - на блок кодирования (оцифровки) меток времени.
1.5.2. Коррекция методом фазирования
Управление бортовой шкалой времени при фазировании осуществляется двумя способами: установкой в нулевое состояние блока делителей и сдвигом шкалы бортового времени на значение, необходимое для совмещения с наземной шкалой.
При установке БШВ в исходное состояние с наземного пункта управления подается команда, привязанная к «нулевой» меткевремени НХВ. При этом подача команды производится с упреждением на время распространения радиоволн от наземного пункта до НИСЗ. Шкала времени БХВ устанавливается в нулевое состояние независимо от того, какое значение времени было до фазирования. Обычно бортовая шкала переводится в нулевое состояние после вывода НИСЗ на орбиту, включения резервных блоков БХВ или грубых сбоев в отсчете бортового времени.
Точность такого способа фазирования определяется аппаратурными погрешностями, точностью расчета времени распространения радиоволн и флуктуационными задержками приемопередающего тракта Земля - НИСЗ.
При фазировании сдвигом шкалы бортового времени команда изменяет коэффициент деления в блоке делителей БХВ. Время воздействия команды зависит от величины необходимой коррекции, которая закладывается в код этой команды, и таким образом к бортовому времени прибавляется или из него вычитается некоторое значение, определенное по результатам сверки. Этот способ фазирования более точен, так как не зависит от параметров радиолинии и наземной аппаратуры.
Сочетание обоих способов фазирования позволяет оперативно и рационально управлять бортовой шкалой времени НИСЗ и добиваться точности совмещения временных интервалов со шкалой НХВ до десятков наносекунд.
1.5.3. Коррекция кода БШВ
Коррекция кода БШВ производится, когда имеет место расхождение в оцифровке временных интервалов бортовой и наземной шкал времени. Обычно расхождение в оцифровке может быть при начальном включении БХВ, сбоях счетчиков бортового времени и сдвиге шкалы на целое число единиц времени. Команда на коррекцию кода БШВ формируется на наземном пункте и содержит информацию об оцифровке соответствующих временных интервалов наземного хранителя. После приема на борту НИСЗ команда поступает на вход кодирующего устройства БХВ и в соответствии с заложенным кодом производится коррекция состояния счётчиков бортового времени.
1.6. ОЦЕНКА ТОЧНОСТИ СВЕРКИ ШВ УДАЛЕННЫХ ПУНКТОВ ПО ВЫБОРКЕ ОДНОВРЕМЕННЫХ ПСЕВДОДАЛЬНОМЕРНЫХ ИЗМЕРЕНИЙ.
Основными источниками погрешностей сверки ШВ по сигналам ССРНС являются:
погрешности знания векторов состояния НИСЗ, которые обусловлены погрешностями эфемеридного и частотно-временного обеспечения НИСЗ,
погрешности измерения времени прихода радионавигационных сигналов, которые складываются из погрешностей калибровки,
шумовых и динамических погрешностей измерителя РНП, погрешностей из-за условия распространения радиоволн и прочих составляющих,
погрешности знания векторов состояния синхронизируемых пунктов, которые в рассматриваемом случае определяются погрешностями задания координат пунктов.
При анализе точности сверки ШВ по сигналам ССРНС необходимо учитывать корреляцию погрешностей определения поправок к ШВ различных пунктов, вызванную воздействием одних и тех же возмущающих факторов. Для этого необходимо знать коэффициенты корреляции различных составляющих погрешности для каждого из пунктов и коэффициенты взаимной корреляции для различных пунктов. Точно знать эти коэффициенты практически невозможно, поэтому при оценке точности приходится задаваться теми или иными гипотезами относительно их значений. Целесообразно рассмотреть крайние случаи, когда коэффициенты корреляции погрешностей знания векторов состояния НИСЗ и погрешностей измерителя (кроме погрешностей калибровки) радионавигационных параметров равны либо нулю (независимые погрешности), либо единице (систематические погрешности). При этом учитывается, что коэффициент корреляции погрешностей калибровки для каждого измерителя равен единице, а коэффициент взаимной корреляции для различных измерителей нулю.
Поправка к ШВ j-го
пункта, координаты которого неизвестны,
определяется
по результатам
измерений задержек
принимаемых сигналов НИСЗ относительно
ШВ этого пункта решением линеаризованной
системы уравнении невязок квазидальностей
и
(с - скорость света) :
(1.3)
где: С>ji> - матрица наблюдений,
g>j> - вектор оцениваемых параметров (прямоугольные геоцентрические координаты пункта ипоправка к ШВ),
g>i> - вектор погрешностей состояния НИСЗ (погрешности временного и эфемеридного обеспечения в орбитальной системе координат),
А>j> - оператор преобразования из орбитальной в геоцентрическую систему координат,
>j> - погрешность калибровки приемоизмерительного тракта,
>ji> - погрешности измерителя РНП.
Включение координат j-го пункта в вектор оцениваемых параметров позволяет в общем случае решить навигационно-временную задачу, т.е. определить координаты и поправки к ШВ пункта.
Смещение шкалы g-го пункта, работающего по тому же созвездию НИСЗ, что и j-й пункт, определяется аналогично. Сдвиг шкалы j-го пункта относительно шкалы g-го пункта (t>jg>) вычисляется по формуле:
(1.4)
При оценке точности
взаимной синхронизации двух пунктов j
и g
будем счи-тать, что по измерениям
и
,
методом наименьших квадратов определяется
суммарный вектор
,
причём погрешности измерений РНП
распределены по гауссовскому закону.
Если весовая матрица есть

,
где
-дисперсия
погрешностей измерителя, I
- единичная матрица размером
[2n
x 2n], то можно
показать, что корреляционная матрица
погрешностей суммарного вектора примет
вид




(1.5)
где

- корреляционные
матрицы погрешностей априорного знания
векторов состояния пунктов и НИСЗ;
r - коэффициент корреляции погрешностей измерителя;
r>S> - коэффициент корреляции погрешностей априорного знания векторов состояния НИСЗ;
- дисперсия
погрешностей калибровки измерителя
РНП.
Если представить выражение в виде
(1.6)
ãäå N = (0001000 – 1), òî ñðåäíåêâàäðàòè÷åñêóю ïîãðåøíîñòü îïðåäåëåíèÿ ñäâèãà øêàëû âðåìåíè j-ãî ïóíêòà îòíîñèòåëüíî øêàëû g-ãî ïóíêòà ìîæíî âû÷èñëèòü ïî ôîðìóëå
(1.7)
Для анализа точностных характеристик целесообразно выразить через соответствующие геометрические факторы:
(1.8)
где:
– геометрические
факторы, характеризующие влияние
погрешностей измерителей, калибровки
и априорного знания векторов состояния
НИСЗ на точность определения сдвига ШВ
j-го
пункта относительно ШВ g-го
пункта;
>k>:>l>:>m>:>>> t> – отношение составляющих погрешностей эфемеридного (направленные по радиус-вектору k, вдоль орбиты I, по бинормали m, как показано на рис. 4) и временного обеспечения НИСЗ.
Можно показать, что
если ШВ
сверяются
по разным созвездиям и
погрешности
измерений на j-м
пункте не коррелированы с погрешностями
измерений g-го
пункта (независимая сверка), то
равна сумме
дисперсий
определения поправок на
каждом из
пунктов. Если же измерение на пунктах
производится одновременно и по одному
и тому же созвездию, то часть погрешностей
взаимно компенсируется подобно тому,
как это имеет место при работе по РНС в
дифференциальном режиме .
Диапазоны изменения геометрических факторов при относительной сверке ШВ двух пунктов, разнесенных примерно на 2600 км, по данным ССРНС «Навстар» представлены в табл. 2.

Рисунок 4 Геометрия сверки ШВ по одному НИСЗ
Таблица 2. Диапазоны изменения геометрических факторов
|
Геометрические |
Априорная информация |
|
|
факторы |
при известных координатах пунктов |
при неизвестных координатах пунктов |
|
Г>>>0> |
0,5...0,7 |
1,5...3,7 |
|
Г>>>1> |
0 |
0 |
|
Г>> |
2 |
2 |
|
Г>0> |
0,13...0,20 |
0,5...1,3 |
|
Г>1> |
0,11...0,33 |
0,4...1,3 |
Анализ приведенных в таблице результатов показывает, что значения геометрических факторов Г>>>0>, Г>0>, Г>1> при сверке ШВ пунктов с известными координатами в 3...5 раз меньше, чем при сверке ШВ пунктов с неизвестными координатами. Коэффициент корреляции погрешностей знания векторов состояния НИСЗ практически не сказывается на точности относительной сверки ШВ пунктов. Выигрыш в точности зависит от соотношения систематических и независимых составляющих погрешности временных определений.
Отличительной
особенностью сверки ШВ пунктов с
известными координатами является
возможность работы лишь по одному НИСЗ.
Выражение для
при этом существенно упрощается.
Если ось ОХ геоцентрической системы координат развернуть так, чтобы она проходила через НИСЗ, а ось ОУ совпадала с плоскостью орбит, то при n = 1 примет вид
(1.9)
где
cos , cos , cos - направляющие косинусы координатных углов с пункта на НИСЗ.
Вклад отдельных составляющих погрешностей эфемерид в погрешность сверки ШВ пунктов зависит от взаимного расположения НИСЗ и синхронизируемых пунктов. Если НИСЗ равноудален от пунктов (симметричное расположение пунктов), то погрешность эфемеридного обеспечения по высоте не влияет на точность сверки. Аналогично при симметричном расположении пунктов относительно плоскости орбиты компенсируется составляющая погрешности эфемерид вдоль орбиты, а при симметричном расположении пунктов по одну сторону от орбиты компенсируется бинормальная составляющая погрешностей эфемерид. Таким образом, за счет правильного (симметричного) выбора НИСЗ при относительном способе сверки ШВ можно компенсировать две составляющие эфемеридной погрешности, включая высотную.
1.7. ПОТЕНЦИАЛЬНАЯ ТОЧНОСТЬ СВЕРКИ ШВ ПУНКТА С ИЗВЕСТНЫМИ КООРДИНАТАМИ ПО ДАННЫМ ПСЕВДОДАЛЬНОМЕРНЫХ И РАДИАЛЬНЫХ ПСЕВДОСКОРОСТНЫХ ИЗМЕРЕНИЙ
Сверка ШВ по данным ССРНС сводится к оценке расхождений ШВ и частот хранителей времени пункта и НИСЗ по результатам псевдодальномерных и псевдодальномерно-псевдодоплеровских (радиальных псевдоскоростных) измерений. Временную задачу можно решать по выборке либо фиксированного, либо нарастающего объема измерений. Рассмотрим влияние лишь случайных погрешностей измерителя РНП на точность временных определений, характеризующих потенциальную точность сверки ШВ пункта с известными координатами.
Характер случайных погрешностей измерения РНП зависит от построения аппаратуры, и в частности от числа каналов измерителя. Если число каналов равно числу НИСЗ, используемых для решения временной задачи, и в каждом канале ведется непрерывное слежение за сигналами одного НИСЗ, то погрешности двух результатов соседних измерении значении доплеровскои частоты коррелированы с коэффициентом корреляции, равным -0,5. Однако если измерение РНП для компенсации влияния ионосферы производится на двух частотах путем периодического переключения каналов с несущей частоты f>1> на частоту f>2>, то даже в многоканальной аппаратуре погрешности доплеровских измерений становятся некоррелированными.
Для решения временной задачи по нескольким НИСЗ можно использовать и одноканальную аппаратуру; при этом радионавигационные сигналы различных КА обрабатываются последовательно во времени и погрешности доплеровских измерений оказываются также некоррелированными.
Так как дальномерные и доплеровские измерения независимые, то выражение для корреляционной матрицы погрешностей частотно-временных определений, обусловленной погрешностями дальномерно-доплеровских измерений, можно представить в виде:
(1.10)
где Сr Сr: - матрицы соответственно дальномерных и доплеровских наблюдений размерностью [n x 2],
Wr, Wr - корреляционные матрицы погрешностей дальномерных и доплеровских измерений размерностью [n x n].
Пусть для простоты оценка производится для середины интервала наблюдения, тогда для линейной модели ухода шкалывремени матрицы:
(1.11)

После подстановки получаем:

где:

при некоррелированных
доплеровских измерениях,
при коэффициенте кор-
реляции соседних допле-
ровских измерений - 0,5;
(1.12)
где:
>r>> >>,> >r> – среднеквадратические погрешности измерений дальности и скорости изменения дальности.
Полученные соотношения позволяют достаточно просто оценить точность определения частотно-временных поправок к ШВ пункта при обработке данных ССРНС. Наиболее высокая точность сверки ШВ пунктов достигается при совместной обработке дальномерных и доплеровских коррелированных измерений, выигрыш зависит от соотношения величин >r> t и >r> и интервала наблюдения. Для ССРНС «Навстар» при шаге измерений 1с для достижения точности сверки ШВ около 1 нc требуется продолжительность сеанса не менее 20с при работе по коду Р (шумовые погрешности >r> = 1 м, >r> =0,(05 м/с) и не менее 15 мин при работе по коду С/А (>r> = 10 м, (>r> = 0.1 м/с). Реальная же точность сверки ШВ может достичь 25...50 нс.
1.8. СИНХРОНИЗАЦИЯ ВРЕМЕННЫХ ШКАЛ СЕТИ НИСЗ НА ОСНОВЕ ВЗАИМНЫХ ВРЕМЕННЫХ ИЗМЕРЕНИЙ
Основным источником погрешностей навигационно-временных определений по данным ССРНС являются погрешности частотно-временного и эфемеридного обеспечения НИСЗ. В настоящее время в ССРНС «Глонасс» и «Навстар» требуемые точностные характеристики обеспечивает КИК, который на основании измерении, проводимых наземнои аппаратурой, решает задачу определения и прогнозирования на заданный интервал времени эфемерид НИСЗ и частотно-временных поправок к его БХВ. Полученные значения параметров закладываются на борт НИСЗ и передаются П в составе СИ.
Точность определения параметров НИСЗ таким неавтономным способом зависит от точностных характеристик наземных измерителей РНП, от точностных характеристик бортового и наземного ХВ и от степени соответствия моделей, используемых для прогнозирования движения НИСЗ и ухода шкалы БХВ, реальным процессам. Такой способ формирования эфемеридной и временной информации позволяет обеспечить высокие точностные характеристики системы за счет статистической обработки большого объема информации и использования сложных математических моделей и алгоритмов прогнозирования состояния НИСЗ, ориентированных на универсальные ЭВМ. Однако при данном способе решения задачи погрешность синхронизации БХВ НИСЗ является функцией времени и именно эта величина в первую очередь определяет время автономной работы системы, т. е. Интервал времени, в течение которого характеристики системы поддерживаются точными без помощи КИК.
Повышение точности частотно-временного и эфемеридного обеспечения НИСЗ и увеличение интервала автономного функционирования системы весьма актуальны. Один из возможных способов автономного решения этой задачи основывается на использовании текущей информации, полученной путем взаимных измерений НИСЗ-НИСЗ.
Суть метода заключается в следующем. Каждый НИСЗ в течение отведенного интервала времени излучает измерительный сигнал, который остальные НИСЗ созвездия (находящиеся в зоне радиовиди мости излучающего НИСЗ) используют для измерения квазидальности до них. Измеряемый каждым НИСЗ параметр включает разность показаний БХВ спутников и время распространения сигналов между ними. Каждый НИСЗ за достаточно короткий интервал времени, кроме передачи измерительного сигнала, осуществляет также прием результатов квазидальномерных измерений, проводимых другими НИСЗ. Полученные данные позволяют определить уходы ШВ НИСЗ относительно собственной шкалы.
Рассмотрим два НИСЗ, проводящие взаимные временные определения. Обозначим >ji> результат измерения квазидальности, полученный i-м НИСЗ по сигналу j-го спутника. Тогда в результате обмена информацией имеем:

где: r>ij> , r>ji> - расстояние между НИСЗ в момент измерения квазидальности соответственно i-м и j-м НИСЗ,
t>i>>j>- уход ШВ i-го НИСЗ относительно шкалы j-го спутника;
с - скорость света.
Если цикл взаимных
измерений достаточно короткий, то
и

Вычитая >ji> из >ij>, получаем:
(1.14)
Таким образом каждый НИСЗ после выполнения аналогичных операций определяет уход собственной шкалы относительно шкалы другого НИСЗ. Взаимные измерения могут проводиться либо всеми НИСЗ по одному «ведущему» спутнику, либо между всеми спутниками созвездия взаимно. В первом случае все НИСЗ определяют уход собственной шкалы относительно ШВ «ведущего» КА, и тогда эта ШВ может быть принята за системную, во втором - каждый НИСЗ определяет уход своей шкалы путем усреднения результатов, полученных по взаимным измерениям до всех остальных спутников созвездия, и на этой основе корректирует свою ШВ, так что разброс ШВ всех НИСЗ оказывается минимальным.
Полученную в результате взаимного обмена информацию можно использовать и для определения расстояний между спутниками
(1.15)
Найденные значения дальностей позволяют уточнить эфемериды НИСЗ. С помощью такого метода эфемеридно-временного обеспечения НИСЗ можно не только увеличить время автономной работы системы, но и повысить точностные характеристики системы.
При таком методе синхронизации временных шкал сети НИСЗ для организации взаимных измерений и обмена результатами измерений необходимо установить на борту НИСЗ соответствующие радиотехнические средства и дополнительно использовать не менее 1% вычислительных ресурсов бортовой ЭВМ. Основным недостатком данного метода является возможность ухудшения точности эфемеридно-временного обеспечения НИСЗ системы при нарушении функционирования одного из НИСЗ.
Сочетание неавтономного и автономного методов синхронизации ШВ позволит устранить недостатки, присущие каждому из них в отдельности.
1.9. СПОСОБЫ УЧЁТА В НАВИГАЦИОННОМ СЕАНСЕ СМЕЩЕНИЙ ВРЕМЕННЫХ ШКАЛ НИСЗ
В СРНС, управляемых с ограниченной территории, коррекция временных шкал путем непосредственного изменения (сведения) фаз генераторов НИСЗ может производиться лишь периодически.В интервалах времени между сведениями БХВ работают автономно, что приводит к снижению точности синхронизации из-за погрешностей сведения и хранения шкал. Погрешности хранения шкал времени определяются главным образом нестабильностью генератора БХВ и релятивистскими эффектами. Точность синхронизации можно повысить алгоритмическим способом путем учета систематических смещений шкал времени. При алгоритмической коррекции на время автономной работы БХВ задается модель ухода его шкалы, параметры модели определяются в пункте сверки и передаются потребителю вместе с эфемеридной информацией.
Нестабильность генератора вносит в измерения погрешности как случайного, так и систематического характера. Вид и размер возмущений определяются физическими принципами построения и конструктивными особенностями генератора. Так, возмущения частоты цезиевого стандарта представляют собой бодай шум; частоты кварцевых и рубидиевых стандартов кроме случайных возмущений имеют и систематические дрейфы. При разработке алгоритма ввода поправок систематические дрейфы могут аппроксимироваться, например, полиномиальными функциями времени; степень полинома определяется интервалом аппроксимации и требуемой точностью представления. Если модель ухода достаточно хорошо описывает реальные процессы, то после учета смещений временной шкалы НИСЗ путем ввода поправок остаточная погрешность синхронизации БХВ определяется двумя факторами: погрешностью знания параметров модели и случайными, непрогнозируемыми возмущениями. Так, математическая модель ухода шкалы БХВ, использующего цезиевый стандарт частоты, может быть представлена на интервале времени менее одних суток в виде
(1.16)
где:
;
;

t>r>(t), f>r>(t) - смещение шкалы времени и частоты БХВ;
N>0>> >/2 -спектральная плотность эквивалентного белого шума;
(t) - белый шум с единичной спектральной плотностью.
Поправка на смещение
цезиевого БХВ рассчитывается при этом
в соответствии с выражением
,
где
,.
Погрешность вычисления поправки
оценивается
по формуле
(1.17)
где:
>a0r>(t>0>), >a1r>(t>0>), r – корреляции погрешностей знания коэффициентов a>0r>, a>1>>r> на момент времени t>0>.
Слагаемое (N>0>/2)(t-t>0>) характеризует влияние случайных возмущений частоты генератора на погрешность синхронизации БХВ. Для других типов хранителей модель ухода шкалы времени может представляться полиномом более высокой степени, например второй.
Релятивистские эффекты приводят к дополнительному смещению шкалы БХВ за счет изменения гравитационного потенциала и переменной скорости полета НИСЗ. Смещение, обусловленное этими явлениями, определяется выражением.
(1.18)
где:
k = – 4,443 x 10–10 см–1/2;
е - эксцентриситет;
Е(t) - эксцентрическая аномалия;
а>э> - полуось орбиты.
Для упрощения алгоритма П временную поправку t>p>(t) можно представить, как и поправку на дрейф t>r>(t), в виде полинома. Это позволяет использовать обобщенную полиномиальную модель ухода шкалы времени, учитывающую как дрейф t>r>(t) БХВ, так и релятивистское смещение.
Для орбит с эксцентриситетом менее 0,3 уравнение аппроксимируется выражением
(1.19)
где: a>0p> = 6,869 x 10–8 sin E(t>0>), a>1p> = 1,002 x 10–10 cos E(t>0>),
a>2p> = – 7,307 x 10–16 sin E(t>0>).
Ограничившись полиномом 2-й степени, можно вычислить поправку t>p>(t) с погрешностью не более 1 нc на интервале времени 0,65 ч.
Рассмотренный способ учета смещения шкалы БХВ НИСЗ используется в сетевой СРНС «Навстар», где модель ухода шкалы времени НИСЗ описывается полиномом 2-й степени с помощью трех коэффициентов a>0>, а>1>, а>2> и времени t>0>, на которое вычислены коэффициенты.
Скорректированное
значение времени
t = tS –
t,
где
t
= a>0>
+ a>1>(t>S>
– t>0>)
+
a>2>(t>S>
– t>0>)2,
t>S>
-время, передаваемое НИСЗ.
Для (t – t>0>) 1ч такая аппроксимация обеспечивает коррекцию смещения шкалы времени из-за нестабильности БХВ и релятивистских эффектов с погрешностью не более 1 нc.
Параметры ухода шкалы БХВ передаются на спутник ежесуточно в виде 24 комплектов данных, каждый комплект используется для учёта смещений на интервале времени 1 ч.
1.10. СТРУКТУРНАЯ СХЕМА ТИПОВОЙ АП ССРНС
1.10.1. Состав АП потребителя
Аппаратура потребителей (АП) предназначена для определения пространственных координат и параметров движения объекта навигации по результатам измерений при использовании информации, содержащейся в кадре принимаемых от НИСЗ радиосигналов. При этом под параметрами движения понимаются три составляющие вектора скорости в частном случае составляющие вектора ускорения, а также производные от них параметры, нужные для управления движением объектов. С учетом специфики функционирования спутниковых радионавигационных систем к определяемым АП параметрам относят также поправки к шкалам времени и частоты местного собственного хранителя времени и опорного генератора.
Для решения своей основной задачи АП принимает излучаемые каждым НИСЗ радиосигналы, производит синхронизацию по всем компонентам модуляции радиосигналов, измеряет радионавигационные параметры этих радиосигналов, выделяет навигационное сообщение от каждого из НИСЗ и обрабатывает полученную информацию, преобразуя ее в оценки координат и параметров движения. Весь этот процесс называют навигационно-временным определением (НВО).
Для гражданской АП (морских, воздушных, наземных и космических) НВО предназначено для безопасного и наивыгоднейшего вождения объектов, а для военной АП - для обеспечения выполнения боевых задач.
Следует отметить, что высокая точность НВО, обеспечиваемая сетевыми СРНС, значительно расширила круг потенциальных потребителей спутниковых навигационных систем. Аппаратуру потребителей начинают широко использовать для точной топогеодезической привязки объектов, для синхронизации шкал времени (ШВ) хранителей времени, для сверки частоты опорных генераторов и эталонов частоты и для решения иных задач.
В состав обобщенной структурной схемы АП входит антенна, СВЧ усилитель и преобразователь радиосигналов, аналого-цифровой процессор первичной обработки принимаемых сигналов (с блоками поиска, слежения, навигационных измерений и выделения навигационных сообщений), навигационный процессор, интерфейс или блок обмена информацией, опорный генератор (ОГ) и синтезатор частот, источник питания, пульт управления и индикации, блок управления антенной. Штриховыми линиями выделены блоки, наличие (которых в составе АП не является безусловным, а определяется спецификой ее применения. Так как АП может быть полностью автоматизирована и не нуждается в пульте управления, то наличие пульта управления и индикации относится к тем случаям, когда потребителем выходной информации является непосредственно оператор, как, например, а ранцевом варианте АП. Блок управления антенной используется в тех комплектациях АП, в которых антенна для удовлетворения высоким требованиям помехоустойчивости обладает пространственной селекцией и требует управления. Этот блок позволяет управлять диаграммой направленности антенны, формируя, например, «провалы» диаграммы в направлении на источники помех.
1.10.2. Задачи решаемые блоками АП
Рассмотрим кратко основные задачи, решаемые функциональными блоками АП.
Антенна улавливает электромагнитные колебания, излучаемые НИСЗ, и направляет их на вход СВЧ усилителя и преобразователя. В зависимости от структуры ССРНС, частотного диапазона, назначения АП и вида потребителя, на котором она устанавливается, могут применяться антенны с различными диаграммами направленности - от слабонаправленной с неизменяемой (или изменяемой) конфигурацией направленности до узконаправленной с шириной лучей в единицы градусов и изменяемым в пространстве направлением. Если использование фазированных антенных решеток (ФАР) для слабонаправленных антенн с изменяемой конфигурацией диаграммы направленности в настоящее время до- ведено до опытных образцов в АП системы «Навстар», то применение ФАР для антенн с узкими управляемыми лучами встретило ряд технических трудностей, которые в настоящее время еще не преодолены.
Поскольку в ССРНС «Глонасс» и «Навстар» используются так называемые «энергетически скрытые» сигналы (т. е. сигналы с очень малым уровнем мощности излучения), радиочастотные усилители АП должны обладать очень высокой чувствительностью. Достаточно сказать, что шумовая температура современных входных радио усилителей АП диапазона 1,6 ГГц приближается к 300 К. Как правило, радиочастотный преобразователь АП имеет две-три ступени преобразования частоты с усилением до 120...140 дБ, причем в большинстве типов АП независимо от числа ее каналов первый преобразователь частоты всегда один. Число преобразователей второй и третьей ступени зависит от числа каналов АП и ее конкретного схемотехнического решения.
Аналого-цифровой процессор первичной обработки решает задачи: поиска фаз (т. е. задержек) манипулирующих псевдослучайных последовательностей (ДСП), слежения за задержкой ПСП; слежения за фазой и частотой несущих принимаемых радиосигналов; выделения навигационных сообщений. Число каналов поиска, слежения и выделения сообщений равно числу каналов АП.
Большие научно-технические достижения в области создания микропроцессоров, БИС памяти и сверхбольших интегральных микросхем на базовых матричных кристаллах позволяют в настоящее время решать эти задачи, широко используя цифровые методы обработки радиосигналов, в специализированных встраиваемых в АП цифровых процессорах.
К задачам, решаемым навигационным процессором, относятся: выбор рабочего созвездия НИСЗ из числа видимых, расчет данных целеуказания по частоте несущей и задержке манипулирующей ДСП; декодирование навигационных сообщений, в том числе альманаха и эфемеридной информации; сглаживание или фильтрация измеряемых навигационных параметров; решение навигационно- временной задачи с выдачей координат и параметров движения объекта; фильтрация координат; комплексирование с данными автономных навигационных систем объекта; организация обмена информацией как внутри АП, так и с другими системами объекта; контроль работоспособности блоков и АП в целом.
Следует отметить, что в зависимости от типа АП навигационный процессор, реализуемый на микропроцессорах и микро- ЭВМ, может быть построен как по однопроцессорной, так и по многопроцессорной структуре и выполнять также часть задач первичной обработки.
Кроме перечисленных задач, решение которых обеспечивает основную функцию АП, на навигационный процессор может быть возложено выполнение и ряда сервисных задач потреби- теля, таких как расчет отклонения от траектории заданного движения, выработка информации о прохождении поворотных пунктов маршрута (ППМ), решение прямой и обратной геодезических задач, преобразование координат из одной системы координат в другую.
Организацию последовательности вычислений и обмен информацией между функциональными блоками АП выполняют управляющие программы-диспетчеры, построенные с использованием иерархии сигналов прерываний, вырабатываемых в АП. При разработке этих программ, как и всего математического обеспечения в целом, учитываются требования к точности и надежности навигационно-временных определений, а также возможности используемых вычислительных средств.
Для выбора рабочего созвездия НИСЗ и расчёта априорных данных о навигационных параметрах, вводимых в устройства поиска и слежения, необходимо располагать текущими или априорными значениями параметров движения объекта, текущим временем и данными о параметрах движения НИСЗ. Последние представляют собой содержание альманаха. Данные альманаха извлекаются из репрограммируемой памяти навигационного процессора, где они хранятся после первоначального ввода вручную оператором с пульта управления и индикации. Другой путь ввода данных альманаха состоит в приеме альманаха первоначально от какого-либо первого НИСЗ, сигнал которого находится вслепую без целеуказаний. В этом случае на поиск сигнала первого НИСЗ и на прием альманаха могут потребоваться десятки минут. Имеющийся в АП альманах обновляется автоматически при приеме сигналов по достижении им определенного «возраста», порядка нескольких дней, но, как правило, не более одного месяца.
Априорные данные о координатах объекта и текущем времени вводятся либо оператором с пульта управления и индикации, либо автоматически от автономных средств навигации объекта. Причем применение в АП гостированных каналов цифрового обмена позволяет использовать данные практически от всей номенклатуры автономных средств, устанавливаемых в настоящее время на подвижных объектах, включая инерциальные навигационные системы, измерители скорости, датчики крена, барометрические высотомеры, системы воздушных сигналов, датчики пройденного пути, лаги и т. п.
Важными элементами АП являются опорный генератор и синтезатор частот, к которым предъявляются достаточно высокие требования стабильности частоты (10-7 долговременная и 10-10...10-11 кратковременная) и чистоты спектров синтезируемых сигналов.
2. Выбор и обоснование принятого варианта устройства коррекции шкал времени удалённых пунктов
2.1. Выбор и обоснование метода сверки и коррекции шкал времени
В предыдущей главе было описано несколько методов решения задачи сверки и коррекции шкал времени удалённых пунктов. Задачей данного дипломного проекта является создание устройства коррекции ШВ по сигналам СРНС “Глонасс” на основе выбранного метода.
Наиболее подходящим для решения поставленной задачи яляется способ синхронизации который заключается в независимой работе синхронизируемых пунктов по НИСЗ ССРНС. При этом каждый из синхронизируемых пунктов независимо сверяет свою ШВ С ШВ сети НИСЗ определяет поправку и корректирует свою ШВ на размер этой поправки. Очевидно что, после проведения сеансов сверки в пунктах ШВ каждого из них оказываются привязанными к шкале времени НИСЗ. Типичным примером подобного способа синхронизации сети пунктов является использование для этого аппаратуры потребителей ССРНС.
При необходимости сеть удалённых пунктов можно легко привязать к другим ШВ (СЕВ, UTC) т. к. расхождение между ними и системной шкалой времени «Глонасс» известны заранее и передаются в кадре навигационного сигнала.
По результатам сверки можно установить закономерность ухода шкалы времени БХВ и прогнозировать его на определенные интервалы времени.
Коррекция может выражаться в совмещении временных интервалов бортовой и наземной шкал. Такая операция носит название фазирования ЭЧ.
Управление наземной шкалой времени синхронизируемого пункта при фазировании осуществляется двумя способами: установкой в нулевое состояние блока делителей и сдвигом шкалы времени на значение, необходимое для совмещения с бортовой шкалой.
В первом случае шкала времени БХВ устанавливается в нулевое состояние независимо от того, какое значение времени было до фазирования. Обычно шкала переводится в нулевое состояние после включения резервных блоков ЭЧ или грубых сбоев в отсчете времени.
При фазировании сдвигом шкалы бортового времени команда изменяет коэффициент деления в блоке делителей ЭЧ.
Сочетание обоих способов фазирования позволяет оперативно и рационально управлять шкалой времени НП и добиваться высокой точности совмещения временных интервалов со шкалой НИСЗ.
Отличительной особенностью сверки ШВ пунктов с известными координатами является возможность работы лишь по одному НИСЗ. Однако в таком случае нужна другая АП работающая по одному спутнику. Но это приносит и свои негативные стороны (необходима специфическая аппаратура потребителей).
Поэтому кратко рассмотрим аппаратуру принятия ШВ с НИСЗ.
2.2. Выбор и обоснование аппаратуры приёма шкалы времени
2.2.1Одноканальная АП
Одноканальная АП используется на объектах с низкой динамикой, таких как танки, средства топопривязки, носители ранцев, самолеты гражданской авиации, морские суда, неподвижные объекты геодезии, картографии. Характерной особенностью одноканальной АП является последовательный по времени прием сигналов НИСЗ.
В зависимости от продолжительности времени приема сигналов от НИСЗ различают одноканальную АП последовательного приема, когда продолжительность приема сигналов каждого НИСЗ составляет 0,2...2 с, и мультиплексную АП, где продолжительность приема сигнала каждого НИСЗ не превышает единиц миллисекунд. В последнем случае продолжительность приема значительно меньше постоянной времени следящих измерителей АП, что позволяет организовать фактически непрерывное слежение за несколькими НИСЗ и одновременное измерение их радионавигационных параметров. Благодаря цифровой обработке сигналов и программной реализации следящих измерителей увеличение аппаратурных затрат в мультиплексной АП оказывается незначительным по сравнению с одноканальной АП последовательного приема. Следует отметить, что вследствие мультиплексирования средний энергетический потенциал радиолинии АП — НИСЗ снижается (при слежении за сигналами четырех НИСЗ минимум на 6 дБ), что приводит к снижению помехоустойчивости мультиплексной АП.
Анализ структурных схем одноканальной аппаратуры различных потребителей показывает почти полную их идентичность. Различие заключается в конструктивном исполнении, в применении элементной базы той или иной степени интеграции.
Аппаратура принимает сигналы последовательно во времени. Продолжительность приема сигнала каждого НИСЗ переменная в зависимости от режима работы, но не более 2 с. Перед началом работы оператор вводит априорные координаты места и текущее время. При погрешности ввода координат до 25 км и времени до 30 с и при наличии действующего альманаха в ЗУ сменных констант поиск сигнала требуется произвести максимум на двух элементах неопределенности по частоте. Общее время поиска не более 30 с. После установления синхронизации с сигналом первого НИСЗ производится установка своего хранителя времени с точностью 0,1 мс относительно системного времени.
Иллюстрируя возможности построения АП системы «Глонасс», кратко опишем одноканальную АП «АСН-37» для гражданских самолетов.
Аппаратура «АСН-37» предназначена для автоматической работы в беспультовом варианте (без участия оператора) с комплексом цифрового пилотажно-навигационного оборудования самолета и использует весь объем данных о движении самолета от инерциальных систем, вырабатывая, в свою очередь, оценки плановых координат, высоты и составляющих вектора скорости для комплексной обработки и коррекции инерциальных систем.
Специфическим отличием радиосигналов системы ”Глонасс” от радиосигналов системы “Навстар” является наличие литерных частот несущей радиосигнала каждого НИСЗ, что обеспечивает частотное разделение сигналов в АП. Для приема радиосигналов с литерными частотами в АП системы “Глонасс” используется синтезатор литерных частот (СЛЧ), управляемый навигационным процессором в гетеродинах радиочастотного преобразователя. Конструктивно СЛЧ находится в радиочастотном преобразователе.
В АП “АСН–37” литерные частоты синтезируются с шагом 0,125 МГц на частоте 356 МГц. Сигнал первого гетеродина формируется умножением литерных частот на 4, сигнал второго гетеродина – делением на 2. При этом первое преобразование частот принимаемого сигнала компенсирует 8/9 литерного разноса частот сигналов каждого НИСЗ, а второе преобразование – оставшуюся 1/9 литерного разноса частот. Выбор рассмотренного частотного плана радиочастотного преобразователя позволил минимизировать аппаратурные затраты для одноканальной АП, используя один синтезатор частот для двух гетеродинов. Однако применение подобного частотного плана преобразует спектр демодулированного ФМ сигнала на нулевую вторую промежуточную частоту. Для стабилизации и повышения устойчивости работы выходных каскадов радиочастотного преобразователя введена дополнительная модуляция ПСП суммированием по модулю 2 с меандром частоты 0,125 МГц, являющийся поднесущей для демодулированного сигнала.
Навигационный процессор состоит из: микропроцессора серии 1806 ВМ2; оперативного запоминающего устройства (ОЗУ) объем которого 8К байт; постоянного запоминающего устройства (ПЗУ) объемом 64К байт и преобразователя интерфейса, который измеренные данные в виде последовательного кода передает в тракт дальнейшей обработки сигнала. Производительность микроЭВМ 300 00 коротких операций в секунду.
Технические характеристики «АСН-37» следующие:
погрешности определения широты, долготы 45 м,
высоты 65 м
путевой скорости 0,25 м/с;
текущего времени 1 мкс;
масса 13 кг;
Отметим, что предыдущая модификация АП «АСН-37», именуемая «АСН-16» (также разработка РИРВ), прошла успешные испытания на самолете «Боинг-747», которые проводились по плану совместных работ с американскими фирмами «Ханнивелл» и «Нортвест эйрлайнз». На испытаниях был подтвержден одинаковый уровень точности АП «АСН-16» и аналогичной американской АП, работавшей по сигналам системы «Навстар».
Дальнейшее развитие АП типа «АСН-16» — «АСН-37» направлено на создание многоканальной интегрированной АП, работающей одновременно по сигналам систем «Глонасс» и «Навстар» и удовлетворяющей требованиям международного стандарта.
Морские суда оснащаются навигационной АП «Шкипер», работающей по сигналам системы «Глонасс». Эта аппаратура научно-исследовательского института космического приборостроения (Москва) определяет географические координаты и путевую скорость судна, расстояние, пройденное с момента включения аппаратуры или от заданной точки; расстояние между заданными точками маршрута; рекомендованный курс следования в заданную точку с сигнализацией о достижении заданной точки или об отклонении от маршрута; время прибытия в точку назначения с заданной скоростью; маршрутные координаты; коммерческие задачи.
2.2.2Многоканальная АП
Многоканальная аппаратура предназначена для высокоточных определений координат, составляющих вектора скорости и поправки шкалы времени высокодинамичных потребителей в условиях организованных помех. К разработке многоканальной АП, обладающей уникальными возможностями навигационно-временного обеспечения, постоянно приковано внимание специалистов ведущих фирм мира. Применение современной технологии, позволяющей резко повышать плотность компоновки полупроводниковых приборов и расширять возможности реализации цифровых способов обработки сигналов, приводит к постоянному совершенствованию архитектуры АП. В сочетании с модульным принципом конструирования созданы образцы четырех- и пятиканальной аппаратуры объемом 15 дм2 и массой 12 кг. Ставится задача дальнейшего их уменьшения хотя бы на порядок.
Число каналов многоканальной АП в первую очередь определяются динамическими характеристиками потребителя. Так, АП высокодинамиеских потребителей, штурмовиков и некоторых видов ракет содержит пять каналов приема радиосигналов, при этом четыре канала используются для непрерывного слежения за несущей и задержкой радиосигналов четырех НИСЗ, обеспечивая тем самым непрерывное решение навигационной задачи, а пятый канал используется для поиска, синхронизации и приема информации от новых НИСЗ, обеспечивая непрерывную смену рабочих созвездий. Следует отметить, что пятиканальная аппаратура применяется также на таком малодинамичном объекте, как подводная лодка, но это обусловлено требованием малого времени до первого определения координат.
Четырехканальная АП находит применение на ракетах разного класса. Необходимость в пятом канале здесь отпадает, так как ввиду относительно малого времени полета смена рабочих созвездий НИСЗ не производится.
Двухканальная АП применяется на объектах со средней динамикой, таких как транспортные самолеты, некоторые ракеты, отдельные классы кораблей, самолеты гражданской авиации. Один канал АП этого типа используется для последовательного во времени приема и обработки радиосигналов четырех НИСЗ рабочего созвездия, а второй канал также, как и пятый канал в пятиканальной АП, – для обновления рабочего созвездия.
Многоканальная аппаратура различных разработок, как правило, имеет следующие основные технические характеристики:
чувствительность приемника не хуже 166 дБВт;
погрешность измерения квазидальности не хуже 1,5 м ,
квазискорости не хуже 1,5 см/с при отношении с/ш, равном 30 дБГц,
и при следующей динамике движения потребителя:
максимальная скорость до 1100 м/с и выше,
ускорение до 10g,
рывок до 5g/с;
помехоустойчивость при поиске 24 дБ (кодС/А),
при слежении 40 дБ (код Р),
при удержании сигнала 47 дБ (код Р),
погрешность определения плановых координат не хуже 10 м;
время до первого определения координат не более 2,5 мин.
Как видно из изложенного для решения задачи поставленной в дипломном проекте достаточно одноканальной аппаратуры потребителей. Наиболее предпочтительным вариантом является аппаратура «АСН-37».
2.3.Выбор и обоснование структурной схемы аппаратуры сверки и коррекции ШВ
Для вычисления поправки к ШВ ЭЧ как наиболее удовлетворяющий современным тенденциям области проектирования устройств цифровой обработки информации будем использовать микропроцессорный элемент. Тем самым мы обеспечим гибкость разработанного вычислителя по отношению к изменениям в его структуре (например, изменение алгоритма вычисления), уменьшится количество применяемых элементов, снизится стоимость разработки на этапе проектирования и внедрения, повысятся характеристики по точности и быстродействию. Таким образом, очевидно, основным элементом вычислительного-корректирующего устройства является микропроцессор.
Упрощенно структура микропроцессорного ядра включает в себя микропроцессор, микросхему постоянного запоминающего устройства (ПЗУ) для хранения управляющей программы, микросхему ОЗУ для хранения оперативной информации и микросхему электрически стираемого ПЗУ, а так же микросхему интерфейса для связи с внешними устройствами. В ЭППЗУ можно хранить установки режимов работы, ряд констант, поправки к ШВ UTC, СЕВ и прочую информацию, которая не является постоянной, но не меняется на протяжении длительного промежутка времени.
Т. к. в качестве АПШВ нами принята система «АСН-37», не имеющая собственных органов управления необходимо предусмотреть пульт управления и индикаторное устройство.
Для нормального функционирования процессора в условиях некачественного питания, следует дополнить разрабатываемое устройство рядом функциональных узлов, которые позволили бы исключить такие опасные явления, как работа в неопределенном режиме, а также генерирование неопределенных состояний портов при неполноценном сбросе. Работа вычислительного узла в неопределенном режиме опасна, поскольку в данном случае процессор может выполнять действия, не предусмотренные программой. Процессор может войти в этот режим при медленных изменениях напряжения питания (например, при включении и выключении), когда сигнал сброс не функционален. Если напряжение питания упадет ниже критического значения, а затем восстановится (либо будет медленно снижаться), а сигнал сброса в этот момент не поступит, то произойдет описанный эффект. Для борьбы с этим явлением требуется специальная схема, назначение которой – подавать сброс на процессор в те моменты, когда напряжение питания находится ниже допустимого уровня.
Структурная схема такого устройства изображена на листе 2 графического материала и в Приложении. Она является базой для дальнейшего построения на её основе функциональной и принципиальной схем.
2.4. Выбор и обоснование функциональной схемы устройства сверки и коррекции ШВ
Как уже говорилось выше основной частью устройства сверки и коррекции ШВ является микропроцессорное ядро.
2.4.1. Выбор микропроцессора
Основой микропроцессорного ядра является собственно микропроцессор. Поэтому от его выбора в основном и зависит выбор остальных составляющих. При его выборе зададимся следующими параметрами:
быстродействие;
точность;
трудоемкость вычислений.
Существует большое количество микропроцессоров и микроЭВМ, выпускаемых различными фирмами в различных странах. Отметим отечественные микропроцессорные комплект серий 580 и 1820. Первый из них известен достаточно давно и широко используется при обучении, однако для наших целей он не годится т. к. имеет ряд существенных недостатков (малая скорость вычислений, несколько напряжений питания, большое число внешних элементов). Достоинством второго процессора является невысокая стоимость и легкодоступность. Но для наших целей он не годится и прежде всего, потому что является 4–х разрядным, что ограничивает его вычислительные возможности. Более производительными являются процессоры серии 1835 отечественного объединения "Интеграл". Центральным процессорным элементом является микросхема К1835ВЕ51.
Достоинством данного процессора является:
невысокая потребляемая мощность;
одно напряжение питания;
сравнительно высокое быстродействие;
большое адресное пространство;
легкодоступность.
В процессоре имеется возможность последовательного ввода/вывода данных, что позволит сократить количество линий связи и упростить схему ввода/вывода. В процессоре предусмотрено подключение внешней памяти данных и команд, при этом адресное пространство может быть увеличено до величины 64К для ПЗУ и 64К для ОЗУ.
Выбранный микропроцессор обладает следующими характеристиками:
Разрядность адреса . . . . . 16
Разрядность данных . . . . . 8
Количество регистров общего назначения . . . 32
Разрядность регистров общего назначения . . . 8
Количество каналов обмена . . . 4
Формат команд . . . . . 1,2,3 байта
Объем адресуемой памяти команд . . . 64 кБайт;
Объем внутренней памяти команд . . . 4 кБайт;
Количество (базовых) команд . . . . 111
Время выполнения команд:
сложения регистр–регистр . . . 1.0 мкс;
сложения регистр–память . . . 2.0 мкс;
умножения/деления . . . . 4.0 мкс;
Объем адресуемой памяти данных . . . 64 кБайт;
Объем внутренней памяти данных . . . 128 Байт;
Скорость обмена данных в последовательном канале вв./выв. – 375000 бит/с
2.4.2. Выбор ОЗУ
Внутреннее ОЗУ процессора недостаточно велико, и поэтому прибегаем к применению внешнего ОЗУ. В качестве ОЗУ применим микросхему К537РУ10. Серия 537 построена на основе КМДП – логики. Функциональный ряд серии включает более 20 типономиналов микросхем, отличающихся информационной емкостью (от 1024 до 65 536 бит), организацией (одноразрядная и словарная), быстродействием и потребляемой мощностью. Самой удобной для нас является микросхема со словарной организацией и асинхронным управлением, поскольку при этом не требуется дополнительных средств сопряжения ИС ОЗУ с МП (внутренняя аппаратная поддержка МП настроена на такой тип микросхем ОЗУ). Разрядность данных должна быть равной 8. Выбираем ИС К537РУ10 – микросхему 8–ми разрядного статического ОЗУ, так же выпускаемую отечественным объединением "Интеграл".
Микросхема имеет следующие технические характеристики:
Время выборки . . 20 нс;
Емкость бит . . . 2Кх8;
Потребляемая мощность . 28 мВт;
Диапазон рабочих температур – 10…+ 70С
Совместимость по входу и выходу с TTL и КМОП схемами.
Как уже отмечалось в микропроцессорный узел необходимо включить электрически репрограммируемое ПЗУ. При выборе ИС EEPROM будем руководствоваться прежде всего простотой сопряжения последней с МП. Это относится как к согласованию сигналов (требуется уровень КМОП), так и к организации передачи данных. Удобным является применение последовательного интерфейса, поскольку при этом минимизируется количество используемых выводов процессора. Выберем микросхему EEPROM КР1568РР1. Она имеет объем, равный 256 байт. Микросхему выпускает завод "Интеграл".
Характеристики этой микросхемы таковы:
Напряжение питания . . . . . 5В;
Емкость бит . . . . . . 256х8;
Потребляемая мощность . . . . . 1 мВт;
Сохранность информации при отсутствии питания . 10 лет
Кол-во циклов записи в одну ячейку . . . 10000
Достоинством выбранной микросхемы является применение интерфейса по протоколу I2C, что позволяет сократить число линий связи до двух. Однако в этом случае необходимо программно обеспечить поддержку протокола I2C, что приводит к некоторому усложнению рабочей программы.
2.4.3. Выбор ПЗУ
В микропроцессорное ядро должно входить внешнее ПЗУ, где будет храниться рабочая программа.
В качестве ПЗУ можно взять микросхему К573РФ7 отечественного производства либо микросхему 27С256 фирмы Microchip. Указанные микросхемы удовлетворяют по требованиям к быстродействию. Потребляемая мощность м/сх 24С256 составляет 125 мВт, а у К573РФ7 – 600 мВт.
Основные параметры:
Время хранения информации
при включенных источниках питания > 25000 ч.;
при выключенных источниках питания > 100000 ч.;
Число циклов программирования > 25;
Напряжение питания + 5 В;
Напряжение программирования 21,5 В.
При подключении ПЗУ к МП следует учитывать особенности организации обращения и передачи данных с внешнего ПЗУ у данного процессора. Для передачи данных и для передачи младших разрядов адреса используется одна и та же шина, поэтому требуется аппаратное разделение данных и адресов.
2.4.5. Выбор устройства ввода-вывода
В качестве порта ввода-вывода для обслуживания индикатора и пульта управления выберем м/сх КР580ВВ55А.
Микросхема КР580ВВ55А – программируемое устройство ввода-вывода параллельной информации, позволяющее сопрягать различные типы устройств с шиной данных. Таким образом БИС обеспечивает возможность построения современных систем цифровой обработки.
Основные параметры:
Напряжение питания микросхемы 5 В
Диапазон рабочих температур – 10…+ 70С
Ток потребления 120 мА
2.5. Алгоритм работы устройства СКШВ
Рассмотрим алгоритм вычисления поправки по введенному текущиму времени ЭЧ и временем полученным с НИСЗ. Данный алгоритм представляет собой часть программы обслуживания устройства.
Вначале производится настройка процессора на требуемые режимы работы с внешними устройствами и обмена данными с ними, устанавливаются биты, отвечающие за различные режимы работы процессора. Затем устанавливаются начальные значения необходимых переменных, инициализируются служебные константы, необходимые для работы программы.
Далее осуществляется загрузка текущего врмени ЭЧ, далее – текущего времени с НИСЗ. Для компенсации временной задержки между вводом ШВ ЭЧ и НИСЗ, от последней вычитается время необходимое на её загрузку.
Производится расчёт расхождения между шкалами времени, определяется его знак и выдаётся сигнал на коррекцию ЭЧ.
Производится выдача времени на иникатор в требуемом формате и опрос состояния кнопок ПУ.
Затем цикл повторяется. до тех пор пока длится работа микропроцессорного узла.
Рабочий алгоритм приведён на листе 4 графическрго материала.
2.6. Синтез принципиальной схемы устройства СКШВ
Электрическая принципиальная схема вычислителя представлена на листе 5.
Как уже отмечалось в качестве центрального микропроцессора выберем микросхему К1835ВЕ51.
При подключении ПЗУ к МП следует учитывать особенности организации обращения и передачи данных с внешнего ПЗУ у данного процессора. Для передачи данных и для передачи младших разрядов адреса используется одна и та же шина (порт AD процессора), поэтому требуется аппаратное разделение данных и адресов. С этой целью применим регистр параллельного сдвига, в качестве которого с учетом требований к быстродействию и разрядности применим 8–разрядный регистр К1554ИР23.Выходы порта AD МП и входы Х0...Х7 ИР23 соединим непосредственно, а так же подключим эту шину на выходы D0...D7 ПЗУ. Вывод OE ИР23 следует подключить к нулю, при этом будет разрешен вывод информации на выходы Y0...Y7 ИР23. Сигнал ALE МП подключим к выводу CS ИР23. Наконец, выводы А8...А14 МП подключим к выводам А8...А14 ПЗУ. По этой шине передаются старшие биты адреса считываемой информации. Процесс передачи очередного командного слова в процессор протекает следующим образом. МП выставляет на шину AD0...AD7 и А8...А14 15–ти разрядный адрес считываемого слова. По сигналу ALE ИР23 передает и защелкивает на своем выходе, а значит, на входе ПЗУ, младшие биты адреса, тогда как старшие биты уже там присутствуют. Затем МП подает команду РМЕ, по которой ПЗУ выставляет считываемое слово на шину AD, по которой оно и попадает в процессор.
Порт ввода-вывода
осуществляет обмен информацией с
микропроцессором по
8-и разрядной
двунаправленной шине данных. Для связи
с переферийными устройствами используются
линии ввода-вывода, сгрупированные в
три 8-и разрядных канала A,
B, C, направление
передачи информации через канал
определяются программным способом.
Выбор соответствующего канала и
направление передачи информации через
канал определяются сигналами A0,
A1,
,
,
.
Организация подключения микросхемы ОЗУ в целом аналогична тому, как это произведено при подключении ПЗУ. Для разделения младших разрядов адреса и данных так же применим регистр на микросхеме ИР23. Управляющими сигналами здесь являются WR и RD МП. По сигналу WR происходит запись информации в ОЗУ, тогда как сигнал RD сопутствует считыванию информации.
Узел индикации и опроса кнопок пульта управления состоит из регистра сегмента индикатора, дешифратора разряда индикатора, собственно индикатора, клавиатурного поля 3 х 4.
В качестве индикатора выберем светодиодный индикатор АЛ318А красного свечения. В качестве регистра используем м/сх К555ИР27, а дешифратора К555ИД4.
К555ИД4 – восьмиразрядный дешифратор:
Напряжение питания 5 В;
Потребляемая мощность 10 мА
К555ИР27 – 8-ми разрядный регистр
Напряжение питания 5 В;
Потребляемая мощность 20 мА
Рассмотрим подключение электрически репрограммируемого ПЗУ 1568РР1.
К выходу RST микросхемы присоединим RC–цепочку, которая служит для нормальной работы внутреннего генератора напряжения записи. Параметры цепочки, рекомендуемые справочной литературой :
R14=22К, С7=22нФ.
Необходимо так же оценить тактовую частоту процессора. При требуемой скорости обработки информации необходимо обеспечить производительность процессора порядка 2 млн. оп/с. Такой производительностью микропроцессор будет обладать при использовании тактовой частоты 30 МГц. Таким образом частота кварцевого резонатора определена и равна 30 МГц. Схема внутреннего генератора требует также подключения двух внешних емкостей C3 и C4 по 20 пФ. Такие значения являются типовыми и рекомендуются в литературе, поэтому их расчёт не производится.
В качестве устройства
гарантированного сброса и контроля
питания
используем стандартную
микросхему выполняющую эти функции.
Такой элемент изготавливается многими
фирмами-производителями.
3. Электрический расчёт
3.1. Краткие сведения о вторичных источниках питания
Современные устройства требуют бесперебойного, наёдежного электроснабжения. Для преобразования электрической энергии, получаемой от источников электроснабжения, её регулирования, стабилизации, резервирования, распределения и защиты на практике оборудуются электропитающие установки. Электропитающие установки вырабатывают электрическую энергию постоянного тока с номинальными напряжениями 60 и 24 В.
Снижение массы и габаритов вторичных источников электропитания в настоящее время является одной из наиболее важных проблем при разработке современных радиотехнических устройств. Основными направлениями улучшения массогабаритных и технико-экономических показателей устройств электропитания являются:
использование новейших электротехнических материалов и перспективной элементной базы с применением интегрально-гибридной технологии;
поиски новых эффективных схемотехнических решений;
повышение частоты преобразования электрической энергии.
Повышение надежности, улучшение технико-экономических показателей, снижение стоимости аппаратуры в значительной степени зависят от правильного выбора и проектирования вторичных источников и систем электропитания в целом.
Широкое применение в современной радиоэлектронной аппаратуре получили вторичные источники электропитания с импульсным регулированием. Это объясняется, в первую очередь высокими энергетическими и объёмно-массовыми показателями. Коэффициент полезного действия таких источников может достигать 70-75% при входном напряжении 5В, при этом их удельная мощность составит 120…250 Вт/дм3 . Они строятся в основном на базе однотактных и двухтактных транзисторных преобразователях напряжения. Транзисторы в преобразователях работают в режиме переключения: это и объясняет высокие энергетические показатели источников с импульсным регулированием.
Применение современной базы позволяет осуществлять преобразование энергии на частотах до нескольких сотен килогерц, а в ряде случаев и выше.
Работа устройств на повышенных частотах позволяет уменьшить объём и массу электромагнитных элементов и ёмкость конденсаторов, и тем самым повысить удельные объёмно-массовые показатели.
В импульсных источниках применяются три способа регулирования:
широтно-импульсный (ШИМ), при котором период коммутации постоянен, а время нахождения транзистора в области насыщения (отсечки) изменяется;
частотно-импульсный (ЧИМ), при котором период коммутации непостоянен, а время нахождения транзистора в области насыщения (отсечки)постоянно;
двухпозиционный (релейный), при котором и период, и относительное время отсечки, когда транзистор находится в области насыщения (отсечки), изменяются.
Однотактные и двухтактные преобразователи подразделяются на регулируемые и нерегулируемые.
В зависимости от типа преобразователя вход и выход его могут быть гальванически связаны или развязаны через трансформатор.
Однотактные преобразователи с гальванической связью входа и выхода находят широкое применение в качестве импульсных стабилизаторов или регуляторов напряжения и тока.
Однотактные и двухтактные регулируемые преобразователи с трансформаторным выходом применяются как самостоятельные источники вторичного электропитания.
Поэтому рассчитаем источник вторичного питания для питания разрабатываемого устройства.
3.2. Расчёт силовой части импульсного преобразователя
Выберем в качестве расчёта преобразователя однотактный регулируемый преобразователь с трансформаторным разделением входной и выходной цепей.
Однотактные регулируемые преобразователи находят широкое применение в источниках электропитания аппаратуры на выходные мощности от единиц до нескольких сотен ватт. Их широкое применение обусловлено такими достоинствами, как отсутствие схем симметрирования работы трансформатора, малое число силовых ключей, простота схемы управления. На рис. 5 изображена схема однотактного преобразователя с прямым включением диода VD2 и размагничивающей обмоткой.

Рисунок 5 Схема однотактного преобразователя с прямым включением диода и размагничивающей обмоткой
3.2.1. Принцип действия преобразователя
Когда транзистор VT1 открыт, напряжение Uвх оказывается приложенным к первичной обмотке трансформатора >1>. Диод VD2—открыт и энергия источника питания передается в нагрузку и запасается дросселем L. В интервале закрытого состояния транзистора энергия, накопленная дросселем, передается в нагрузку, а энергия, запасенная трансформатором через размагничивающую обмотку >р> и диод VD>P>, отдается в источник питания. Поскольку в установившемся режиме работы энергия, запасённая трансформатором на интервале открытого состояния транзистора, должна быть полностью рекуперирована в источник питания, то максимальное значение >max> зависит от соотношения чисел витков обмоток >1> и >р> . Чем шире пределы регулирования, тем больше значение >max> и тем меньше число витков размагничивающей обмотки. Уменьшение числа витков размагничивающей обмотки приводит к увеличению напряжения на закрытом транзисторе преобразователя
(3.1)
Так, при >max> = 0,5 напряжение на закрытом транзисторе превышает входное напряжение в 2 раза, а при >max> = 0,9 — в 10 раз. Регулировочная характеристика преобразователя имеет линейный характер:
(3.2)
где:
21 = 2/1 — коэффициент трансформации.
Это выражение справедливо при условии безразрывности тока дросселя, которое имеет место при L >L>кр>, где
(3.3)
f>П> – частота преобразования.
3.2.2. Расчёт преобразователя
Исходные данные:
номинальное значение входного напряжения U>ВХ> В; 24
относительные отклонения входного напряжения в сторону повышения и понижения а>m>>ax>, а>mi>>п>, 0,1
номинальное значение выходного напряжения, U>ВЫХ> В; 5
амплитуда пульсации выходного напряжения U>ВЫХ >>m> В; 0,01
максимальное значения тока нагрузки I>н >>max>, А; 1
минимальное значения тока нагрузки I>н >>min>, А; 0,5
частота преобразования, f>П> , Гц; 20 х 103
максимальная температура окружающей среды Т>С>> m>>ах> C; 50
Определяем максимальное и минимальное значения входного напряжения.


Принимаем >min> = 0,2. Тогда

Округляем его
значение до целого числа
;



2. Определяем L>КР>

Производим расчёт
дросселя или выбираем унифицированный,
принимая
L > L>КР> = 0,5 мГн
Определяем приращение тока дросселя

3. Находим значение
емкостей
и
.
При определении
задаёмся
значением U>ВЫБР>
= 0,1 U>ВЫХ>
= 0,5 В
;

Ёмкость конденсатора
С>н>
принимаем равной максимальному значению
или
.
Выбираем
конденсатор типа К50-35 на номинальную
ёмкость
220 мкФ и
номинальное напряжение 25 В. С>н>
= 220 мкФ.
Определяем:

Определяем максимальное напряжение на закрытом транзисторе

Максимальный ток

Выбираем транзистор КТ903А, имеющий следующие параметры:
;
;
;
;


Принимаем коэффициент
насыщения транзистора

Определяем мощность, рассеиваемую на транзисторе, и решаем вопрос о необходимости установки транзистора на радиатор.


Определяем значения токов и напряжений диодов VD1, VD2, VDp.


По напряжению, току и частоте преобразования f>П> выбираем из справочников тип соответствующего диода. Выбираем диод КД213В, максимальное обратное напряжение – 100 В, максимальный постоянный прямой ток – 3 А при Т>К> = + 125С, U>ПР> = 1 В.
Определяем мощности, рассеиваемые на нём

Определяем максимальное напряжение на рекуперационном диоде
;
.
Максимальное значение тока рекуперационного диода VD>p> определяется после расчета трансформатора, в результате которого находится максимальное значение намагничивающего тока I>VD1 max>.
Определяем токи первичной и вторичной обмоток трансформатора Т1


Определяем коэффициент передачи схемы управления по заданному значению коэффициента стабилизации:


Таким образом произведён расчёт силовой части импульсного преобразователя напряжения.
4. Конструктивный расчёт
4.1. Конструкция печатной платы
В предыдущем разделе была разработана принципиальная схема устройства вычислителя корректирующей информации. В этой главе необходимо разработать печатную плату, на которой будет производиться монтаж элементов указанных устройств. В настоящие время выпускают односторонние, двусторонние, многослойные и гибкие печатные платы. К гибким печатным платам следует отнести и гибкие печатные шлейфы и кабели. Существуют различные методы изготовления печатных плат.
Достоинством односторонних и двусторонних печатных плат являются простота и низкая трудоёмкость изготовления. В то же время этим платам присущи такие недостатки, как низкая плотность размещения навесных элементов, необходимость дополнительной экранировки, большие габариты и значительная масса.
Путём использования многослойных печатных плат можно существенно увеличить плотность монтажа путём добавления слоёв без заметного увеличения габаритов. Важным преимуществом многослойного печатного монтажа является размещение экранирующий слой может быть размещён между любыми внутренними слоями или на наружных поверхностях. Экранирующие слои могут быть соединены с конструктивными деталями рамы для улучшения теплоотвода. Многослойный печатный монтаж может быть защищён от механических повреждений и внешних воздействий путём нанесения дополнительного слоя диэлектрика. Однако основными преимуществами многослойного печатного монтажа являются экономия объёма при использовании узких и тонких токопроводящих металлических соединений и малогабаритных разъемов и потенциально высокая надёжность.
В тоже время многослойным печатным платам присущи следующие недостатки:
более жёсткие допуски на размеры по сравнению с допусками на размеры обычных печатных плат;
большая трудоёмкость проектирования;
необходимость специализированного технологического оборудования;
длительный технологический цикл и сложный процесс изготовления;
необходимость тщательного контроля практически всех операций, начиная с вычёрчивания оригиналов и кончая упаковкой готовой платы в промежуточную технологическую тару для передачи её в монтажный цех, причём визуальный контроль изделия труден или невозможен;
высокая стоимость;
низкая ремонтопригодность.
Однако в аппаратуре, для которой обеспечение минимальных габаритов и массы, а также максимально возможной надёжности является основным требованием, многослойные печатные платы незаменимы.
К числу важнейших свойств материалов, используемых для печатных плат, относятся хорошая технологичность, позволяющая легко переработать их в процессе производства, высокие электрофизические, физико-механические и физико-химические параметры, а также такие свойства, как устойчивость к воздействию ионизации, радиационная стойкость, способность работать в условиях вакуума. Материалы основания должны обеспечивать хорошую адгезию с токопроводящими покрытиями, минимальное колебание в процессе производства и эксплуатации.
Наиболее распространенными материалами при изготовлении печатных плат являются гетинакс и стеклотекстолит. Гетинакс представляет собой слоистый прессованный материал, состоящий из нескольких слоёв бумаги, пропитанной фенолоформальдегидной, крезолоформальдегидной либо ксинолоформальдегидной смолой или их смесями. Этот материал обладает высокой электрической прочностью и стабильностью диэлектрических свойств, хорошо поддастся механической обработке: расплавке, сверлению, точению, фрезерованию. Используется как электроизоляционный материал для печатных плат изготовляемый гальванохимическим способом.
Стеклотекстолит представляет собой слоистый пластик, состоящий из стеклоткани, пропитанной модифицированной фенолоформальдегидной смолой. Листовой стеклотекстолит поддаётся всем видам механической обработки, а также склеиванию.
Для изготовления многослойных печатных плат применяются главным образом фольгированные диэлектрики. Для фольгирования, как правило, используется медь, иногда алюминий и никель. Алюминий уступает меди из-за плохой паяемости. Основным недостатком никеля является его высокая стоимость. Среди фольгированных диэлектриков следует отметить фольгированный гетинакс, фольгированный текстолит, низкочастотный фольгированный диэлектрик, фольгированный армированный фторопласт.
Надёжное защитное покрытие для печатных плат должно обладать хорошими влагозащитными и диэлектрическими свойствами. Как правило, используются:
покрытие односторонней
платы только со стороны печатных
проводников;
при этом защищают
проводящие дорожки и обрезные края
платы;
двухстороннее покрытие печатной платы, в том числе и компонентов;
заливка блока в целом.
4.2. Конструкции блоков микроэлектронной аппаратуры
Применение в конструкциях блоков МЭА четвёртого поколения бескорпусных МСБ позволяет значительно увеличивать плотность упаковки элементов, а последовательно, получать гораздо меньшие (в 5-6) раз объёмы блоков при одинаковой функциональной сложности по сравнению с блоками, выполненными на корпусированных ИС. Уменьшение объёма блоков достигается также в результате применения более прогрессивных методов монтажа (с помощью гибких шлейфов и кабелей), компоновки (книжная вместо разъемной) и малогабаритных соединений (РПС, СР-50 и типа "слезка"). Необходимость герметизации блоков и наличие внутри них избыточного давления заставляют применять в их конструкциях корпуса с довольно толстыми (до 3 мм) стенками, что существенно увеличивает коэффициент дезинтеграции массы даже при алюминиевых корпусах. Чем больше объём блока, тем больше должно быть избыточное давление при одном же сроке службы и тем более толстые стенки должен иметь корпус. Это является одним из недостатков такого рода конструкций, обусловленных требованием их герметичности. Корпуса блоков могут иметь стандартные размеры и форму, а для аппаратуры специального назначения чаще всего выбираются из условия минимальных масс, объёмов требуемых форм и степени планарности, обеспечивающих заданные тепловые режимы и вибропрочность при минимальных объёмах.
Рассмотрим некоторые типичные конструкции блоков МЭА четвёртого поколения на бескорпусных МСБ.
Герметичный блок разъёмной конструкции состоит из набора ячеек на бескорпусных МСБ установленных параллельно передней панели. Корпус блока литой, выполнен из алюминиевого сплава Ал9. Герметизация блока осуществлена с помощью резиновых прокладок, выполненных из кремнеорганической резины марки ИРП1265, установленных в пазы корпуса блока, и креплений болтами боковых крышек блока. Боковые крышки блока съёмные и так же, как корпус, имеют оребрение.
Блок герметичной книжной конструкции с вертикальной осью раскрытия ячеек состоит из набора ячеек на бескорпусных МСБ, установленных перпендикулярно передней панели блока. Передние и задние панели выполнены литьем под давлением из алюминиевого сплава Ал9 и имеют покрытие Н24.0-Ви6Н12. Кожух блока сварной, выполнен из титанового сплава ВТ1-0 с покрытием Н12 с последующим горячим лужением припоем ПОС61.
Блок книжной конструкции цифровой МЭА, герметизируемый паяным швом, содержит обычно не более10 ячеек на металлических рамках, собранных в пакет и закреплённых затяжными винтами, ввинчиваемыми в стальные или титановые резьбовые втулки бобышек донной части корпуса. Внутриблочная коммутация осуществлена гибкими шлейфами. В более ранних конструкциях она выполнялась на гибкой матрице-ремне, представляющей лист бесзернистой резины ИРП толщиной 4-5 мм с отверстиями для прошивки жгутами из тонкого провода ТФ-100М. Однако объём занимаемый этой матрицей-ремень, составлял 15-20% объёма блока, что приводило к увеличению его интеграции. Применение гибких шлейфов значительно снижает объём, занимаемый внутриблочным монтажом (до 5%), но жесткость по сои раскрытия "книги" при этом практически пропадает, и в разобранном виде ячейки не удерживают друг друга.
В нашем случае блок установлен на стандартных амортизаторах, для обеспечения его работоспособности на подвижных объектах. Конструктивно в нём находятся микропроцессорный узел и источник вторичного питания.
Для контроля за наработкой на передней панели блока находится счётчик времени работы, что является стандартным для такого рода аппаратуры. Транзистор блока вторичного питания, на радиаторе, вынесен отдельно, для обеспечения нормального теплового режима всего устройства.
Конструкция блока изображена на листе 5 графического материала.
5. Технико-экономическое обоснование дипломного проекта
5.1. Методы экономического обоснования дипломного проекта.
В мировой практике по вопросам инженернрой экономики рассматриваются достаточно многочисленные методы инвестиционных расчётов, среди которых выделяются как наиболее широко применяемые:
чистая приведённая величина дохода;
срок окупаемости капиталовложений;
«внутренняя» норма доходности;
рентабельность;
безубыточность.
Указанные показатели отражают один и тот же процесс сопоставления распределённых во времени выгод от инвестиций и самих инвестиций. За рубежом нет единой методики оценки эффективности инвестиций. Каждая фирма или корпорация, руководствуясь накопленным опытом, наличием финансовых ресурсов, целями, преследуемыми в данный момент, разрабатывает свою конкретную методику. Однако так или иначе, эти методики базируются на указанных характеристиках, их сочетаниях и модификациях.
Следует заметить, что данные расчёты обязательно сопровождают бизнес-план.
Чистая приведённая величина дохода характеризует конечный эффект инвестиционной деятельности. В отечественной практике под чистой приведённой величиной дохода понимают экономический эффект за расчётный период времени (Э>т>):
Э>т> = Р>т> – З>т >(5.1)
где:
Р>т> – стоимостная оценка результата от внедрения мероприятия НТП, ден. ед.;
З>т> – стоимостная оценка затрат на реализацию мероприятия НТП, ден. ед.;
т – расчётный период времени, лет.
Под расчётным периодом понимается время, в течение которого копиталовложение оказывает воздействие на производственный процесс. В качестве расчётного периода предприятие-производитель новой техники может принять прогнозируемый срок поизводства новой техники, предприятие – потебитель – срок службы нового оборудования с учётом морального старения.
5.2. Характеристика проекта.
Результатом данного проекта является изделие имеющее хорошие потребительские свойства: невысокую цену, ремонтопригодность, высокую надёжность. Данная разработка позволит достичь более точного временного обеспечения потребителей за счёт комплексирования различных систем: спутниковой навигационной системы и наземных радионавигационных систем. Для повышения точности наземных с истем традиционным путём необходимы большие капитальные вложения в НИОКР. Процесс комплексирования позволит с минимальными затратами достичь достаточно высоких характеристик, и эксплуатировать данные системы ещё некоторое время, необходимое для постепенного перехода к спутниковому обеспечению.
5.3. Определение смётной стоимости и отпускной цены на НИОКР.
В плановую себистоимость опытно-конструкторских и научно-исследовательских работпо каждой теме включаются все затраты, связанные с её выполнением, независимо от источника их финансирования. Калькуляция плановой себистоимости НИР и ОКР расчитываются по следующим статьям затрат:
Материалы (Р>м>)
(5.2)
где:
n - количество видов материалов;
H>i> - черновая норма расхода i-го материала (кг, м. п, шт. и прочее);
Ц>i> - отпускная цена i-го материала, руб.;
К>тр> - к-нт учитывающий транспортно-заготовительные расходы (К>тр> = 1,04 – 1,10);
О>В> - сумма возвратных отходов, руб.
Расчёт:
а) 300 листов бумаги А4 / стоимость одного листа 260 руб.
б) Папка пластиковая 1 шт. 50000 руб.
в) Тетрадь общая 1 шт. 15000 руб.
г) Ручка шариковая 2 шт. 2 х 5000 руб.= 10000 руб.
д) Карандаш 1 шт. 6100 руб.
е) Ластик 1 шт. 4200 руб.
ж) Набор линеек 1 шт. 7700 руб.
з) Ватман 9 шт. 117000 руб.
Р>м >= (300 х 260 + 1 х 50000 + 1 х 15000 + 2 х 5000 + 1 х 6100 + 1 х 4200 + 1 х 7700 + 9 х 13000) х 1,04 = 81120 + 52000 + 15600 + 10400 + 6344 + 4368 + 8008 + 121680 = 299520 руб.
Спецоборудование (Р>об>)
Данная статья в расчёт себестоимости не входит.
Основная зароботная плата (ЗП>о>)
(5.3)
Где:
К>пр> – коэффициент премий;
К – количество категорий работников;
С>i> – численность i-й категории работников, чел;
З>ri> – среднечасовая (среднедневная) заработная плата i-й категории работников;
t – трудоёмкость работ, выполняемых i-ой категорией работников (чел./час, чел./день).
Расчёт:
К>пр> = 1
С>i> = 3
З>r>>1> = 8666,6 (среднедпевная) t>1> = 180 дней
З>r2> = 8750 (среднечасовая) t>2> = 72 часа
З>r3> = 6250 (среднечасовая) t>3> = 6 часов
ЗП>о> = 1 х 8666,6 х 180 + 1 х 72 х 8750 + 1 х 6 х 6250 = 1560000 + 630000 + 37500 = 2227500 руб
Дополнительная зароботная плата (Н>д>) или (ЗП>д>)
Н>д> составляет 20…25% от основной заработной платы. Данная статья в расчёт себестоимости не входит.
Заработная плата прочих категорий работников (ЗП>пр>).
Коэффициент по отношению к ЗП>о> равен 1,4…1,8. Данная статья в расчёт себестоимости не входит.
Отчисления в фонд социальной защиты населения (Р>соц>)
Н>соц> = 35%
(5.4)
Аммортизация (А>0>)
Аммортизация составляет 10…15% от основной зароботной платы. Данная статья в расчёт себестоимости не входит.
Расходы на служебные командировки (Р>ком>)
Данные расходы составляют 4…10% от основной ЗП. Данная статья в расчёт себестоимости не включается.
Услуги сторонних организаций (Р>ус>)
а) набор текста 150 страниц 5000 руб/страница
б) распечатка на принтере 2000 руб/страница
в) выполнение чертежей на графопостроителе 10000 руб/чертёж
Р>ус> = 150 х 5000 + 300 х 2000 + 9 х 10000 = 1440000 руб.
Прочие прямые расходы (Р>пр>)
а) телефонные услуги 60 мин. 300 руб/минута.
Р>пр> = 60 х 300 = 18000 руб
Накладные расходы (Р>кос>)
Данные расходы составляют 100…250% от основной ЗП. Данная статья в расчёт себестоимости не включается.
Налоги (Р>н>)
а) «Чернобыльский» 10% (Р>чер>)
б) Фонд занятости 1% (Р>зан>)
в) Детск. и дошк. 5% (Р>дошк>)
Н>нс> = 12 + 5 + 1 = 16%
(5.5)
Полная себистоимость (С>п>)
С>п>
= Р>м>
+ ЗП>0>
+ Р>соц>
+ Р>ус>>
>+ Р>пр>
+ Р>н>
= 299520 + 2227500 + 779625 +
+ 1440000 +356400 + 18000 = 5121045
руб. (5.6)
Плановая прибыль (П>п>)
(5.7)
Оптовая цена (Ц>оп>)
Ц>оп> = С>п> + П>п> = 5121045 + 1536313 = 6657358 руб. (5.8)
Налог на добавленную стоимость (НДС)
Налог на добавленную стоимость не начисляется на НИОКР, финансируемые за счёт бюджета Республики Белорусь.
Отчисления в спецфонды (О>сф>)
(5.9)
Отпускная цена (Ц>отп>)
Ц>отп> = Ц>оп> + О>сф> = 6657358 + 133147 = 67090506 руб. (5.10)
При расчёте использовалась методика изложенная в литературе [2].
5.4. Построение сетевого графика
Перечень событий и работ к сетевому графику на проведение научно-исследовательской работы (устройство синхронизации разнесенных наземных радионавигационных систем по сигналам «ГЛОНАСС»).
|
Шифр собы |
Определение события |
Шифр след. |
Наименование работ |
Продолжитель- ность работы, дни |
Дис- пер- сия |
|||
|
тия |
работ |
t>min> |
t>max> |
t>нв> |
t>о> |
|||
|
1 |
Тема НИР утверждена |
1,2 |
Подбор и изучение литературы по теме |
12 |
14 |
13 |
13 |
0,111 |
|
2 |
Литература подобрана и изучена |
2,3 |
Выбор нужного направления в решении поставленной задачи |
3 |
5 |
4 |
4 |
0,111 |
|
3 |
Направление решения поставленной задачи выбрано |
3,4 |
Проведение патентного поиска |
2 |
3 |
2 |
2 |
0,027 |
|
4 |
Патентный поиск произведён |
4,5 |
Обзор реферативных журналов |
1 |
2 |
1 |
1 |
0,027 |
|
5 |
Реферативные журналы просмотрены |
5,6 |
Выбор необходимых методов |
6 |
9 |
8 |
8 |
0,25 |
|
6 |
Методы решения поставленной задачи определены |
6,7 |
Обоснование основных методов |
3 |
5 |
4 |
4 |
0,111 |
|
7 |
Основной метод выбран |
7,8 |
Структурная схема АП «Navstar» (описание) |
2 |
3 |
2 |
2 |
0,027 |
|
8 |
Структура АП «Navstar» определена |
7,13 |
Структурная схема АП «Navstar» |
2 |
4 |
3 |
3 |
0,111 |
|
8,9 |
Структурная схема АП «Глонасс» (описание) |
1 |
3 |
2 |
2 |
0,111 |
||
|
9 |
Структура АП «Глопасс» определена |
9,10 |
Описание структурной сх. ус-ва приёма ШВ |
4 |
7 |
6 |
6 |
0,25 |
|
10,11 |
Выбор стр. устройства коррекции ШВ |
1 |
3 |
2 |
2 |
0,111 |
||
|
10 |
Структура ус-ва приёма ШВ выбрана |
10,12 |
Вывод основного алгоритма |
10 |
14 |
12 |
12 |
0,444 |
|
10,15 |
Обоснование функциональной схемы исходя из структурной |
3 |
4 |
3 |
3 |
0,027 |
||
|
11 |
Структура устройства коррекции ШВ выбрана |
11,16 |
Обоснование элементной базы |
3 |
5 |
4 |
4 |
0,111 |
|
12 |
Функциональная схема АП «Navstar» выбрана |
12,17 |
Электрический расчёт |
2 |
4 |
3 |
3 |
0,111 |
|
13 |
Функциональная схема «Глопасс» выбрана |
13,14 |
Описание функциональной схемы |
2 |
4 |
3 |
3 |
0,111 |
|
14 |
Функциональная схема устройства коррекции ШВ выбрана |
14,15 |
Описание функциональной схемы корр. ШВ |
5 |
9 |
8 |
8 |
0,444 |
|
15 |
Элементная база определена |
15,16 |
Обоснование элементной базы вычеслителя |
5 |
7 |
6 |
6 |
0,111 |
|
16 |
Расчет электрический принципиальный произведен |
16,17 |
Электрический принципиальный расчет схемы |
20 |
25 |
23 |
23 |
0,694 |
|
17 |
Каскад для конструктивного расчета выбран |
17,18 |
Выбор коскада для конструктивного расчета |
2 |
4 |
3 |
3 |
0,111 |
|
18 |
Конструктивный расчет каскада вычислителя произведен |
18,19 |
Проведение конструктивного расчета выбраного коскада |
6 |
9 |
8 |
8 |
0,25 |
|
19 |
Экономический расчет произведен |
19,20 |
Экономическое обоснование ДП |
12 |
17 |
15 |
15 |
0,25 |
|
20 |
Проектные исследования закончены |
20,21 |
Выводы по проведенной НИР |
2 |
4 |
3 |
3 |
0,694 |
|
21 |
Выводы по проведенной НИР сделаны |
21,22 |
Оформление документации по выполненной НИР |
7 |
10 |
9 |
9 |
0,25 |

Пути сетевого графика и их расчёт.
= t(1,2) + t(2,3) + t(3,4) + t(4,5) + t(5,6) + t(6,7) + t(7,8) + t(8,9) + t(9,10)+ t(10,15) + t(15,16) + t(16,17) + t(17,18)+ t(19,20)+ t(20,21) + t(21,22) =13 + 4 + 2 + 1 + 8 + 4 + 2 + 2 + 6 + 2 + 6 + 12 + 3 + 3 + 8 + 9 = 112 дн. – ненапряжённый путь.
t(L2) = t(1,2) + t(2,3) + t(3,4) + t(4,5) + t(5,6) + t(6,7) + t(7,8) + t(8,9) + t(9,10) + t(10,11) + t(11,16) + t(16,17) + t(17,18) + t(19,20) + t(20,21) + t(21,22) =13 + 4 + 2 + 1 + 8 + 4 + 2 + 2 + 6 + 2 + 4 + 1 + 23 + 3 + 8 + 15 + 3 + 9 = 109 дней – ненапряжённый путь.
t>КР> = t(1,2) + t(2,3) + t(3,4) + t(4,5) + t(5,6) + t(6,7) + t(7,13) + t(13,14)+ t(14,15)+ t(15,16) + t(16,17) + t(17,18) + t(19,20) + t(20,21) + t(21,22) = 13 + 4 + 2 + 1 + 8 + 4 + 3 + 3 + 8 + 6 + 23 + 3 + 8 + 15 + 3 + 9 = 113 дн. – критический путь.
t(L3) = t(1,2) + t(2,3) + t(3,4) + t(4,5) + t(5,6) + t(6,7) + t(7,8) + t(8,9) + t(9,10)+ t(10,12) + t(12,17) + t(17,18)+ t(19,20)+ t(20,21) + t(21,22) =13 + 4 + 2 + 1 + 8 + 4 + 2 + 2 + 6 + 2 + 6 + 12 + 3 + 3 + 8 + 15 + 3 + 9 =95 дней – ненапряжённый путь.
Резервы:
P(L1) = t>КР> – t(L1) = 1 день
P(L2) = t>КР> – t(L2) = 4 дня
P(L3) = t>КР> – t(L3) = 18 дней
Таблица 4. Расчёт параметров событий сетевого графика
|
Шифр события |
Ранний срок свершения события t>p >(i) = t[L>1>(i)] t>p>> >(j) = t>p >(i) + t(i,j) |
Поздний срок свершения события t>n >(i) = t>КР> + t[L>1>(i)] |
Резерв времени событий Pi = tn (i) – tp (i) |
|
1 |
0 |
0 |
0 |
|
2 |
13 |
13 |
0 |
|
3 |
17 |
17 |
0 |
|
4 |
19 |
19 |
0 |
|
5 |
20 |
20 |
0 |
|
6 |
28 |
28 |
0 |
|
7 |
32 |
32 |
0 |
|
8 |
34 |
35 |
1 |
|
9 |
36 |
37 |
1 |
|
10 |
42 |
43 |
1 |
|
11 |
44 |
48 |
4 |
|
12 |
54 |
72 |
18 |
|
13 |
35 |
35 |
0 |
|
14 |
38 |
38 |
0 |
|
15 |
46 |
46 |
0 |
|
16 |
52 |
52 |
0 |
|
17 |
75 |
75 |
0 |
|
18 |
78 |
78 |
0 |
|
19 |
86 |
86 |
0 |
|
20 |
101 |
101 |
0 |
|
21 |
104 |
104 |
0 |
|
22 |
113 |
113 |
0 |
; 
Т>д> – заданный директивный срок завершения комплекса работ;
t>кр> – критический путь, определяемый прирасчёте сетевого графика;
t>кр> – среднеквадратическое отклонение срока наступления завершающего события, которое определяется по следующей формуле:

Т>д>
= 115 
t>кр> = 113
Таблица 5 Расчёт временных параметров работ
|
Шифр работы |
Продолж. работы, |
Наиболее раннее время |
Наиболее позднее время |
Резерв времени |
|||
|
(i,j) |
дней |
начала |
окончания |
начала |
окончания |
полный |
свободн. |
|
1,2 |
13 |
0 |
13 |
0 |
13 |
0 |
0 |
|
2,3 |
4 |
13 |
17 |
13 |
17 |
0 |
0 |
|
3,4 |
2 |
17 |
19 |
17 |
19 |
0 |
0 |
|
4,5 |
1 |
19 |
20 |
19 |
20 |
0 |
0 |
|
5,6 |
8 |
20 |
28 |
20 |
28 |
0 |
0 |
|
6,7 |
4 |
28 |
32 |
28 |
32 |
0 |
0 |
|
7,8 |
2 |
32 |
34 |
33 |
35 |
1 |
0 |
|
7,13 |
3 |
32 |
35 |
32 |
35 |
0 |
0 |
|
8,9 |
2 |
34 |
36 |
35 |
37 |
1 |
0 |
|
9,10 |
6 |
36 |
42 |
37 |
43 |
1 |
0 |
|
10,11 |
2 |
42 |
44 |
46 |
48 |
4 |
0 |
|
10,12 |
12 |
42 |
54 |
60 |
72 |
18 |
1 |
|
10,15 |
3 |
42 |
45 |
43 |
46 |
1 |
4 |
|
11,16 |
4 |
44 |
48 |
48 |
52 |
4 |
18 |
|
12,17 |
3 |
54 |
57 |
72 |
75 |
18 |
0 |
|
13,14 |
3 |
35 |
38 |
35 |
38 |
0 |
0 |
|
14,15 |
8 |
38 |
46 |
38 |
46 |
0 |
0 |
|
15,16 |
6 |
46 |
52 |
46 |
52 |
0 |
0 |
|
16,17 |
23 |
52 |
75 |
52 |
75 |
0 |
0 |
|
17,18 |
3 |
75 |
78 |
75 |
78 |
0 |
0 |
|
18,19 |
8 |
78 |
86 |
78 |
86 |
0 |
0 |
|
19,20 |
15 |
8 |
101 |
86 |
101 |
0 |
0 |
|
20,21 |
3 |
101 |
104 |
101 |
104 |
0 |
0 |
|
21,22 |
9 |
104 |
113 |
104 |
111 |
0 |
0 |
Т.е. сетевой график необходимо оптимизировать:

Сетевые графики находятся в Приложении.
6. Охрана труда и экологическая безопасность
6.1. ТРЕБОВАНИЯ К ПЕРСОНАЛУ ПРИ ОБСЛУЖИВАНИИ И РЕГЛАМЕНТНЫХ РАБОТАХ НА ОБОРУДОВАНИИ НАХОДЯЩИМСЯ ПОД ВЫСОКИМ НАПРЯЖЕНИЕМ.
Обслуживание должен выполнять технический персонал, подготовленный по данной специальности, знающий конструкцию, особенности и правила эксплуатации конкретного изделия, применяемого стендового оборудования, контрольно–измерительной аппаратуры, регламент технического обслуживания, технологические указания, руководящие документ по этому оборудованию, допущенный к обслуживанию и несущий ответственность за качество выполняемых работ.
Техническое обслуживание оборудования выполняется в специализированных лабораториях (цехах) с применением необходимого оборудования, контрольно измерительной аппаратуры, исправного инструмента и при соблюдении правил техники безопасности.
1. Средства транспортировки блоков должны исключать возможность их повреждения. На штепсельных разъемах и открытых фланцах волноводов должны быть устоновлены технологические заглушки, чтобы в них не попали посторонние предмет.
2. В случае замены блока (узла, детали) и перед установкой проверить:
– соответствие наименований, маркировки и схемных (чертежных) номеров блоков (узлов, деталей) номиналам (назначению);
– выполнение доработок по бюллетеням и другой документации;
– срок служб (срок хранения) блока, узла, детали;
– удалены ли консервирующая смазка и убедиться в отсутствии повреждений, загрязнений;
– соответствие номера блока (узла) номеру, указанному в паспорте, в котором должны быть указаны дата установки (снятия) блока, узла и причина замен на новый (исправный).
3. Норма времени н техническое обслуживание определяется на месте с учетом оснащенности рабочих мест и квалификации специалистов.
4. Инженер лаборатории несёт ответственность за своевременную проверку стендового оборудования и контрольно–измерительной аппаратуры, производит выборочный контроль:
– выполнение настоящих указаний исполнителями и вторичную приемку работ после обслуживания;
– оформление документации на выполнение работ.
ОТК осуществляет выборочный контроль качества технического обслуживания изделия в лаборатории, оформление технической документации и своевременной госпроверки КПА.
5. Все изменения и дополнения, внесенные в технологиеские указания, отмечаются в листе учета изменений и дополнений.
6. Основные требования к помещению и оборудованию лаборатории, а так же основные требования техники безопасности следующие:
– помещение лаборатории должно быть сухим, светлым, вентилируемым и чистым, с постоянной температурой 20;
– размещение проверочных стендов и другого оборудования должно обеспечивать удобство, безопасность работ, а также исключать возможность облучения рабочих мест;
– работа, связанная с чисткой, промывкой и сушкой аппаратуры, должна выполняться на специально оборудованных местах с вытяжной вентиляцией;
– источники электроэнергии должны размещаться в специально оборудованных отдельных помещениях (узлах питания), доступ в которые разрешается только лицам, имеющим допуск к данной работе;
– рабочие места должны быть снабжены рационально и гигиенично устроенными стульями с регулируемыми (по росту работающего) сидениями;
– у стенда на полу, где проверяется радиоаппаратура, должен быть проверенный резиновый коврик размером 7575 см;
– корпус стенда и аппаратуры должны быть надежно заземлены;
– загромождение производственных помещений, проходов и рабочих мест аппаратурой, предназначенной для проверки, запрещается;
– лаборатория должна быть снабжена шкафами или специальнми устройствами для хранения чертежей, описаний, приспособлений, инструмента и т.п.;
– рабочие места должны быть оборудованы местным освещением дополнительно к общему (в одном помещении допускается совместное использование источников света с различным спектром, но при условии, отграничивающем возможность образования бликов на рабочих поверхностях);
– работа аппаратуры (изделий) с открытыми кожухами разрешается только на время, необходимое для таких регулировок и выявления неисправностей, которые невозможны при закрытых защитных устройствах;
– работа с приборами, схемами и изделиями находящимся под опасным напряжением, должна производиться обязательно в присутствии не менее двух работников, один из которых – старший;
– технический состав должен уметь оказать первую помощь при ожогах и поражениях электрическим током;
– в лаборатории (цехах) обязательно должна быть аптека с необходимым минимумом медикаментов;
– технический состав должен знать и помнить, что напряжение выше 40 В опасно для жизни и что устранять неисправности в аппаратуре, находящейся под напряжением, запрещается;
– стендовое оборудование и измерительные установки должны быть обслужен и проверены согласно регламенту с соответствующей записью в формуляре;
– к выполнению работ по техническому обслуживанию допускаются лица, прошедшие подготовку по технике безопасности и сдавшие зачеты в соответствии с правилами техники безопасности.
7. Контрольно–измерительная аппаратура должна быть исправна и своевременно проверена в лаборатории стандартов мер и измерительных приборов согласно существующему положению.
6.2. ОХРАНА ТРУДА В ПОМЕЩЕНИЯХ С ТЕХНИЧЕСКИМ МИКРОКЛИМАТОМ.
6.2.1. Общая характеристика технологического микроклимата в помещении и его влияние на организм работающих.
Микроклимат производственных помещений – это климат внутренней среды помещений, определяемый действующими на организм человека сочетаниями температуры, влажности и скорости движения воздуха, а также температуры окружающих поверхностей. Кроме этих параметров являющихся основными, не следует забывать об атмосферном давлении. Жизнедеятельность человека может походить в довольно широком диапазоне давлений 734–1267 гПа (550–950 мм рт. ст.). Однако здесь необходимо учитывать, что для здоровья человека опасно быстрое изменение давления, а не сама величина этого давления.
Между организмом
человека и внешней средой происходит
непрерывный процесс теплового обмена,
состоящий в передаче вырабатываемого
организмом тепла в окружающую среду.
При этом следует учесть, что независимо
от условий окружающей среды температура
тела сохраняется постоянной на уровне
36.6–37 С.
Это явление называется терморегуляцией.
Длительное воздействие на человека неблагоприятных метеорологических условий резко ухудшает его самочувствие, снижает производительность труда и часто приводит к заболеваниям.
При высокой температуре воздуха в помещении кровеносные сосуды расширяются, при этом происходит повышенный приток крови к поверхности тела, и теплоотдача в окружающую среду значительно увеличивается. Однако при температурах окружающего воздуха и поверхностей оборудования и помещений 30–35.5 С отдача теплоты конвекцией и излучением в основном прекращается. При более высокой температуре воздуха большая часть теплоты отдается путем испарения с поверхности кожи. В этих условиях организм теряет определенное количество влаги, а вместе с ней и соли, играющие важную роль в жизнедеятельности организма.
При воздействии высокой температуры воздуха возможен перегрев организма, который характеризуется повышением температуры тела, обильным потоотделением, учащением пульса и дыхания, резкой слабостью, головокружением, а в тяжелых случаях – появлением судорог и возникновением теплового удара. Особенно неблагоприятные условия возникают в том случае, когда наряду с высокой температурой в помещении наблюдается повышенная влажность, ускоряющая возникновение перегрева организма.
Влажность воздуха оказывает большое влияние на терморегуляцию организма. Повышенная влажность (более 80 %) затрудняет терморегуляцию из–за снижения испарения пота, а слишком низкая влажность (менее 20 %) вызывает ощущение сухости слизистых оболочек верхних дыхательных путей, ухудшение самочувствия и снижение работоспособности.
Движение воздуха в помещениях является важным фактором, влияющим на тепловое самочувствие человека. В жарком помещении движение воздуха способствует увеличению отдачи теплоты организмом и улучшает его состояние, но оказывает неблагоприятное воздействие при низкой температуре воздуха в холодный период года.
При понижении температуры окружающего воздуха реакция человека организма иная: кровеносные сосуды сужаются, приток крови к поверхности тела замедляется, и отдача теплоты конвекцией и излучением уменьшается. Таким образом, для теплового самочувствия человека важно определенное сочетание температуры, относительной влажности и скорости движения воздуха в рабочей зоне.
Низкая температура воздуха может вызвать местное и общее охлаждение организма, стать причиной простудного заболевания или обморожения.
6.2.2. Нормативные санитарно–гигиенические параметры среды, средства и методы их обеспечения при организации технологического микроклимата
При нормировании микроклимата учитываются оптимальные и допустимые условия. Оптимальные микроклиматические условия характеризуются сочетанием параметров микроклимата, которые при длительном и систематическом воздействии на человека обеспечивают сохранение нормального функционального и теплового состояния организма без напряжения реакций терморегуляции. Они обеспечивают ощущение теплового комфорта и создают предпосылки для высокого уровня работоспособности. Допустимые микроклиматические условия характеризуются сочетанием параметров микроклимата, которые при длительном и систематическом воздействии на человека могут вызвать переходящие и быстро нормализующиеся изменения функционального и теплового состояния организма и напряжение реакций терморегуляции, не выходящие за пределы физиологических приспособительных возможностей. При этом не возникает повреждений или нарушений состояния здоровья, но могут наблюдаться дискомфортные теплоощущения, ухудшение самочувствия и понижение работоспособности.
Для рабочей зоны помещения устанавливаются оптимальные и допустимые микроклиматические условия, при выборе которых учитываются:
1) время года – холодный и переходной периоды со среднесуточной температурой наружного воздуха ниже +10 С; теплый период с температурой +10 С и выше;
2) категория работы;
все работы по тяжести подразделяются на категории:
а) легкие физические работы с энергозатратами до 172 Дж/с;
б) физические работы средней тяжести с энергозатратами 172–293 Дж/с;
в) тяжелые физические работы с энергозатратами более 293 Дж/с;
3) характеристика помещений по избыткам явной теплоты. Все производственные помещения делятся на помещения:
а) с незначительными
избытками явной теплоты, приходящимися
на один кубический метр объема помещения,
23.2 Дж/(
х c) и менее;
б) со значительными
избытками – более 23.2 Дж/(
х c).
Явная теплота– теплота, поступающая в рабочее помещение от оборудования, отопительных приборов, нагретых материалов, людей и других источников, а так же в результате солнечной реакции.
В таблице 6 приведены оптимальные значения параметров микроклимата в рабочей зоне, в таблице 7 приведены допустимые значения параметров в холодный и переходной периоды года.
Требуемое состояние воздуха рабочей зоны может быть обеспечено выполнением определенных мероприятий, к основным из которых относятся:
Механизация и автоматизация производственных процессов, и дистанционное управление ими.
Применение технологических процессов и оборудования, исключающих образование вредных веществ или попадания их в рабочую зону.
Защита от источников теплового излучения. Это важно для снижения температуры воздуха в помещении и теплового облучения работающих.
Устройство вентиляции и отопления.
Применение средств индивидуальной защиты.
Таблица 6 Оптимальное значение параметров микроклимата в рабочей зоне
|
ПЕРИОД ГОДА |
КАТЕГОРИЯ РАБОТ |
ТЕМПЕРАТУРА,С |
ОТНОСИТЕЛЬНАЯ ВЛАЖНОСТЬ, % |
СКОРОСТЬ ДВИЖЕНИЯ ВОЗДУХА, М/С, НЕ БОЛЕЕ |
|
ХОЛОДНЫЙ И ПЕРЕХОД- НЫЙ |
ЛЕГКАЯ I СРЕДНЕЙ ТЯЖЕСТИ IIа СРЕДНЕЙ ТЯЖЕСТИ IIБ ТЯЖЕЛАЯ III |
20–23 18–20 17–19 16–18 |
60–40 60–40 60–40 60–40 |
0.2 0.2 0.3 0.3 |
|
ТЕПЛЫЙ |
ЛЕГКАЯ I СРЕДНЕЙ ТЯЖЕСТИ IIа СРЕДНЕЙ ТЯЖЕСТИ IIБ ТЯЖЕЛАЯ III |
22–25 21–23 20–22 18–21 |
60–40 60–40 60–40 60–40 |
0.2 0.3 0.4 0.5 |
Таблица 7 Допустимые значения параметров в холодное и переходное время
|
КАТЕГОРИЯ РАБОТ |
ТЕМПЕРАТУ- РА ВОЗДУХА, С |
ОТНОСИТЕЛ ЬНАЯ ВЛАЖНОСТЬ ВОЗДУХА, %, НЕ БОЛЕЕ |
СКОРОСТЬ ДВИЖЕНИЯ, ВОЗДУХА М/С, НЕ БОЛЕЕ |
ТЕМПЕРАТУ- РА ВОЗДУХА ВНЕ ПОСТОЯНН- ЫХ РАБОЧИХ МЕСТ, С |
|
ЛЕГКАЯ I |
19–25 |
75 |
0.2 |
15–26 |
|
СРЕДНЕЙ ТЯЖЕСТИ IIа |
17–23 |
75 |
0.3 |
13–24 |
|
СРЕДНЕЙ ТЯЖЕСТИ IIБ |
15–21 |
75 |
0.4 |
13–24 |
|
ТЯЖЕЛАЯ |
13–19 |
75 |
0.5 |
12–19 |
Вентиляция является наиболее эффективным средством для снижения концентрации вредных веществ (газов, паров, пыли), а так же снижение тепла и влаги после совершенствования технологического процесса и оборудования. Основное назначение вентиляции – осуществление воздухообмена, обеспечивающего удаление из рабочего помещения загрязненного или перегретого воздуха и подачи чистого воздуха.
По способу осуществления воздухообмена вентиляцию разделяют на естественную искусственную. Естественная вентиляция осуществляется за счет разности температур воздуха в помещении и наружного воздуха или действие ветра. Естественная вентиляция может быть неорганизованной и организованной. Неорганизованная вентиляция обеспечивает воздухообмен за счет форточек, фрамуг, дверей. Организованная вентиляция поддается регулировке и осуществляется за счет аэрации и дефлекторов.
Аэрация является средством борьбы с избыточным тепловыделением в горячих цехах и участках. Дефлекторы применяются для удаления загрязненного или перегретого воздуха из помещений небольшого объема, а также для местной вентиляции.
Механическая вентиляция может быть приточной, вытяжной и приточно–вытяжной, а по месту действия общеобменной и местной.
Общеобменная вентиляция предназначена для обмена воздуха всего помещения и способствует удалению вредных веществ, выделяющихся равномерно и по всему помещению. Приточная вентиляция служит для подачи в рабочее помещение чистого наружного воздуха, вытяжная – для удаления загрязненного воздуха. Местная вентиляция предназначена для удаления вредных веществ непосредственно в месте их образования.
Приточный и удаляемый воздух подвергается обработке – нагреву и охлаждению, увлажнению и очистке от загрязнений. Подогрев воздуха осуществляется калориферами, охлаждение воздуха осуществляется пропусканием его через оросительную камеру.
Для очистки воздуха от пыли и других аэрозолей применяются пылеосадительные камеры, циклоны, масляные, матерчатые и слоистые фильтры, электрические фильтры.
Для автоматического поддержания в производственных помещениях оптимальных величин температуры, чистоты, влажности и скорости движения воздуха независимо от наружных метеорологических условий применяются специальные установки – кондиционеры.
Для поддержания в помещении в холодное время года нормальной температуры воздуха применяется отопление. Наиболее эффективны в санитарно–гигиеническом отношении системы водяного отопления.
Заключение
В данном дипломном проекте разработано устройство синхронизации шкал времени удалённых пунктов по сигналам «Глонасс".
Синхронизация излучения всех радионавигационных средств с помощью данного устройства будет способна объединить частные радионавигационные поля в Единое радионавигационное поле, что позволит более гибко предоставлять навигационно-временное обеспечение различным потребителям в необходимых районах.
В первой главе дипломного проекта был произведен обзор и анализ различных литературных источников. В ней даны краткие сведения о спутниковых навигационных системах, возможности решения задачи согласования шкал времени, методах сверки и коррекции ШВ. Результатом выполнения этой главы явилась систематизация знаний в данной области. Стали чётко понятными задачи дипломного проекта.
Во второй главе был выбран наиболее подходящий для поставленной задачи метод. Таким способом является способ синхронизации который заключается в независимой работе синхронизируемых пунктов по НИСЗ ССРНС. При этом каждый из синхронизируемых пунктов независимо сверяет свою ШВ С ШВ сети НИСЗ определяет поправку и корректирует свою ШВ на размер этой поправки. Очевидно что, после проведения сеансов сверки в пунктах ШВ каждого из них оказываются привязанными к шкале времени НИСЗ.
Подверглись рассмотрению различные виды аппаратуры потребителя системы «Глонасс».
Была проанализирована и выбрана структурная схема. Для вычисления поправки к ШВ ЭЧ как наиболее удовлетворяющий современным тенденциям области проектирования устройств цифровой обработки информации использован микропроцессорный элемент. Тем самым обеспечена гибкость разработанного устройства по отношению к изменениям в его структуре (например, изменение алгоритма вычисления), уменьшится количество применяемых элементов, снизится стоимость разработки на этапе проектирования и внедрения, повысятся характеристики по точности и быстродействию.
Далее была разработана функциональная схема. Были выбраны микропроцессор, ОЗУ, ПЗУ и другие узлы. Далее был разработан алгоритм работы устройства.
Всё это позволило произвести синтез принципиальной схемы.
В третьей главе приведен электрический расчет принципиальной схемы устройства вторичного питания для обеспечения работоспособности разработанного устройства.
В четвёртой главе рассмотрен конструктивный расчет и разработан корпус изделия.
В следующей главе
произведен расчет себестоимости
научноисследовательской
работы, построен сетевой график, сетевой
график с
привязкой ко времени и дано
обоснование дипломного проекта с
экономической точки зрения.
Последняя глава посвящена вопросам охраны труда и экологической безопасности, как не отъемлющей части любого производства.
На основании вышеизложенного можно утверждать, что задание на дипломный проект выполнено – разработано устройство коррекции шкал времени разнесённых навигационных пунктов по сигналам ССРНС «Глонасс».
Литература
Носенко А.А. Сетевые методы методы планирования НИР и ОКР. Методическое пособие по дипломному проектированию (для студентов всех специальностей).
Елецких Т.В., Литвинович К.Р. и др. Методические указания к практическим занятиям по курсу «Экономика предприятия». Минск: БГУИР, 1996, 100с.
Методические указания к лабораторным работам по курсу «Экономика предприятия» для студентов радиотехнических специальностей. Под редакцией Елецких Т.В. Минск: БГУИР, 1996, 100с.
Елецких Т.В., Афитов Э.А. и др. Методические указания по технико-экономическому обоснованию дипломных проектов. Минск: БГУИР, 1996, 122с.
Технологические указания по выполнению регламентных работ и проверке на соответствие нормам основных технических параметров. М.: Воздушный транспорт, 1978г.
Под ред. Шебшаевич В.С. Сетевые спутниковые радионавигационные системы. – 2-е изд., перераб. и доп.– М.: Радио и связь, 1993.– С. 235-240.
Мёллер К. Теория относительности: Пер. с англ./ Под ред. Д. Д. Иваненко.– М.: Атомиздат, 1975.– 400 с.
Чуров Е.П. Спутниковые системы радионавигации. М.: Советское радио, 1977г.
Кузенков В. Д. Спутниковые системы радионавигации. Куйбышев: Куйбышевский авиационный институт, 1987г.
Гражданской Авиации. М.: Транспорт,1983г.
Микропроцессоры. Средства сопряжения. Контролирующие и информационно-управляющие системы. /Вернер В. Д., Воробьев Н. В. и др.; Под ред. Преснухина Л. Н. Минск : Выш. шк.,1987г.
Проектирование цифровых систем на комплектах микро программируемых БИС. /Под ред. Колесникова. В. Г. М.: Радио и связь, 1984г.
Однокристальные микроЭВМ. Справочник. М.: МИКАП, 1994г.
Лебедев О.Н. и др. Изделия электронной техники. Микросхемы памяти. М.: Радио и связь, 1994г.
Сосновский А.А. Авиационная радионавигация. Справочник. М.: Транспорт, 1990г.
Кинкулькин И.Е., Рубцов В.Д., Фабрик М.А. Фазовый метод определения координат. М.: Советское радио,1977г.
Олянюк П.В., Астафьев Г.П., Грачев В.В. Радионавигационные устройства и системы Логические ИС КР1533, КР1554. Справочник. М.: Бином, 1993г.
Интегральные микросхемы: Микросхемы для телевидения и видеотехники. М.: ДОДЭКА, 1995г.
Функциональные устройства на микросхемах / Под ред. Найдерова В.З. М.: Радио и связь, 1985г.
Булычев А.Л. Аналоговые интегральные схемы. Минск: Беларусь, 1994г.
Кислярский Е.Е. Справочник по полупроводниковым приборам. Симферополь: Серафима, 1996г.
Анализ и расчет интегральных схем. Часть 1. Под ред. Линна А. и др.. Перевод с английского под ред. Ермолаева Б. И. М.: Мир, 1969г.
Елецких Т.В., Афитов Э.А. и др. Методические указания по техникоэкономическому обоснованию дипломных проектов. Минск: БГУИР, 1996г.
Компоновка и конструкции микроэлектронной аппаратуры. Под ред. Высоцкого Б.Ф. и др. М.: Радио и связь, 1982г.
Бондаренко О.Е., Федотов Л.М., Конструктивнотехнологическая основа проектирования микросборок. М.: Радио и связь, 1988г.
Анализ и расчет интегральных схем. Часть 2. Под ред. Линна А. и др.. Перевод с английского под ред. Ермолаева Б. И. М.: Мир, 1969г.
Гуськов Г.Я. Монтаж микроэлектронной аппаратуры. М.: Радио и связь, 1986г.
Лебедев О.Т. Конструирование и расчет электронной аппаратуры на основе интегральных микросхем. Л.: Машиностроение, 1976г.
Носенко А.А. Сетевые методы планирования НИР и ОКР. Методическое пособие по дипломному проектированию (для студентов всех специальностей). Минск: БГУИР, 1992г.
Елецких Т.В., Литвинович К.Р. и др. Методические указания к практическим занятиям по курсу «Экономика предприятия». Минск: БГУИР, 1996г.
Методические указания к лабораторным работам по курсу «Экономика предприятия» для студентов радиотехнических специальностей. Под редакцией Елецких Т.В. Минск: БГУИР, 1996г.
Нечаев И.А. Конструирование на логических элементах цифровых микросхем. М.: Радио и связь, 1993г.
Конструирование функциональных узлов ЭВМ на интегральных микросхемах / Под ред. Ермолаева. – М.: Сов. радио, 1978