Тиристоры и некоторые другие ключевые приборы
ТИРИСТОРЫ И НЕКОТОРЫЕ ДРУГИЕ КЛЮЧЕВЫЕ ПРИБОРЫ
1. ЧЕТЫРЕХСЛОЙНЫЕ р-п-р-п СТРУКТУРЫ
Наряду с приборами, дающими возможность осуществлять линейное усиление сигналов, в электронике, в вычислительной технике и, особенно в автоматике широкое применение находят приборы с падающим участком вольтамперной характеристики. Эти приборы чаще всего выполняют функции электронного ключа и имеют два состояния: запертое, характеризующееся высоким сопротивлением, и отпертое, характеризующееся минимальным сопротивлением.
10—15 лет назад в схемах электронной автоматики в качестве электронного ключа использовали газонаполненный прибор — тиратрон. При подаче управляющего (поджигающего) импульса в баллоне тиратрона начинался лавинный процесс ионизации газа. Промежуток между анодом и катодом становился проводящим и замыкал силовую цепь.
С появлением плоскостного биполярного транзистора появилась в самом начале 50-х годов и четырехслойная структура, получившая вначале название «хук-транзистор», или транзистор с ловушкой в коллекторе.
Несколько позже было замечено, что характеристики такой структуры во многом напоминали характеристики тиратронов, и приборы такого типа получили название тиристоров (по аналогии с терминами тиратрон и транзистор).
В ходе развития полупроводниковой техники появились и другие приборы, обладающие аналогичными характеристиками, хотя их работа и основана на других принципах. К числу таких, приборов можно отнести двухбазовый диод и лавинный транзистор. Оба эти прибора не подходят под определение тиристора, однако мы включаем их в эту главу, исходя из области их применения.
Итак, начнём рассмотрение основных физических процессов, протекающих в четырехслойной триодной структуре типа р-п-р-п, в которой выводы сделаны от двух крайних областей и от средней n-области. В соответствии с терминологией МЭК прибор, имеющий такую структуру, называется триод-тиристором. Четырехслойная структура с двумя выводами от крайних областей называется диод-тиристором.
Если транзистор типа р-п-р-п включить в схему так, как обычно включается транзистор типа р-п-р, т. е. считать правую n-область коллектором, и подать на нее отрицательное по отношению к базе (средняя n-область) смещение, а эмиттер (левая р-область) временно оставить разомкнутым, то подключенную к источнику питания

рис.1 Схематическое изображение биполярного транзистора типа р-п-р-п с двойным переходом (ловушкой) в коллекторе.
часть транзистора, состоящую из трех областей, можно рассматривать как самостоятельный транзистор типа п-р-п, подключенный эмиттером и коллектором к источнику питания. База этого условного транзистора к схеме не подключена, транзистор работает в режиме нулевого тока базы (рис.1).
Так как в данном случае мы имеем дело не с транзистором р-п-р, а с транзистором п-р-п, то очевидно, что коллектором этого условного транзистора должен быть электрод, к которому подводится положительное напряжение, а эмиттером — электрод, к которому подводится отрицательное напряжение. Другими словами, полярность приложенного к условному транзистору напряжения такова, что средний р-п переход имеет смещение в обратном направлении и на нем падает почти все напряжение источника питания, тогда как правый р-п переход имеет смещение в прямом направлении.
Обозначая двумя штрихами величины, относящиеся к этому условному транзистору, запишем
I’’>к>= I’’>э> =(B’'>0>+1)* I’’>к>>0>
Отметим, что для структуры р-п-р-п в целом этот ток будет представлять собой коллекторный ток при отключенном эмиттере. Величины, относящиеся ко всей рассматриваемой нами структуре, будем записывать без индексов. Таким образом,
I>к>>0> = I’’>к> =(B’'>0>+1)* I’’>к>>0>
т. е. обратный ток. коллектора структуры р-п-р-п в (B’'>0>+1) раз превосходит обратный ток одиночного перехода. Это одна из особенностей структуры р-п-р-п.
Так как выходным электродом условного транзистора п-р-п является его эмиттер, а коллектор подключен к заземленной точке, то можно считать, что условный транзистор включен по схеме с общим коллектором. Входным электродом условного транзистора является его база, т. е. средняя р-область.
Для транзистора, включенного по схеме с общим коллектором, усиление по току как отношение изменения выходного тока к вызвавшему его изменению входного тока будет равно






I’’>э
>
I’’>э
>1>
>1


I’’>б
>I’’>э>-
I’’>к
>1->
>I’’>к>/I’’>э
>1
-
’’>0>
Следовательно, изменение тока базы условного транзистора должно привести к изменению тока в выходной цепи, в 1/ (1 - ’’>0> ) раз большему.
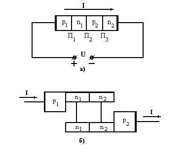
Если подать смещение в прямом направлении на левый р-п переход, то он будет инжектировать дырки в среднюю n-область. Дырки будут распространяться диффузионно в направлении среднего р-п перехода, втягиваться его полем и выбрасываться в среднюю р-область. Три левых слоя работают при этом, как транзистор типа р-п-р, включенный с общей базой. Ток эмиттера этого левого условного транзистора I’>э> будет, очевидно, равен току эмиттера I>э> структуры р-п-р-п.
Таким образом, получаем, что структура р-п-р-п представляет собой как бы два наложенных один на другой плоскостных транзистора, из которых первый является транзистором р-п-р, включенным по схеме с общей базой, а второй — транзистором
п-р-п, включенным по схеме с общим коллектором. Рис а, б
Так как области n>1> и n>2> практически представляют собой одну и ту же n-область, связанную выводом базы с заземленной точкой, то мы имеем все основания заземлять отдельно каждую из этих областей, оставив области p>1> и р>2> соединенными проводником.
Усиление по току структуры в целом определяется соотношением
>0>’> 0>/[1-’’> 0>]
Таким образом, при условии, что коэффициент усиления по току каждого из условных транзисторов ( ’>0>, и ’’>0>) меньше единицы, коэффициент передачи тока структуры


а) б)
Схематическое изображение двух стадий (а и б) разделения транзистора р-п-р-п на два условных триода р-п-р и п-р-п
р-п-р-п в целом может значительно превышать единицу. Поясним механизм работы этой структуры с помощью энергетических диаграмм рис. 2. Когда отсутствует внешнее напряжение, положение границ зон структуры р-п-р-п (рис. 2 а) будет иметь вид, представленный на рис. 2 б
Дополнительный потенциальный барьер в коллекторе принято обычно называть ловушкой, в связи с чем структуру типа р-п-р-п иногда называли транзистором с ловушкой в коллекторе.
Когда приложены внешние напряжения указанной выше полярности, высота потенциального барьера среднего перехода резко возрастает, а высота левого и правого потенциальных барьеров несколько понижается. Если рассматривать только теоретическую модель, т. е. пренебречь падением напряжения на распределенном сопротивлении, то высота левого барьера понизится на величину приближенного к эмиттеру напряжения, а высота правого барьера на величину, определяемую током I’>к>, протекающим через этот переход рис.в
Изменение напряжения между эмиттером и базой приводит к инжекции дырок в среднюю n-область. Диффундируя через среднюю n-область и попадая через запертый переход в среднюю р-область, дырки повышают концентрацию основных носителей в этой области.
Повышение концентрации основных носителей в средней р-области приводит к понижению высоты правого р-п перехода и инжекции электронов из правой n-области в среднюю р-область. Электроны проходят среднюю р-область и уходят через потенциальный барьер в среднюю n-область. Часть из них рекомбинирует в р-области.
Условие равновесия и электрической нейтральности требует чтобы число дырок, вошедших в р-область, было равно числу электронов рекомбинировавших при движении через p-область.
Отсюда ясно, что поскольку рекомбинирует в объеме 1 - ’’>0> от всех вошедших в этот объем электронов то появление в средней р-области некоторого количества дырок
вызывает инжекцию в эту область в 1/(1 - ’’>0>> >раз большего количества электронов. Так как число дырок, достигших средней р-области,’>0> в раз меньше числа дырок, инжектированных эмиттером (левой p-областью), а число электронов, вызванных этими дырками из правой n-области, в 1/(1 - ’’>0>> > раз больше, чем число дырок, достигших р-области, то результирующий коэффициент передачи тока оказывается равным:
>0> = ’>0> /(1 - ’’>0>)

Рис. 2. Диаграммы положения границ зон и прохождения носителей заряда в структуре р-п-р-п:
а—схематическое изображение структуры р-п-р-п, б - положение границ зон при отсутствии внешних напряжений, в—положение границ зон при подаче, на коллектор отрицательного, а на эмиттер положительного смещения относительно базы
положение границ
зон до подачи смещения,
изменение положения
границ зон правого перехода при попадании
инжектированных эмиттером дырок
в среднюю р-область.
Коэффициент усиления по току, превышающий единицу, при соответствующем направлении входного и выходного тока обеспечивает работу прибора в ключевом режиме.
Биполярный транзистор при включении его по схеме с общей базой имеет необходимые направления токов, но его коэффициент усиления по току >0> < 1. При включении по схеме с общим эмиттером коэффициент усиления по току превышает единицу (B>0> > 1), но не соблюдаются необходимые направления токов. В четырехслойной тиристорной структуре выполняются оба эти условия.
Динистор. Рассмотрим работу диода состоящего из четырех чередующихся слоев p>1>-n>1>-p>2>-n>2> (рис. 5-8, а). Если подать на него не очень большое напряжение U плюсом на слой р>1> и минусом на слой n>1>, то потечет ток, как показано стрелкой. В результате переходы П>1> и П>2> будут работать в прямом направлении, а переход П>2> - в обратном. Таким образом, получится как бы сочетание двух транзисторов в одном приборе (рис.5-8, б) (Комбинация транзисторов р-п-р и п-р-п, показанная на рис. 5-8, б, действительно обладает свойствами динистора и может быть использована на практике.): одним транзистором является комбинация слоев p>1>-n>1>-p>2>, другим - комбинация слоев п>1>-р>2>-n>2>. Слои p>1>> >и n>2> являются эмиттерами, n>1> и p>2>, — базами для одного транзистора и коллекторами для второго. Во избежание путаницы их называют базами. Переход П>2> называют коллекторным.

Рис 3. Структура динистора (а) и его двухтранзисторный эквивалент (б).
Рассмотрим четырехслойную структуру, изображенную на рисунке 3. В этом случае напряжение окажется приложенным с основном к переходу П>2>, который будет работать в режиме коллектора. Переходы П>1> и П>2 >окажутся смещенными в прямом направлении. Переход П будет представлять собой эммитер, инжектирующий неосновные носители в область n>1>, выполняющую роль базы для первого эммитера. Дырки, прошедшие первую базу и коллекторный переход П>2>, появляются во второй базе. Их нескомпенсированный объемный заряд будет понижать высоту потенциального барьера перехода П>3> и вызывать встречную инжекцию электронов.
Аналогичным образом можно рассматривать инжекцию электронов из области n2 в область p2 их появление в область n1 и встречную вторичную инжекцию дырок из области p1 в область n1. Таким образом, обе крайние области выполняют роль эммитеров, причем каждый эммитер отвечает вторичной встречной инжекцией на инжекцию другого эммитера. Этим создаются все необходимые предпосылки для развития лавинного процесса. Тем не менее лавинный процесс роста тока через систему начинается не при любом напряжение на структуре, а только при некотором достаточно большом напряжении.
Если изменить полярность напряжения, приложенного к рассматриваемой структуре, на обратную, то переходы П>1 >и П>3> окажутся смещенными в обратном направлении. Если оба эти перехода достаточно высоковольтные, то вольт-амперная характеристика будет иметь вид обратной ветви обычной диодной характеристики.
Пока коллекторный переход работает в обратном направлении, практически все приложенное напряжение U падает на нем. Поэтому при больших значениях U следует учитывать ударную ионизацию в этом переходе. Примем для дырок и электронов один и тот же коэффициент умножения М (чтобы не усложнять выкладки) и обозначим через >> и >> интегральные коэффициенты передачи тока от переходов П>1> и П>3> к переходу П2. Тогда ток последнего можно записать в следующем виде:
I>п2>=M(I>>>>>>) (1)
где I>k0>—сумма теплового тока, тока термогенерации и тока утечки в переходе П2.
Поскольку токи через все три перехода одинаковы и равны внешнему току I, легко находим:
I=MI>k0>/(1-M
Здесь =>>->> суммарный коэффициент передачи тока от обоих эмиттеров к коллекторному переходу. Выражение (2) в неявном виде является вольт-амперной характеристикой динистора, так как параметр M в правой части зависит от напряжения (Ток I>k0 > при том его определении, которое было дано в формуле (1), тоже зависит от напряжения. Однако учет этой зависимости наряду с зависимостью М. (U) сильно усложняет задачу. В некоторых случаях (например, если переход П2, зашунтирован небольшим заранее известным сопротивлением) можно пренебречь функцией М (U) и считать зависимость от напряжения сосредоточенной в функции I>k0> (U). В других случаях можно учесть зависимость (U) и пренебречь функциями М (U) и I>k0> (U). Наконец, можно использовать различные 'комбинации этих функций. Общая методика анализа при этом не меняется.). Структура выражения (2) такая же, как в случае лавинного транзистора при I>б> == 0. Такое сходство вполне естественно, поскольку оба «составляющих транзистора» в динисторе (рис. 3, б) включены по схеме ОЭ с оборванной базой.
Вольт-амперная кривая динистора вместе с его условным обозначением показана на рис. 4. Как видим, она подобна характеристике лавинного транзистора в схеме ОЭ (см. рис. 4)..Однако существенным преимуществом динисторов является то, что рабочее напряжение в области больших токов у них значительно меньше и почти не зависит от тока. Кроме того, динисторы работают без всякого предварительного смещения в цепи базы в отличие от лавинных транзисторов, у которых такое смещение необходимо (рис. 4, а). Критические точки характеристики на рис. 4, в которых r == dU/dI == 0, называют соответственно точкой прямого переключения (ПП) и точкой обратного переключения (ОП).

Рис. 4. Вольт-амперная характеристика динистора. а-начальный участок; б-полная кривая.
Происхождение отрицательного участка на характеристике динистора обусловлено той же причиной, что и в лавинном транзисторе. А именно, у обоих приборов на этом участке задан постоянный ток базы (у динистора он равен нулю). Поэтому должно выполняться соотношение dI>k> = dI>э>, т. е. дифференциальный коэффициент а должен быть все время равен единице. С ростом тока величина стремится возрасти, но это возрастание предотвращается уменьшением напряжения на коллекторном переходе, т. е. ослаблением ударной ионизации. Такой же вывод следует из формулы (2), в которых знаменатель не может быть отрицательным, и, следовательно, начиная с некоторой рабочей точки, увеличение интегрального коэффициента должно сопровождаться уменьшением коэффициента M,т. е. уменьшением коллекторного напряжения.
Однако, несмотря на определенное сходство с лавинным транзистором, имеет принципиальную особенность. Эту особенность легко показать, если представить вольт-амперную характеристику в форме U(I). Подставив выражение для характеристики в области ионизации в (2) и решив последнее относительно напряжения, получим:
U=U>M>[1-(>>)/I]1/n (3)
У лавинного транзистора, у которого < 1 при любом токе, напряжение U>k> всегда имеет конечную величину. У динистора, у которого суммарный коэффициент == >>+>>может превышать единицу, напряжение U (точнее, напряжение на коллекторном переходе) делается равным нулю при некотором конечном токе /. При еще большем токе формулы (2) и (3) становятся недействительными, так как
коллекторный переход оказывается смещенным в прямом направлении и механизм работы динистора качественно изменяется. Рассмотрим отдельные участки характеристики, показанной на рис. 4.
Начальный участок 1 характерен очень малыми токами, при которых можно считать 0. Сопротивление на этом участке весьма велико, поэтому заданной величиной всегда бывает напряжение, а ток можно найти по формуле (2).
На переходном участке 2 рост напряжения замедляется, а сопротивление резко падает. Эти изменения являются следствием увеличения коэффициента а и могут быть легко оценены с помощью выражения (3).
В конце второго участка, в точке ПП, сопротивление обращается в нуль, а затем (при заданном токе) становится отрицательным. Координаты точки прямого переключения определяются условием dU/dI = 0.
Напряжение U>п.п> обычно близко к величине U>m> и для разных типов динисторов лежит в широких пределах от 25—50 до 1 000—2 000 в ( Эти цифры характерны для серийных динисторов. Можно изготовить аналогичные приборы с рабочими напряжениями всего в несколько вольт). Ток I>п.п> лежит в пределах от долей микроампера до нескольких миллиампер в зависимости от материала и площади переходов.
На отрицательном участке 3 характеристика по-прежнему описывается формулой (3), которую, однако, можно упростить, полагая > I>k0>. Тогда
UU>M>(1-)1/n (4)
где увеличивается с ростом тока. Дифференцируя (4) по току, получаем сопротивление на этом участке:
r= - U>M> (ddI) / n(1-)[n-1]/n (5)
Отсюда видно, что величина сопротивления должна существенно меняться с изменением тока. Характер этого изменения определяется функцией (I) и в общем случае может быть немонотонным. Однако чаще всего сопротивление r возрастает (по модулю) с ростом тока. Средняя величина r между точками ПП и ОП лежит обычно в пределах от 5—10 до 50—100 ком.
Коллекторное напряжение, уменьшаясь на участке 3, делается равным нулю в точке Н (Точка Н обозначает границу режима насыщения—режима, в котором и эмит-терные, и коллекторный переходы работают в прямом направлении.). Из формулы (3) при U = 0 получаем соотношение
I=I>k0>/[1-> >> >(6)
из которого определяется ток I>н>. Поскольку этот ток несравненно больше, чем I>к0>, его можно определять из условия
= >> + >>>> (7)
пользуясь графиками (I).
Напряжение U>н> является суммой напряжений на эмиттерных переходах, так как U>п2> = 0. Используя формулу U>Э>=>T >ln(I>э>/I`>э0>+1+>n>(euk/yt-1)) при U>k>=0, I>э> = I>н> и считая оба эмиттерных перехода одинаковыми, получаем:
U>н>=2 >T >ln (I>э>/I`>э0>) (8)
Это напряжение составляет несколько десятых долей вольта у германиевых динисторов и 0,5—1 в — у кремниевых.
При токеI > I>н> переход П>2>, будучи смещен в прямом направлении, инжектирует носители навстречу тем потокам, которые поступают от эмиттеров. Инжектируемый компонент тока I>п2> равен разности между собираемым компонентом (>1> I>п1>+ >3> I>п3>) и полным током I>п2>. Поэтому если для простоты положить >1> = 0 (т. е. считать, что носители, инжектируемые переходом П>2>. не доходят до эмиттеров) и принять условие U >>>T> для всех трех переходов, то напряжение на открытом динисторе можно выразить с помощью формулы U>Э>=>T >ln(I>э>/I`>э0>+1+>n>(euk/yt-1)) в виде суммы напряжений на переходах:
U=>T>[ln(I>п1>/ I>э01>)-ln[(>1>>п1>+>3>>п3>)->п2>]/ I>э02>+ln (>п3>/I>э0>>3>)] (9 a)
(токи I`>э0> заменены на I>э0>, так как принято >>= 0).
Учитывая, что I>п1> = I>п2> = I>п3> = I и полагая токи I>э0> одинаковыми у всех переходов, получаем простое приближенное выражение:
U=>T >ln([I/I>э0>]/) (9 б)
Вблизи точки Н, где 1, увеличение тока, а вместе с ним коэффициента а приводит к сильному увеличению разности - 1 и напряжение несколько уменьшается (участок 4). В точке ОП напряжение достигает минимума и в дальнейшем растет с ростом тока (участок 5) за счет падения напряжения в толстой базе (Наличие толстой базы в структуре динистора характерно для большинства реальных приборов по конструктивно-технологическим причинам. Коэффициент переноса в такой базе существенно меньше единицы, поскольку обычно w >> L. Это обстоятельство не препятствует работе динистора, если выполняется условие >1>+ >3>> 1. Более того, малый коэффициент переноса в толстой базе желателен, потому что при этом суммарный коэффициент в области малых токов нарастает медленнее, а это обеспечивает большие напряжения переключения.).
Обычно параметры точек Н и ОП близки друг к другу, поэтому можно вычислять координаты точки ОП по формулам (8) и (9).
При отрицательном напряжении U переход П>2> оказывается смещенным в прямом направлении и дырки инжектируются в слой n>1>, а электроны — в слой p>2>. Переходы П>1> и П>3> смещены в обратном направлении и являются в данном случае коллекторными. Таким образом, динистор в этом режиме эквивалентен двум последовательно включенным транзисторам (р-п-р и п-р-п) с оборванными базами. Напряжение пробоя в такой комбинации зависит от типа переходов П>1> и П>3> (плавные или ступенчатые), а также от материала баз.
Важной проблемой при разработке динисторов и других аналогичных приборов является обеспечение плавного изменения коэффициента а в области малых токов. Действительно, как уже отмечалось, 2-й (переходный) участок вольт-амперной кривой (рис. 4) характерен заметной и растущей ролью слагаемого по сравнению с током >k>>0> в формуле (3). Значит, чем медленнее увеличивается c ростом тока, тем позднее (при больших токах) начнется 2-й участок и тем больше будет напряжение переключения, что обычно желательно в таких приборах. С этой точки зрения предпочтительным материалом для динисторов является кремний, так как у кремниевых переходов благодаря большей роли процессов генерации - рекомбинации коэффициент инжекции при малых токах близок к нулю и с ростом тока увеличивается весьма медленно. Еще одним преимуществом кремния является малая величина тока в запертом состоянии прибора. Однако, с другой стороны, кремниевые переходы характерны большей величиной прямого напряжения и большим сопротивлением слоев. Это ухудшает параметры динистора в открытом состоянии.

Рис. 5. Структура тринистора.
Чтобы ослабить зависимость (I) при малых токах (особенно у германиевых структур), часто шунтируют эмиттерный переход небольшим сопротивлением R. Тогда значительная часть общего тока ответвляется в это сопротивление, минуя эмиттер. Тем самым эмиттерный ток, а вместе с ним и коэффициент а при прочих равных условиях уменьшаются.
В последнее время одну из баз динисторов обычно легируют золотом. Цель такого легирования - уменьшить время жизни и тем самым время переключения. При этом одновременно возрастает отношение w/L (поскольку L =(d), а значит, и коэффициент , что опять-таки способствует повышению напряжения переключения.
Тринистор. Снабдим одну из баз динистора, например п>1>, внешним выводом и используем этот третий электрод для задания дополнительного тока через переход p>1>-n>1> (рис. 5) (Реальные четырехслойные структуры характерны различной толщиной баз. В качестве управляющей используется тонкая база, у которой коэффициент передачи >> близок к единице.). Тогда получится прибор, обладающий свойствами тиратрона. Для такого прибора (тринистора) принята та же терминология, что и для обычного транзистора: выходной ток называется коллекторным, а управляющий — базовым. Эмиттером считается слой, примыкающий к базе, хотя с физической точки зрения эмиттером является и второй внешний слой (в нашем случае п>2>). Условное обозначение тринистора вместе с семейством характеристик показано на рис. 6. Как видим, увеличение управляющего тока I>б >приводит прежде всего к уменьшению напряжения прямого переключения. Кроме того, несколько возрастает ток прямого переключения, а ток обратного переключения уменьшается.В результате отдельные кривые с ростом тока I>б> как бы «вписываются» друг в друга вплоть до полного исчезновения отрицательного участка (такую кривую называют спрямленной характеристикой).
Элементарный анализ тринистора можко провести, исходя из формулы (1), в которой нужно положить I>п3> = I>п2> = I>k> и I>п1> = I>k> + I>б>. Тогда вместо формулы (2) получим для тока I>k> более общее выражение
I>k >= (MI>k0>+(M>1>)I>б>)/(1-M
Здесь по-прежнему = >> + >> — суммарный коэффициент передачи, в котором составляющая >> является функцией тока I>k>, а составляющая >>- функцией суммы токов I>k> + I>б>. Задавая положительный ток I>б>, мы тем самым задаем начальное значение коэффициента >> (при I>k> ==0). Поэтому любому току I>k> будет соответствовать большее значение , а значит, и большее значение а, чем при I>б> = 0.

Рис. 6. Вольт-амперные характеристики тринистора при положительном токе базы.
Решая (10) относительно M и используя выражение для характеристики в области ионизации, не-. трудно представить вольт-амперные характеристики тринистора в форме U>к> (I>к>):
U>к> =U>m>[(1- I>к> + I>к>>0> +>1>I>б>)/ I>к>]1/n (11)
В частном случае, при I>б> = 0, получается характеристика динистора (3). Выражение (11) ясно показывает, что данному току I>к >соответствует тем меньшее напряжение U>k>, чем больше ток I>б> (рис.6). Рассмотрим отдельные участки этого семейства.
На начальном участке мы имеем по существу семейство характеристик обычного транзистора в схеме ОЭ.
Координаты точек прямого переключения определяются, как и в динисторе, условием dU>k>/dI>k>, == 0. Анализ показывает, что ток I>п.п> возрастает с увеличением тока базы.
На рис. 7 показана пусковая характеристика тринистора, т. е. зависимость U>п.п> (I>б>).
Координаты точки Н, в которой напряжение на коллекторном переходе П>2> падает до нуля, определяются условием U>k >= 0 в формуле (11).
Так же как в динисторе, можно в этой точке считать 1 и определять ток I>н> из условия
>1>(I>н> + I>б>)+>3>(I>н>)==1. (12)
Отсюда видно, что увеличение тока I>б>, а значит, и коэффициента >1>> >сопровождается уменьшением коэффициента >3>, а значит, и тока I>н>. Соответственно несколько меньше будет и ток I>o.>>п> в точке обратного переключения.
Параметры тринистора в открытом состоянии практически не отличаются от параметров динистора, поскольку ток I>k> в этой области значительно больше тока I>б>, и поэтому токи обоих крайних переходов почти одинаковы.

Рис. 7. Пусковая характеристика тринистора
До сих пор мы рассматривали кривые с параметром I>б> >0. При этом подразумевалось, что источник базового тока представляет собой э. д. с. E>б> < О, включенную последовательно с сопротивлением R>б> (см. рис. 6). В частном случае, при I>б>=0, можно было считать E>б >= 0; r>б> = . Теперь рассмотрим работу тринистора в условиях обратного смещения (E>б> > 0) (рис. 8). Пусть э. д. с. E>б> достаточно велика и эмиттерный переход заперт. Тогда тринистор превращается в транзистор п>1>-р>2>-п>2> (с оборванной базой p>2>), который включен последовательно с сопротивлением R>б> и питается напряжением E>б> + U>k>. Коллекторный ток при таком включении будет током транзистора в схеме ОЭ с оборванной базой:
I>k>=MI>k0>/(1-M>3>)
где >3 >- коэффициент передачи тока от перехода П>3> к переходу П>2>. Реальное запирающее смещение на эмиттерном переходе будет меньше, чем э. д. с. E>б>, на величину I>k> R>б>. С ростом тока I>k> смещение будет уменьшаться, и при некотором токе I>0>, когда E>б> - I>0>R>б> = 0, эмиттерный переход отопрется. После этого базовый ток будет иметь неизменную отрицательную величину:

Рис. 8. Вольт-амперные характеристики тринистора при отрицательном токе базы.
I>б>= -I>0>= -E>б>/R>б > (13)
которую можно считать параметром соответствующей характеристики. Если в формуле (11) положить >1>= и = >3> и подставить I>k> = I>0>, можно получить напряжение отпирания эмиттерного перехода:
U>0> =U>M> [1-(>3> I>0> + I>k0>)/ I>0>]1/n (14)
Из формулы (13) видно, что ток I>0>, равный параметру кривой (току I>б>), возрастает вместе с модулем параметра. Что касается напряжения U>0>, то оно несколько увеличивается.
Ток обратного переключения можно найти из уравнения (12), если считать I>н>I>о,п> В случае малых отрицательных токов базы ток I>о,п> заметно больше тока I>0>I>б>. При больших токах I>б> эта разница уменьшается. Отношение I>о,п>/I>б> можно назвать коэффициентом усиления при выключении; он определяется .величиной а>1>/(а-1) и в обычных тринисторах не превышает (1). Очевидно, что с точки зрения управляемости при запирании суммарный коэффициент передачи а не следует делать намного большим единицы.
На рис. 9, а показана типичная схема включения тринистора, а на рис. 9, б - ее рабочий цикл. Пусть E>k> < U>п>>,по>. Тогда в запертом состоянии и при токе I>б> = 0 рабочей точкой будет точка а. Увеличивая ток I>б> до значения I>б1>, мы вызовем скачкообразный переход рабочей точки из положения a>1> в положение b. В этом открытом состоянии тринистора падение напряжения на нем составляет всего лишь около 1 в, как и в динисторе. Поэтому ток нагрузки практически равен E>k>/R>k>. Для того чтобы запереть тринистор, т. е. вернуться в точку а, нужно либо уменьшить рабочий ток до величины I>k> < I>o.>>п>

Рис 9. Типовая схема включения тринистора (а) и ее рабочий цикл (б)
(путем понижения питающего напряжения), либо задать в базу отрицательный импульс тока. Оба случая иллюстрируются пунктирными линиями на рис. 9, б.
В первом случае рабочая точка скачком переходит из положения b>1> в положение a>2>, а затем (после восстановления Э. Д. С. E>k>) - в исходную точку а. Во втором случае из точки b происходит скачок в точку a>3>, а затем (по окончании запирающего импульса) возвращение в точку а. Первый путь известен из тиратронной техники, второй специфичен для тринистора, так как тиратрон нельзя погасить со стороны сетки. Правда, базовый ток «гашения» в тринисторе оказывается сравнительно большим из-за малого коэффициента усиления при выключении.
Основная тенденция при разработке современных тринисторов состоит в повышении рабочих токов и, напряжений с тем, чтобы заменить соответствующие газоразрядные приборы (газотроны и тиратроны). В настоящее время рабочие токи тринисторов лежат в пределах 1 000— 2 000 а, а рабочие напряжения — в пределах 2—3 кв. При прочих равных условиях динисторы и тринисторы значительно превосходят газоразрядные приборы по коэффициенту полезного действия, а также по габаритам, весам и сроку службы.
Мощные тринисторы используются в качестве контакторов, коммутаторов тока, а также в преобразователях постоянного напряжения, инверторах и выпрямительных схемах с регулируемым выходным напряжением.
Времена переключения у тринисторов значительно меньше, чем у тиратронов. Даже у мощных приборов (с токами в десятки ампер и больше) время прямого переключения составляет около 1 мксек,а время обратного переключения не превышает 10—20-мксек. Следует заметить, что наряду с конечной длительностью фронтов напряжения и тока имеют место задержки фронтов по отношению к моменту подачи управляющего импульса.
Наряду с мощными тринисторами разрабатываются и маломощные высокочастотные варианты. В таких приборах время прямого переключения может составлять десятки, а время обратного переключения — сотни наносекунд. Столь высокое быстродействие обеспечивается малой толщиной слоев и наличием электрического поля в толстой базе. Маломощные быстродействующие тринисторы используются в различных спусковых и релаксационных схемах.