Горизонтальный кожухотрубный испаритель
Лабораторная работа № 2. Петров С А
ХтиТ-5-1
Испарители.
Испаритель - это теплообменный аппарат, в котором хладагент кипит за счет теплоты, отнимаемой от хладоносягеля.
На интенсивность теплопередачи при кипении влияют следующие факторы:
1. Плотность теплового потока, зависящая от температурного напора между теплопередающей поверхностью и кипящей жидкостью, физических свойств жидкости;
2. Смачиваемость теплопередающей поверхности жидкостью;
если кипящая жидкость хорошо смачивает поверхность, то пузырьки образуются небольшие, легко отделяются от поверхности, улучшая теплопередачу; масло, растворенное в холодильном агенте, ухудшает смачиваемость, а следовательно, теплоотдачу;
3. Конструкция испарителя; при парообразовании внутри вертикальных труб всплывающие пузырьки пара усиливают теплообмен и способствуют подъему парожидкостной смеси;
скорость подъема там больше, чем меньше диаметр труб;
4. Скорость движения хладоносителя;
5. Загрязнение на обеих сторонах стенок труб от смазки, ржавчины снижает коэффициент теплопередачи.
1. Кожухотрубные испаритель затопленного типа
Аппараты такого типа являются наиболее распространенными и применяются в машинах средней и крупной производительности. В таких испарителях рассол охлаждается при движении внутри труб, а рабочее вещество кипит на их наружной поверхности. Принципиального различия между аммиачными и хладоновыми аппаратами нет. Отличие состоит в конструкции поверхности теплообмена и материалах, применяемых для изготовления.
Недостатком этих испарителей является опасность повреждения труб из-за замерзания в них рассола при случайной остановке рассольного насоса или при недостаточной концентрации рассола.
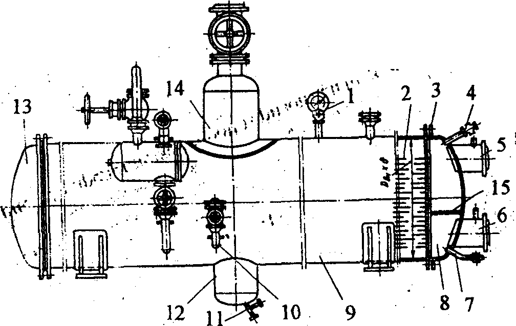
Аммиачный колсухотрубный испаритель затопленного типа (рис1.) представляет собой горизонтальный цилиндрический кожух 9 с двух сторон закрытый крышками 8,13. Трубы приварен» к трубным решетками 3. В отверстиях их развальцованы стальные трубы 2, по которым протекает рассол, делая 4-8 ходов, что достигается устройством перегородок 15 в крышках. Рассол поступает через нижний патрубок 6, приваренный к крышке 8, а выходит через верхний патрубок 5. Там же имеется вентиль 4 для 40
спуска воздуха из
рассола и вентиль 7 для слива рассола.
Жидкий аммиак
поступает в межтрубное пространство
через штуцер 10, 
приваренный
к нижней части кожуха. Образующийся пар
отсасывается сверху через сухопарник
14. Снизу к кожуху приварен маслосборник
12, откуда через патрубок 11 периодически
выпускают масло и загрязнения. Испарители
снабжены манометром 1.
Маркировка. 90 ИТГ - испаритель кожухотрубный горизонтальный аммиачный с площадью теплопередающей поверхности 90 м2.
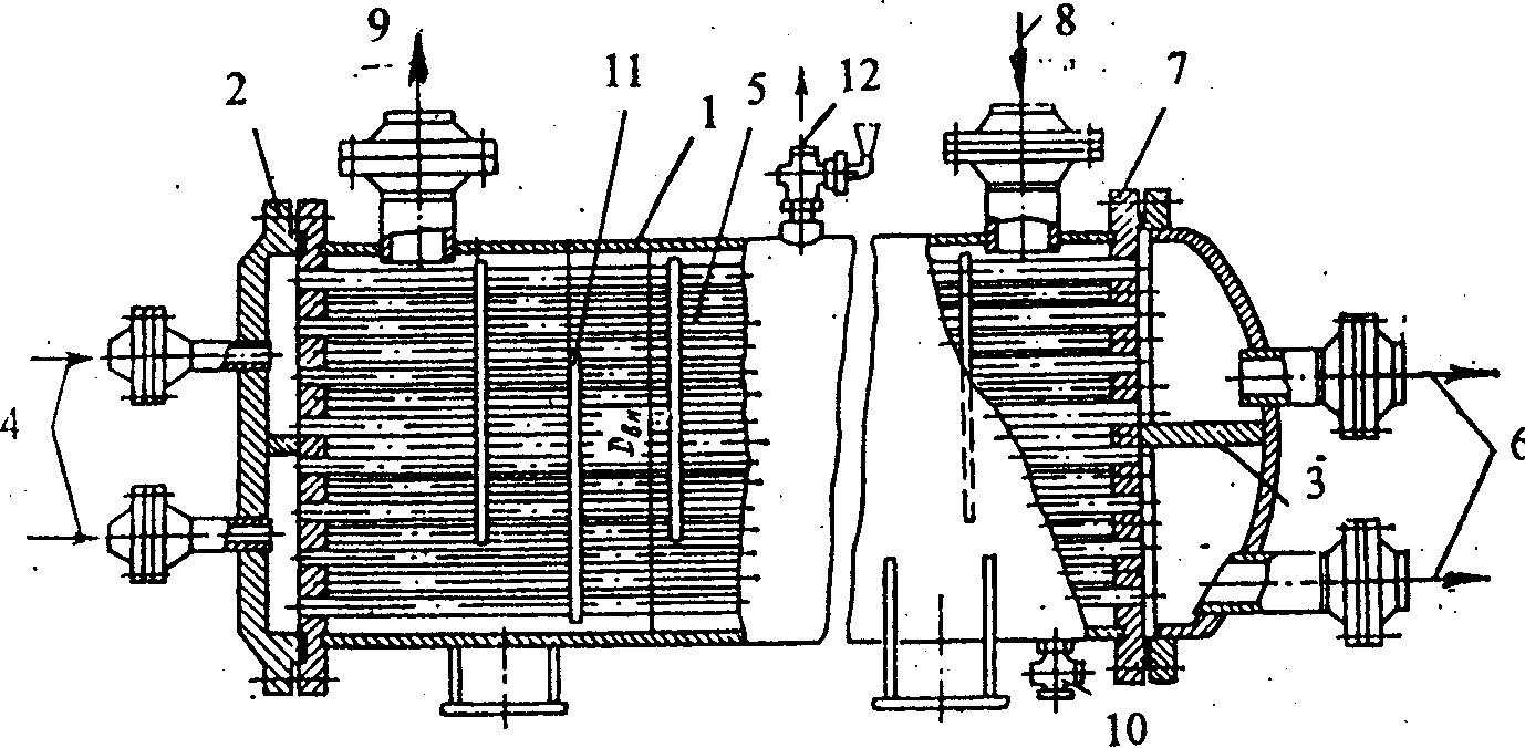
Хладоновый кожухотрубный испаритель затопленного типа (рис.2.) представляет собой горизонтальный цилиндрическийкожух 2 с двух сторон закрытый крышками 6. В крышках имеются перегородки 3 для увеличения числа ходов рассола. Жидкий фреон подается через патрубок 14 в коллектор 1 внутрь испарителя, кипит в межгрубном пространстве и газообразный выходит через сухопарник 9. Рассол поступает в нижний 4, а выходит через верхний 5 трубопровод. В нижней части аппарата имеется венталь для спуска масла 13. Испарители снабжены указателем уровня 8, предохранительным клапаном 7, манометром 10, а также вентилем для слива рассола 12 и выпуска воздуха 11.
М
аркировка.
ИГР - 35 -
испаритель кожухотрубный горизонтальный
ребристый фреоновый с площадью
теплопередающей поверхности 35 м2.
Рис.2
2. Испарители с кипением хладагента внутри труб
Испарители такого типа имеют несколько конструктивных решений. В них можно получать низкие температуры теплоносителя, не опасаясь его замерзания и разрыва трубок.
Кожухотрубный испаритель с прямыми (рис.3.) и U-обраэными трубками (рис.4.). Принцип действия и конструкция этих испарителей мало чем отличается друг от друга. Испарители представляют собой горизонтальный цилиндрический корпус 1 с одной или двумя боковыми крышками 2, в которых имеются перегородки 3 для увеличения числа ходов хладагента. Хладагент входит в патрубки 4, проходит по трубам 5, которые крепятся в трубных решетках 7, кипит и газообразный выходит в патрубках 6. Рассол поступает в трубопровод 8, протекает в межгрубном пространстве, охлаждается и выходит по трубопроводу 9.

Рис.3.
Д
ля
увеличения коэффициента теплоотдачи
вежду трубами устанавливаются перегородки
11. В нижней части испарителя имеется
вентиль для слива рассола 10, а в верхней
части - вентиль для продувки аппарата
12.
Рис 4.