Выбор технологии прокатки рельсов
13. Выбор технологии прокатки рельсов
13.1. Анализ технологий и состава оборудования, используемых для производства рельсов за рубежом
Прокатка железнодорожных рельсов на современных зарубежных станах в настоящее время осуществляется в основном с применением универсальных клетей [11,12]. Такая технология предусматривает многократное прямое обжатие наиболее ответственных элементов профиля - головки и подошвы. На рис. 13.1 дано сравнение схемы деформации рельсового профиля в двухвалковых и четырехвалковых калибрах.
При прокатке в двухвалковых калибрах головка рельса не подвергается прямому обжатию по высоте рельса, вследствие чего металл головки имеет недостаточно плотную и довольно крупную зернистую структуру и обладает пониженными механическими свойствами по сравнению с рельсами, прокатанными в универсальных калибрах. Это особенно следует иметь ввиду при использовании непрерывнолитых заготовок, которые подвергаются меньшей вытяжке по сравнению со слитком.
При прокатке в универсальных калибрах сечение рельса остается симметричным относительно горизонтальной плоскости. Головка и подошва рельса при этом имеют почти одинаковую температуру. Рельсы, прокатанные с применением универсальных калибров, характеризуются мелкозернистой структурой, улучшенным качеством поверхности и повышенными механическими свойствами. Прокатка рельсов в универсальных клетях обеспечивает одновременную равномерную деформацию всего профиля четырьмя валками. Форма универсальных калибров гарантирует сохранение выпуклости головки рельса. При этом ходовая поверхность рельса, подвергаемая максимальной нагрузке при эксплуатации, обрабатывается под прямым давлением. Для ограничения ширины головки и подошвы рельса служит вспомогательная двухвалковая клеть с горизонтально расположенными валками.
Процесс прокатки рельсов на универсальном стане был разработан в 1964-68 гг. на заводе в г. Эйанже (Франция) фирмы Unimetal (ранее фирма Sacilor). Лицензии на процесс были проданы фирмам Shin Nippon Seitetsu (Япония), Broken Hill Proprietary (Австралия), ISCOR (ЮАР), Асо Minas (Бразилия) и др.
По этой технологии заготовка вначале прокатывается в одной-двух реверсивных двухвалковых клетях, а затем в двух-трех универсальных клетях ( из них 1-2 клети реверсивные, а чистовая клеть нереверсивная). До и после реверсивных клетей устанавливаются вспомогательные двухвалковые клети. Деформация в универсальных и вспомогательных клетях осуществляется в непрерывном режиме прокатки. Чистовая клеть обычно устанавливается отдельно, т.е. непрерывная прокатка в ней не предусматривается.

а
Рис. 13.1. Схема деформации рельсового профиля: а - прокатка в двухвалковом калибре; б — прокатка в четырехвалковом калибре;
1 - заготовка;
2 - промежуточный профиль;
3 - готовый профиль
По существу известные способы прокатки рельсов с применением универсальных клетей отличаются типом клетей и калибров, а также порядком прокатки в трех последних проходах (рис. 13.2).
В качестве примера ниже приводится описание технологии и состава оборудования на рельсобалочном стане с универсальными клетями завода фирмы Nippon Kokan в Фукуяме (Япония). На этом стане прокатывают рельсы тяжелого типа - 50 и 60 кг/м из непрерывнолитой заготовки сечением 250x355 мм. Заготовка нагревается в печи с шагающими балками производительностью 150 т/ч. Стан имеет пять клетей, из которых две универсальные.
Для обеспечения необходимого качества поверхности рельсов и минимальных допусков их размеров на стане применяют гидросбив окалины, легированные валки в чистовой клети, сменные запасные клети, которые можно быстро и точно собирать и настраивать.
Отделочное оборудование стана рассчитано на обработку рельсов длиной до 50 м. Для правки термически необработанных рельсов на участке рельсо-отделки имеются два гидравлических пресса усилием 1700 и 800 кН. Установлено пять станков для обрезки концов и сверления болтовых отверстий.
На ряде зарубежных заводов прокатка осуществляется с применением жестких двухвалковых клетей, например, на рельсобалочном стане завода August Thyssen Hutte в Дуйсбурге (Германия). Здесь прокатывают железнодорожные рельсы S49 и UIC60, рельсы трамвайные, остряковые, контррельсы. Максимальная длина рельсов - 60 м. Заготовка литая сечением 265x380 мм, длиной 11,4 м.
Нагрев металла производится в двух печах с шагающими балками, производительность каждой печи 120 т/ч. Для удаления печной окалины имеется установка гидросбива окалины, давление воды 18 МПа (180 кгс/см2). Гидросбив окалины позволяет улучшить качество поверхности рельсов и получать ее без вкатанной окалины. Для подачи воды высокого давления установлены соответствующие насосы и фильтровальная станция для очистки осветленной воды.
Прокатка рельсов ведется в 3-х клетях: в обжимной клети дуо реверсивной 1180 мм и в двух компактных горизонтальных клетях дуо реверсивных 950 мм конструкции фирмы Schloemann - Siemag AG, расположенных в линию. Особенностью клетей этой фирмы является повышенная жесткость, обеспечивающая узкие допуски на размеры проката. Количество проходов: в обжимной клети - 6, в клетях дуо 950 - 7 (4+3).
В одном калибре чистовой клети прокатывают не более 600 т рельсов. Работа оборудования рабочих линий полностью автоматизирована. Раскат рельсов длиной 125 м на пиле горячей резки делится на две части. Перед охлаждением на холодильнике рельсы изгибаются на подошву со стрелой прогиба 1,6м.

Рис. 13.2. Способы прокатки рельсов с использованием универсальных клетей в трех последних проходах: а - схема размещения рабочих клетей; б - способы прокатки в калибрах; 1-7 - номера способов прокатки
Правка рельсов производится в роликоправильных машинах в двух плоскостях 74 жесткости. Кантовку рельсов и задачу их в ГРПМ производит манипулятор. Кроме того, имеются два правильных гидравлических пресса. Отделка концов производится на четырех сверлильно-отрезных станках фирмы Wagner.
В линии стана установлены приборы:
- ультразвукового контроля;
- вихретоковый прибор для контроля поверхностных дефектов;
- лазерный измеритель кривизны рельсов;
- лазерный измеритель волнистости (неровности по высоте).
Неровность рельсов, прокатываемых на стане, составляет ±0,1 мм. Допуск по высоте рельсов составляет ±0,5 мм.
Рельсы поступают как на обычные магистрали, так и на высокоскоростные. Специальных требований к рельсам от государственных железных дорог ФРГ нет, но фирма по своей инициативе делает селекцию рельсов для высокоскоростных магистралей.
Таким образом, производство рельсов за рубежом имеет следующие технологические особенности:
- в качестве исходного металла используют непрерывнолитую заготовку из вакуумированной стали сечением не менее 900-1000 см2;
- нагрев заготовок производят в печах с шагающими балками;
- печную окалину удаляют на установках гидросбива окалины;
- прокатку рельсов производят с использованием жестких универсальных или горизонтальных клетей;
- перед охлаждением на холодильнике рельсы проходят изгиб на подошву;
- правку рельсов производят в роликоправильных машинах в двух плоскостях жесткости, а доправку на гидравлических прессах;
- резку концов рельсов производят на пилах Wagner дисками с твердосплавным инструментом;
- для контроля качества рельсов в потоке рельсоотделки устанавливается комплекс приборов.
13.2. Предложения по реконструкции РБЦ НТМК
13.2.1. Анализ технологий и состава оборудования, используемых для производства рельсов в России
Производство рельсов для железных дорог в России осуществляется на рельсобалочных станах Нижнетагильского и Кузнецкого металлургических комбинатов с применением двухвалковых калибров.
До реконструкции сталеплавильного передела НТМК, когда рельсы прокатывали из слитков, разлитых сверху, на стан 800 поступали заготовки сечением 320x340 мм, полученные в обжимном цехе №1 на блюминге 1150.
После перехода на разливку стали на МНЛЗ на стан 800 поступают . заготовки сечением 300x360 мм.
Схема основного технологического оборудования рельсобалочного стана 800 представлена на рис. 13.3.
Прокатка железнодорожных рельсов Р65 на стане 800 производится за!2 проходов: 5 проходов в реверсивной клети 950, 3 - в 1-й клети трио 800, 3 -во 2-й клети трио 800 и 1 - в чистовой клети дуо 850. Технология прокатки рельсов путем обжатия раската в двухвалковых тавровых и рельсовых калибрах имеет следующие недостатки: большая неравномерность деформации по элементам профиля; наличие открытых и закрытых ручьев, требующих глубокого вреза в валки; головка и подошва рельса не подвергается прямому обжатию в направлении оси симметрии рельса.
Прокатка рельсов на КМК не имеет принципиальных отличий от технологической схемы, используемой на НТМК.
В 1991 г. УралНИИЧМ выполнил на КМК работу "Разработка и применение технологии по повышению прямолинейности рельсов", в результате которой было выявлено, что рельсы по высоте имеют неровность, которая носит синусоидальный характер с периодом, равным примерно 2800 мм. Это соответствует длине окружности ручья калибра чистовой клети.
Наличие этой характерной волнистости связано с радиально-осевым перемещением валков в процессе прокатки, которое возникает из-за нежесткого крепления подушек клети, наличия зазора между подушками и станинами, износа конусов валков, с неравномерным нагревом металла, износом калибров, а также отсутствием вальцетокарных станков для нарезки калибров по периметру бочки валка с необходимой точностью. Поэтому для снижения волнистости рельсов, образующейся при прокатке, необходимо:
- обеспечить равномерный нагрев заготовок по длине и сечению;
- вести прокатку в жестких клетях с хорошим уравновешиванием шпинделей;
- прокатывать в чистовом калибре не более 1000 т рельсов;
- установить вальцетокарные станки, например, фирмы "Геркулес" (Германия), обеспечивающие высокую точность обработки прокатных валков.

Рис 13.3. Схема расположения основного технологического оборудования рельсобалочного стана 800
1 - методические нагревательные печи; 2 - камерные нагревательные печи; 3 - обжимная двухвалковая клеть 950; 4 - черновая и предчистовая трехвалковые клети 800; 5 - чистовая двухвалковая клеть 850; 6 - ножницы горячей резки; 7 - стеллаж возвратного потока; 8 - маятниковые пилы горячей резки; 9 - клеймовочная машина; 10, 22 - передаточный швеллер для проката из качественной стали и рельсов; 11 - стеллаж для проката из качественной стали; 12 - центральные холодильники; 13, 20, 21, 32- горизонтальные роликоправильные машины; 14 - распределительный стеллаж; 15 - горизонтально-правильные прессы; 16 - вертикально-правильные (штемпельные) прессы; 17 - установки для закалки концов рельсов; 18 - установки по центровке рельсов; 19 - станки сверлильно-фрезерные; 23 - печи изотермической выдержки рельсов; 24 - печь для нагрева рельсов под закалку; 25, 28 - кантователи рельсов; 26 - установка термоправки рельсов; 27 - закалочная машина; 29 - инспекторские стеллажи; 30 - установка замера твердости головки рельса; 31 - вертикальная роликоправильная машина; 33 -холодильники за отпускной печью; 34 - пакетирующее устройство; 35- печь для отпуска закаленных рельсов
На рельсобалочном стане КМК испытан способ непрерывной прокатки рельсов в предчистовой универсальной 4-х валковой клети и в чистовой 2-х валковой клети [13] (см. рис. 13.2, способ 7). По этому способу в 1987 г. было прокатано 25 тыс. т рельсов Р65. Испытания показали, что стойкость чистового 2-х валкового калибра составила 1500 т, стойкость чугунного валка со . стороны головки рельса универсального калибра - 5,5 тыс. т, стойкость чугунного валка со стороны подошвы около 12 тыс. т. Установлена высокая стабильность получения профиля, замечаний по геометрии профиля практически не было. Качество рельсов, прокатанных с применением универсального калибра, характеризуется следующими показателями: количество рельсов длиной 25 м, не имеющих поверхностных дефектов, составило 82-90 % по сравнению с 67-80 % для текущего производства; механические свойства находятся на том же уровне, а пластичность несколько больше у опытных рельсов. Авторами статьи [13], проводившими вышеуказанные испытания, предложен также способ прокатки рельсов с использованием 2-х универсальных клетей, которые располагаются непрерывно (см. рис. 13.2, способ 5).
Сотрудниками Уральского политехнического института и УралНИИчер-мета предложен способ прокатки рельсов на КМК с применением двух универсальных и двухвалковой клети (см. рис. 13.2, способ 1а), отличающийся тем, что в 4-х валковой клети приняты вертикальные валки одинакового диаметра как со стороны головки, так и подошвы рельса [14, 15]. Результаты этих работ были использованы в ПО "Уралмаш" при проектировании конструкции рабочих клетей для прокатки рельсов.
К рельсам, предназначенным для скоростного совмещенного движения, предъявляются повышенные требования по продольной прямолинейности, в частности, отклонения поверхности катания головки рельса в вертикальной плоскости не должны превышать 0,3 мм на базовой длине 1,5 м. Такая прямолинейность, как показывает практика зарубежных заводов, достигается с использованием как универсальных, так и двухвалковых калибров.
В последние годы ГНЦ РФ ОАО "УЙМ", КМК и ВНИИЖТ выполнили комплекс работ, в результате которых были внедрены мероприятия по термической правке рельсов во время отпуска [16] и после него, усовершенствованы технология [17] и схема правки, организован контроль прямолинейности рельсов с помощью устройства "Элекон", что позволило существенно повысить прямолинейность рельсов. В настоящее время на КМК до 80 % рельсов в потоке отвечают повышенным требованиям по прямолинейности, и разработаны мероприятия по повышению этой доли до 100 %. Поэтому, с точки зрения достижения повышенной прямолинейности рельсов, для реконструкции РБЦ НТМК правомочны предложения по прокатке рельсов с применением как универсальных, так и двухвалковых клетей.
13.2.2. Технологические схемы прокатки рельсов Р65 с применением универсальных клетей
Предложение УГТУ-УПИ
Для прокатки рельсов Р65 с применением универсальных клетей предложено четыре варианта размещения рабочих клетей (рис. 13.4-13.8). Ориенти-' ровочная схема прокатки рельсов по этим вариантам приведена на рис. 13.9, а в таблице 13.1 - ориентировочный режим деформации по проходам.
При выборе схемы прокатки приняли в 4-х валковой реверсивной универсальной клети УК1 2 прохода с общим коэффициентом вытяжки 1,537, а в чистовой клети УК2 - 1,06. Такие коэффициенты вытяжки в универсальных клетях обеспечат получение требуемой геометрии рельсов и повышенных механических свойств. В условиях РБЦ НТМК установить еще одну 4-х валковую универсальную клеть с целью увеличения прямого обжатия головки и подошвы рельса не представляется возможным.
Предлагаемые варианты размещения рабочих клетей предусматривают возможность прокатки как рельсов, так и профилей действующего сортамента.
По всем вариантам прокатка в обжимной реверсивной клети 950 производится за 5 проходов в ящичных и разрезных калибрах. Рассмотрим прокатку в последующих клетях.
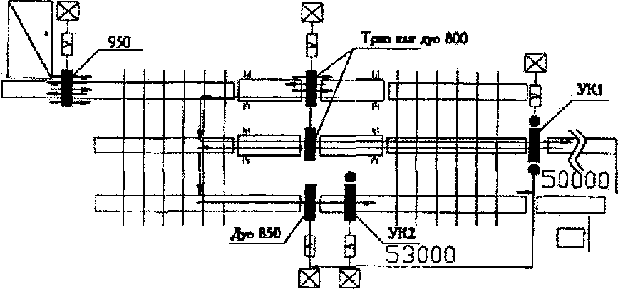
ВАРИАНТ! (рис. 13.4)
а) Прокатка рельсов. Клеть дуо 850 убирается. Устанавливаются универсальная четырехвалковая клеть УК1 и универсальная трехвалковая клеть УК2. В клети трио 800-1 дается 4 прохода (рис. 13.9), клеть трио 800-2 используется как вспомогательная: 1-й проход дается в открытом контрольном калибре на нижнем горизонте. Далее в реверсивной клети УК1 дается 2 прохода, затем один проход в клети 800-2 на верхнем горизонте в открытом контрольном калибре (в этом случае можно иметь ширину калибра 180 мм). Применение в клети 800-2 различных калибров по ширине позволяет осуществлять более точный контроль профиля.
Заканчивается прокатка в клети УК2, которая может быть установлена или на место существующей клети дуо 850 (с использованием существующего привода) или рядом. За клетью УК1 необходимо установить рольганг длиной ~ 50 м. Привод клети УК1 осуществляется от электродвигателя, установленного в становом пролете на месте существующего стенда для перевалки валков.
По этому варианту возможна замена клетей трио 800 на реверсивные жесткие двухвалковые клети 800.

Рис. 13.4. Схема расположения оборудования по варианту реконструкции 1

4650 E! E1
9000
Рис.13.5. Схема расположения оборудования по варианту реконструкции 2

Рис. 13.6. Схема расположения оборудования по варианту реконструкции 3

4350
Рис. 13.7. Схема расположения оборудования по варианту реконструкции 4


Рис. 13.8. Схема прокатки при расположении оборудования по варианту
реконструкции 4

Рис. 13.9. Схема прокатки рельсов Р65 по вариантам 1 - 4
Таблица 13.1
Ориентировочный режим деформации при прокатке рельсов Р65 после проведения реконструкции по вариантам 1 - 4.
|
'№ прох. |
Клеть |
Площадь поперечного сечения, мм2 |
Коэффициент вытяжки |
Длина раската, м |
Размеры сечения, мм |
|||
|
Н |
В |
h |
d |
|||||
|
Заготовка |
106630 |
4,4 |
300 |
360 |
||||
|
1 |
950 |
89290 |
1,194 |
5,3 |
245 |
370 |
||
|
2 |
950 |
67370 |
1,325 |
7,0 |
180 |
380 |
||
|
3 |
950 |
54400 |
1,328 |
8,6 |
310 |
200 |
||
|
4 |
950 |
35600 |
1,528 |
13,2 |
115 |
330 |
||
|
5 |
950 |
30400 |
1,171 |
15,4 |
270 |
135 |
||
|
6 |
800-1 |
29600 |
1,027 |
15,8 |
250 |
200 |
||
|
7 |
800-1 |
25000 |
1,184 |
18,7 |
205 |
230 |
||
|
8 |
800-1 |
19230 |
1,300 |
24,4 |
167 |
210 |
100 |
51 |
|
9 |
800-1 |
15020 |
1,280 |
31,2 |
158 |
212 |
88 |
38 |
|
10 |
800-2 |
14170 |
1,060 |
33,1 |
152 |
213 |
85 |
36 |
|
11 |
УК1 |
11160 |
1,270 |
42,1 |
154 |
192 |
86 |
26 |
|
12 |
УК1 |
9222 |
1,210 |
50,9 |
157 |
180 |
88 |
20,5 |
|
13 |
800-2 или ВК |
8997 |
1,025 |
52,2 |
151 |
180 |
84 |
20,5 |
|
14 |
УК2 |
8488 |
1,060 |
55,3 |
152,6 |
182,5 |
76,6 |
18 |
Примечание: УК1 - 4-х валковая универсальная клеть, УК2 - 3-х валковая универсальная клеть, ВК - вспомогательная клеть дуо;
Н и В - габаритные размеры поперечного сечения раската, h - толщина головки профиля, d - толщина шейки профиля.
б) Прокатка профилей действующего сортамента. Устанавливаются клети трио 800 и клеть дуо 850, а клеть УК2 убирается. Далее прокатка производится по существующей в настоящее время технологии. При замене клетей трио 800 на реверсивные клети дуо 800 невозможна прокатка сдвоенных полособульбовых профилей 30810 и 30812, ПБ-615, ПБ-1979, Z-310.
Достоинства 1-го варианта.
1) Универсальная клеть УК1 не мешает прокатке профилей действующего сортамента, ее необходимо убирать только при замене валков.
2) Отпадает необходимость изготовления вспомогательной клети ВК, так как ее роль выполняет клеть трио 800-2.
Недостатки 1-го варианта.
1) Электродвигатель клети УК1 устанавливается на месте существующего стенда для замены валков, поэтому перевалочный стенд для клетей трио 800 необходимо разместить на другом месте.
2) Необходимо изыскать место для размещения машинного помещения электродвигателя клети УК1 и место для размещения перевалочного стенда универсальных клетей.
ВАРИАНТ 2 (рис. 13.5)
а) Прокатка рельсов. Клети трио 800 заменяются на реверсивные клети дуо 800. Устанавливается клеть УК1 взамен клети дуо 800-2, а также клети ВК и УК2. Клеть дуо 850 убирается. Прокатка призводится в той же последовательности, что и по варианту 1.
б) Прокатка профилей действующего сортамента. Устанавливается клеть дуо 850 и реверсивная клеть 800-2 взамен клети УК1. Клети 800-1 и 800-2 приводятся от одного электродвигателя или от отдельных электродвигателей (клеть 800-2 приводится от электродвигателя клети УК1). Убираются также клети ВК и УК2. Клети ВК и дуо 850 одинаковой конструкции и взаимозаменяемые.
Достоинства 2-го варианта:
все клети располагаются в районе линии 800 вдали от пил горячей резки.
Недостатки 2-го варианта.
1) Исключается установка существующих клетей трио 800 для прокатки профилей действующего сортамента, так как клеть ВК устанавливается на месте размещения подъемно-качающегося стола клети 800-2.
2) Открытый калибр в клети ВК используется при прокатке дважды - до и после прокатки в клети УК1. При повторной прокатке ширина раската 180 мм меньше ширины калибра 213 мм, за счет чего не будет обрабатываться боковая поверхность головки и подошвы. На некоторых зарубежных станах на валках клети ВК нарезаются два калибра разной ширины, причем при обратном движении раската клеть ВК смещается по направляющим так, что напротив калибра клети УК1 оказывается более узкий калибр (в рассматриваемом случае калибр шириной 180 мм).
ВАРИАНТ 3 (рис. 13.6)
а) Прокатка рельсов. Устанавливаются клети УК1 и ВК в районе 18-й и 19-й колонн, а также клеть УК2. Клеть дуо 850 убирается. В клети трио 800-1 дается 3 прохода, в клети трио 800-2 производится 1-й проход в закрытом рельсовом калибре, 2-й проход в открытом калибре, 3-й проход холостой. В клети УК1 дается 2 прохода, причем перед 1-м проходом валки клети ВК разводятся, а после 2-го прохода устанавливаются на требуемый размер. Ширина калибра клети ВК может быть принята =180 мм. Заканчивается прокатка в клети УК2, которая устанавливается либо на место чистовой клети дуо 850 с использованием ее привода, либо рядом с установкой отдельного привода
По этому варианту возможна замена клетей трио 800 на жесткие реверсивные клети дуо 800.
б) Прокатка профилей действующего сортамента. Убирается клеть УК2. При прокатке на возвратный поток также убираются клети УК1 и ВК. Прокатка производится по действующему режиму.
Недостаток варианта 3:
клети УК1 и ВК устанавливаются в районе. 18-й и 19-й колонн, где ходит кран грузоподъемностью 50 т. Для перевалки клетей требуется кран грузоподъемностью 100 т. Осуществление этого варианта возможно при изготовлении новых или усилении существующих колонн, увеличении высоты пролета и строительстве новой крыши, что требует больших капитальных затрат.
ВАРИАНТ 4 (рис. 13.7)
а) Прокатка рельсов. Устанавливаются клети УК1, УК2 и ВК. В клети трио 800-1 даются три прохода, в клети трио 800-2 производится 1-й проход в закрытом рельсовом калибре, 2-й проход - в открытом калибре, а 3-й проход - холостой. Прокатка в клетях ВК, УК1 и УК2 производится по схеме, приведенной на рис. 13.8: клеть УК1 (валки клетей ВК и УК2 разведены), клеть УК1 и ВК (валки клети УК2 разведены), клеть УК2 (валки клетей ВК и УК1 разведены).
По этому варианту возможна замена клетей трио 800 на жесткие реверсивные клети дуо 800.
б) Прокатка профилей действующего сортамента. Убираются клети УК1 и УК2. Клеть ВК используется как чистовая клеть дуо 850. Прокатка производится по действующему режиму.
Достоинства варианта 4:
клети УК1, УК2 и ВК (дуо 850) размещаются компактно и при этом исключается непрерывная прокатка в чистовой клети УК2.
Недостаток варианта 4:
требуется установка валков с точностью 0,05 мм. Однако такая установка валков может быть обеспечена за счет применения в чистовой клети УК2 двухскоростных нажимных устройств: быстроходная ступень используется для перемещения нажимных винтов со скоростью 20-30 мм/с, а тихоходная ступень со скоростью перемещения нажимных винтов 2,0-2,5 мм/с используется для точной установки валков.
Предложение ОАО "Уралмаш"
Предлагаются для рассмотрения три варианта реконструкции РБС НТМК - вариант 5 (рис. 13.10) и вариант 6 (рис. 13.11). Прокатка по этим вариантам после обжимной клети 950 предусматривается в следующей последовательности: 1-я клеть - два тавровых калибра и один закрытый рельсовый калибр; 2-я клеть - два закрытых рельсовых калибра и один открытый калибр; 4-х валковая универсальная клеть - 1 проход; вспомогательная клеть дуо - 1 проход; чистовая трехвалковая универсальная клеть - 1 проход.

Рис. 13.10. Схема расположения оборудования по варианту реконструкции 5

Рис. 13.11. Схема расположения оборудования по варианту реконструкции 7
Приняты следующие коэффициенты вытяжки по проходам: 1,15; 1,10; 1,27; 1,27; 1,27; 1,27; 1,35; вытяжка минимальная; 1,06. ВАРИАНТ 5 (рис. 13.10).
а) Прокатка рельсов. Взамен клети трио 800 устанавливаются реверсивные жесткие клети 900. Устанавливаются также клети УК1, ВК и УК2.
б) Прокатка профилей действующего сортамента. Убираются клети УК1 и УК2, а клеть дуо 850 используется как клеть ВК. Достоинства 5-го варианта.
1) При прокатке в нереверсивных универсальных клетях облегчается настройка валков, что позволяет получить точный профиль.
2) Привод клетей дуо 900 - независимый. Недостатки 5-го варианта.
1)В клети УК1 дается только один проход. При этом коэффициент вытяжки в предчистовом проходе 1,35 завышен, что не обеспечит получение в чистовой клети точного профиля. Целесообразно принять в этой клети коэффициент вытяжки 1,20-1,22. Однако при таком низком коэффициенте вытяжки только частично используются возможности прокатки в универсальных клетях с целью получения рельсов с повышенными механическими свойствами.
2) Электродвигатель клети УК2 размещается в помещении станции управления дисковых пил (ПСУ 12), где нет для этого места.
ВАРИАНТ 6
Отличие варианта 6 от варианта 5 состоит в том, что привод клети УК2 осуществляется с противоположной стороны за счет установки электродвигателя со стороны колонн ряда 126. Однако для привода валков клети УК2 потребуется применение длинных шпинделей, которые необходимо уравновешивать. Уравновешивающие устройства располагаются на участке шлеп-перов, что может мешать прокатке профилей существующего сортамента при поперечном перемещении раскатов от клети дуо 900 №1 к клети дуо 900 №2.
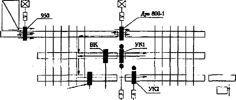
ВАРИАНТ 7 (рис. 13.И)
а) Прокатка рельсов. Устанавливаются клети УК1 и УК2, клеть дуо 850 используется как ВК. В этих клетях осуществляется непрерывная прокатка. Точность установки валков 0,1 мм.
б) Прокатка профилей действующего сортамента. Убираются клети УК1 и УК2, а клеть ВК используется как чистовая клеть дуо 850. Прокатка профилей осуществляется в клетях трио 800, оборудованных подъемно-качающимися столами, и в чистовой клети дуо 850 по существующей технологии.
Достоинства варианта 7: универсальные клети УК1 и УК2 располагаются компактно около чистовой клети дуо 850.
Недостатки варианта 7.
1)В 4-х валковой клети УК1, как и по варианту 5, дается один проход. Недостатки этого отмечены в описании варианта 5.
2) При непрерывной прокатке вследствие возможного возникновения натяжения или подпора раската между клетями есть опасность отклонения размеров рельса от требуемых. По этой причине на зарубежных станах не предусматривается прокатка в чистовой клети в режиме непрерывной прокатки.
Выбор варианта прокатки рельсов с применением универсальных
клетей
Сравнение достоинств и недостатков рассмотренных вариантов прокатки рельсов с применением универсальных клетей, а также обсуждение этого вопроса с участием УГТУ, УралГИПРОМЕЗа, ОАО "Уралмаш" и ГНЦ РФ ОАО УЙМ позволяет сделать вывод о том, что наиболее предпочтительным является вариант 1 (см. рис. 13.4). Реализация этого варианта потребует изготовления двух универсальных клетей с приводами, рольганга за клетью УК1 длиной около 50 м, строительства помещений станций управления электродвигателями, установки ограждения между клетью УК1 и пилами, проведении других работ, связанных с удалением окалины на вновь устанавливаемых клетях и т.д. Необходимо проработать вопрос установки клети УК2 на место чистовой клети дуо 850 с использованием ее привода.
При рабочем поектировании необходимо также проработать возможность применения варианта 6 по предложению ОАО "Уралмаш".
Обоснование основных параметров универсальных клетей
Учитывая опыт ОАО "Уралмаш" по проектированию универсальных клетей, приняты следующие диаметры валков:
- универсальная четырехвалковая клеть
диаметр
горизонтальных валков, мм 1200
диаметр
вертикальных валков, мм 850;
- универсальная трехвалковая клеть
диаметр
горизонтальных валков, мм 850
диаметр
вертикального валка, мм 600.
Четырехвалковая клеть должна иметь двухскоростное электромеханическое нажимное устройство: быстроходная ступень используется для перемещения нажимных винтов со скоростью 20-30 мм/с, а тихоходная ступень со скоростью перемещения нажимных винтов 2,0-2,5 мм/с. Точность установки валков 0,05 мм.
В связи с разностью давления металла со стороны подошвы и головки на вертикальные валки и с целью избежания изгиба заднего конца рельсовой полосы универсальная четырехвалковая клеть должна иметь механизм смещения осей вертикальных валков в направлении прокатки в пределах ±30 мм. Смещение производится после каждого прохода.
Для определения усилий и крутящих моментов прокатки по проходам принято:
- средняя частота вращения валков клетей трио 800 - 120 об/мин,
- средняя частота вращения горизонтальных валков четырехвалковой клети - 90 об/мин, а трехвалковой - 110 об/мин.
- температура начала прокатки в клети трио 800-1 составляет 1020 и 1100°С.
Результаты расчетов приведены в табл. 13.2 и 13.3.
Такт прокатки в обжимной клети 950 после изменения режима обжатий составит 36-42 с. Минимально возможный такт прокатки в клети 800-1 составит 33-36 с. Такт прокатки в паре последовательных клетей 800-2 и УК1 составит 53-56 с. Такая величина такта прокатки определяется невозможностью осуществлять перекрытия проходов в клети 800-2.
Таким образом, такт прокатки на РБС в целом составит 53-56 с. Общий цикл прокатки составит 178-185 с, а время прокатки одной полосы в клетях трио и в универсальных клетях составит ~127 с.
Часовая производительность стана при прокатке рельсов Р65 по годному
. 3600- G-kfj 3600-3,25-0,9 . составит О = ——————— = ——————— = 193,2 т/ч.
Т>т > 54,5
13.2.3. Предложение по технологии прокатки рельсов с применением клетей дуо 900 повышенной жесткости
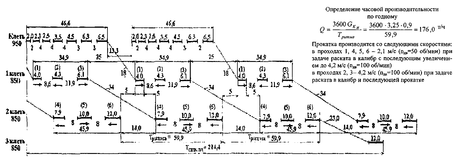
Учитывая большие капитальные затраты на реконструкцию стана при установке универсальных клетей, УралГИПРОМЕЗ предлагает при предстоящей реконструкции РБЦ ОАО НТМК установить две клети дуо 900 реверсивные, повышенной жесткости взамен существующих клетей трио 800.
Сначала перед прокаткой производится удаление окалины с поверхности заготовки на установке гидросбива.
Прокатка в обжимной клети 950 осуществляется за 5 или 7 проходов, затем раскат подается на линию 900 и прокатывается в новых реверсивных клетях жесткой конструкции дуо 900 №1 и №2 (по 3 прохода в каждой клети). Новые рабочие клети - закрытого типа, на подшипниках качения. Длина бочки 2100-2200 мм. Новые клети должны обеспечить допуск по высоте рельсов ±0,5 мм. Установка новых клетей позволит производить рельсы с высокой точностью размеров по сечению.
Для получения точного профиля по длине раската прокатка в клетях дуо должна производиться без совмещения проходов в одной клети, т.е. в клети находится только один раскат.
Прилагаемый график Адамецкого и расчет показывают, что производительность стана по годному при этом составит 176 т/ч (рис. 13.12). Этого вполне достаточно для обеспечения годового объема производства стана 1 млн. т.
Таблица 13.2
Температура полосы и энергосиловые параметры при прокатке
рельсов Р65 после проведения реконструкции. Температура
начала прокатки в клети 800-1 составляет 1020 °С
|
Номер прохода |
Клеть |
Температура, °С |
Сопротивление деформации, МПа |
Усилие прокатки, кН |
Момент прокатки, кН-м |
|
6 |
800-1 |
1018 |
94,2 |
1596,6 |
145,0 |
|
7 |
800-1 |
1011 |
122,5 |
2864,1 |
393,7 |
|
8 |
800-1 |
1006 |
145,5 |
4171,2 |
473,9 |
|
9 |
800-1 |
997 |
150,1 |
3659,2 |
345,4 |
|
10 |
800-2 |
983 |
114,2 |
1458,0 |
65 |
|
11 |
УК1 |
966 |
145,5 |
2228,7/2669,7/1662,7 |
443,7 |
|
12 |
УК1 |
941 |
158,1 |
1991,8/2434,2/1497 |
345,8 |
|
13 |
800-2 |
925 |
112,8 |
696,6 |
22,2 |
|
14 |
УК2 |
898 |
165,6 |
952,8/1565,7 |
83,65 |
Таблица 13.3
Температура полосы и энергосиловые параметры при прокатке
рельсов Р65 после проведения реконструкции. Температура
начала прокатки в клети 800-1 составляет 1100 °С
|
Номер прохода |
Клеть |
Температура, °С |
Сопротивление деформации, МПа |
Усилие прокатки, кН |
Момент прокатки, кН-м |
|
6 |
800-1 |
1098 |
71,4 |
1180,9 |
109,6 |
|
7 |
800-1 |
1090 |
93,2 |
2169,3 |
298,2 |
|
8 |
800-1 |
1083 |
111,2 |
3161,1 |
359,1 |
|
9 |
800-1 |
1072 |
115,6 |
2794,4 |
263,7 |
|
10 |
800-2 |
1057 |
88,5 |
1123,5 |
50,4 |
|
И |
УК1 |
1036 |
114,1 |
1747,0/2075,5/1303,3 |
347,8 |
|
12 |
УК1 |
1007 |
125,6 |
1582,9/1918,8/1189,6 |
274,8 |
|
13 |
800-2 |
989 |
90,4 |
556,5 |
14,2 |
|
14 |
УК2 |
956 |
135,2 |
777,8/ 1271,7 |
68,3 |
Примечание: в табл. 13.2 и 13.3 для универсальных клетей первая цифра показывает усилие прокатки, действующее на вертикальные валки со стороны подошвы, вторая - на горизонтальные валки, третья — на вертикальные валки со стороны головки.

Цифрами указано машинное время и время пауз, с; цифрами в скобках указаны номера проходов в 1-й и 2-й клетях 850
Рис. 13.12. График Адамецкого при прокатке рельсов Р65 в дуо-реверсивных клетях 850
Недостатки варианта УралГИПРОМЕЗа.
1) Установка жестких клетей дуо 900 не меняет принципиально существующую схему обжатий, т. к. не обеспечивает прямого обжатия подошвы и головки рельса и поэтому неспособна повысить механические свойства рельсов.
2) Применение общего привода на обе реверсивные клети дуо 900.
3) Более низкая стойкость калибра чистовой клети дуо 900 по сравению с калибром в универсальной клети.
Следует отметить, что предлагаемые УГТУ-УПИ, ОАО "Уралмаш" и УралГИПРОМЕЗом технические решения по совершенствованию технологии прокатки рельсов на НТМК не являются альтернативными и могут рассматриваться как самостоятельные, так и совместно с определением очередности реконструкции.
13.2.4. Состояние и предложения по улучшению состояния валкового хозяйства
В РБЦ НТМК для прокатки рельсов применяются литые чугунные и стальные кованые валки: обжимная клеть дуо - сталь 50, черновая трио -средние валки сталь 60ХН, нижний и верхний - чугун СПХН-45, предчисто-вая трио - чугун СПХН-45, чистовая дуо - чугун СПХН-49. Для прокатки других профилей в клетях трио применяют как стальные, так и чугунные валки. Твердость чугуна по Шору находится в пределах 45-49 HSD.
Валки обрабатывают на вальцетокарных станках (мод. 1А 947 - 5шт., мод. 1А 826 - 1 шт.) конструкции Краматорского завода тяжелого станкостроения. Кроме того, имеется один наплавочный станок. Станки работают с пуска цеха без капитального ремонта, физически изношены, в связи с чем работают только с одним суппортом, и морально устарели. Для обточки валков в режиме силового резания, после грубой врезки, применяют профилированные резцы шириной до 200 мм с напайкой из быстрорежущей стали Р18 или Р6М5, что не позволяет использовать в чистовой клети более твердые валки. Состояние парка станков.в сочетании с устаревшей технологией обработки валков не позволяют обеспечить необходимые, а тем более повышенные требования к точности выполнения ручьев согласно геометрии калибров. Чугунные валки без термообработки в состоянии поставки имеют неоднородную структуру и неравномерную твердость по сечению и образующей, что при значительном давлении на резец (по паспорту - до 9 тонн, а фактически - выше) вызывает дополнительные искажения геометрии ручьев в результате отдачи резца на более твердых участках. Фактические замеры по ручьям валка чистовой клети Р65, выполненные при помощи стрелочного индикатора на наименее изношенном станке, показали следующее: радиальное биение 0,15-0,20 мм, а осевое 0,25-0,30 мм.
Для обеспечения работы вальцетокарной мастерской в ее составе имеются шаблонная мастерская, производящая все шаблоны по каждому калибру каждого профиля сортамента цеха, и резцовая для подготовки того же многообразия резцов. К сожалению, шаблонная мастерская не оснащена ни оборудованием, ни механизированным инструментом, все работы выполняют вручную, поэтому в настоящее время ее производительность не обеспечивает потребности в шаблонах.
Краткая характеристика показывает, что парк станков однозначно требует замены на более совершенные для повышения точности и производительности нарезки ручьев. Это, в свою очередь, позволит увеличить стабильность размеров и геометрии прокатных профилей в случае решения вопроса жесткости клетей. Современные вальцетокарные станки, например, "Геркулес", при высокой производительности позволяют обеспечить высокую точность обработки более твердых валков. Эти проблемы решены за счет использования скоростных режимов резания в центрах твердосплавными, с механическим креплением пластин, резцами с использованием ЧПУ.
Применение чугунных валков обусловлено возможностями отечественных поставщиков и не соответствует современным требованиям к качеству инструмента деформации (спад твердости по сечению, недостаточная прочность). Для обеспечения высокой точности и стабильности размеров, чистоты поверхности и конкурентоспособности проката на ведущих зарубежных фирмах при прокатке рельсов в предчистовых клетях применяют более твердые и износостойкие валки. Так, фирма "Гонтерман-Пайперс" (Германия) -крупнейший производитель прокатных валков рекомендует использовать материалы GP60/GP70 (40-55 HSC) или GP650/GP750 (42-60 HSC); фирма Innse Cilindri (Италия) - GA, GA-T,GA-NT (45-55 HSC); Kobe Cast Iron Works (Япония) - ТВ, ТА (45-65 HSD), которые представляют заэвтектоидную литую сталь. Однако применение подобных валков в РБЦ комбината невозможно без реконструкции вальцетокарной мастерской.
Для повышения оперативности, что особенно важно при освоении новых профилей, производительности и качества изготовления шаблонов необходимо шаблонную мастерскую оснастить современным оборудованием, контрольно-измерительными приборами и инструментом. Например, можно рекомендовать станки с ЧПУ для фрезерования копировальных и контрольных шаблонов, которые производит фирма "Геркулес".
|
14. Порезка рельсов на пилах горячей резки |
|
14.1. Назначение участка пил |
|
Участок пил предназначен для порезки на заданные длины раскатов, по- |
|
. даваемых с чистовой клети стана, отрезки и сбора передней и задней обрези в |
|
железнодорожные вагоны, отрезки проб и их передачи на средства доставки |
|
к столу мастера у чистовой клети дуо или в копровое отделение и лаборато- |
|
рию, а также клеймения порезанных рельсов, кругов и квадратов. Порезка |
|
может производиться при подаче одного или двух (для профилей, не тре- |
|
бующих клеймения) раскатов с выравниванием передних и задних концов |
|
перед порезкой. Выдача рельсов на стеллаж может производиться по две |
|
штуки путем их сдваивания. |
|
Участок пил горячей резки реконструирован в 1991 году с заменой салаз- |
|
ковых пил на маятниковые. Оборудование участка пил разработал и изгото- |
|
вил ПО "Уралмаш". |
|
Программа и сортамент производства, марки стали, максимальный годо- |
|
вой объем производства, которые предусматривались при осуществлении ре- |
|
конструкции участка пил, приведены в табл. 14.1. |
|
Технически возможная производительность и загрузка участка за про- |
|
шедшие годы приведены в табл. 14.2. |
|
Основные технические данные оборудования: |
|
Температура порезки раската, °С 700... 1 000 |
|
Скорость на бочках роликов |
|
СРС1 и ПРС, регулируемая, м/с 0...4 |
|
Скорость на бочках роликов СРС2, СРСЗ |
|
и рольганга стеллажа качественной |
|
заготовки, регулируемая, м/с 0...5 |
|
Ширина полотна рольганга, мм 1 000 |
|
Диапазоны длин при порезке раската, м 5,3. ..30 |
|
(и более) |
|
Максимальная ширина разрезаемого |
|
проката, мм 623 |
|
Максимальная высота разрезаемого |
|
проката, мм 200 |
|
Диаметр диска пилы, мм 2000... 1750 |
|
Толщина диска пилы, мм 8 |
|
Окружная скорость диска пилы, мм 104. ..91 |
|
Скорость подачи диска на рез, |
|
регулируемая, м/с 0,08. ..1,14 |
|
в интервале 0,4... 1,1 4 м/с в опытном режиме |
Таблица 14.1.
шт.,
Техническая характеристика сортамента проката
|
Прокат |
Масса 1 п. м., кг |
Длина раската, м |
Общая длина обрези м |
Годная длина раската, м |
Длина штанги проката, м |
Количество норм.+ конц., шт. |
Масса годной части проката, т |
Часовая производит, по годному, т/ч |
Количество раскатов в час, шт. |
Цикл прокатки, сек. |
|
1 |
2 |
3 |
4 |
5 |
6 |
7 |
8 |
9 |
10 |
11 |
|
Рельс Р65 |
64,88 |
55 |
4,07 |
50,93 |
25,465 |
2x25,465 |
3,244 |
280 |
86,53 |
41,6 |
|
Швеллеры |
||||||||||
|
7x8+4 |
||||||||||
|
№26В |
39,72 |
62 |
2 |
60 |
13 |
4x13+8 |
2,383 |
100 |
41,96 |
85,8 |
|
OvS-1-S ОАО ' J |
||||||||||
|
№27 |
27,7 |
71 |
2 |
69 |
13 |
5x13+4 |
1,911 |
100 |
52,33 |
68,8 |
|
8x8+6 |
||||||||||
|
№ЗОСП |
49,5 |
72 |
2 |
70 |
3,465 |
100 |
28,86 |
124,74 |
||
|
13 |
5x13+5 |
|||||||||
|
8x8+5 |
||||||||||
|
№20 В-2 |
28,71 |
71 |
2 |
69 |
1,981 |
100 |
50,48 |
71,72 |
||
|
13 |
5x13+4 |
|||||||||
|
7x8+4 |
||||||||||
|
№26 ВС |
34,61 |
62 |
2 |
60 |
13 |
4x13+4 |
2,077 |
100 |
48,15 |
74,77 |
|
7x8+7 |
||||||||||
|
№АС-265 |
57,5 |
65 |
2 |
63 |
13 |
4x13+11 |
3,623 |
100 |
27,61 |
30,43 |
|
Профиль зетовый |
||||||||||
|
Z-310 |
52,02 |
60 44,2 |
2,1 |
57,9 42,1 |
9,65 21,05 |
6x9,65 2x21,05 |
2,666 |
136 |
51,01 |
70,57 |
|
Z- Э-50 |
67,4 |
50,35 65,25 |
2,1 |
48,25 63,15 |
9,65 21,05 |
5x9,65 3x21,05 |
4,381 |
136 |
31,04 |
116 |
|
Заготовка квадратная |
||||||||||
|
5x5,85 |
||||||||||
|
100 |
76,97 |
32 47 |
2,75 0,5 |
29,625 46,5 |
5,85 |
7x5,85+ +5,55 |
2,251 3,579 |
244 |
108,4 68,18 |
33,21 52,8 |
|
21 |
0,5 |
20,55 |
5,85 |
3x5,85+3 |
2,47 |
244 |
98,79 |
36,44 |
||
|
125 |
120,47 |
30 |
0,75 |
29,25 |
5,85 |
5x5,85 |
3,554 |
244 |
68,65 |
52,44 |
|
160 |
197 |
18 |
0,45 |
17,55 |
5,85 |
3x5,85 |
3,457 |
244 |
70,50 |
51 |
|
Башмак гусеницы |
||||||||||
|
№3 |
30,08 |
78 |
1,5 |
76,5 |
6,95 |
11x6,95 |
2,301 |
135 |
58,67 |
64,36 |
|
№4 |
43,64 |
57 |
1,5 |
76,5 |
5,76 |
9x5,76+ |
2,422 |
147 |
60,69 |
59,32 |
|
+3,66 |
||||||||||
|
Сталь конструкционная |
||||||||||
|
Автообод |
37,5 |
66 |
0,7 |
65,3 |
8,9 |
7x8,9+3 |
2,45 |
95 |
38,78 |
92,83 |
|
Полособульбы |
сдвоенные |
|||||||||
|
№30810 |
80,06 |
42 |
1. |
41 |
12 |
3x12+5 |
3,282 |
95 |
28,95 |
124,35 |
|
№30812 |
89,50 |
42 |
1 |
41 |
12 |
3x12+5 |
3,67 |
95 |
25,89 |
139,05 |
|
Полособульбы |
спец. |
|||||||||
|
№615-19 |
152,37 |
23 |
3,5 |
19,5 |
6,5 |
3x6,5 |
2,97 |
95 |
31,99 |
112,54 |
|
№615-24 |
176,51 |
22 |
2,5 |
19,5 |
6,5 |
3x6,5 |
3,44 |
95 |
27,62 |
130,34 |
|
Балки спец. |
||||||||||
|
№СВ-60А |
135,67 |
26 |
1,58 |
24,42 |
8,14 |
3x8,14 |
3,313 |
95 |
28,67 |
125,57 |
|
№СВ-60Б |
145,18 |
26 |
1,58 |
24,42 |
8,14 |
3x8,14 |
3,545 |
95 |
26,8 |
134,33 |
|
Заготовка трубная круглая |
||||||||||
|
36 |
1,45 |
34,55 |
5,76 |
6x5,76 |
4,17 |
244 |
50,5 |
71,3 |
||
|
140 |
120,64 |
40 |
1 |
39 |
13 |
3x13 |
4,705 |
52 |
69 |
|
|
ПО |
74,6 |
41 |
2 |
39 |
19,5 |
2x19,5 |
2,91 |
244 |
84 |
43 |
Примечание: резка швеллера (кроме АС-265), кв. 100, башмака производится по 2 а зетового профиля - только на мерные длины.
Таблица 14.2.
Технически возможная производительность и загрузка участка пил горячей резки
|
Годовая |
Часовая произ- |
Загрузка при фонде вре- |
||
|
Наименование проката |
продукция, |
водительность |
мени: |
|
|
тыс. т/год |
по годному, т/ч |
час |
% |
|
|
Рельсы железнодо- |
1020 |
280 |
4000 |
56,4 |
|
рожные типа Р65 |
||||
|
Швеллеры № 26В; 27; ЗОСП; 20В-2; 26ВС; АС-265 |
43 |
100 |
430 |
6,0 |
|
Балки двутавровые |
||||
|
№27; |
30 |
112 |
270 |
3,7 |
|
№ 45М , № 55 |
40 |
164 |
240 |
3,4 |
|
Профиль зетовый Z-310 для хребтовой балки вагонов |
70 |
136 |
510 |
7,2 |
|
Заготовка стальная |
34 |
244 |
140 |
2,0 |
|
квадратная горячекатаная |
||||
|
Профиль для башмаков |
||||
|
гусениц № 3 |
75 |
135 |
560 |
7,9 |
|
№4 |
10 |
147 |
70 |
1,0 |
|
Сталь конструкционная в т.ч. автообод и др. |
15 |
95 |
160 |
2,4 |
|
Цветной металл |
12 |
55 |
220 |
3,1 |
|
ИТОГО |
1520 |
7030 |
6600 |
99,1 |
3200
200
50...600
1300
3030
1520
Максимальная длина обрези, мм
Минимальная длина обрези, мм
Длина проб, мм
Длина копровой пробы, мм
Суммарная мощность электродвигателей,
установленных на механизмах участка
пил, кВт
Производительность участка пил, тыс.т/год
Примечание:
СРС - стационарная рольганговая секция
ПРС - подвижная рольганговая секция
14.2. Состав оборудования
Схема участка пил горячей резки представлена на рис. 14.1. Основное оборудование участка пил включает в себя:
- семь маятниковых пил горячей резки, из которых пять - передвижные и две - стационарные, с установленными на стационарных пилах сталкивате-лями обрези и проб, а также стенд для дисков пил;
- транспортные устройства, которые включают в себя три стационарные рольганговые секции (СРС), восемь подвижных рольганговых секций (ПРС), рольганг стеллажа качественной заготовки с установленными на них выравнивателями сдвоенных раскатов, сдваивателем и рельсовым упором, а также устройствами безупорной остановки резки проката (УБОП-1 и УБОП-2);
- устройство уборки обрези в железнодорожные гондолы и тележку для их перемещения, а также устройство передачи проб к столу мастера, в копровое отделение и лабораторию;
- стационарный дисковый клеймитель рельсов и съемный клеймитель кругов и квадратов;
- электрооборудование, включающее приводы, пускорегулирующую аппаратуру, системы и приборы путевой автоматизации;
- контрольно-измерительные приборы, обеспечивающие работу автоматических систем расстановки пил, их температурной коррекции и других систем технологических процессов.
Участок пил оборудован системами густой и жидкой смазки, охлаждения и пневмоуправления, включающими станцию пластической смазки, разводки густой смазки, воды и воздуха, переносные станции жидкой смазки. Все пилы устанавливаются на путях для перемещения пил. В состав оборудования входит также подвод энергоносителей к пилам и подвижным рольганговым секциям.
14.3. Описание технологического процесса.
На участке пил производится одновременная подача рольгангами концевой части предыдущего раската с неотрезанным задним концом к пиле №7 и последующего раската к пилам №1-6. Затем одновременно пилой №7 и необходимым количеством пил №1-6 производится отрезание задней обрези концевой части предыдущего раската, передней обрези последующего раската и резка раската на мерные длины. При этом на пиле №7, для всех профилей проката, кроме требующих получения только мерных штанг (рельсы, зетовый профиль, полособульб специальный, балки специальные, цветной металл, заготовка трубная и круглая) производится вырезка немерных штанг по максимальному выходу годного.
Сталкивателями, установленными на пилах №6 и №7, короткими ходами производится одновременное сталкивание передней и задней обрези на концевую часть плит рольганга. По мере накопления пакетов обрези, достаточных по ширине для заполнения платформ тележек сбора обрези, длинными ходами сталкивателей производится передача пакетов на платформы тележек.
Поочередно тележки перемещаются в позицию разгрузки у скипа, производится поворот платформы и обрезь ссыпается в скип. После опускания платформы тележка возвращается в исходное положение.
Скип после заполнения обрезью перемещается по эстакаде и, наклоняясь, ссыпает ее в вагон, установленный под эстакадой. По мере заполнения вагон перемещается самоходной тележкой, оборудованной автосцепкой. После заполнения всех вагонов тележка передвигает вагоны в сторону "косого" въезда в РБЦ, автосцепка рассоединяется и тележка возвращается в исходное положение. Если времени для заполнения скипа будет недостаточно для замены вагонов, тележка с установленной на ней емкостью устанавливается под скиповым устройством и принимает 1-2 скипа с обрезью. В этом случае после остывания обрезь в коробе тележки магнитом перегружается в вагон.
При вырезке проб технологический процесс имеет следующие особенности.
Одновременно пилами №6 и №7 производится обрезание передней и задней обрези. Длинным ходом сталкивателя пилы №6, накопленная на плите рольганга обрезь сталкивается на тележку у пилы №6, тележка перемещается на короткий или длинный ход (в зависимости от длины пробы). Последующий раскат подается на ход равный величине пробы, производится рез пилами №1-6, длинным ходом сталкивателя пилы №6 проба сталкивается в желоб под рольгангом и поступает в тележку передачи проб.
В зависимости от направления дальнейшего движения пробы, поворотный склиз может быть поднят - в этом случае проба передается на тележку, следующую к столу мастера стана, или опущен - в этом случае проба подается на поддон, передаваемый в лабораторию или копровое отделение.
Если требуется отрезка и подача нескольких проб, имеющих один адрес, операция отрезки проб повторяется пилой №6 и пробы сталкиваются в желоб.
При резке раскатов, для которых не допускается получение немерных штанг, т. е. на пиле №7 должна получаться также мерная штанга, технологический процесс имеет следующие особенности. Устройство безупорной остановки проката №2 (УБОП-№2) передвигается на заданную мерную длину от диска пилы №7 до нулевого датчика МФД-63. Остановка концевой части предыдущей полосы для порезки производится автоматически.
Головной и концевой конец каждого рельса клеймится дисковым клейми-телем, установленным за пилой №7 и вводимым в поток на период рельсовой кампании. На шейке каждого рельса клеймится номер плавки, кроме того, выделяются и особо клеймятся первый и последний рельс по ходу прокатки.
Для уборки рельсов на стеллаж качественной заготовки парами предусмотрен сдваиватель, установленный на рольганге стеллажа качественной заготовки за дисковым клеймителем. Сдваиватель сдвигает конец предыдущего рельса для подачи последующего на упор, расположенный в конце рольганга стеллажа качественной заготовки.
Для максимального выхода годного при порезке рельсов системой автоматизации участка предусмотрено чередование максимальной и минимальной обрези на пилах №6 и №7 для раскатов из слитков мартеновской стали. Что касается порезки раската из непрерывнолитой заготовки, то в этом случае возможна одновременная порезка 3-мя пилами, т. к. макроструктура металла одинакова по всей длине рельсового раската.
Системой автоматизации участка предусмотрена температурная коррекция длин отрезаемых рельсов. Пилы №3 и №7 при двукратной резке раската и пилы №1, 6 и 7 при трехкратной порезке по импульсу от пирометров, установленных в начале участка пил и перед рольгангом стеллажа качественной заготовки, передвигаются в пределах ±30 мм для получения требуемой длины, обеспечивающей минимальный припуск на фрезерование торцов.
Для улучшения качества реза в колосниковых щелях ПРС №1 и №5, а также СРС №2 и №3 против дисков пил №1, №3, №6 и №7 установлены подъемные колосники, которые при порезке поднимаются до уровня полотна рольганга и предотвращают отгибание концов разрезаемого рельсового проката. На существующем оборудовании участка пил имеется техническая возможность для резки раската на рельсы длиной 26,5 м и 51,5 м. Для этого необходимо передвинуть опускающийся упор и установить сталкиватель на пиле №1 для механизированной уборки обрези заднего конца рельса. Учитывая, что участок пил реконструирован относительно недавно и технический уровень выполняемых на нем технологических операций не вызывает особых нареканий, в ближайшие годы его можно не реконструировать.
в состав маркировки включают также обозначение содержания углерода и марганца (только для рельсов типа 60) в стали.
Клеймение рельсов на НТМК осуществляют с помощью дискового клеймителя, который был разработан и изготовлен ПО "Уралмаш" в комплекте с реконструированным в 1991 г. участком маятниковых пил.
Клеймовочная установка состоит из собственно дискового клеймителя, устройства гибкого подвода энергоносителей и узла направляющих с плитами. Дисковый клеймитель включает в себя верхний приводной диск и нижний опорный ролик, поворотную каретку, корпус, привод перемещения, стопоры для фиксации клеймителя в рабочем положении, разводку металлорукавов для кабелей, разводку трубопроводов смазки и пневмоуправления. Верхний диск (рис. 15.1.) с десятью клеймами и двумя литерами закреплен на валу, связанном посредством муфты с электродвигателем. Вал диска и электродвигатель расположены на общей раме, которая имеет возможность поворачиваться для клеймения относительно корпуса с помощью пневмоцилиндра, установленного на корпусе. Корпус установлен на катках, перемещающихся в закрытых направляющих.
Клейма в верхнем диске закреплены жестко. Литеры "1" и "X" имеют возможность перемещаться в пазах диска и могут занимать относительно поверхности диска следующие положения:
Нейтральное, при
котором оба литера утоплены в диске, и
клеймение
рельсов в этом случае ими
не производится.
Рабочее, при котором
один литер утоплен в диске, а второй
литер
выступает над поверхностью
диска и им производится клеймение
рельса.
Перемещение литеров производится путем смещения опорных клиньев в пазах диска с помощью пневмоцилиндра.
Для получения четкого отпечатка верхний диск клеймителя вращается со скоростью, близкой к скорости перемещения рельса рольгангом. Диск приводится во вращение электродвигателем, синхронизация скорости и момент для клеймения должны создаваться движущимся рельсом, а не электроприводом, который предназначен только для холостого вращения диска с окружной скоростью близкой к скорости перемещения рельса.
Клеймение рельсов всех типоразмеров осуществляется одним диском. Регулировка диска по высоте производится автоматически за счет хода пневмоцилиндра, прижимающего диск к рельсу.
Нижний опорный диск насажен на эксцентрик, что обеспечивает его настройку на каждый типоразмер рельса. При прокатке нерельсовых профилей дисковый клеймитель выводится из потока приводом перемещения, установленным в раме клеймителя.
Накатка клейм осуществляется при непрерывном движении рельсов, порезанных на пилах №1 и №6.
Перед остановкой концевого рельса на упоре, при резке его на пиле №7, после нанесения клейма на переднюю часть рельса, верхний диск клеймителя
должен быть поднят и опускается после окончания реза на пиле №7 и достижения рельсом минимально допустимой скорости.
Клейма наносятся на расстоянии 1,6 м от переднего и заднего концов рельса.
Клеймо включает в себя номер плавки и порядковый номер рельса.
Номер плавки наносится постоянным набором клейм на всю плавку.
Порядковый номер наносится выдвижными литерами и включает в себя цифру "1" и знак "X".
Цифра " 1" наносится на переднем конце первого из слитка рельса.
Знак "X" наносится на заднем конце последнего из слитка рельса.
Верхний диск клеймителя постоянно вращается от электродвигателя.
При прохождении под диском подлежащих клеймению мест верхний диск клеймителя автоматически опускается пневмоцилиндром на рельсы и производится клеймение.
После получения двух отпечатков (один из которых полный) диск автоматически поднимается.
Перед прохождением под диском мест, подлежащих клеймению выдвижными литерами, происходит соответствующее переключение литеров пневмоцилиндром (вручную с рабочего места).
После клеймения всех рельсов каждой плавки диск останавливается двигателем в положении, удобном для смены клейм. Смена клейм производится вручную. Положение диска при смене клейм показано на рис. 15.1.
Анализ маркировки показывает, что принципы и содержание маркировки, наносимой методом прокатки по ГОСТ 24182, отвечает общепринятым положениям и может применяться без изменений. В то же время маркировка, наносимая методом штамповки, нуждается в существенном изменении. В ее состав целесообразно включить информацию о способе противофлокенной обработки и о различном обозначении рельсов, прокатанных из слитков и НЛЗ. При прокатке рельсов из слитков и НЛЗ целесообразно указывать номера слитков, ручьев, заготовок, блюмов и другую необходимую информацию. С этой целью следует при реконструкции установить новую современную клеймовочную машину, которая в автоматическом режиме могла бы идентифицировать каждый выпускаемый рельс с необходимой информацией о технологии производства и качестве. Разработчиком и изготовителем такой новой машины может быть, как и ранее, ОАО "Уралмаш", или ее следует приобрести по импорту, например, из Германии.