Лекции Детали Машин
18.Конические зубчатые передачи.
Геометрия конического зацепления

d>e> – внешний делительный диаметр
d>ae> – внешний диаметр вершин зубьев
d>fe> – внешний диаметр впадин зубьев
d>m> – средний делительный деаметр
R>m> – среднее конусное расстояние
R>e> – внешнее конусное расстояние
b – высота зуба
h – ширина зуба
δ>1>, δ>2> – углы начальных конусов
Конические передачи применяют, когда оси валов пересекаются под прямым углом, профиль зубьев может быть эвольвентным или круговым:
Прямозубые передачи применяются при окружных скоростях до 5 м/с
Передача с круговыми зубьями обладает большой нагрузочной способностью, обеспечивает плавное зацепление и менее шумное в работе. Более технологичны в изготовлении.
Угол наклона зубьев на длительном диаметре β=35˚
;
Основные размеры зубчатых колес.
Внешний делительный диаметр
d>e1 >= m>e>·z>1>
d>e2> = m>e>·z>2 >
Внешний диаметр вершин зубьев
d>a1> = d>e1> + 2m>e>·cosδ>1>
d>a2> = d>e2> + 2m>e>· cosδ>2>
Внешнее конусное расстояние

Среднее конусное расстояние
R>m>> >= R>e> – 0,5b
Средний окружной модуль
,
где
m>e> – внешний торцевой окружной модуль
Для зубчатых колес с круговым зубом его обозначают, как m>te>. Округляются до стандартного числа.
Средний делительный диаметр
d>m1 >= m·z>1>
d>m>>2 >= m·z>2>
Передаточное отклонение передачи
;
;
– передаточное число
19.Силы в зацеплении конических колес.

F>n> – нормальная сила в зацеплении
F>e> – окружная сила
F>r> – радиальная сила
F>a> – осевая сила
При определении усилии в зацеплении нагрузку распределенную по ширине зубчатого венца это заменяют сосредоточенной силой F>n>

Радиальная сила:




20.Червячные передачи
Червячная передача – это передача с перекрещивающимися осями.
Состоит из винта червяка и червячного колеса
Преимущества:
1.Плавность и бесшумность работы
2.Возможность получения больших передаточных отношений (особенно вне силовых передач u=1000)
3.Возможность самоторможения передачи за счет сил трения в червячной паре
Недостатки:
1.Низкий КПД
2.Значительное выделение тепла в зоне передач
3.Интенсивное изнашивание и склонность к заеданию
4.Необходимость применения для венцов червячных колес дорогих антифрикционных материалов
5. Повышенные требования к точности сборки
Применение:
При небольших и средних мощностях (50-150кВт)
При окружных скоростях до 25 м/с
Классификация червячных передач.
1.По форме внешней поверхности червяка
а) цилиндрический
б) глобоидальный

Глобоидальные червяки сложнее в изготовлении, имеют высокий КПД, более надежны и долговечны.
2.По расположению червяка различают с верхним, нижним и боковым расположением.

С нижним
расположением применяется при
м/с
(это обусловлено тем, что при большей
скорости масло будет вытекать, пенится
и не поступать в трущиеся пары)
3.По числу витков червяка
Резьба червяка может быть одно и многозаходной, правой и левой.
z>1>=1,2,4(с кол-вом витков)
4.По профилю резьбы
В зависимости от способа нарезания червяка:
архимедов червяк;
б) конвалютный червяк;
в)эвольвентный червяк;
г)спираидальный червяк;
д)тороидальный червяк.
Изготовление червяков
Червяки могут быть нарезаны на
токарно-винторезном станке

или модульной фрезой.

Червячные колеса чаще всего нарезают червячными фрезами с более высоким профилем и острыми кромками.
21.Геометрия червячных передач

- угол профиля червяка равен 20˚
Шаг резьбы червяка связан с числом заходов по формуле
,
где z>1>-число заходов
Угол подъема винтовой линии червяка на делительной окружности:
,
где q-коэффициент
делительного диаметра
d>1>=m·q , где d>1>-делительный диаметр
1.Делительный диаметр
d>1>=q·m
d>2>=m·z>2>
2.d>a1>=d>1>+z>m>=m(q+2)
d>a2>=d>2>+2m=m(z>2>+2)
3.d>f1>=d>1>-2,4m=m(q-2,4)
d>f2>=d>2>-2,4m=m(z>2>-2,4)
4.a>ω>=
m(q+z>2>)
5.Ширина нарезанной части червяка
при z>1>=1;2
b>1>≥(11+0,06·z>2>)m+Δ
при z>1>=3;4
b>1>≥(12+0,09·z>2>)m+Δ
при m<10 Δ=25мм
m=10…16 Δ=35…40мм
m>16 Δ=45…50мм
6.Ширина венца колеса
z>1>=1;2;3 b>2>≤0,75·d>a1>
z>2>=4 b>2>≤0,67·d>a1>
> >
7.Условный угол обхвата червячного колеса на диаметре d'=d>a>>1>-0,5m

8.Наибольший диаметр червячного колеса
;
9.Передаточное отношение
;
;

Т.к. углы подъема винтовой линии червяка равны 5-15˚, то в червячных передачах при тех же габаритах, как и цилиндрических передаточное число больше в 6-12 раз.

22.Скольжение в червячных передачах.
Во время работы червячной передачи витки червяка скользят по зубьям червячного колеса, причем скорость скольжения направлена по касательной к винтовой линии червяка.

-окружная
скорость червяка
-окружная
скорость червячного колеса
-скорость скольжения

;
(находится по формуле, через угол наклона
по винтовой линии)

Из соотношения видно,
что
большое скольжение в червячных передачах
приводит к быстрому изнашиванию зубьев
червячного колеса, увеличивает склонность
передачи к заеданию для предотвращения
заедания передачи венцы червячных колес
изготавливают из антифрикционных
материалов.
23.Усилия в зацеплении червячных передач
;
;
(направление
данных сил такое же как в конических
передачах)
Т.к. осевая сила на червяке может иметь большие значения, а вал червяка имеет небольшой диаметр, то опору червяка воспринимающую осевую силу достаточно часто конструируют из двух подшипников.
Формула проектного расчета:
k>н>=1
k>н>=1,1…1,4

24.Зубчатые редукторы.
Зубчатый редуктор – механизм предназначенный для понижения угловых скоростей и увеличения крутящих моментов, обычно выполняется в виде отдельных агрегатов и передает мощность от двигателя к машине при u6,3
применяют одноступенчатые цилиндрические редукторы.

u=
Редуктор состоит из корпуса литого чугунного или сварного стального, в котором расположены элементы передачи.
Наибольшее распространение получили двухступенчатые редукторы с передаточным числом от 8 до 40.
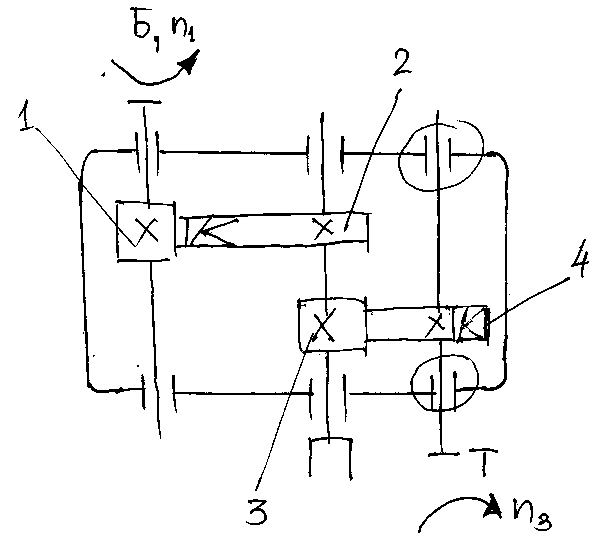
Двухступенчатый цилиндрический редуктор по развернутой схеме.

u>общ
>= u>Б>·u>т>=
Преимущества:
Передача больших моментов, относительная простота конструкции.
Недостатки:
Из-за несимметричного расположения зубчатых колес на валах редуктора имеет место повышенная неравномерность распределения нагрузки по длине зуба
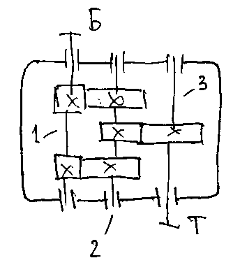
Для улучшения условий работы зубчатых колес применяются редукторы с раздвоенной ступенью.

u>p >= u>Б>·u>т>
u>p >= 8...40
Недостаток: увеличение габаритов и металлоемкости.
Преимущество: передает большие моменты, большие передаточные числа; равномерное распределение нагрузки на опоры валов.
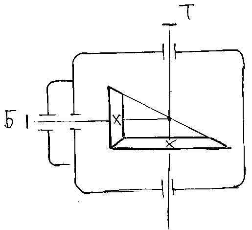
Соосная схема

u = 8...40
Преимущество:
Возможность передачи моментов на одной оси Б и Т валов.
Недостаток:
Увеличение длины промежуточного вала за счет, чего увеличиваются изгибающие моменты.
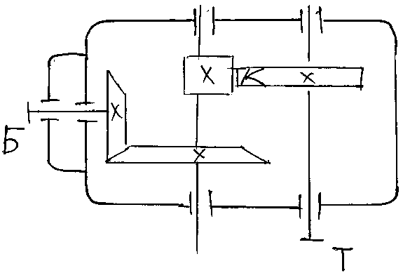
При взаимно перпендикулярном расположении валов применяются конические редукторы.

u6,3
Преимущество:
Возможность передачи моментов под прямым углом.
В случае если необходимо передавать большие моменты применяют коническо – цилиндрический редуктор.

Передаточные числа редукторов Б и Т ступени Гостированы для обеспечения минемального веса и габоритов редуктора; при этом должно соблюдаться условие u>Б>>u>т>
Форму корпуса и крышки редуктора определяют по размерам колес и схеме редуктора.
Для увеличения жесткости корпуса в местах передачи усилия от подшипников на корпус предусматривают ребра жесткости или утолщения стенок.
Для возможности осмотра зацепления зубчатых колес и заливки масла в крышке редуктора предусматривают смотровое окно.