Монтаж насосних агрегатів
Міністерство освіти України
Київський енергетичний технікум
КЕТ
Реферат на тему:
Монтаж насосних агрегатів
Керівник
В. П. Семеняко
Розробив
О. В.Цюпа
1999
Передмова.
Насоси – це гідравлічні машини, які призначені для транспортування рідини шляхом надавання їй енергії, здебільшого у вигляді надлишкового тиску. Насос,транспортуючи рідину виконує роботу за рахунок енергії,отриманої від двигуна. Частина цієї енергії, за винятком втрат, передається насосом рідині.
Згадки про насоси доходять до нас ще з сивої давнини. Вже до нашої ери користувалася найпростішими засобами для транспортування та підйому води. Використовували водопідйомні колеса і норії у вигляді ряда посудин, прив’язаних до петлі з мотузки, верхній край якої був накинутий на обод повільно обертаючогося колеса, розташованого над водоймищем.
Також використовували гвинтовий водопідйомник – гвинт Архімеда. Він являв собою циліндричну трубу, відкриту з обох боків, встановлену над водоймищем під кутом. Нижній край труби опускали у воду. В середині труби розташовувався вал з гвинтовою поверхнею, який разом зі стінками труби створював гвинтовий канал. При обертанні вала вода переливалась з витка в виток і поступово підіймалась догори.
Сторіччями людство користувалосьтакими примітивними водопідйомними механізмами. Тільки після винаходу у XVIII ст. першої парової машини почали більше використовувати поршньові насоси, особливо починаючи з XIX ст.
Пізніше на зміну поршньовим насосам прийшли центробіжні та пропелерні – більш компактні, легкі та дешеві.
У середині XVIII ст. російський вчений Ейлер розробив струйну теорію центробіжних машин, яка давала можливість конструювати центробіжні насоси з високими ККД.
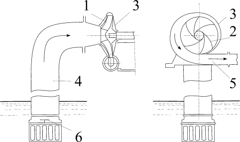
1. Конструкція і принцип дії центробіжного насоса.
Основним робочим органом центробіжного насоса є робоче колесо з монтажними лопатками, які містяться на валу всередині нерухомого корпуса спиральної форми.
Робоче колесо складається з двох дисків: переднього та заднього, між якими знаходяться лопатки, зігнуті у бік, протилежний напрямку руху робочого колеса.
Корпус насоса патрубками з’єднаний з трубопроводами, один з яких всмоктуючий, інший – напорний. Перед пуском у дію корпус насоса та всмоктуючий трубопровод повинні бути заповнені рідиною (якщо вона не надходить у насос під напором) .
Щоб рідина не витікала з насоса і всмоктуючого трубопровода при заповненні насоса, або його зупинці, на всмоктуючий трубопровод встановлюють зворотній клапан з всмоктуючою сіткою.
При обертанні робочого колеса рідина, яка заповнює канали між лопатками колеса, під дією центробіжної сили відкидається від центра колеса, та, виходячи з нього з високою швидкістю, надходить до спиральної камери, а потім до всмоктуючого трубопровода. Під дією центробіжної сили тиск рідини в камері збільшується.
При цьому на вході рідини до робочого колеса створюється тиск нижче атмосферного. Під дією атмосферного тиску на поверхню рідини резервуара вона по всмоктуючому трубопроводу безперервно надходить до насоса.
Спиральна камера корпуса насоса використовується для поступового відводу рідини, яка надходить з робочого колеса до напорного трубопровода та для зменшення швидкості руху рідини з метою перетворення кінетичної енергії в потенційну енергію тиску.
Для створення великих тисків застосовують багатоколесні насоси, які мають декілька робочих колес, з’єднаних послідовно у корпусі.
Рідина з робочого колеса надходить у кільцевий канал, який складається з двох кільцевих дисків, між якими розташовуються направляючі лопатки, зігнуті у бік, протилежний лопаткам робочого колеса. Вони призначені для зменшення швидкості рідини, яка переходить при цьому в кінетичну енергію тиску. Переріз каналів між лопатками направляючого апарата поступово збільшується, в результаті чого і відбувається перетворення швидкості в енергію тиску.
В багатьох насосах сучасних конструкцій перетворення швидкості в енергію тиску відбувається без направляючого апарата шляхом надання плавного контура спиральному відводному каналу корпуса.
2. Монтаж горизонтальних насосних агрегатів.
Не дивлячись на те, що існує велике різноманіття насосів горизонтального типу, виготовляємих вітчизняною промисловістю,монтаж цих насосів дуже схожий. Нижче приведені найбільш розповсюджені способи монтажу насосних агрегатів.
Монтаж горизонтальних консольних насосів.
Насоси цього типу заводи – виготовлювачі поставляють на місце монтажу у зібраному вигляд із електродвигуном на спільній плиті, або зварній рамі. Такі насосні агрегати перед встановленням на фундамент не розбираються, так як роз’єм їх корпуса пломбується заводом – виготовлювачем.
В опорних лапах насоса та електродвигуна повинні бути встановлені контрольні штифти, які гарантують співвісність валов насоса та електродвигуна.
Вали насоса та електродвигуна повинні легко обертатися руками, або за допомогою лома, при цьому слід звернути увагу на те, що при оберті вали повинні мати люфт відносно один одного. Якщо при обертанні полумуфт виявлено відсутність люфту, що переважно призводить до вібрації агрегата під час експлуатації то перевіряють з’єднання полумуфт. Знімають всі пальці та виконують контрольну перевірку співвісності валов, так як щільно забиті пальці без люфта могли порушити їх первисне встановлення. В таких випадках перед з’єднанням муфт перевіряють якість виготовлення та розміри пальців. Необхідно, щоб пальці своєю металевою частиною щільно входили в отвори ведучої полумуфти, з невеликим натягом від легких ударів молотком, а в отвори ведомої полумуфти – із зазором 2-3 мм по діаметру для запобігання поздовжнього зміщення або обертання навколо стержня. Еластична частина пальця щільно зажата на стержні пальця.
Зазор між еластичною частиною пальця в отворах ведомої полумуфти забезпечує зміщення полумуфт по колу, що дає можливість застосувати такий спосіб встановлення пальців: після встановлення і закріплення першого пальця перевіряють, чи зміщується одна полумуфта відносно іншої при обертанні. Якщо є таке зміщення, то це означає, що є зазор, і тоді встановлюють наступний палець й ще раз перевіряють наявність зміщення полумуфт.
Якщо після встановлення якогось пальця зміщення полумуфт не буде, то палець знімають та встановлюють інший, або проточують його еластичну частину.
Перед пуском насосу може бути потрібна ревізія електродвигуна з його розборкою і сушкою обмотки, тому підкладки під лапи електродвигуна слід промаркувати та при збиранні двигуна встановити на свої місця, так як це було зроблено заводом – виготовлювачем. При встановленні пальців, які з’єднують полумуфти, особливу увагу приділяють шплинтовці гайок.
Насосний агрегат, підготовлений до встановлення, за допомогою вантажопідйомного механізму встановлюють на фундамент. Слід відмітити, що насосні агрегати вказаних типів вивіряють встановлювальними болтами.
Агрегат, який встановили і вивірили за висотною відміткою та в горизонтальній площині, підливають бетонною сумішшю.
В процесі вивірки насоса в горизонтальній площині та за висотними відмітками з напорного та всмоктуючого патрубків тимчасово знімають заглушки, так як виски, які опускають з натягнутих струн, повинні пройти по центру патрубків. Після вивірки заглушки встановлюють на свої місця до підключення до насосів трубопровода. Це необхідно для того, щоб у насос не потрапили сторонні предмети, із-за яких може знадобитись розборка опломбованого насоса.
Монтаж горизонтального насосного агрегата з окремими опорними плитами під насосом та електродвигуном.
Монтаж цього типу насосів починають з встановлення на фундамент насоса разом з опорною плитою або рамою. Насос встановлюють на одну з підготовлених основ, вивіряють і закріпляють до фундамента. Після цього насос є базою, так як встановлюємий електродвигун повинен бути прицентрований до насоса полумуфтами. Єдиною особливістю, на яку слід звернути увагу при монтажі таких насосних агрегатів є спосіб їх кріплення болтами до фундамента та підливка їх бетонною сумішшю.
Якщо встановлюємий насос прикріпляють до фундамента анкерними чи фундаментими болтами, забетонованими в фундамент при його виготовленні, то підливку такого насоса роблять одночасно після встановлення та приценртовання до нього електродвигуна згідно з вказівками проекту. Якщо встановлюємий насос закріпляють фундаментими болтами, які опускають в шахти, то після попередньої вивірки за висотними відмітками та горизонтальною площиною у плані виконують заливку бетоном тільки болтів.
Кінцеву перевірку встановлення насоса виконують після того, як бетонна суміш заливки затвердіє не менш як на 60% відносно проектної твердості.
Після цього встановлюють і виконують прицентровку двигуна у такій же послідовності, як і при встановленні насоса.
Монтаж насосів, працюючих на гарячій воді, та турбонасосів, які поступили в зібраному вигляді з опломбованими патрубками, виконують з додатковою перевіркою і встановленням зазорів у поздовжніх шпонках і дистанційних втулках, або болтах.
Боковий зазор (сумарний) в поздовжніх шпонках допускається 0,04–0,06 мм. При менших зазорах шпонку підпилюють, при більших – замінюють.
Зазор між дистанційною втулкою та отвори у лапах насоса з боку всмоктуючого патрубка повинні бути не менше 2,5 мм. Якщо зазор менший, необхідно дистанційну втулку проточити за наружним діаметром, а при ії відсутності – розсвердлити отвір у лапах насоса. Зазор між дистанційною шайбою та поверхнею лап насоса може бути 0,04–0,06 мм. Якщо зазор менший, то слід підпилити шайбу, а якщо більший – торець дистанційної втулки.
При виконанні монтажу насосного агрегата, який має окремі опорні рами, або плити, особливу увагу потрібно приділити зазору між торцями полумуфт, який завжди вказується у кресленнях. Перевірку зазора виконують при повному зміщенні ротора електродвигуна у бік насоса.
Насосні агрегати горизонтального виконання на спільній фундаментній плиті, чи на окремих плитах, які встановлюються на будь-яких видах опорних основ, перед підливкою бетонною сумішшю вивіряють за висотними відмітками відносно репера, або відносно висотної насічки.
Крім цього перевіряють розташування насосного агрегата за осями у плані та в горизонтальній площині. Для цього натягують горизонтально-поздовжні та поперечні струни. На них закріпляють виски таким чином, щоб вони співпадали з відповідними насічками на фундаменті. На поздовжніх струнах закріпляють виски так, щоб один висок співпав з центром всмоктуючого патрубка насоса та насічкою, яка наноситься на фундаменті. Другий висок повинен співпасти з віссю електродвигуна та насічкою. Поперечну струну потрібно натягувати, якщо в цеху одночасно встановлюють два, або декілька насосів в одному ряду. При цьому виски, які опускаються зі струни, повинні співпасти з центрами напорних патрубків.
Потрібно відзначити, що відстані між натягнутими струнами повинні суворо відповідати проектним розмірам з допуском не більше ±2 мм. Це є особливо важливим, коли підготовку трубопроводів для групи насосів виконують індустріальним способом в спеціалізованих майстернях. Після встановлення насосів по осях перевіряють їх висотне розташування нівелиром та рейками, встановленими на репері, або контрольною лінійкою, яку кладуть на оброблену частину плити (рами), а також рівнем та мірильною лінійкою. Відрахунок при цьому ведеться від висотної насічки, яка наноситься на фундамент. Відхилення встановленого та вивіреного агрегата від проектної висотної відмітки не повинно перевищувати ±5 мм. Відхилення двох, або більше насосних агрегатів не повинно перевищувати ±2 мм. Великі відхилення, які виходять за границі приведеного допуска, можуть спричинити переробку заготовки трубопровода, виконаного в майстернях.
Горизонтальність встановленого насосного агрегата в поздовжньому та поперечному напрямках перевіряють контрольною лінійкою, яку кладуть на оброблену частину плити (рами) і брускового рівня 200-0,1. Показники рівня, встановленого на лінійку, вважають допускаємими, якщо середнє замірювання з двох показників при повороті на 180º матиме відхилення не більше трьох ділень.
Перед встановленням агрегата на опорні основи перевіряють ретельність очищення опорних рам від фарбування та консервуючих матеріалів.
Фундаментні, або встановлені анкерні болти, опущені в шахти, повинні знаходитись в схиленому стані та бути перпендикулярними опорним плитам. Стержень болта може знаходитись від найближчої стінки шахти на відстані, яка дорівнює не менш одного діаметра болта.
Якщо насосний агрегат монтують на опорній основі, яка являє собою подушки з бетонної суміші з металевими підкладками, потрібно перевірити, щоб рама, або плита агрегата щільно лежала на усіх підкладках. Нещільності між деякими підкладками та плитою ліквідують, підкладаючи в цих місцях додаткові підкладки з каліброваної фольги, жесті або кровельної сталі. Таку прокладку підкладають на всю опорну площу.
Якщо при перевірці виявиться, що зазор між рамою або плитою та підкладками клиновий, то його виправляють тільки підпилюванням опорної поверхні. Встановлювати клинові прокладки забороняється.
Агрегат, встановлений та вивірений на фундаменті, за допомогою підкладок на подушках з бетонної суміші перед підливкою прикріпляють до фундаменту, рівномірно затягуючи гайки фундаментних або анкерних болтів. Щуп товщиною 0,1 мм повинен не проходити між встановленим устаткуванням й прокладками.
Агрегати, вивірені на фундаменті за допомогою клинових домкратів або встановлювальних болтів закріпляють затягуванням гайок фундаментних або анкерних болтів після підливки та усунення домкратів або вивертання встановлювальних болтів.
Відсутність деформації плити від затягування гайок перевіряють спеціальними вимірювальними приладами – індикаторами.
3. Перевірка співвісності валів горизонтального насосного агрегата.
В горизонтальних насосних агрегатах вали з’єднуються полумуфтами різних конструкцій в залежності від швидкохідності агрегата. Одна з умов нормальної роботи насосного агрегата – щільна і правильна посадка полумуфт на валах.
Торцевий та радіальний люфт полумуфт перевірюється індикатором, що відноситься головним чином до агрегатів, які надійшли на монтажний майданчик у зібраному вигляді. При жорстких полумуфтах допускається торцевий люфт не більше 0,02 мм, радіальний – 0,04 мм; при пружних полумуфтах відповідно допускається люфт 0,04 і 0,06 мм. Якщо люфт полумуфти більше допускаємого рекомендується проточити полумуфту за наружним діаметром та по торцю на токарному станку.
Спочатку лінійкою виконують попередню перевірку співвісності валів. Зазори замірюють щупом при повороті полумуфт через кожні 90º. Якщо сума величин діаметрально протилежних вимірювань відповідає допускам, які приведені в таблиці, то співвісність можна вважати непоганою.
Перевірку співвісності агрегата з числом обертів до 1000 об/хв виконують пристосуваннями та щупом.
Перевірку співвісності агрегата з числом обертів вище 1000 об/хв виконують спеціальними пристосуваннями з індикаторами. Цей пристрій закріпляють на полумуфтах за допомогою стальної гнучкої ленти, що дає можливість застосувати його для муфт будь-яких діаметрів.
Результати перевірки співвісності валів, отримані за допомогою пристроїв заносять у таблицю.
Початкові показники знімають до початку обертання валів, при цьому позиція І відповідає встановленню валів на 0º, при цьому індикатори А і В знаходяться нагорі. Позиція ІІ відповідає повороту валів на 90º, ІІІ –на 180º, IV – на 360º.
Злам осей в горизонтальній площині вираховують за формулою:
,
де:
П>Г> – злам осей валів у горизонтальній площині;
а>2>,> >б>2>, а>4>, б>4> – показники індикаторів для вимірювання злама осей валів: індекси відповідають позиції полумуфт при обертанні.
Злам осей в вертикальній площині вираховують за формулою:
,
де:
П>В> – злам осей валів у вертикальній площині;
а>1>,> >б>3>, а>3>, б>1> – показники індикаторів для вимірювання злама осей валів.
Паралельне зміщення осей валів вираховують за формулою:
,
де:
C>Г> , – паралельне зміщення осей валів відповідно у горизонтальній й вертикальній площинах;
б>1>,> >б>2>, б>3>, б>4> – показники індикаторів для вимірювання паралельного зміщення осей валів.
Отриману співвісність валів за полумуфтами вважають задовільною, якщо величина зламу і паралельного зміщення осей, вираховувана за формулами, не буде перевищувати величин, які даються у таблиці.
Таблиця
Допускаємі відхилення при перевірці співвісності валів насосних агрегатів за полумуфтами
|
Швидкість обертання валів, об/хв |
Допускаєма величина перекосу та паралельного зміщення муфт |
||
|
жорсткої |
Пружної |
Зубчатої |
|
|
Більше 3000 об/хв До 3000 об/хв Більше 1500 об/хв Більше 750 об/хв Більше 500 об/хв |
0,02 0,04 0,06 0,08 0,1 |
0,04 0,06 0,08 0,1 0,15 |
0,04 0,1 0,12 0,15 0,2 |
В залежності від показників вимірювань за індикаторами або щупом в процесі перевірки співвісності регулюють опорні основи, на яких встановлені плити агрегата. Якщо в площині паралельної осі насосного агрегата, розташування устаткування визначають результатами центровки, то позицію корпусів устаткування в площині, перпендикулярної осі агрегата, – рівнем, встановленим на оброблену поверхню плити кожного з видів устаткування. В цьому випадку відхилення від горизонталі не повинно перевищувати показників трьох ділень брускового рівня 200 – 0,1.
Таким способом перевіряють співвісність як агрегатів, змонтованих на спільній фундаментній плиті, так і агрегатів, змонтованих на окремих плитах, які надійшли на монтаж в зібраному або розібраному вигляді.
Слід відзначити, що співвісність агрегатів, які надійшли змонтованими на спільній фундаментній плиті (насос – електродвигун), перевіряють тільки в тому разі, якщо в процесі перевірки насоса в дії буде виявлена погана робота, причиною якої є неспіввісність валів агрегата.
4. Техніка безпеки при монтажі та випробовуванні насосних агрегатів.
При монтажі та випробовуванні насосних агрегатів необхідно суворо дотримуватися вимог розділа СНіП ІІІ-А.11-62 ” Техніка безпеки на будівництві”.
Розташування устаткування, яке монтується і його робочих вузлів не повинно створювати незручних умов у робочій зоні та на робочих місцях. Робоче місце повинно бути добре освітлено, а при недостатньому природньому освітленні необхідно мати додаткове електричне освітлення.
Кожен працівник зобов’язаний терміново повідомляти своєму керівнику про всі помічені дефекти інструментів, пристосувань, механізмів та кранів, якщо ці дефекти погрожують безпеці роботи.
До монтажа насосних агрегатів допускають робочих, ознайомлених з правилами техніки безпеки на монтажних роботах.
Особливо небезпечною є робота одночасно на різних відмітках однієї вертикалі. В такому випадку сопруджують щільні настили з перилами та бортами. Суворо забороняється щось класти на ці настили, якщо вони не розраховані на додаткові навантаження. Забороняється залишати після виконання робіт на настилах незакріплені деталі – болти, гайки, інструмент і т. ін.
Працювати під устаткуванням, яке знаходиться в підвішеному стані на гаку тельфера, крана або іншого вантажопідйомного механізма чи пристроя суворо забороняється. Працювати під устаткуванням дозволяється тільки при наявності спеціального захисного навіса.
Забороняється зберігати на місці монтажа мастила, палива та легкозаймаючієся речовини.
Для ручних електроламп необхідно використовувати напругу не вище 36 В, а в особливо небезпечних місцях, де можливо травмування електричним струмом (колодці, металеві резервуари, вологі приміщення), – не вище 12 В.
До користування електричним інструментом допускають робочих, які пройшли спеціальне навчання. При роботі електричним інструментом необхідно одягати гумові та галоші. Корпуса електричного інструмента заземляють спеціальним електропроводом. Працювати електричним і пневматичним інструментом з приставних драбин суворо забороняється.
При такелалежних роботах необхідно стежити за тим, щоб траверси, стропи, троси, канати, гаки та інші вантажозахватні пристосування, а також вантажопідйомні пристрої та механізми працездатні, випробувані згідно з правилами Держтехнадзора України.
Сталеві канати, які знаходяться в експлуатації, необхідно періодично промивати керосином, чистити проволочною щіткою та змащувати.
Монтаж насосних агрегатів в умовах діючих цехів й на теріторії діючих підприємств виконують тільки в суворій відповідності зі спеціально розробленим проектом виробництва монтажних робіт, узгодженим з начальником цеха та головним інженером підприємства.
В процесі монтажних робіт в діючих цехах або на теріторії діючих підприємств усі робочі та інженерно-технічні працівники, які беруть участь в монтажі повинні керуватися правилами техніки безпеки і внутрішнього розпорядка, встановленими для цих цехів або підприємств.
При монтажних роботах на теріторії діючих підприємств або в діючих цехах керівник монтажних робіт зобов’язаний вимагати від замовника:
Прийняття загальних заходів по техниці безпеки для взаємного безпечного проведення робіт як монтажним так і експлуатуючим персоналом;
Встановлення спеціальних захисних пристроїв при виробництві монтажних робіт поблизу вибухово небезпечних речовин, близько до електроустаткування та проводів, які знаходяться під напругою і т. ін., передбачене проектом виробництва монтажних робіт.
В діючих цехах, в яких можливе проникнення газа, виробництво монтажних робіт допускається тільки при умові постійного контролю вмісту в повітрі небезпечного газа. При появі такого газа роботи припинюють і всі присутні уходять з загазованого приміщення до повного очищення повітря; при цьому обов’язковим є присутність працівника газорятувальної станції.
Монтажні роботи у вибухово небезпечних й пожежно небезпечних приміщеннях і спорудах, а також поблизу діючих установок виконують тільки після ретельної підготовки до монтажа, складання керівником монтажних робіт і начальником цеха плана виробництва робіт та узгодження його з відділом технічної безпеки, пожежною охороною і газорятувальною станцією підприємства. План робіт ухвалює головний інженер підприємства.
Монтажні роботи в місцях, особливо небезпечних у пожежному відношенні, виконують в присутності чергового пожежної охорони діючого цеха або підприємства.
Перед пуском та випробовуваннями насосних агрегатів вхолосту або під нагрузкою необхідно:
Ознайомити всіх робочих з порядком проведення випробовування та заходами з безпеки при випробовуванні насосних агрегатів.
Перевірити освітленість робочих місць згідно з встановленими нормами.
Закрити люки, шахти та інші отвори, які знаходяться в зоні випробовування устаткування.
Забрати непотрібні предмети з поверхні.
Перевірити наявність та міцність захисних огорожень.
Перевірити справність захисних та контрольно-вимірювальних приладів

Конструкція центробіжного насоса.