Полупроводниковые пластины. Методы их получения (работа 1)
Ââåäåíèå
Ñîâðåìåííûå ïîëóïðîâîäíèêîâûå ïðèáîðû è èíòåãðàëüíûå ìèêðîñõåìû ïðåäñòàâëÿþò ñîáîé ÷ðåçâû÷àéíî ñëîæíûå óñòðîéñòâà, îòäåëüíûå êîìïîíåíòû êîòîðûõ èìåþò ðàçìåðû íå áîëåå äîëè ìèêðîìåòðà. Èçãîòîâëåíèå òàêèõ óñòðîéñòâ îñóùåñòâëÿåòñÿ íà ìîíîêðèñòàëëè÷åñêèõ ïîëóïðîâîäíèêîâûõ ïëàñòèíàõ ñ èñïîëüçîâàíèåì ôîòîëèòîãðàôèè. Ïîëóïðîâîäíèêîâûå ïëàñòèíû, ïðåäíàçíà÷åííûå äëÿ ôîðìèðîâàíèÿ èçäåëèé ìèêðîýëåêòðîíèêè, õàðàêòåðèçóþòñÿ ñoâepøåííîé àòîìíîé ñòðóêòóðîé è âûñîêîé ãåîìåòðè÷åñêîé òî÷íîñòüþ îáåñïå÷åíèÿ ýòèõ êà÷åñòâ ðàçðàáîòàíà îðèãèíàëüíàÿ òåõíîëîãèÿ ìåõàíè÷åñêîé, õèìè÷åñêîé è õèìèêî-ìåõàíè÷åñêîé îáðàáîòêè ìîíî-êðèñòàëëè÷åñêèõ ìàòåðèàëîâ, ñîçäàíî ïðåöèçèîííîå îáîðóäîâàíèå, çà÷àñòóþ íå èìåþùåå àíàëîãîâ â äðóãèõ îòðàñëÿõ íàðîäíîãî õîçÿéñòâà. Îáðàáîòêà ïîëóïðîâîäíèêîâûõ ïëàñòèí òðåáóåò âûñîêîé êâàëèôèêàöèè îïåðàòîðîâ è îáñëóæèâàþùåãî ïåðñîíàëà, íåóêîñíèòåëüíîãî ñîáëþäåíèÿ òåõíîëîãè÷åñêîé äèñöèïëèíû è îáÿçàòåëüíîãî ïîääåðæàíèÿ îñîáîé ÷èñòîòû ïðèìåíÿåìûõ ìàòåðèàëîâ è âàêóóìíîé ãèãèåíû â ïðîèçâîäñòâåííûõ ïîìåùåíèÿõ.
Ôîòîëèòîãðàôè÷åñêèå ïðîöåññû - âàæíåéøàÿ ñîñòàâíàÿ ÷àñòü òåõíîëîãèè èçãîòîâëåíèÿ ìèêðîýëåêòðîííûõ ïðèáîðîâ. Èìåííî îíè îáåñïå÷èâàþò ôîðìèðîâàíèå ýëåìåíòîâ ñòðóêòóð ñ ñóáìèêðîííûìè ðàçìåðàìè è õîðîøóþ èõ âîñïðîèçâîäèìîñòü. Íà ñîâðåìåííîì îáî- ðóäîâàíèè äîñòèãàåòñÿ ðàçðåøàþùàÿ ñïîñîáíîñòü, ïîçâîëÿþùàÿ ïîëó÷àòü íåñêîëüêî òûñÿ÷ ëèíèé íà ìèëëèìåòð. Íåîáõîäèìûì óñëîâèåì êà÷åñòâåííîé ôîòîëèòîãðàôèè ÿâëÿåòñÿ íàëè÷èå áåçäåôåêòíûõ âûñîêîòî÷íûõ ôîòîøàáëîíîâ.
§ 1. ÎÑÍÎÂÍÛÅ ÑÂÅÄÅÍÈß Î ÒÅÕÍÎËÎÃÈ×ÅÑÊÈÕ ÏÐÎÖÅÑÑÀÕ ÈÇÃÎÒÎÂËÅÍÈß ÏÎËÓÏÐÎÂÎÄÍÈÊÎÂÛÕ ÏÐÈÁÎÐÎÐÎÂ È ÌÈÊÐÎÑÕÅÌ
Îáùàÿ ñõåìà òåõíîëîãè÷åñêîãî ïðîöåññà
Âîçíèêíîâåíèå ñîâðåìåííîé òåõíîëîãèè ïîëóïðîâîäíèêîâûõ ïðèáîðîâ îòíîñèòñÿ ê 1957-1958 ãã., êîãäà áûëè îòêðûòû ëîêàëüíàÿ äèôôóçèÿ ïî îêñèäíîé ìàñêå è ôîòîëèòîãðàôèÿ. Ñî÷åòàíèå ýòèõ ìåòîäîâ çàëîæèëî îñíîâó ïëàíàðíîé ( plane - ïëîñêîcòü ) òåõíîëîãèè ïîëóïðîâîäíèêîâûõ ïðèáîðîâ è èíòåãðàëüíûõ ìèêðîñõåì (ÈÌÑ).  íàñòîÿùåå âðåìÿ îíà ÿâëÿåòñÿ äîìèíèðóþùåé òåõíîëîãèåé ïîëóïðîâîäíèêîâîãî ïðîèçâîäñòâà.
Ïëàíàðíóþ òåõíîëîãèþ ïðèìåíÿþò äëÿ ñîçäàíèÿ òâåðäîòåëüíîé ñòðóêòóðû, ñîäåðæàùåé ïîëóïðîâîäíèêîâûé êðèñòàëë ñ îïðåäåëåíííûì ðàñïðåäåëåíèåì ëåãèðóþùèõ ýëåìåíòîâ ( p-n - ïåðåõîäîâ ), ñèñòåìó âíóòðåííèõ ñîåäèíåíèé ñ äèýëåêòðè÷åñêîé èçîëÿöèåé, à òàêæå äëÿ ôîðìèðîâàíèÿ âíåøíèõ âûâîäîâ ýòîé ñòðóêòóðû è åå çàùèòû.
Îáùàÿ òåõíîëîãè÷åñêàÿ ñõåìà ïðîöåññîâ ïðîèçâîäñòâà ïîëóïðîâîäíèêîâûõ ïðèáîðîâ ïîêàçàíà íà ðèñ. 1. Îíà âêëþ÷àåò êîìï ëåêñû ïîäãîòîâèòåëüíûõ ïðîöåññîâ, ïðîöåññîâ ãðóïïîâîé è èíäèâèäóàëüíîé îáðàáîòêè.
 êîìïëåêñ ïîäãîòîâèòåëüíûõ ïðîöåññîâ âõîäÿò: èíæåíåðíîå ïðîåêòèðîâàíèå ñõåìû, ðàçðàáîòêà åå òîïîëîãèè è ñîîòâåòñòâóþùåãî êîìïëåêòà ôîòîøàáëîíîâ, à òàêæå ðÿä çàãîòîâèòåëüíûõ îïåðàöèé - ïîäãîòîâêà ïîëóïðîâîäíèêîâûõ ïîäëîæåê, êîðïóñîâ ïðèáîðîâ è äð.
Ôîðìèðîâàíèå ñàìîé ñòðóêòóðû ïðèáîðà ïðîèñõîäèò ïðè ãðóïïîâîé îáðàáîòêå, êîòîðàÿ ñîñòîèò èç ïðîöåññîâ îêèñëåíèÿ, äèôôóçèè ïðèìåñåé, ýïèòàêñèè, âàêóóìíîãî íàïûëåíèÿ, ôîòîëèòîãðàôèè è òåõíîõèìè÷åñêîé îáðàáîòêè. Ðàçâåðíóòàÿ ñõåìà ãðóïïîâîé îáðàáîòêè ïëàñòèíû ïðè ôîðìèðîâàíèè ïðèáîðà íà ïðèìåðå ýïèòàêñèàëüíî-ïëàíàðíîé ñòðóêòóðû ïðåäñòàâëåíà íà ðèñ. 2. Ïîêàçàííàÿ íà ñõåìå ÷àñòü òåõíîëîãè÷åñêîãî ïðîöåññà èçãîòîâëåíèÿ ïðèáîðîâ ñâÿçàíà ñ îäíîâðåìåííûì ïîëó÷åíèåì ìíîæåñòâà èäåíòè÷íûõ ñòðóêòóð (êðèñòàëëîâ) íà îäíîé ïîëóïðîâîäíèêîâîé ïëàñòèíå. Öèêë ãðóïïîâîé îáðàáîòêè çàêàí÷èâàåòñÿ ïîëó÷åíèåì ìåæñîåäèíåíèé íà ïîâåðõíîñòè êðèñòàëëîâ ïëàñòèíû.
 èíäèâèäóàëüíóþ îáðàáîòêó âõîäÿò ñáîðî÷íî-êîíòðîëüíûå ïðîöåññû (ðàçäåëåíèå ãðóïïîâîé ïëàñòèíû íà îòäåëüíûå êðèñòàëëû, ìîíòàæ êðèñòàëëîâ â êîðïóñàõ, ïðèâàðêà âûâîäîâ, ãåðìåòèçàöèÿ, êîíòðîëü, ìåõàíè÷åñêèå è êëèìàòè÷åñêèå èñïûòàíèÿ,îêðàñêà, ìàðêèðîâêà è óïàêîâêà). Îòäåëüíûå ýòàïû òåõíîëîãè÷åñêîãî ïðîöåññà ãðóïïîâîé îáðà
áîòêè - ôîòîëèòîãðàôèÿ, äèôôóçèÿ, êîíòðîëü è äð. - âêëþ÷àþò äî

Ðèñ.
1 Îáùàÿ ñõåìà ïðîöåññîâ ïðîèçâîäñòâà
ïîëóïðîâîäíèêîâûõ ïðèáîðîâ
äåñÿòè
îïåðàöèè, âûïîëíÿåìûõ ïî òèïîâûì
îïåðàöèîííûì êàðòàì è òåõíîëîãè÷åñêèì
èíñòðóêöèÿì. Îáùåå ÷èñëî îïåðàöèé
èçãîòîâëå- íèÿ ÈÌÑ (áåç ó÷åòà ïîäãîòîâèòåëüíûõ
îïåðàöèé) ìîæåò äîñòèãàòü 150 ,à
ïðîäîëæèòåëüíîñòü ïîëíîãî öèêëà
îáðàáîòêè ñîñòàâëÿåò îêîëî 100 ÷.
Îñîáåííîñòüþ êîíñòðóêöèè ïîëóïðîâîäíèêîâûõ ïðèáîðîâ ÿâëÿåòñÿ ñâåðõìèíèàòþðíîñòü èõ ýëåìåíòîâ. Òîëùèíà äèýëåêòðè÷åñêèõ è ìåòàëëè÷åñêèõ ïîêðûòèé ýòèõ ïðèáîðîâ îáû÷íî íå ïðåâûøàåò 1 ìêì, à òîëùèíà àêòèâíûõ îáëàñòåé ñòðóêòóð ñîñòàâëÿåò äåñÿòûå äîëè ìèêðîìåòðà. Òàê, òîëùèíà áàçû ÑÂ×-òðàíçèñòîðà ìîæåò ñîñòàâëÿòü 0,1 , à ýìèòòåðà - Î,15 ìêì .


Ðèñ.2
Ñõåìà òåõíîëîãè÷åñêîãî ïðîöåññà
èçãîòîâëåíèÿ ýïèòàêñèàëüíî-ïëàíàðíîé
ñòðóêòóðû ÈÌÑ (ãðóïïîâàÿ îáðàáîòêà) ñ
òðàíçèñòîðàìè n-ð-n -òèïà
Ñëåäóåò òàêæå ó÷èòûâàòü, ÷òî ïðè èçãîòîâëåíèè ýòèõ ïðèáîðîâ ïðîèçâîäÿò áîëüøîå ÷èñëî ñëîæíûõ ïîñëåäîâàòåëüíûõ îïåðàöèé íàä îäíèì è òåì æå êðèñòàëëîì, ÷òî ñêàçûâàåòñÿ íà ïðîöåíòå âûõîäà ãîäíûõ ïðèáîðîâ.  ïîëóïðîâîäíèêîâîì ïðîèçâîäñòâå ñóììàðíûé ïðîöåíò âûõîäà ãîäíûõ ïðèáîðîâ çàâèñèò îò ïðîöåíòà èõ âûõîäà íà îòäåëüíûõ ýòàïàõ òåõíîëîãè÷åñêîãî öèêëà: N>ñóìì>= (N>0>/100)>n>*100, ãäå N>o> - ñðåäíèé ïðîöåíò âûõîäà ãîäíûõ ñòðóêòóð íà åäèíè÷íîé îïåðàöèè òåõíîëîãè÷åñêîãî öèêëà, n - ÷èñëî oïåðàöèé öèêëà.
Òàêèì îáðàçîì, åñëè òåõíîëîãè÷åñêèé öèêë èçãîòîâëåíèÿ ïðèáîðà ñîäåðæèò 100 îïåðàöèé,òî äàæå ïðè N>0>=95 % N>ñóìì>=1,6 %. Ïîýòîìó ñëåäóåò ïîìíèòü , ÷òî ïðîöåíò âûõîäà ãîäíûõ ïîëóïðîâîäíèêîâûõ ïðèáîðîâ è èõ êà÷åñòâî â çíà÷èòåëüíîé ñòåïåíè çàâèñÿò íå òîëüêî îò ñîâåðøåíñòâà òåõíîëîãèè, íî è îò ìàñòåðñòâà ðàáî÷åãî, âûïîëíÿþùåãî òó èëè èíóþ òåõíîëîãè÷åñêóþ îïåðàöèþ.
§ 2. Õàðàêòåðèñòèêà òåõíîëîãè÷åñêèõ îïåðàöèé
Ïîäãîòîâêà ïîëóïðîâîäíèêîâûõ ïîäëîæåê.
Ýòà îïåðàöèÿ îòíîñèòñÿ ê çàãîòîâèòåëüíûì ïðîöåññàì èçãîòîâëåíèÿ ïðèáîðîâ, Ñëèòêè ïîëóïðîâîäíèêîâûõ ìàòåðèàëîâ äèàìåòðîì 100 ìì è áîëåå ðåæóò ïåðïåíäèêóëÿðíî èõ ïðîäîëüíîé îñè íà ïëàñòèíû òîëùèíîé äî 1 ìì. Ïîñëå ýòîãî ïëàñòèíû øëèôóþò äî óñòðàíåíèÿ íåðîâíîñòåé è íàðóøåííîãî ñëîÿ. Ïðè øëèôîâêå ïîñëåäîâàòåëüíî ïðèìåíÿþò áîëåå òîíêèå øëèôîâàëüíûå ñîñòàâû, ÷òîáû ñâåñòè ê ìèíèìóìó íàðóøåíèÿ êðèñòàëëè÷åñêîé ñòðóêòóðû ïëàñòèíû.  ïëàíàðíîé òåõíîëîãèè âñå ýëåìåíòû ïîëóïðîâîäíèêîâûõ ïðèáîðîâ ñîçäàþòcÿ â ïðèïîâåðõíîñòíîé îáëàñòè ïîäëîæêè, ïîýòîìó êà÷åñòâî è ñîñòîÿíèå ïîâåðõíîñòè ïëàñòèíû èìåþò âàæíîå çíà÷åíèå. Ïîâåðõность пластины полируют для окончательного снятия с нее дефектов и доведения ее до необходимой чистоты. Для этого применяют различные способы полирования: механический, химический, химико-механический, электрохимический и плазмо-химический. Для окончательной подготовки рабочей поверхности пластины служит химическая обработка, назначение которой заключается в удалении загрязнений, о статков оксидов и в обезжиривании. В технологическом процессе изготовления приборов химическую обработку подложек используют многократно. Подготовка подложек, как правило, не связана с выпуском конкретных приборов и практически не влияет на длительность периода запуска прибора в производство, однако во многом определяет возможности технологии. Особенностью планарной технологии является повторение одно-типных технологических операций, которые можно проследить по технологической схеме процесса, приведенного на рис. 2. Изменение количества таких последовательностей дает возможность производить любые планарные приборы (от простых диодов до сложных интегральных схем). При этом основа операций часто остается неизменной, а изменяются только технологические режимы и фото-шаблоны, используемые для фотолитографии. Каждая последовательность формирует определенную часть структуры: базовую или эмиттерную область, контакты и т. д. Последовательность изменения структуры полупроводникового кристалла при формировании энитаксиально-планарного n-ð-n - êðåìíèåâîãî òðàíçèñòîðà ïîêàçàíà íà ðèñ. 3. Èñõîäíàÿ ýïèòàêñèàëüíàÿ ñòðóêòóðà ïðåäñòàâëÿåò ñîáîé êðåìíèåâóþ ïëàñòèíó 2, íà ïîâåðõíîñòè êîòîðîé âûðàùåí ýïèòàêñèàëüíûé ñëîé êðåìíèÿ 1

Ðèñ.
3. Òåõíîëîãè÷åñêàÿ ñõåìà èçãîòîâëåíèÿ
n-ð-n-ýïèòàêñèàëüíî-ïëàíàðíîãî êðåìíèåâîãî
òðàíçèñòîðà: à - èñõîäíàÿ ýïèòàêñèàëüàÿ
ñòðóêòóðà, á - ñòðóêòóðà ñ çàùèòíîé
îêñèäíîé ïëåíêîé, â - ôîòîëèòîãðàôèÿ è
äèôôóçèÿ áàçû, ã - îêèñëåíèå, ôîòîëèòîãðàôèÿ
è äèôôóçèÿ ýìèòòåðà, ä - ôîðìèðîâàíèå
ìåòàëëè÷åñêèõ êîíòàêòîâ; 1 - ýïèòàêñèàëüíûé
ñëîé, 2 - êðåìíèåâàÿ ïëàñòèíà, 3 - çàùèòíàÿ
ïëåíêà îêñèäà êðåìíèÿ, 4 - ð-îáëàñòü áàçû.
5 - n -îáëàñòü ýìèòòåðà, 6 - ìåòàëëè÷åñêèå
êîíòàêòû
òîëùèíîé
íåñêîëüêî ìèêðîìåòðîâ. Ïîâåðõíîñòü
ýïèòàêñèàëüíîé ñòðóêòóðû ïîêðûâàþò
çàùèòíîé ïëåíêîé îêñèäà êðåìíèÿ 3 è ñ
ïîìîùüþ ôîòîëè òîãðàôèè â íåé âûòðàâëÿþò
îêíî. Äèôôóçèåé àêöåïòîðíîé ïðèìåñè â
ýïèòàêñèàëüíîì ñëîå ôîðìèðóþò áàçîâóþ
ð-îáëàñòü
4. Çàòåì îêíî ñíîâà ïîêðûâàþò ïëåíêîé
îêñèäà è â íåé âíîâü âûòðàâëÿþò îêíî
äëÿ ñîçäàíèÿ ýìèòòåðíîé n
-îáëàñòè 5 äèôôóçèåé äîíîðíîé ïðèìåñè.
Çàêëþ÷èòåëüíûì ýòàïîì ÿâëÿåòñÿ
ôîðìèðîâàíèå ìåòàëëè÷åñêèõ êîíòàêòîâ
6 êî âñåì îáëàñòÿì òðàíçèñòîðíîé
ñòðóêòóðû. Ïîëó÷åíèå äèýëåêòðè÷åñêèõ
ïëåíîê. Äèýëåêòðè÷åñêèå ïëåíêè èñïîëüçóþò
â êà÷åñòâå ìàñêèðóþùèõ ïîêðûòèé ïðè
äèôôóçèè, à â ãîòîâûõ ïðèáîðàõ è ñõåìàõ
- â êà÷åñòâå çàùèòû è èçîëÿ- öèè ýëåìåíòîâ
è ëèíèé ìåòàëëèçàöèè. Äèýëåêòðè÷åñêèå
ïëåíêè ÿâëÿþòñÿ îäíèì èç íàèáîëåå
îòâåòñòâåííûõ ýëåìåíòîâ ñòðóêòóðû
ïðèáîðîâ è âî ìíîãèõ ñëó÷àÿõ îïðåäåëÿþò
ìåõàíèçì îòêàçîâ è, ñëåäîâàòåëüíî,
íàäåæíîñòü ïðèáîðîâ. Ëþáûå íåîäíîðîäíîñòè
äèýëåêòðè÷åñêèõ ïëåíîê êàê ïðè
ìàñêèðîâàíèè, òàê è ïðè çàùèòå ïî÷òè
íåèçáåæíî ïðèâîäÿò ê äåôåêòàì è îòêàçàì
ïðèáîðîâ. Ýêñïëóàòàöèîííûì òðåáîâàíèÿì
äîñòàòî÷íî ïîëíî îòâå÷àåò äèîêñèäèë
êðåìíèÿ (Si0>2>),
ïîëó÷àåìûé ïðè íàãðåâàíèè ïîâåðõíîñòè
ðåìíèÿ â ïðèñóòñòâèè êèñëîðîäà
(òåðìè÷åñêîå îêèñëåíèå). Ïëåíêà SiO>2>
îáëàäàåò íàèëó÷øèìè ìàñêèðóþùèìè
ñâîéñòâàìè è âûñîêèìè ýëåêòðè÷åñêèìè
ïàðàìåòðàìè. Õîðîøî ðàñòâîðÿÿñü â
ïëàâèêîâîé êèñëîòå. SiO>2>
â òî æå âðåìÿ ïðàêòè÷åñêè ñòàáèëåí ïî
îòíîøåíèþ ê ñìåñÿì HF+HNO>3>,
÷òî ïîçâîëÿåò ýôôåêòèâíî èñïîëüçîâàòü
åãî â êà÷åñòâå ìàñêè ïðè ñåëåêòèâíîì
òðàâëåíèè êðåìíèÿ. Òåðìè÷åñêîå îêèñëåíèå
ïðèìåíèìî òîëüêî ê êðåìíèþ. Îêèñëåíèå
êðåìíèÿ ïðîâîäÿò â îäíîçîííûõ äèôôóçèîííûõ
ïå÷àõ ñî ñïåöèàëüíûìè ãàçîðàñïðåäåëèòåëüíûìè
óñòðîéñòâàìè ïðè 50-1200° Ñ. Ðîñò îêñèäà
ïðîèñõîäèò íà ãðàíèöå ðàçäåëà
îêñèä-êðåìíèé, ñëåäîâàòåëüíî, îêèñëèòåëü
(êèñëîðîä èëè ìîëåêóëû âîäû) äèôôóíäèðóåò
ñêâîçü ðàñòóùóþ îêñèäíóþ ïëåíêó ê åãî
ãðàíèöå, ãäå âñòóïàåò â ðåàêöèþ ñ
êðåìíèåì. Â ñâÿçè ñ ýòèì ñêîðîñòü ðîñòà
îêñèäíîé ïëåíêè ñî âðåìåíåì ïàäàåò, êàê
ýòî ïîêàçàíî íà ðèñ. 4..


Ðèñ
4. Çàâèñèìîñòü òîëùèíû x>0>
îêñèäà îò âðåìåíè îêèñëåíèÿ t ïðè
ïîñòîÿííûõ òåìïåðàòóðå è äàâëåíèè
ãàçîîáðàçíîãî îêèñëèòåëÿ.
 çàâèñèìîñòè îò îêèñëèòåëüíîé ñðåäû ðàçëè÷àþò òåðìè÷åñêîå îêèñëåíèå â ñóõîì êèñëîðîäå, â àòìîñôåðå âîäÿíîãî ïàðà è êîìáèíèðîâàííîå. Òåðìè÷åñêîå îêèñëåíèå êðåìíèÿ â ñóõîì êèñëîðîäå õàðàêòåðèçóåòñÿ íàèáîëüøåé ïðîäîëæèòåëüíîñòüþ è áîëåå âûñîêèì êà÷åñòâîì ïëåíêè ïî ñðàâíåíèþ ñ îêèñëåíèåì â àòìîñôåðå âîäÿíîãî ïàðà, î ÷åì ñâèäåòåëüñòâóåò åå âûñîêàÿ ïëîòíîñòü (2.27 ã/ñì3).  ýòîì ñëó÷àå äëÿ ïîëó÷åíèÿ ïëåíêè SiO>2> òîëùèíîé 1 ìêì ïðè 1300°Ñ òðåáóåòñÿ 15 ÷. Ïðîöåññ îêèñëåíèÿ êðåìíèÿ â àòìîñôåðå âîäÿíîãî ïàðà ( ãèäðîòåðìàëüíîå îêèñëåíèå) õàðàê- òåðèçóåòñÿ áîëüøèìè ñêîðîñòÿìè ðîñòà è âîçìîæíîñòüþ ïîëó÷åíèÿ òîëñòûõ (2-3 ìêì) ïëåíîê SiO>2>. Îñíîâíûì íåäîñòàòêîì ïðîöåññà îêèñëåíèÿ â àòìîñôåðå âîäÿíîãî ïàðà ÿâëÿåòñÿ íèçêîå êà÷åñòâî ïîëó÷àåìûõ ïëåíîê è, êàê ñëåäñòâèå, óõóäøåíèå èõ çàùèòíûõ ñâîéñòâ. Íèçêàÿ ïëîòíîñòü ïëåíîê (îêîëî 2 ã/ñì3) ñâÿçàíà ñ èõ ïîðèñòîñòüþ èç-çà íàëè÷èÿ âîäîðîäà è ãèäðîêñèëüíûõ ãðóïï ÎÍ. Ïîýòîìó òåðìè÷åñêèé îêñèä îáû÷íî ñîçäàþò ïðè êîìáèíèðîâàííûõ ðåæèìàõ îêèñëåíèÿ, ÷åðåäóÿ ýòàïû âûðàùèâàíèÿ ïëåíîê â ñóõîì è âëàæíîì êèñëîðîäå. Íàèáîëåå ÷àñòî îêèñëåíèå ïðîâîäÿò â òðè ñòàäèè: â ñóõîì êèñëîðîäå, óâëàæíåííîì -äëÿ óñêîðåíèÿ ïðîöåññà è íàðàùèâàíèÿ äîñòàòî÷íî òîëñòîé ïëåíêè è âíîâü - â ñóõîì. Òåðìè÷åñêîå îêèñëåíèå ñâÿçàíî ñ âîçäåéñòâèåì âûñîêîé òåìïåðàòóðû, ÷òî ïðèâîäèò ê äèôôóçèîííîìó ðàçìûâàíèþ (èçìåíåíèþ ãåîìåòðèè) ôîðìèðóåìîé ñòðóêòóðû ïðèáîðà. Äëÿ ñíèæåíèÿ òåì ïåðàòóðû ïðèìåíÿþò ñïîñîáû îñàæäåíèÿ ïëåíîê SiO>2> èç ëåòó÷èõ êðåìíèéîðãàíè÷åñêèõ ñîåäèíåíèé ïðè 700°Ñ, ïðè÷åì îíè óíè âåðñàëüíû ïî÷òè äëÿ âñåõ ïîëóïðîâîäíèêîâ. Áîëüøîå ðàñïðîñòðàíåíèå ïîëó÷èë ñïîñîá ïèðîëèòè÷åñêîãî îñàæäåíèÿ äèîêñèäà êðåìíèÿ ñ èñïîëüçîâàíèåì òåòðàýòîêñèñèëàíà, ïèðîëèç (ò. å. òåðìè÷åñêîå ðàçëîæåíèå) êîòîðîãî ïðîòåêàåò ñîãëàñíî ðåàêöèè
Si (ÎÑ>2>Í>5>)>4> Si0>2> +4C>2>H>4> + 2Í>2>0
Ñêîðîñòü îñàæäåíèÿ ïëåíêè ïðè 750°Ñ ñîñòàâëÿåò 0,03 ìêì/ìèí. Êðîìå SiO>2> â ïëàíàðíîé òåõíîëîãèè â êà÷åñòâå çàùèòíîãî è ìàñ êèðóþùåãî ïîêðûòèÿ èñïîëüçóþò ïëåíêè íèòðèäà êðåìíèÿ Si>3>N>4>, ÿâëÿþùèåñÿ áîëåå ïëîòíûìè è íåïðîíèöàåìûìè ïî îòíîøåíèþ ê äèôôóçèàíòàì, ÷åì ïëåíêè SiO>2>. Îñíîâíûì ñïîñîáîì ïîëó÷åíèÿ ïëåíîê íèòðèäà êðåìíèÿ ÿâëÿåòñÿ ïèðîëèòè÷åñêîå îñàæäåíèå, ðåàêöèÿ êîòîðîãî ïðîòåêàåò ïðè âçàèìîäåéñòâèè ñèëàíà è àììèàêà:
3SiH>4> + 4NH>3>=Si>3>N>4>+ 12Í>2>
Îñàæäåíèå Si>3>N>4> ïðîèñõîäèò ïðè 900°Ñ. Âîçìîæíî òàêæå èñïîëü- çîâàíèå ðåàêöèè âçàèìîäåéñòâèÿ ÷åòûðåõõëîðèñòîãî êðåìíèÿ ñ àììèàêîì
3SiCl>4>+4NH>3 >Si>3>N>4>+ 12ÍÑl
Íèòðèä êðåìíèÿ îñàæäàþò íà óñòàíîâêàõ ýïèòàêñèàëüíîãî íà- ðàùèâàíèÿ èëè â äèôôóçèîííûõ îäíîçîííûõ ïå÷àõ, ñíàáæåííûå ñïåöèàëüíûì óñòðîéñòâîì ãàçîðàñïðåäåëåíèÿ. Ñêîðîñòü îñàæäåíèÿ íèòðèäà êðåìíèÿ çàâèñèò îò òåìïåðàòóðû è ðàñõîäà ñèëàíà è àììèàêà. Ôîòîëèòîãðàôèÿ. Ýëåêòðè÷åñêèå è ýêñïëóàòàöèîííûå õàðàêòåðèñòèêè èçãîòîâëÿåìûõ ìèêðîýëåêòðîííûõ ïðèáîðîâ íåðàçðûâíî ñâÿçàíû ñ ðàçìåðàìè ýëåìåíòîâ è èõ âçàèìíûì ðàñïîëîæåíèåì. Ôîòîëèòîãðàôèÿ ÿâëÿåòñÿ îñíîâíûì è ïðàêòè÷åñêè åäèíñòâåííûì ñïîñîáîì ïðåöèçèîííîé ëîêàëüíîé ìèêðîîáðàáîòêè, ïðèìåíÿåìûì äëÿ ïîëó÷åíèÿ íåîáõîäèìûõ ðàçìåðîâ è êîíôèãóðàöèé ýëåìåíòîâ ÈÌÑ (îò åäèíèö äî äåñÿòûõ äîëåé ìèêðîìåòðà). Ôîòîëèòîãðàôèÿ ñîñòîèò èç ñîâîêóïíîñòè öåëîãî ðÿäà ôèçè÷åñêèõ, ôîòîõèìè÷åñêèõ è õèìè÷åñêèõ ïðîöåññîâ è èñïîëüçóåòñÿ äëÿ ñîçàíèÿ çàùèòíîãî ðåëüåôà (ìàñêè) íà ïîâåðõíîñòè ïîëóïðîâîäíèêîâîé ïëàñòèíû. Äëÿ ýòîãî ïðèìåíÿþò ñïåöèàëüíûé ñâåòî÷óâñòâèòåëüíûé ììàòåðèàë - ôîòîðåçèñò, îáëàäàþùèé óñòîé÷èâîñòüþ ê âîçäåéñòâèþ àãðåññèâíûõ ñðåäñòâ (êèñëîò, ùåëî÷åé) . Òîíêèé ñëîé ôîòîðåçèñòà íàíîñÿò íà ïîëóïðîâîäíèêîâóþ ïîäëîæêó è ïðîèçâîäÿò çàñâåòêó (ýêñïîíèðîâàíèå) ÷åðåç ñïåöèàëüíûé èíñòðóìåíò - ôîòîøàáëîí, èìåþùèé ïðîçðà÷íûå è íåïðîçðà÷íûå äëÿ èñïîëüçóåìîãî ñâåòà ó÷àñòêè, îïðåäåëÿþùèå òîïîëîãèþ ïðèáîðà. Ïîä äåéñòâèåì ñâåòà â ôîòîðåçèñòå ïðîòåêàþò ôîòîõèìè÷åñêèå ðåàêöèè, êîòîðûå â çàâèñèìîñòè îò òèïà èñïîëüçóåìîãî ôîòîðåçèñòà ïðèâîäÿò ê óñèëåíèþ èëè îñëàáëåíèþ åãî ðàñòâîðèìîñòè â îïðåäåëåííûõ õèìè÷åñêèõ ðàñòâîðàõ. Ìîñëå ïðîÿâëåíèÿ íà ïîâåðõíîñòè ïîäëîæêè îñòàåòñÿ çàùèòíûé ñëîé ôîòîðåçèñòà, ïîâòîðÿþùèé ïîçèòèâíîå èëè íåãàòèâíîå èçîáðàæåíèå ôîòîøàáëîíà. Ïîñëåäóþùåå èñïîëüçîâàíèå çàùèòíîãî ðåëüåôà â çàâèñèìîñòè îò òåõíîëîãè÷åñêîãî ýòàïà èçãîòîâëåíèÿ ïðèáîðà çàêëþ÷àåòñÿ â òðàâëåíèè ìàòåðèàëà ïîäëîæêè íà íåçàùèùåííûõ ôîòîðåçèñòîì ó÷àñòêàõ èëè íàíåñåíèå êàêîãî-ëèáî ìàòåðèàëà íà ýòè ó÷àñòêè. Òàê , ïðè ïðîâåäåíèè ôîòîëèòîãðàôèè ïî ñëîþ SiO>2> ïðè òðàâëå- íèè ïðîâîäÿò ñåëåêòèâíîå óäàëåíèå äèýëåêòðèêà íàä òåìè ó÷àñòêàìè ïîëóïðîâîäíèêà, ãäå äîëæíû áûòü ñîçäàíû äèôôóçèîííûå ñòðóêòóðû, à ïðè ôîòîëèòîãðàôèè ïî ñëîþ ìåòàëëà ôîðìèðóþò òîïîëîãèþ êîíòàêòíûõ ïëîùàäîê, ìåæñîåäèíåíèé, ïàññèâíûõ ýëåìåíòîâ.
 ïðîöåññå èçãîòîâëåíèÿ ïðèáîðîâ îïåðàöèè ôîòîëèòîãðàôèè ìíîãîêðàòíî ïîâòîðÿþò (äî 10-12 ðàç â ñëîæíûõ ÈÌÑ). Ïðè ýòîì íà êàæäîì ýòàïå èçîáðàæåíèå èñïîëüçóåìîãî ôîòîøàáëîíà äîëæíî ñ âûñîêîé òî÷íîñòüþ ñîâìåùàòüñÿ ñ ðèñóíêîì íà ïîäëîæêå, ïîëó÷åííûì íà ïðåäûäóùèõ îïåðàöèÿõ ôîòîëèòîãðàôèè. Òàêèì îáðàçîì, ñîçäàåòñÿ ãåîìåòðèÿ ïëàíàðíîãî ïðèáîðà, åãî àêòèâíûõ îáëàñòåé, êîíòàêòîâ, ñîåäèíåíèé è ò. ä.
Äëÿ ïðîâåäåíèÿ ôîòîëèòîãðàôèè èñïîëüçóþò ìåõàíè÷åñêîå, îïòèêî-ìåõàíè÷åñêîå è õèìè÷åñêîå îáîðóäîâàíèå, ê êîòîðîìó ïðåäúÿâëÿþò ïîâûøåííûå òðåáîâàíèÿ.
Äèôôóçèÿ ïðèìåñè.
Öåëüþ ïðîâåäåíèÿ äèôôóçèè ÿâëÿåòñÿ âíåäðåíèå àòîìîâ ëåãèðóþùåãî ýëåìåíòà â êðèñòàëëè÷åñêóþ ðåøåòêó ïîëóïðîâîäíèêà äëÿ îáðàçîâàíèÿ ð-n-ïåðåõîäà íà ãëóáèíå X>ïåð>.  ýòîì ñëó÷àå êîíöåíòðàöèÿ ââåäåííîé ïðèìåñè îêàçûâàåòñÿ ðàâ íîé êîíöåíòðàöèè èñõîäíîé ïðèìåñè N>èñõ> â ïîëóïðîâîäíèêå. Ðàç ìåðû äèôôóçèîííîé îáëàñòè â ïëàíå îïðåäåëÿþòñÿ ðàçìåðàìè îêíà â ñëîå äèýëåêòðèêà, òàê êàê ñêîðîñòü äèôôóçèè ïðèìåñè â SiO>2> è Si>3>N>4> íà íåñêîëüêî ïîðÿäêîâ íèæå, ÷åì â ïîëóïðîâîäíèêå.
Ðàçëè÷íûå ñïîñîáû äèôôóçèîííîãî ëåãèðîâàíèÿ ðàçëè÷àþòñÿ ôàçîâûì ñîñòîÿíèåì ëåãèðóþùåé ïðèìåñè (ãàçîîáðàçíîå, æèäêîå, òâåðäîå), ïîäâîäîì ïðèìåñè ê ïîäëîæêå è êîíñòðóêöèåé óñòàíîâîê.  áîëüøèíñòâå ñëó÷àåâ äèôôóçèþ ïðîâîäÿò â îêèñëèòåëüíîé àòìîñôåðå. Òåìïåðàòóðà äèôôóçèîííîãî ëåãèðîâàíèÿ êðåìíèÿ 1050- 1200°Ñ.
Äèôôóçèÿ â ïîëóïðîâîäíèê â áîëüøèíñòâå ñëó÷àåâ ïðîèñõîäèò çà ñ÷åò ïåðåìåùåíèÿ äèôôóíäèðóþùèõ ÷àñòèö, ïî âàêàíòíûì óçëàì êðèñòàëëè÷åñêîé ðåøåòêè. Êðîìå ýòîãî, âîçìîæíû ïðÿìîé îáìåí àòîìîâ ìåñòàìè â óçëàõ êðèñòàëëè÷åñêîé ðåøåòêè è ïåðåìåùåíèå àòîìîâ ïî ìåæäîóçëèÿì.
 êà÷åñòâå ëåãèðóþùèõ ïðèìåñåé âûáèðàþò ýëåìåíòû, èìåþùèå äîñòàòî÷íî âûñîêóþ ñêîðîñòü äèôôóçèè è õîðîøóþ ðàñòâîðèìîñòü â ïîëóïðîâîäíèêå ïðè òåìïåðàòóðå äèôôóçèè. Äëÿ êðåìíèÿ â êà÷å ñòâå äèôôóçàíòîâ ÷àùå âñåãî èñïîëüçóþò ýëåìåíòû III è V ãðóïï òàáëèöû Ä. È. Ìåíäåëååâà. Îñíîâíîé äîíîðíîé ïðèìåñüþ ÿâëÿåòñÿ ôîñôîð, êîòîðûé ïî ñðàâíåíèþ ñ ÷àñòî ïðèìåíÿåìûìè ñóðüìîé è ìûøüÿêîì èìååò áîëåå âûñîêóþ ñêîðîñòü äèôôóçèè â êðåìíèé.
 êà÷åñòâå àêöåïòîðíûõ ïðèìåñåé èñïîëüçóþò àëþìèíèé, ãàëëèé, èíäèé è áîð. Áîð ïðèìåíÿþò íàèáîëåå ÷àñòî, ïîñêîëüêó îí îáëàäàåò íàèáîëåå âûñîêîé ïðåäåëüíîé ðàñòâîðèìîñòüþ.
Îäíèì èç ýôôåêòèâíûõ ñïîñîáîâ ñîçäàíèÿ ð-n-ïåðåâîäîâ ÿâëÿåòñÿ èîííîå ëåãèðîâàíèå. Èîíû ëåãèðóþùåãî âåùåñòâà, îáëàäàþùèå âûñîêîé ýíåðãèåé, íàïðàâëÿþòñÿ íà ïîâåðõíîñòü ïîëóïðîâîäíèêà è âíåäðÿþòñÿ â åãî êðèñòàëëè÷åñêóþ ðåøåòêó. Ïðè ýòîì èîíû âûçûâàþò êàñêàä ñìåùåíèé àòîìîâ ïîëóïðîâîäíèêà, ïðèâîäÿ ê îáðàçîâàíèþ àìîðôèçèðîâàííûõ îáëàñòåé, â êîòîðûõ êðèñòàëëè÷åñêàÿ ñòðóêòóðà ðåøåòêè íàðóøåíà.
Äëÿ ïîëó÷åíèÿ âûñîêîé êîíöåíòðàöèè àêòèâíûõ ïðèìåñåé (ïîìåùåíèÿ èõ â óçëû êðèñòàëëè÷åñêîé ðåøåòêè) è âîññòàíîâëåíèÿ êðèñòàëëè÷åñêîé ñòðóêòóðû ïîëóïðîâîäíèêà ïîñëå èîííîãî ëåãèðîâàíèÿ òðåáóåìñÿ îòæèã, êîòîðûé ïðîâîäÿò ïðè 400-700°Ñ. Âíåäðåííûå è ñìåùåííûå àòîìû ïðè ýòèõ òåìïåðàòóðàõ ïðèîáðåòàþò ïîäâèæíîñòü, äîñòàòî÷íóþ äëÿ ïåðåõîäà â âàêàíòíûå óçëû è óïîðÿäî÷åíèÿ ñòðóêòóðû.
Ïðîöåññ èîííîãî âíåäðåíèÿ õàðàêòåðèçóåòñÿ ýíåðãèåé èîíîâ, ïëîòíîñòüþ òîêà èîííîãî ïó÷êà, äîçîé îáëó÷åíèÿ. Èçìåíÿÿ ïàðà ìåòðû èîííîãî ïó÷êà, ìîæíî óïðàâëÿòü ïðîôèëåì ðàñïðåäåëåíèÿ êîíöåíòðàöèè âíåäðåííûõ èîíîâ è ñ âûñîêîé òî÷íîñòüþ èçìåíÿòü êîíöåíòðàöèþ ïðèìåñåé â ïîëóïðîâîäíèêå.
Ýïèòàêñèÿ.
Ýòî òåõíîëîãè÷åñêèé ïðîöåññ âûðàùèâàíèÿ òîíêèõ ìîíîêðèñòàëëè÷åñêèõ ñëîåâ ïîëóïðîâîäíèêà íà ìîíîêðèñòàëëè÷åcêèx ïîäëîæêàõ. Ìàòåðèàë ïîäëîæêè â ïðîöåññå âûðàùèâàíèÿ èãðàåò ðîëü çàòðàâî÷íîãî êðèñòàëëà, à ïîëó÷àåìàÿ ïëåíêà ÿâëÿåòñÿ ïðîäîëæåíèåì åå ñòðóêòóðû. Õàðàêòåðíîé îñîáåííîñòüþ ýïèòàêñèè ÿâëÿåòñÿ âîçìîæíîñòü ôîðìèðîâàíèÿ ñëîåâ ñ çàäàííûìè ýëåêòðî-ôèçè÷åñêèìè ñâîéñòâàìè è ãåîìåòðè÷åñêèìè ðàçìåðàìè. Òàê, åñëè â ïðîöåññå ýïèòàêñèàëüíîãî âûðàùèâàíèÿ íàðÿäó ñ àòîìàìè ïîëóïðîâîäíèêà â ðîñòå ïëåíêè ó÷àñòâóþò è àòîìû ëåãèðóþùåãî ýëåìåíòa, òî íà ãðàíèöå ðàçäåëà ïëåíêà - ïîäëîæêà ìîæíî ïîëó÷èòü p-n-ïåðåõîä èëè èçîòîïíûå ïåðåõîäû n + -n è ð + -ð. Òàêèì îáðàçîì, â òîíêèõ ñëîÿõ (2-10 ìêì) ýïèòàêñèàëüíî-ïëàíàðíûõ ñòðóêòóð ñîçäàþòñÿ ýëåìåíòû ÈÌÑ, à ïîäëîæêà òîëùèíîé 500 ìêì ÿâ ëÿåòñÿ íåñóùåé êîíñòðóêöèåé.
Ïðè ñîçäàíèè ïðèáîðîâ äèôôóçèîííûì ëåãèðîâàíèåì ÷èñëî äèôôóçèîííûõ ïðîöåññîâ ìîæåò áûòü îãðàíè÷åííî. Òàê, ïðè ïðîâåäåíèè òðåõ äèôôóçèîííûõ ïðîöåññîâ òðóäíî ïîëó÷èòü íóæíóþ êîíöåíòðàöèþ ïðèìåñè â íèæíåì ñëîå, â îñîáåííîñòè åñëè îí äîëæåí èìåòü âûñîêîå óäåëüíîå ñîïðîòèâëåíèå, ò. å. íèçêóþ êîíöåíòðàöèþ íîñèòåëåé.
Ãîðàçäî ëåã÷å ïîëó÷àòü ñëîè ñ òðåáóåìûì ðàñïðåäåëåíèåì ïðèìåñåé, åñëè îíè ââîäÿòñÿ â ïðîöåññå âûðàùèâàíèÿ ýïèòàêñèàëüíûõ ïëåíîê. Ðàâíîìåðíîå ðàñïðåäåëåíèå ïðèìåñåé, êîòîðîå íåîñóùåñòâèìî â äèôôóçèîííûõ ñëîÿõ, ëåãêî äîñòèãàåòñÿ ïðè ýïèòàêñèè. Ïðè ñîâìåñòíîì èñïîëüçîâàíèè ýïèòàêñèè è äèôôóçèè óëó÷øàþòñÿ ýêñïëóàòàöèîííûå õàðàêòåðèñòèêè ïîëóïðîâîäíèêîâûõ ïðèáîðîâ.
Ïðîöåññ ýïèòàêñèàëüíîãî íàðàùèâàíèÿ ñëîåâ ïîëóïðîâîäíèêà çàêëþ÷àåòñÿ â îñàæäåíèè åãî àòîìîâ íà ïîäëîæêó, â ðåçóëüòàòå ÷åãî íà íåé âûðàñòàåò ñëîé, êðèñòàëëè÷åñêàÿ ñòðóêòóðà êîòîðîãî ïîäîáíà ñòðóêòóðå ïîäëîæêè. Ýïèòàêñèàëüíûé ñëîé îáëàäàåò òåìè æå ñòðóêòóðíûìè äåôåêòàìè, ÷òî è ïîäëîæêà, ïîýòîìó äëÿ ïîëó÷åíèÿ íàäåæíûõ ïîëóïðîâîäíèêîâûõ ïðèáîðîâ ïåðâîñòåïåííîå çíà÷åíèå èìåþò ÷èñòîòà è ñòðóêòóðíîå ñîâåðøåíñòâî ìàòåðèàëà ïîäëîæåê.
Íàèáîëüøåå ðàñïðîñòðàíåíèå â ïðîèçâîäñòâå ïîëóïðîâîäíèêîâûõ ïðèáîðîâ ïîëó÷èëè ñïîñîáû ãàçîôàçíîé è æèäêîôàçíîé ýïèòàêñèè. Ñïîñîá ãàçîôàçíîé ýïèòàêñèè, ÿâëÿþùèéñÿ íàèáîëåå ïðîñòûì â óñëîâèÿõ ñåðèéíîãî è ìàññîâîãî ïðîèçâîäñòâà, èñïîëüçóåòñÿ äëÿ ôîðìèðîâàíèÿ òîíêèõ ñëîåâ êðåìíèÿ è ñëîæíûõ ïîëóïðîâîäíèêîð òèïà ÀIIIÂV, à æèäêîôàçíîé -â îñíîâíîì äëÿ ïîëó÷åíèÿ ýòàòàêñè- àëüíûõ ñëîåâ àðñåíèäà ãàëëèÿ è ãåòåðîñòðóêòóð íà åãî îñíîâå (íàï ðèìåð, GaAs-GaAlAs).
Ïðè ôîðìèðîâàíèè êðåìíèåâûõ ýïèòàêñèàëüíûõ ïëåíîê ñïîñî áîì ãàçîôàçíîé ýïèòàêñèè èñïîëüçóþò ðåàêöèè âîññòàíîâëåíèÿ òåòðàõëîðèäà (SiCl>4>) èëè òðèõëîðñèëàíà (SiHCl>3>) íàä êðåìíèåâûìè ïîäëîæêàìè. Ïàðîãàçîâàÿ ñìåñü ñîîòâåòñòâóþùåãî ñîñòàâà ïðîõî äèò íàä íàãðåòîé äî îïðåäåëåííîé òåìïåðàòóðû ïîäëîæêîé, îñàæäàÿñü íà íåé â âèäå ìîíîêðèñòàëëè÷åñêîãî ñëîÿ. Îáû÷íî òàêèå ïðîöåññû îñóùåñòâëÿþò â êâàðöåâûõ ðåàêòîðàõ. Ïðè âîññòàíîâëå íèè òåòðàõëîðèäà â êà÷åñòâå ãàçà-íîñèòåëÿ èñïîëüçóþò âîäîðîä. Ïðè ýòîì ïðîèñõîäèò ñëåäóþùàÿ ðåàêöèÿ:
SiCI>4>+2H>2> 4HCI+Si
Äëÿ êà÷åñòâåííîãî ïðîâåäåíèÿ ïðîöåññà îñàæäåíèÿ òåìïåðàòóðà ïîäëîæåê äîëæíà áûòü 1100-1300°Ñ. Ïðè ïîëó÷åíèè ýïèòàêñèàëüíûõ ñëîåâ ñ çàäàííûìè ñâîéñòâàìè â ñîñòàâ ïàðîãàçîâîÿ ñìåñè ââîäÿò ëåãèðóþùóþ äîáàâêó.
Ïðè ôîðìèðîâàíèè ýïèòàêñèàëüíûõ ïëåíîê àðñåíèäà ãàëëèÿ ñïîñîáîì æèäêîôàçíîé ýïèòàêñèè ñíà÷àëà ïîëó÷àþò ðàñïëàâ ïîëó ïðîâîäíèêîâîãî ìàòåðèàëà ñ ñîîòâåòñòâóþùèìè ëåãèðóþùèìè äîáàâêàìè, à çàòåì ïîäëîæêó ïîäâîäÿò ê ïîâåðõíîñòè ðàñòâîðà-ðàñïëàâà. Ïîñëå óñòàíîâëåíèÿ òåïëîâîãî ðàâíîâåñèÿ ìåæäó íèìè èõ îõëàæäàþò ïî ñîîòâåòñòâóþùåìó çàêîíó äëÿ ýïèòàêñèàëüíîãî îñàæäåíèÿ ïëåíêè íà ïîäëîæêó.
Ìåòàëëèçàöèÿ ïîëóïðîâîäíèêîâûõ ñòðóêòóð.
Ýòîò ñïîñîá èñ ïîëüçóåòñÿ äëÿ ôîðìèðîâàíèÿ ìåæñîåäèíåíèé â ÈÌÑ, ñîçäàíèÿ êîíòàêòíûõ ïëîùàäîê è ñîñòîèò èç äâóõ ýòàïîâ - ìåòàëëèçàöèè è ôîòîëèòîãðàôèè ïî ìåòàëëè÷åñêîé ïëåíêå. Íàíåñåíèå ìåòàëëèçàöèè â ïëàíàðíîé òåõíîëîãèè îñóùåñòâëÿåòñÿ ëèáî òåðìè÷åñêèì èñïàðåíèåì, ëèáî êàòîäíûì ðàñïûëåíèåì.
Ïðè âàêóóìíîì òåðìè÷åñêîì èñïàðååíèè ìåòàëë íàãðåâàþò ýëåêòðè÷åñêèì òîêîì èëè áîìáàðäèðóþò åãî ýëåêòðîííîííûì ëó÷îì. Ïåðåíîñ ïîòîêà èñïàðÿåìûõ ÷àñòèö â ïðîñòðàíñòâå èñòî÷íèê - ïîäëîæêà çàâèñèò îò ñòåïåíè âàêóóìà è îïðåäåëÿåòñÿ äëèíîé ñâîáîäíîãî ïðîáåãà ìîëåêóë. Ïðè ñîóäàðåíèè àòîìîâ èñïàðÿåìîãî âåùåñòâà ñ ïîâåðõíîñòüþ ïîäëîæêè ïðîèñõîäèò êîíäåíñàöèÿ - ïðîöåññ ïåðåõîäà âåùåñòâà èç ãàçîîáðàçíîé â òâåðäóþ èëè æèäêóþ.
Êà÷åñòâî íàïûëåííûõ ïëåíîê çàâèñèò îò ñòåïåíè î÷èñòêè, òåìïåðàòóðû ïîäëîæêè, à òàêæå îò ñêîðîñòè èñïàðåíèÿ, âàêóóìà, ãåîìåòðèè ñèñòåìû è äð.
Êàòîäíîå ðàñïûëåíèå öåëåñîîáðàçíî ïðèìåíÿòü äëÿ ïîëó÷åíèÿ ïëåíîê òóãîïëàâêèõ ìåòàëëîâ (ñ âûñîêîé òåìïåðàòóðîé èñïàðåíèÿ) -òèòàíà, âîëüôðàìà, ìîëèáäåíà. Äëÿ ýòîãî â âàêóóìíóþ êàìåðó íàïóñêàþò ïðè íåáîëüøîì äàâëåíèè ( 1,0 Ïà ) ãàç è, ïîäàâàÿ ïîñòîÿííîå èëè ïåðåìåííîå íàïðÿæåíèå 3-5 êÂ, ìåæäó ýëåê òðîäàìè çàæèãàþò òëåþùèé ðàçðÿä. Îáðàçîâàâøèåñÿ ïðè ýòîì ïîëîæèòåëüíûå èîíû ãàçà óñêîðÿþòñÿ ïî íàïðàâëåíèþ ê êàòîäó, âûïîëíåííîìó èç ðàñïûëÿåìîãî ìàòåðèàëà, è áîìáàðäèðóþò åãî. Атомы распыляемого катода осаждаются на полупроводниковую подложку и образуют сплошную металлическую пленку.
Ôîòîëèòîãðàôèåé ïî ìåòàëëè÷åñêîé ïëåíêå ôîðìèðóþò òðåáóåìóþ êîíôèãóðàöèþ ïðîâîäíèêîâ ìåæñîåäèíåíèé è êîíòàêòíûå ïëîùàäêè äëÿ ïðèñîåäèíåíèÿ ñõåìû ê âíåøíèì âûâîäàì êîðïóñà .
Ïîñëå îêîí÷àíèÿ ãðóïïîâîé îáðàáîòêè ïëàñòèíû ñî ñôîðìèðîâàííûìè ñòðóêòóðàìè ïîñòóïàþò íà ñáîðêó ïðèáîðîâ (èíäèâèäóàëüíàÿ îáðàáîòêà).
Ñáîðêà.
 ïðîöåññå ñáîðêè ðàçäåëÿþò ïëàñòèíû íà îòäåëüíûå êðèñòàëëû, ìîíòèðóþò êðèñòàëë â êîðïóñ, ïðèñîåäèíÿþò ýëåêòðè÷åñêèå âûâîäû ê êîíòàêòíûì ïëîùàäêàì êðèñòàëëà è âûâîäàì êîðïóñà è ãåðìåòèçèðóþò êîðïóñ.
×òîáû ãàðàíòèðîâàòü íàäåæíóþ ðàáîòó èçãîòîâëåííûõ ïðèáîðîâ, èõ ïîäâåðãàþò èñïûòàíèÿì, êîòîðûå ïðîâîäÿò ñîãëàñíî òåõíè ÷åñêèì óñëîâèÿì íà êàæäûé òèï ïðèáîðà. Èñïûòàíèÿ âêëþ÷àþò êîìïëåêñ îïåðàöèé: èçìåðåíèå ýëåêòðè÷åñêèõ ïàðàìåòðîâ è êëàññèôèêàöèþ ïðèáîðîâ, îïðåäåëåíèå ìåõàíè÷åñêîé è êëèìàòè÷åñêîé ñòîéêîñòè ïðèáîðîâ, ïðîâåðêó èõ ãåðìåòè÷íîñòè è îïðåäåëåíèå ãàðàíòèéíîãî ñðîêà ñëóæáû.
Êðîìå òîãî, â ïðîöåññå èçãîòîâëåíèÿ ïðèáîðîâ ïîñòîÿííî ïðîâîäèòñÿ ìåæîïåðàöèîííûé êîíòðîëü, ïîçâîëÿþùèé ñëåäèòü çà ñòà áèëüíîñòüþ òåõíîëîãè÷åñêîãî ïðîöåññà. Ïðè íåîáõîäèìîñòè êîððåê òèðóþò ðåæèìû îáðàáîòêè (òåìïåðàòóðó, êîíöåíòðàöèþ, âðåìÿ). Ïî äàííûì ìåæîïåðàöèîííîãî êîíòðîëÿ ïàðòèÿ ïëàñòèí ìîæåò îêàçàòüñÿ çàáðàêîâàííîé è ñíÿòîé ñ äàëüíåéøåé îáðàáîòêè.
Äàæå ïðè íîðìàëüíîì ïðîòåêàíèè ïðîöåññà ÷àñòü êðèñòàëëîâ ãðóïïîâîé ïëàñòèíû îêàçûâàåòñÿ äåôåêòíîé (èç-çà ïðîêîëîâ â çà ùèòíûõ ìàñêàõ, ëîêàëüíûõ çàãðÿçíåíèÿõ è ïð.). Ýòè êðèñòàëëû îáíàðóæèâàþòñÿ ëèøü íà çàâåðøàþùåì ýòàïå ãðóïïîâîé îáðàáîòêè - ïîñëå ïîëó÷åíèÿ ìåæñîåäèíåíèé è ïåðèôåðèéíûõ êîíòàêòîâ, êîãäà îñóùåñòâëÿåòñÿ êîíòðîëü ïðèáîðà íà ïðàâèëüíîñòü ôóíêöèîíèðîâàíèÿ.  äàëüíåéøåì ýòè êðèñòàëëû îòáðàêîâûâàþòñÿ è íå ïîñòóïàþò íà ñáîðî÷íûå ëèíèè.
§ 3. Îáùèå ñâåäåíèÿ îá èçãîòîâëåíèè ïîäëîæåê
Äëÿ ïîëó÷åíèÿ êà÷åñòâåííûõ ïðèáîðîâ è èàòåãðàëüíõ ñõåì íåîáõîäèìû îäíîðîäíûå ïëàñòèíû ñ ïîâåðõíîñòüþ, ñâîáîäíîé îò äåôåêòîâ è çàãðÿçíåíèé. Ïðèïîâåðõíîñòíûå ñëîè ïëàñòèí íå äîëæíû èìåòü íàðóøåíèé êðèñòàëëè÷åñêîé ñòðóêòóðû. Î÷åíüà æåñòêèå òðåáîâàíèÿ ïðåäúÿâëÿþò ê ãåîìåòðè÷åñêèì õàðàêòåðèñòèêàì ïëàñòèí, îñîáåííî ê èõ ïëîñêîñòíîñòè. Ïëîñêîñòêîñòü ïîâåðõíîñòè èìååò îïðåäåëÿþùåå çíà÷åíèå ïðè ôîðìèðîâàíèè ñòðóêòóð ïðèáîðîâ ìåòîäàìè îïòè÷åñêîé ëèòîãðàôèè. Âàæíû è òàêèå ãåîìåòðè÷åñêèå ïàðàìåòðû ïëàñòèíà êàê ïðîãèá, íåïàðàëëåëüíîñòü ñòîðîí è äîïóñê ïî òîëùèíå.
Äëÿ îáåñïå÷èÿ òðåáóåìûõ ïàðàìåòðîâ ðàçðàáîòàíû ðàçëè÷íûå òåõíîëîãè÷åñêèå âàðèàíòû èçãîòîâëåíèÿ ïëàñòèí.  çàâèñèìîñòè îò õàðàêòåðèñòèê îáðàáàòûâàåìîãî ìàòåðèàëà âàðèàíòû èçãîòîâëåíèÿí èìåþò ñâîè îñîáåííîñòè, íî, êàê ïðàâèëî, ñîñòîÿò ÿò èç îäíèõ è òåõ æå áàçîâûõ îïåðàöèé, ïðèìåíÿåìûõ â ðàçëè÷íûõ ñî÷åòàíàíèÿõ. Ê áàçîâûì îïåðàöèÿì îòíîñÿò ïðåäâàðèòåëüíóþ ïîäãîòîâêó ðàçäåëåíèå åãî íà ïëàñòèíû, øëèôîâàíèå ïëàñòèíû, ñâîáîäíûì èëè ñâÿçàííûì àáðàçèâîì, ôîðìèðîâàíèå ôàñîê, õèì÷åñêîå òðàâëåíèå ïëàñòèí, èõ ïîëèðîâàíèå è î÷èñòêó.
Ïðåäâàðèòåëüíàÿ ïîäãîòîâêà ñëèòêà çàêëþ÷àåòñÿ â êàëèáðîâêå åãî íàðóæíîãî äèàìåòðà äî çàäàííîãî ðàçìåðà, ñòðàâëèâàíèè íàðóøåííîãî ñëîÿ, èçãîòîâëåíèè áàçîâûõ è äîïîëíèòåëüíûõ ñðåçîâ, ïîäãîòîâêå òîðöîâûõ ïîâåðõíîñòåé ñ çàäàííîé êðèñòàëëîãðàôè÷åñêîé îðèåíòàöèåé. Çàòåì ðàçäåëÿþò ñëèòîê íà ïëàñòèíû îïðåäåëííîé òîëùèíû. Öåëüþ ïîñëåäóþùåãî øëèôîâàíèÿ ÿâëÿ åòñÿ âûðàâíèâàíèå ïîâåðõíîñòè îòðåçàííûõ ïëàñòèí, óìåíüøåíèå ðàçáðîñà èõ òîëùèí, ôîðìèðîâàíèå îäíîðîäíîé ïîâåðõíîñòè. Ôàñêè ñ îñòðûõ êðîìîê ïëàñòèí ñíèìàþò äëÿ òîãî, ÷òîáû óäàëèòü ñêîëû, îáðàçóþùèåñÿ ïðè ðåçêå è øëèôîâàíèè. Êðîìå òîãî, îñòðûå êðîìêè ïëàñòèí ÿâëÿþòñÿ êîíöåíòðàòîðàìè íàïðÿæåíèé è ïîòåíöèàëüíûìè èñòî÷íèêàìè ñòðóêòóðíûõ äåôåêòîâ, êîòîðûå ìîãóò âîçíèêíóòü ïðè ïåðåêëàäûâàíèè ïëàñòèí è ïðåæäå âñåãî ïðè òåðìè÷åñêèõ îáðàáîòêàõ (îêèñëåíèè, äèôôóçèè, ýïèòàêñèè).
Õèìè÷åñêèì òðàâëåíèåì óäàëÿþò íàðóøåííûå ïðèïîâåðõíîñòíûå ñëîè, ïîñëå ÷åãî ïîëèðóþò îáå ñòîðîíû ïëàñòèí èëè òó ñòîðîíó, êîòîðàÿ ïðåäíàçíà÷åíà äëÿ èçãîòîâëåíèÿ ñòðóêòóð ïðèáîðîâ. Ïîñëå ïîëèðîâàíèÿ ïëàñòèíû î÷èùàþò îò çàãðÿçíåíèé, êîíòðîëèðóþò è óïàêîâûâàþò.
Ïðè èçãîòîâëåíèè ïðèáîðîâ ñïîñîáàìè íàèáîëåå ðàñïðîñòðàíåííîé ïëàíàðíîé òåõíîëîãèè è åå ðàçíîâèäíîñòåé èñïîëüçóþò òîëüêî îäíó, òàê íàçûâàåìóþ ðàáî÷óþ ñòîðîíó ïëàñòèíû. Ó÷èòûâàÿ çíà÷èòåëüíóþ òðóäîåìêîñòü è âûñîêóþ ñòîèìîñòü îïåðàöèé ïî ïîäãîòîâêå âûñîêîêà÷åñòâåííûõ ïëàñòèí ñ áåçäåôåêòíîé ïîâåðõíîñòüþ, íåêîòîðûå âàðèàíòû èçãîòîâëåíèÿ ïëàñòèí ïðåäóñìàòðèâàþò íåñèììåòðè÷íóþ, ò. å. íåîäèíàêîâóþ, îáðàáîòêó èõ ñòîðîí. Íà íåðàáî÷åé ñòîðîíå ïëàñòèíû îñòàâëÿþò ñòðóêòóðíîäåôîðìèðîâàííûé ñëîé òîëùèíîé 5-10 ìêì, êîòîðûé îáëàäàåò ñâîéñòâàìè ãåòòåðà, ò. å. ñïîñîáíîñòüþ ïîãëîùàòü ïàðû è ãàçû èç êîðïóñà ïîëóïðîâîäíèêîâîãî ïðèáîðà ïîñëå åãî ãåðìåòèçàöèè çà ñ÷åò î÷åíü ðàçâèòîé ïîâåðõíîñòè.
Äèñëîêàöèîííàÿ ñòðóêòóðà ñëîÿ, îáðàùåííàÿ ê ðàáî÷åé ïî âåðõíîñòè ïëàñòèíû, îáëàäàåò ñïîñîáíîñòüþ ïðèòÿãèâàòü è óäåðæèâàòü ñòðóêòóðíûå äåôåêòû èç îáúåìà ïîëóïðîâîäíèêîâîãî êðèñòàëëà, ÷òî çíà÷èòåëüíî ïîâûøàåò íàäåæíîñòü è óëó÷øàåò ýëåêòðî-ôèçè÷åñêèå ïàðàìåòðû ïðèáîðîâ. Îäíàêî íåñèììåòðè÷íàÿ îáðàáîòêà ñòîðîí ïëàñòèí ñîçäàåò îïàñíîñòü èõ èçãèáà. Ïîýòîìó ãëóáèíó íàðóøåíèé íà íåðàáî÷åé ñòîðîíå ñëåäóåò ñòðîãî êîíòðîëèðîâàòü.
Èñïîëüçîâàíèå â ïîëóïðîâîäíèêîâîì ïðîèçâîäñòâå ïëàñòèí ñòàíäàðòèçîâàííûõ ðàçìåðîâ ïîçâîëÿåò óíèôèöèðîâàòü îáîðóäîâàíèå è îñíàñòêó íà âñåõ îïåðàöèÿõ, íà÷èíàÿ îò èõ ìåõàíè÷åñêîé îáðàáîòêè è çàêàí÷èâàÿ êîíòðîëåì ïàðàìåòðîâ ãîòîâûõ ñòðóêòóð.  îòå÷åñòâåííîé è çàðóáåæíîé ïðîìûøëåííîñòè íàøëè ïðèìåíåíèå ïëàñòèíû äèàìåòðîì 40, 60, 76, 100, 125, 150 è 200 ìì. Äëÿ ïîëó÷åíèÿ ïëàñòèíû çàäàííîãî äèàìåòðà îñóùåñòâëÿþò êàëèáðîâêó âûðàùåííîãî ïðîâîäíèêîâîãî ìîíîêðèñòàëëè÷åñêîãî ñëèòêà.

Ðèñ. 5 Êàëèáðîâêà ñëèòêà êðóãëûì øëèôîâàíèåì: à,á - ïåðåôåðèåé è òîðöîì êðóãà,1 - ñèòîê, 2 -øëèôîâàëüíûé êðóã
§ 4. Êàëèáðîâêà ñëèòêîâ
Êàê ïðàâèëî, êàëèáðîâêó ïðîèçâîäÿò ñïîñîáîì íàðóæíîãî êðóãëîãî øëèôîâàíèÿ àëìàçíûìè êðóãàìè íà ìåòàëëè÷åñêîé ñâÿçêå (ðèñ. 5). Ïðè ýòîì èñïîëüçóþò êàê óíèâåðñàëüíûå êðóãëîøëèôîâàëüíûå ñòàíêè (ðèñ. 5, à), òàê è ñïåöèàëèçèðîâàííûå ñòàíêè (ðèñ. 5, á), ïîçâîëÿþùèå ïðîèçâîäèòü êàëèáðîâêó ñ ìàëûìè ðàäèàëüíûìè ñèëàìè ðåçàíèÿ. Åñëè ïðè êàëèáðîâêå êðåìíèåâîãî ñëèòêà íà óíèâåðñàëüíîì êðóãëîøëèôîâàëüíîì ñòàíêå ãëóáèíà íàðóøåííîãî ñëîÿ äîñòèãàåò 150-250 ìêì, òî ïðèìåíåíèå ñïåöèàëèçèðîâàííûõ ñòàíêîâ îáåñïå÷èâàåò ñíèæåíèå ãëóáèíû íàðóøåííîãî ñëîÿ äî 50-80 ìêì. Êàëèáðîâêó ÷àùå âñåãî ïðîâîäÿò â íåñêîëüêî ïðîõîäîâ. Ñíà÷àëà çà ïåðâûå ÷åðíîâûå ïðîõîäû ñíèìàþò îñíîâíîé ïðèïóñê àëìàçíûìè êðóãàìè çåðíèñòîñòüþ 160-250 ìêì, çàòåì îñóùåñòâëÿþò ÷èñòîâóþ îáðàáîòêó àëìàçíûìè êðóãàìè çåðíèñòîñòüþ 40-63 ìêì.

Ðèñ. 6. Ïðèìåðû âçàèìíîãî ðàñïîëîæåíèÿ áàçîâûõ è âñïîìîãàòåëüíûõ ñðåçîâ
íà ïëàñòèíàõ êðåìíèÿ:
à-ÊÄÁ 10 (Ill), á-ÊÝÔ 4,5 (100); â-ÊÝÔ 4.5 (Ill). à-ÊÄÁ 10 (100). Ä-ÊÝÔ 7,5 (111). å-ÊÝÔ (ÍÈ, àñ-ÊÝÔ 0,5 (Ill), ç-ÊÝÔ 0.2 (111). í-ÊÝÔ 2 (Ill), ê-ÊÝÑ 0,01 (111)
Ïîñëå êàëèáðîâêè Öèëèíäðè÷åñêîé ïîâåðõíîñòè íà ñëèòêå âûïîëíÿþò áàçîâûé è äîïîëíèòåëüíûå (ìàðêèðîâî÷íûå) ñðåçû. Áàçîâûé ñðåç äåëàþò äëÿ îðèåíòàöèè è áàçèðîâàíèÿ ïëàñòèí íà îïåðàöèÿõ ôîòîëèòîãðàôèè. Äîïîëíèòåëüíûå ñðåçû ïðåäíàçíà÷åíû äëÿ îáîçíà÷åíèÿ êðèñòàëëîãðàôè÷åñêîé îðèåíòàöèè ïëàñòèí è òèïà ïðîâîäèìîñòè ïîëóïðîâîäíèêîâûõ ìàòåðèàëîâ. Ïðèìåðû ðàñïîëîæåíèÿ áàçîâûõ è äîïîëíèòåëüíûõ ñðåçîâ ïîêàçàíû íà ðèñ. 6, à - ê. Øèðèíû áàçîâîãî è äîïîëíèòåëüíûõ ñðåçîâ ðåãëàìåíòèðîâàíû è çàâèñÿò îò äèàìåòðà ñëèòêà. Áàçîâûé è äîïîëíèòåëüíûå ñðåçû èçãîòîâëÿþò øëèôîâàíèåì íà ïëîñêîøëèôîâàëüíûõ ñòàíêàõ ÷àøå÷íûìè àëìàçíûìè êðóãàìè ïî ÃÎÑÒ 16172-80 èëè êðóãàìè ïðÿìîãî ïðîôèëÿ ïî ÃÎÑÒ 16167-80. Çåðíèñòîñòü àëìàçíîãî ïîðîøêà â êðóãàõ âûáèðàþò â ïðåäåëàõ 40/28-63/50 ìêì. Îäèí èëè íåñêîëüêî ñëèòêîâ çàêðåïëÿþò â ñïåöèàëüíîì ïðèñïîñîáëåíèè,îðèåíòèðóÿ íåîáõîäèìóþ êðèñòàëëîãðàôè÷åñêóþ ïëîñêîñòü ïàðàëëåëüíî ïîâåðõíîñòè ñòîëà ñòàíêà.  çîíó îáðàáîòêè ïîäàþò ñìàçî÷íî-îõëàæäàþùóþ æèäêîñòü (íàïðèìåð, âîäó).
Ñðåçû ìîæíî òàêæå èçãîòîâëÿòü íà ïëîñêîäîâîäî÷íûõ ñòàíêàõ ñ ïðèìåíåíèåì àáðàçèâíûõ ñóñïåíçèé íà îñíîâå .ïîðîøêîâ êàðáèäà êðåìíèÿ èëè êàðáèäà áîðà ñ ðàçìåðîì çåðåí 20-40 ìêì. Øëèôîâàíèå ñâîáîäíûì àáðàçèâîì ïîçâîëÿåò óìåíüøèòü ãëóáèíó íàðóøåííîãî ñëîÿ, íî ïðè ýòîì ñíèæàåòñÿ ñêîðîñòü îáðàáîòêè. Ïîýòîìó íàèáîëåå øèðîêî â ïðîìûøëåííîñòè ðàñïðîñòðàíåíî øëèôîâàíèå öèëèíäðè÷åñêîé ïîâåðõíîñòè è ñðåçîâ àëìàçíûìè êðóãàìè.
Ïîñëå øëèôîâàíèÿ ñëèòîê òðàâÿò â ïîëèðóþùåé ñìåñè àçîòíîé, ïëàâèêîâîé è óêñóñíîé êèñëîò, óäàëÿÿ íàðóøåííûé ñëîé. Îáû÷íî ñòðàâëèâàþò ñëîé òîëùèíîé 0,2-1,0 ìì. Ïîñëå êàëèáðîâêè è òðàâëåíèÿ äîïóñê íà äèàìåòð ñëèòêà ñîñòàâëÿåò 0,5 ìì. Íàïðèìåð, ñëèòîê ñ íîìèíàëüíûì (çàäàííûì) äèàìåòðîì 60 ìì ìîæåò èìåòü ôàêòè÷åñêèé äèàìåòð 59,5-60,5 ìì.
§ 5. Ðàçäåëåíèå ïîëóïðîâîäниковых ñëèòêîâ íà ïëàñòèíû
Ïðîìûøëåííîå ïîëó÷åíèå ïîëóïðîâîäíèêîâûõ ìîíîêðèñòàëëîâ ïðåäñòàâëÿåò ñîáîé âûðàùèâàíèå áëèçêèõ ê öèëèíäðè÷åñêîé ôîðìå ñëèòêîâ, êîòîðûå íåîáõîäèìî ðàçäåëèòü íà çàãîòîâêè-ïëàñòèíû. Èç ìíîãî÷èñëåííûõ ñïîñîáîâ ðàçäåëåíèÿ ñëèòêîâ íà ïëàñòèíû (ðåçêà àëìàçíûìè êðóãàìè ñ âíóòðåííåé èëè íàðóæíîé ðåæóùåé êðîìêîé, ýëåêòðîõèìè÷åñêàÿ, ëàçåðíûì ëó÷îì, õèìè÷åñêèì òðàâëåíèåì, íàáîðîì ïîëîòåí èëè ïðîâîëîêîé, áåñêîíå÷íîé ëåíòîé è äð.) â íàñòîÿùåå âðåìÿ íàèáîëüøåå ïðèìåíåíèå íàøëè ðåçêà àëìàçíûìè êðóãàìè ñ âíóòðåííåé ðåæóùåé êðîìêîé, íàáîðîì ïîëîòåí è áåñêîíå÷íîé ëåíòîé.
À ë ì à ç í û é ê ð ó ã ñ â í ó ò ð å í í å é ð å æ ó ù å é ê ð î ì ê î é.
(AÊÂP) îáåñïå÷èâàåò ðàçäåëåíèå ñëèòêîâ äîñòàòî÷íî áîëüøîãî äèàìåòðà (äî 200 ìì) ñ âûñîêîé ïðîèçâîäèòåëüíîñòüþ, òî÷íîñòüþ è ìàëûìè ïîòåðÿìè äîðîãîñòîÿùèõ ïîëóïðîâîäíèêîâûõ ìàòåðèàëîâ. Êðóã ÀÊÂÐ ïðåäñòàâëÿåò ñîáîé ìåòàëëè÷åñêèé êîëüöåîáðàçíûé êîðïóñ òîëùèíîé 0,05-0,2 ìì, íà âíóòðåííåé êðîìêå êîòîðîãî çàêðåïëåíû àëìàçíûå çåðíà, îñóùåñòâëÿþùèå ðåçàíèå. Êîðïóñ èçãîòîâëÿþò èç âûñîêîêà÷åñòâåííûõ êîððîçèîííî-ñòîéêèõ õðîìîíèêåëåâûõ ñòàëåé ñ óïðî÷íÿþùèìè ëåãèðóþùèìè äîáàâêàìè.  îòå÷åñòâåííîé ïðîìûøëåííîñòè äëÿ êîðïóñîâ èñïîëüçóþò ñòàëü ìàðêè 12Õ18Í10Ò.
Ôîðìîîáðàçîâàíèå ëåíòû ïðîèçâîäÿò ñïîñîáîì õîëîäíîé ïðîêàòêè, â ðåçóëüòàòå ÷åãî äîñòèãàåòñÿ ïðî÷íîñòü íà ðàçðûâ äî 1760-1960 ÌÏà. Íåäîñòàòêîì õîëîäíîé ïðîêàòêè ÿâëÿåòñÿ âîçíèêíîâåíèå ó ëåíòû àíèçîòðîïèè ìåõàíè÷åñêèõ ñâîéñòâ, ÷òî îáúÿñíÿåòñÿ äåôîðìàöèåé è íàïðàâëåííîé îðèåíòàöèåé çåðåí, îáðàçóþùèõ ñòðóêòóðó ñòàëè. Àíèçîòðîïèÿ òåêó÷åñòè ëåíòû â íàïðàâëåíèè ïðîêàòêè è â íàïðàâëåíèè, ïåðïåíäèêóëÿðíîì åé, ïðåïÿòñòâóåò ðàâíîìåðíîìó íàòÿæåíèþ êîðïóñà êðóãà. Óìåíüøèòü àíèçîòðîïèþ ìîæíî ñîâåðøåíñòâîâàíèåì èñõîäíîé ñòðóêòóðû ñòàëè äî ïðîêàòêè è ïðèìåíåíèåì òåðìîîáðàáîòêè.
Àëìàçîñîäåðæàùèé ðåæóùèé ñëîé íà âíóòðåííåé êðîìêå êîðïóñà ôîðìèðóþò ãàëüâàíîñòåãèåé.  ýëåêòðîëîòè÷åñêóþ âàííó ïîñåùàþò êîðïóñà, çàùèùåííûå èçîëÿòîðàìè ïî âñåé ïîâåðõíîñòè, èñêëþ÷àÿ âíóòðåííþþ êðîìêó. Âàííó çàïîëíÿþò ýëåêòðîëèòîì è çàñûïàþò â íåå àëìàçíûé ïîðîøîê òðåáóåìîé çåðíèñòîñòè. Ïðè ïðîïóñêàíèè ïîñòîÿííîãî ýëåêòðè÷åñêîãî òîêà ìåæäó àíîäîì è êîðïóñàìè íà âíóòðåííåé êðîìêå îñàæäàåòñÿ ìåòàëëè÷åñêèé ñëîé, çàõâàòûâàþùèé è ïðèêðåïëÿþùèé ê êîðïóñó àëìàçíûå çåðíà. îñàæäàåìûé ìåòàëëè÷åñêèé ñëîé íàçûâàåòñÿ ñâÿçêîé. ×àùå âñåãî ýòî íèêåëü èëè êîáàëüò. Òîëùèíà ðåæóùåé êðîìêè â äâà-òðè ðàçà áîëüøå òîëùèíû êîðïóñà.
Ðàçìåð àëìàçíûõ çåðåí, çàêðåïëåííûõ íà âíóòðåííåé êðîìêå, âûáèðàþò â çàâèñèìîñòè îò ôèçèêî-ìåõàíè÷åñêèõ ñâîéñòâ ðàçðåçàåìîãî ïîëóïðîâîäíèêîâîãî ìàòåðèàëà (òàåðäîñòè, õðóïêîñòè, ñïîñîáíîñòè ê àäãåçèè, ò. å. ïðèëèïàíèþ ê ðåæóùåé êðîìêå). Êàê ïðàâèëî, äëÿ ðåçêè êðåìíèÿ öåëåñîîáðàçíî èñïîëüçîâàòü àëìàçíûå çåðíà ñ ðàçìåðîì îñíîâíîé ôðàêöèè 40-60 ìêì. Çåðíà äîëæíû áûòü äîñòàòî÷íî ïðî÷íûìè è èìåòü ôîðìó, áëèçêóþ ôîðìå ïðàâèëüíûõ êðèñòàëëîâ. Ãåðìàíèé è ñðàâíèòåëüíî ìÿãêèå ïîëóïðîâîäíèêîâûå ñîåäèíåíèÿ òèïà À3Â5 (àðñåíèä ãàëëèÿ, àðñåíèä èíäèÿ,àíòèìîíèä èíäèÿ, ôîñôèä ãàëëèÿ è äð.) öåëåñîîáðàçíî ðåçàòü àëìàçàìè, ðàçìåð çåðåí îñíîâíîé ôðàêöèè êîòîðûõ 28-40 ìêì. Òðåáîâàíèÿ ê ïðî÷íîñòè ýòèõ çåðåí íå ñòîëü âûñîêè, êàê ïðè ðåçêå êðåìíèÿ. Ìîíîêðèñòàëëû ñàïôèðà, êîðóíäà, êâàðöà, áîëüøèíñòâà ãðàíàòîâ ðàçäåëÿþò âûñîêîïðî÷íûìè êðèñòàëëè÷åñêèìè àëìàçàìè ðàçìåð çåðåí îñíîâíîé ôðàêöèè êîòîðûõ 80-125 ìêì.
 ñâÿçè ñ òåì ÷òî äèàìåòðû ñëèòêîâ è ìåõàíè÷åñêèå ñâîéñòâà ðàçðåçàåìûõ ìàòåðèàëîâ ðàçíîîáðàçíû, èñïîëüçóþò êðóãè ÀÊÂÐ ðàçëè÷íûõ òèïîðàçìåðîâ. Õàðàêòåðèñòèêè íàèáîëåå ðàñïðîñòðàíåííûõ èç íèõ ïðèâåäåíû â òàáë-Ç.
Ñõåìó ðåçêè ïîëóïðîâîäíèêîâîãî ñëèòêà êðóãîì ÀÊ.ÂÐ ïîêàçàíà íà ðèñ. 22. Êðóã 1 ðàñòÿãèâàþò è çàêðåïëÿþò íà áàðàáàíå 2, êîòîðûé ïðèâîäÿò âî âðàùåíèå âîêðóã ñâîåé îñè. Ñëèòîê 3 ââîäÿò âî âíóòðåííåå îòâåðñòèå êðóãà ÀÊÂÐ íà ðàññòîÿíèå, ðàâíîå ñóììå çàäàííîé òîëùèíû ïëàñòèíû è øèðèíû ïðîïèëà. Ïîñëå ýòîãî ïðîèçâîäÿò ïðÿìîëèíåéíîå ïåðåìåùåíèå ñëèòêà îòíîñèòåëüíî âðàùàþùåãîñÿ êðóãà â ðåçóëüòàòå ÷åãî îòðåçàåòñÿ ïëàñòèíà.
Îòðåçàííàÿ ïëàñòèíà ìîæåò ïàäàòü â ñáîðíûé ëîòîê èëè æå óäåðæèâàòüñÿ ïîñëå ïîëíîãî ïðîðåçàíèÿ ñëèòêà íà îïðàâêå 4 êëåÿùåé ìàñòèêîé 5. Ïîñëå ñêâîçíîãî ïðîðåçàíèÿ ñëèòêà åãî îòâîäÿò â èñõîäíîå ïîëîæåíèå è êðóã âûõîäèò èç îáðàçîâàííîé ïðîðåçè. Çàòåì ñëèòîê ñíîâà ïåðåìåùàþò íà çàäàííûé øàã âî âíóòðåííåå îòâåðñòèå êðóãà è ïîâòîðÿþò öèêë îòðåçàíèÿ ïëàñòèíû.
Îáÿçàòåëüíûì óñëîâèåì êà÷åñòâåííîãî ðàçäåëåíèÿ ñëèòêà íà ïëàñòèíû ÿâëÿåòñÿ ïðàâèëüíàÿ óñòàíîâêà è çàêðåïëåíèå êðóãà
Ò à á ë è ö. à 1. Îñíîâíûå òåõíè÷åñêèå äàííûå àëìàçíûõ îòðåàíûõ êðóãîâ ñ âíóòðåííåé ðåæóùåé êðîìêîé

AÊBP. Âûñîêàÿ ïðî÷íîñòü ìàòåðèàëà êîðïóñà êðóãà è åãî ñïîñîáíîñòü ê çíà÷èòåëüíîìó âûòÿãèâàíèþ äàþò âîçìîæíîñòü íàòÿíóòü êðóã íà áàðàáàí ñ äîñòàòî÷íîé æåñòêîñòüþ. Æåñòêîñòü êðóãà íåïîñðåäñòâåííî âëèÿåò íà òî÷íîñòü è êà÷åñòâî ïîâåðõíîñòè ïëàñòèí, íà ñòîéêîñòü êðóãà, ò. å. ñðîê åãî ñëóæáû, è øèðèíó ïðîïèëà. Íåäîñòàòî÷íàÿ æåñòêîñòü ïðèâîäèò ê âîçíèêíîâåíèþ äåôåêòîâ ãåîìåòðèè ïëàñòèí (íåïëîñêîñòíîñòè, ïðîãèáà, ðàçáðîñà ïî òîëùèíå) è óâåëè÷åíèþ øèðèíû ïðîïèëà, à ÷ðåçìåðíàÿ æåñòêîñòü - ê áûñòðîìó âûõîäó êðóãà èç ñòðîÿ èç-çà ðàçðûâà êîðïóñà.
Óñòàíîâëåíî, ÷òî äëÿ êàæäîãî òèïîðàçìåðà êðóãà AÊBP ñóùåñòâóåò îïòèìàëüíàÿ æåñòêîñòü êîðïóñà, ïðè êîòîðîé îáåñïå÷èâàþòñÿ âûñîêèå ñòîéêîñòü êðóãà è êà÷åñòâî ïëàñòèí, à òàêæå ìèíèìàëüíàÿ øèðèíà ïðîïèëà.
Ðàçðàáîòàíî íåñêîëüêî ñïîñîáîâ îöåíêè è êîíòðîëÿ æåñòêîñòè êðóãà. Íàèáîëåå ïðîñòîé èç íèõ îñíîâàí íà èçìåðåíèè äèàìåòðà âíóòðåííåãî îòâåðñòèÿ êðóãà. Çà ñ÷åò ðàñòÿæåíèÿ ìàòåðèàëà êîðïóñà êðóãà ïðè åãî óñòàíîâêå äèàìåòð âíóòðåííåãî îòâåðñòèÿ óâåëè÷èâàåòñÿ íà 0,5-1,0% åãî èñõîäíîãî çíà÷åíèÿ. Èçìåðÿÿ óâåëè÷åíèå äèàìåòðà âíóòðåííåãî îòâåðñòèÿ ñïåöèàëüíûì èíäèêàòîðîì è äîâîäÿ åãî äî çàäàííîãî çíà÷åíèÿ, äîáèâàþòñÿ òðåáóåìîé æåñòêîñòè êðóãà. Ìîæíî îöåíèòü æåñòêîñòü êðóãà ïî åãî ïðîãèáó ïîä äåéñòâèåì ñîñðåäîòî÷åííîé íàãðóçêè.
Íàèáîëåå îáúåêòèâíóþ îöåíêó æåñòêîñòè ïîçâîëÿåò ïðîèçâåñòè ñïîñîá, îñíîâàííûé íà èçìåðåíèè ñîáñòâåííîé ÷àñòîòû êîëåáàíèé íàòÿíóòîãî êîðïóñà. Èçìåíåíèå æåñòêîñòè êðóãà âûçûâàåò èçìåíåíèå åãî ñîáñòâåííîé ÷àñòîòû êîëåáàíèé, ÷òî ïðîÿâëÿåòñÿ, íàïðèìåð, ïðè èçìåíåíèè âûñîòû çâóêà, âîçíèêàþùåãî ïðè ëåãêîì ïîñòóêèâàíèè ïî êðóãó.

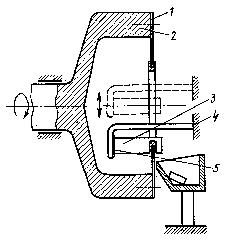
Ðèñ. 7. Ñõåìà ðåçêè ñëèòêà êðóãîì
ÀÊÂÐ:
1 - круг АКВР, 2 - барабан,
3 - слиток, 4 - оправка, 5 - клеящая мастика
Èçìåðåíèå ñîáñòâåííîé ÷àñòîòû êîëåáàíèé íàòÿíóòîãî êðóãà îñóùåñòâëÿþò ñ ïîìîùüþ ñïåöèàëüíîãî ïðèáîðà, ñîñòîÿùåãî èç áåñêîíòàêòíîãî âîçáóäèòåëÿ êîëåáàíèé (ýëåêòðîäèíàìè÷åñêîãî ãðîìêîãîâîðèòåëÿ), áåñêîíòàêòíîãî äàò÷èêà è èçìåðèòåëüíîãî áëîêà. ×àñòîòà âîçáóæäàþùèõ êîëåáàíèé çàäàåòñÿ ãåíåðàòîðîì íèçêîé ÷àñòîòû. Ïî ìàêñèìàëüíîìó ïîêàçàíèþ èíäèêàòîðà óñòàíàâëèâàåòñÿ ìîìåíò ñîâïàäåíèÿ ÷àñòîòû ãåíåðèðóåìûõ êîëåáàíèé ðåçîíàíñíîé ÷àñòîòîé êðóãà. Îïòèìàëüíûå ÷àñòîòû ñîáñòâåííûõ êîëåáàíèé êðóãîâ ñ êîðïóñàìè òîëùèíîé 0,1 ìì, èçãîòîâëåííûõ èç ñòàëè ìàðêè 12Õ18Í10Ò, ñëåäóþùèå: êðóã ÀÊÂÐ 206X83- 1100-1200 Ãö; ÀÊÂÐ 305XIOO-800-850 Ãö, AKBP 422Õ X 152 - 550-600 Ãö.
Ðàçðåçàåìûé ñëèòîê çàêðåïëÿþò íà ñïåöèàëüíîé îïðàâêå, ïðè÷åì ñïîñîá êðåïëåíèÿ çàâèñèò îò òîãî, êàê èçâëåêàþò èç çîíû îáðàáîòêè îòðåçàííûå ïëàñòèíû. Åñëè ïëàñòèíà ïîñëå îòðåçàíèÿ îò ñëèòêà ïàäàåò â çàïîëíåííûé âîäîé ñáîðíûé ëîòîê, òî ñëèòîê êðåïÿò òîëüêî îäíèì òîðöîì ê îïðàâêå. Îäíàêî òàêîé ñïîñîá ïðèâîäèò ê áîþ áîëüøîãî êîëè÷åñòâà ïëàñòèí, òàê êàê äîâîëüíî ëåãêàÿ ïëàñòèíà ìîæåò ïðèëèïíóòü ê ñìî÷åííîìó êîðïóñó êðóãà è ðàçáèòüñÿ ïðè åãî áûñòðîì âðàùåíèè. Äëÿ òîãî ÷òîáû èñêëþ÷èòü ïðèëèïàíèå îòðåçàåìîé ïëàñòèíû, åå ïîääåðæèâàþò âàêóóìíîé ïðèñîñêîé, êîòîðàÿ ôèêñèðóåò åå â ïðîöåññå îòðåçàíèÿ è ïåðåíîñèò â ñáîðíûé ëîòîê èëè íà ëåíòó òðàíñïîðòåðà. Âêëþ÷åíèå è ïåðåìåùåíèå âàêóóìíîé ïðèñîñêè îñóùåñòâëÿþòñÿ àâòîìàòè÷åñêè.
Îòðåçàííûå ïëàñòèíû ìîãóò óäåðæèâàòüñÿ íà îïðàâêå êëåÿùåé ìàñòèêîé, íàíåñåííîé íà îáðàçóþùóþ ñëèòêà. Äîñòàòî÷íî òîëñòûé è øèðîêèé ñëîé ìàñòèêè óäåðæèâàåò îòðåçàííûå ïëàñòèíû áåç îïðàâêè (ðèñ. 8).
Ïðè íàêëåèâàíèè òîðöà ñëèòêà 1 íà îïðàâêó îáû÷íî èñïîëüçóþò øåëëàê èëè ýïîêñèäíóþ ñìîëó. Øåëëàê- ýòî ïðèðîäíîå îðãàíè÷åñêîå âåùåñòâî, èìåþùåå ïëàñòèí÷àòîå ñòðîåíèå. Îí ïëàâèòñÿ ïðè 75-90°Ñ è ðàñòâîðÿåòñÿ â ýòèëîâîì ñïèðòå. Îïðàâêó íàãðåâàþò äî òåìïåðàòóðû ïëàâëåíèÿ øåëëàêà è «àíîñÿò åãî òîíêèé ñëîé. Çàòåì ñèëüíî ïðèæèìàþò ñëèòîê ê îïðàâêå, âûäàâëèâàÿ èçëèøêè øåëëàêà, è îõëàæäàþò. Ýïîêîèäíàÿ ñìîëà-ýòî ñèíòåòè÷åñêîå âåùåñòâî, îáëàäàþùåå â òâåðäîì ñîñòîÿíèè âûñîêîé ìåõàíè÷åñêîé ïðî÷íîñòüþ. Ïîñëå ñìåøèâàíèÿ ýïîêñèäíîé ñìîëû ñ îòâåðäèòåëåì ïîëó÷åííóþ ñìåñü íàíîñÿò íà îïðàâêó, ïðèæèìàþò ê íåé ñëèòîê è ïîìåùàþò èõ â òåðìîñòàò.  òåðìîñòàòå îïðàâêó ñî ñëèòêîì âûäåðæèâàþò ïðè 120-150°Ñ â òå÷åíèå 1,5-2 ÷, ïîñëå ÷åãî îõëàæäàþò. Îáû÷íî èñïîëüçóþò ýïîêñèäíóþ ñìîëó ìàðîê ÝÄ-16 èëè ÝÄ-20. Ïåðåä íàêëåéêîé ïîâåðõíîñòü îïðàâêè è òîðåö ñëèòêà îáåçæèðèâàþò îðãàíè÷åñêèìè ðàñòâîðèòåëÿìè è ïðîòèðàþò.
Ìàñòèêó, êîòîðóþ íàíîñÿò íà îáðàçóþùóþ ñëèòêà äëÿ óäåðæèâàíèÿ îòðåçàííûõ ïëàñòèí, ïðèãîòîâëÿþò èç êîìïîíåíòîâ è íàïîëíèòåëåé. Íàïîëíèòåëè íåîáõîäèìû äëÿ òîãî, ÷òîáû ïðèäàòü ñðàâíèòåëüíî òîëñòîìó ñëîþ ìàñòèêè, íàíåñåííîìó íà ñëèòîê, äîñòàòî÷íóþ ìåõàíè÷åñêóþ ïðî÷íîñòü. Åñëè â êà÷åñòâå íàïîëíèòåëÿ íåïîëüçóþò àáðàçèâíûé ïîðîøîê, òî ðåæóùàÿ êðîìêà êðóãà ÀÊÂÐ, âðåçàÿñü â ìàñòèêó, ïîäâåðãàåòñÿ ïðàâêå. Íàèáîëåå ÷àñòî èñïîëüçóþò ìàñòèêó, ñîäåðæàùóþ 3 ìàñ. ÷. øåëëàêà, 4 ìàñ. ÷. àáðàçèâíîãî ïîðîøêà è 2 ìàñ. ÷. ýïîêñèäíîé ñìîëû. Çåðíèñòîñòü àáðàçèâíîãî ïîðîøêà âûáèðàþò â ïðåäåëàõ 20-40 ìêì.
Îðèåíòàöèþ èëè ïîèñê çàäàííîé êðèñòàëëîãðàôè÷åñêîé ïëîñêîñòè ìîíîêðèñòàëëà è îïðåäåëåíèå ïîëîæåíèÿ ýòîé ïëîñêîñòè îòíîñèòåëüíî òîðöà ñëèòêà ïðîèçâîäÿò íà ñïåöèàëüíîì îáîðóäîâàíèè îïòè÷åñêèì èëè ðåíòãåíîâñêèì ìåòîäàìè.

Ðèñ. 8. Ôèêñàöèÿ îòðåçàííûõ Ðèñ. 9. Îïòè÷åñêèé ìåòîä îðèåíòàöèè
ïëàñòèí ñ ïîìîùüþ ìàñòèêè: ìîíîêðèñòàëëîâ:
1 - слиток, 2 - слой мастики, а - схема ориентации, б - световые фигуры
3 - круг АКВР , 4 - барабан на плоскостях (1 1 1) и (1 0 0);
1 - слиток ориентации (1 1 1), 2 -плос-
кость торца, 3 - ýêðàí
 îñíîâó îïòè÷åñêîãî ìåòîäà îðèåíòàöèè ìîíîêðèñòàëëîâ ïîëîæåíî ñâîéñòâî ïðîòðàâëåííûõ ïîâåðõíîñòåé îòðàæàòü ñâåòîâûå ëó÷è â ñòðîãî îïðåäåëåííîì íàïðàâëåíèè. Ïðè ýòîì îòðàæàþùàÿ ïëîñêîñòü âñåãäà ñîâïàäàåò ñ êðèñòàëëîãðàôè÷åñêèìè ïëîñêîñòÿìè òèïà {111}. Îòêëîíåíèå òîðöà ñëèòêà îò êðèñòàëëîãðàôè÷åñêîé ïëîñêîñòè (111) ïðèâîäèò ê îòêëîíåíèþ îòðàæåííîãî ëó÷à íà ìàòîâîì ýêðàíå íà ðàññòîÿíèå l (ðèñ. 9, à), õàðàêòåðèçóþùååñÿ óãëîì ðàçîðèåíòàöèè òîðöà îò ïëîñêîñòè (111).
Îòðàæåííûé ëó÷ îáðàçóåò íà ýêðàíå ñâåòîâûå ôèãóðû, ôîðìà êîòîðûõ îïðåäåëÿåòñÿ êîíôèãóðàöèåé ÿìîê, âûòðàâëåííûõ íà òîðöå ñëèòêà ñåëåêòèâíûìè òðàâèòåëÿìè. Òèïè÷íîé ñâåòîâîé ôèãóðîé äëÿ ñëèòêà, âûðàùåííîãî â íàïðàâëåíèè [111], ÿâëÿåòñÿ òðåõëåïåñòêîâàÿ çâåçäà, à äëÿ ñëèòêà, âûðàùåííîãî â íàïðàâëåíèè [100],-÷åòûðåõëåïåñòêîâàÿ çâåçäà (ðèñ.9,á).
§ 6. Ôîðìèðîâàíèå ôàñîê íà êðîìêàõ ïëàñòèí
Ñíÿòèå ôàñîê ñ êðîìîê ïîëóïðîâîäíèêîâûõ ïëàñòèí ïðîèçâîäÿò äëÿ äîñòèæåíèÿ íåñêîëüêèõ öåëåé. Âî-ïåðâûõ, äëÿ óäàëåíèå ñêîëîâ íà îñòðûõ êðîìêàõ ïëàñòèí, âîçíèêàþùèõ ïðè ðåçêå è øëèôîâàíèè. Âî-âòîðûõ, äëÿ ïðåäîòâðàùåíèÿ âîçìîæíîãî îáðàçîâàíèÿ ñêîëîâ â ïðîöåññå ïðîâåäåíèÿ îïåðàöèé, íåïîñðåäñòâåííî ñâÿçàííûõ ñ ôîðìèðîâàíèåì ñòðóêòóð ïðèáîðîâ. Ñêîëû, êàê èçâåñòíî, ìîãóò ñëóæèòü èñòî÷íèêàìè ñòðóêòóðíûõ äåôåêòîâ â ïëàñòèíàõ ïðè ïðîâåäåíèè âûñîêîòåìïåðàòóðíûõ îáðàáîòîê è ëàæåí ÿâëÿòüñÿ ïðè÷èíîé ðàçðóøåíèÿ ïëàñòèí. Â-òðåòüèõ, äëÿ ïðåäîòâðàùåíèÿ îáðàçîâàíèÿ íà êðîìêàõ ïëàñòèí óòîëùåíèÿ ñëîåâ òåõíîëîãè÷åñêèõ æèäêîñòåé (ôîòîðåçèñòîâ, ëàêîâ), êîòîðûå ïîñëå çàòâåðäåâàíèÿ íàðóøàþò ïëîñêîñòíîñòü ïîâåðõíîñòè. Òàêèå æå óòîëùåíèÿ íà êðîìêàõ ïëàñòèí âîçíèêàþò ýðè íàíåñåíèè íà èõ ïîâåðõíîñòü ñëîåâ ïîëóïðîâîäíèêîâûõ ìàòåðèàëîâ è äèýëåêòðèêîâ.
Ôîðìèðîâàíèå ôàñîê ïðîèçâîäÿò ìåõàíè÷åñêèì ñïîñîáîì (øëèôîâàíèåì è ïîëèðîâàíèåì), õèìè÷åñêèì èëè ïëàçìîõèìè÷åñêèì òðàâëåíèåì. Ïëàçìîõèìè÷åñêîå òðàâëåíèå ôàñîê îñíîâàíî íà òîì, ÷òî îñòðûå êðîìêè â ïëàçìå ðàñïûëÿþòñÿ ñ áîëüøåé ñêîðîñòüþ, ÷åì äðóãèå îáëàñòè ïëàñòèí, ââèäó òîãî, ÷òî íàïðÿæåííîñòü ýëåêòðè÷åñêîãî ïîëÿ íà îñòðûõ êðîìêàõ ñóùåñòâåííî âûøå. Ýòèì ñïîñîáîì ìîæíî ïîëó÷èòü ôàñêà ñ ðàäèóñîì çàêðóãëåíèÿ íå áîëåå 50-100 ìêì. Õèìè÷åñêîå òðàâëåíèå îáåñïå÷èâàåò áîëüøèé ðàäèóñ ôàñîê, îäíàêî è õèìè÷åñêîå, è ïëàçìîõèìè÷åñêîå òðàâëåíèå íå ïîçâîëÿþò èçãîòîâëÿòü ôàñêè ðàçëè÷íîãî ïðîôèëÿ. Êðîìå òîãî, òðàâëåíèå ÿâëÿåòñÿ ïëîõî óïðàâëÿåìûì è êîíòðîëèðóåìûì ïðîöåññîì, ÷òî îãðàíè÷èâàåò åãî øèðîêîå ïðîìûøëåííîå ïðèìåíåíèå.
 ïðîèçâîäñòâå ÷àùå âñåãî èñïîëüçóþò ñïîñîá ôîðìèðîâàíèÿ ôàñîê ïðîôèëüíûì àëìàçíûì êðóãîì. Ñõåìà îáðàáîòêè ïëàñòèíû 1 àëìàçíûì êðóãîì 2 ïîêàçàíà íà ðèñ.. 10. Ýòèì ñïîñîáîì ìîãóò áûòü èçãîòîâëåíû ôàñêè ðàçíîîáðàçíîé ôîðìû (ðèñ. 11, à-â). Íà ïðàêòèêå ÷àùå âñåãî ôîðìèðóþò ôàñêè, ôîðìà êîòîðûõ ïîêàçàíà íà ðèñ. 11, à.  ïðîöåññå îáðàáîòêè ïëàñòèíà çàêðåïëÿåòñÿ íà âàêóóìíîì ñòîëèêå ñòàíêà è âðàùàåòñÿ âîêðóã ñâîåé îñè. ×àñòîòà âðàùåíèÿ ïëàñòèíû 10-20 îá/ìèí, àëìàçíîãî êðóãà 4000-10000 îá/ìèí. Àëìàçíûé êðóã ïðèæèìàåòñÿ ê ïëàñòèíå ñ óñèëèåì 0,4-0,7 Í. Îñü âðàùåíèÿ êðóãà ïåðåìåùàåòñÿ îòíîñèòåëüíî îñè âðàùåíèÿ âàêóóìíîãî ñòîëèêà òàê, ÷òîáû îáðàáîòêå

Рис. 10. Схема Рис. 11
формирования фаски про- Варианты исполнения фаски:
фильным алмазным кругом: а - с закругленнными кромками;
1-полупроводниковая пластина б - закругленной переферией
2 - алмазный круг. в - со скошенными кромками.
íèêîâûå ñîåäèíåíèÿ øëèôóþò ïðè äàâëåíèè â 1,5-2,5 ðàçà ìåíüøåì, ÷åì êðåìíèé.  ïðîöåññå øëèôîâàíèÿ ïëàñòèíû ïåðèîäè÷åñêèïîäâåðãàþò âèçóàëüíîìó îñìîòðó è êîíòðîëþ ïî òîëùèíå.
Íàðÿäó ñ äâóñòîðîííèì øëèôîâàíèåì øèðîêîå ðàñïðåñòðàíåíèå ïîëó÷èëî îäíîñòîðîííåå øëèôîâàíèå ïëàñòèí, ñõåìà êîòîðîãî ïðèâåäåíà íà ðèñ. 12. Ïëàñòèíû 2 ïîìåùàþò , â ñåïàðàòîð 3 è ïðèæèìàþò ãðóçîì 4 ê øëèôîâàëüíèêó 1.

Ðèñ. 12 Ñõåìà îäíîñòîðîííåãî
øëèôîâàíèÿ ñâÿçàííûì àáðàçèâîì:
1 - øëèôîâàëüùèê, 2- пластина, 3 -сепататор,
4 - груз
Íà øëíôîâàëüíèê ïîäàþò àáðàçèâíóþ ñóñïåíçèþ. Îáðàáîòêà, ïðîèñõîäèò òàê æå, êàê è ïðè äâóñòîðîííåì øëèôîâàíèè. Òàêèì ñïîñîáîì âîçìîæíî øëèôîâàòü ïëàñòèíû ðàçíîé òîëùèíû. Îäíàêî ìåæäó ïëàñòèíîé è ãðóçîì ìîæåò ïîïàäàòü èíîðîäíîå âêëþ÷åíèå (àáðàçèâ, ÷àñòèöû ïîëóïðîâîäíèêîâîãî ìàòåðèàëà, ìåòàëëè÷åñêàÿ ñòðóæêà è ò. ï.), óõóäøàþùåå òî÷íîñòü îáðàáîòêè. Ïîýòîìó - ÷àùå ïëàñòèíû ïðè îäíîñòîðîííåì øëèôîâàíèè êðåïÿò ê øëèôîâàëüíîé ãîëîâêå.
При шлифовании используют три способа крепления пластин: приклеиванием, оптическим контактом и вакуумной фиксацией. Основными требованиями крепления пластин являются строгая параллельность базовой поверхности пластин поверхности шлифовальной головки, а также надежность крепления.
§ 7. Øëèôîâàíèå ïëàñòèí ñâîáîäíûì è ñâÿçàííûì àáðàçèâîì
Îñíîâíûì íàçíà÷åíèåì øëèôîâàíèÿ ïîëóïðîâîäíèêîâûõ ïëàñòèí ÿâëÿåòñÿ èñïðàâëåíèå ïîãðåøíîñòåé èõ ãåîìåòðè÷åñêîé ôîðìû ïîñëå ðåçêè Íåñìîòðÿ íàòå ÷òî ãëóáèíà íàðóøåííîãî ñëîÿ ïîñëå øëèôîâàíèÿ ïðèìåðíî òàêàÿ æå, êàê è ïîñëå ðåçêè,ñëåäóåò óêàçàòü íà áîëüøóþ ðàâíîìåðíîñòü ãëóáèíû íàðóøåíèé, âíîñèìûõ øëèôîâàíèåì.

Ðèñ. 13. Ñõåìà äâóñòîðîííåãî øëèôîâàíèÿ
ñâîáîäíûì àáðàçèâîì:
1 - система охлождения, 2,7 - шлифовальники,
3,6 - внутренняя и наружная шестерни,
4 - сепараторы , 5 - пластины
Ïî õàðàêòåðó âîçäåéñòâèÿ àáðàçèâà íà ïîëóïðîâîäíèêîâûå ïëàñòèíû ðàçëè÷àþò øëèôîâàíèå ñâîáîäíûì è ñâÿçàííûì àáðàçèâîì.  çàâèñèìîñòè îò çåðíèñòîñòè èñïîëüçóåìîãî àáðàçèâà, ðåæèìîâ îáðàáîòêè è êà÷åñòâà ïîëó÷åííîé ïîâåðõíîñòè ðàçëè÷àþò ïðåäâàðèòåëüíîå (÷åðíîâîå) è îêîí÷àòåëüíîå (÷èñòîâîå) øëèôîâàíèå.
Øëèôîâàíèå ñâîáîäíûì àáðàçèâîì îáëàäàåò ðÿäîì ïðåèìóùåñòâ, êîòîðûå îáóñëîâèëè øèðîêîå ïðîìûøëåííîå èñïîëüçîâàíèå ïðè èçãîòîâëåíèè ïîëóïðîâîäíèêîâûõ ïëàñòèí Îáðàáîòàíèêå ïëàñòèíû íå èìåþò íà ïîâåðõíîñòè çàìåòíûõ ñëåäîâ íàïðàâëåííîãî äâèæåíèÿ àáðàçèâà, èõ ñòîðîíû îòëè÷àþòñÿ ìàòîâûì îäíîðîäíûì áëåñêîì. Âîçìîæíîñòü ñàìîóñòàíàâëèâàíèÿ øëèôîâàëüíèêà è îáðàáàòûâàåìûõ ïëàñòèí îáåñïå÷èâàåò óëó÷øåíèå ãåîìåòðèè êàê ñàìèõ ïëàñòèí, òàê è øëèôîâàëüíèêà. Ïðè ñâîáîäíîé óêëàäêå ïëàñòèí (áåç æåñòêîãî êðåïëåíèÿ) îòñóòñòâóþò íàïðÿæåíèÿ â ïëàñòèíàõ, ñíèæàåòñÿ âëèÿíèå ïîãðåøíîñòåé èçãîòîâëåíèÿ è âèáðàöèé ñòàíêà íà òî÷íîñòü îáðàáîòêè.
Ñõåìà äâóñòîðîííåãî øëèôîâàíèÿ ïëàñòèí ñâîáîäíûì àáðàçèâîì ïîêàçàíà íà ðèñ. 13.Ïëàñòèíû 5 ïîìåùàþò â ñåïàðàòîðû 4, âûïîëíåííûå â âèäå ïëàñòèí ñ íàðóæíûì çóá÷àòûì âåíöîì. Çóáüÿ ñåïàðàòîðîâ âõîäÿò â çàöåïëåíèå ñ çóá÷àòûìè øåñòåðíÿìè 3 è 6. Âíóòðåííÿÿ øåñòåðíÿ 3 èìååò íàðóæíûé çóá÷àòûé âåíåö, à âíåøíÿÿ øåñòåðíÿ 6-âíóòðåííèé. Øåñòåðíè 3 è 6 ïðèâîäÿòñÿ âî âðàùåíèå è ÷åðåç çóá÷àòûå çàöåïëåíèÿ âðàùàþò ñåïàðàòîðû. Îäíîâðåìåííî ñåïàðàòîðû ïåðåìåùàþòñÿ âîêðóã îñè øëèôîâàëüíèêîâ 2, 7. Öåíòðû îòâåðñòèé â ñåïàðàòîðàõ íå ñîâïàäàþò ñ öåíòðàìè ñàìèõ ñåïàðàòîðîâ, ïîýòîìó ïðè èõ âðàùåíèè ïëàñòèíû ñîâåðøàþò äîïîëíèòåëüíîå äâèæåíèå âîêðóã öåíòðîâ ñåïàðàòîðîâ, ñïîñîáñòâóþùåå áîëåå ðàâíîìåðíîé îáðàáîòêå ïëàñòèí è ðàâíîìåðíîìó èçíîñó øëèôîâàëüíèêîâ. Íèæíèé øëèôîâàëüíèê 7 íåïîäâèæíî çàêðåïëåí íà ñòàíèíå ñòàíêà, à âåðõíèé øëèôîâàëüíèê 2 ñâîáîäíî óñòàíàâëèâàåòñÿ íà îáðàáàòûâàåìûõ ïëàñòèíàõ.
Ðàáî÷åå äàâëåíèå íà ïëàñòèíû ñîçäàåòñÿ ãèäðàâëè÷åñêèìè óñòðîéñòâàìè è ïåðåäàåòñÿ âåðõíèì øëèôîâàëüíèêîì. Ðàáî÷åå äàâëåíèå ïëàâíî ðåãóëèðóåòñÿ, ÷òî ïîçâîëÿåò îñóùåñòâëÿòü

Ðèñ. 14. Ôîðìà èçíîñà øëèôîâàëüíèêà â âèäå âîãíóòîñòè (à) èëè âûïóêëñ- ñòè (á) è åå âëèÿíèå íà ôîðìîîáðàçîâàíèå ïëàñòèí
íåïðåðûâíûé ïåðåõîä îò ÷åðíîâîãî øëèôîâàíèÿ ê ÷èñòîâîìó. ×àñòîòà âðàùåíèÿ øåñòåðåí òàêæå ïëàâíî ðåãóëèðóåòñÿ, èñêëþ÷àÿ òîë÷êè è óäàðû â ìîìåíòû çàïóñêà è îñòàíîâêè ñòàíêà, ÷òî âàæíî ïðè îáðàáîòêå ïîëóïðîâîäíèêîâ. Øëèôîâàëüíèêè ñíàáæåíû ñèñòåìàìè îõëàæäåíèÿ è êîíòðîëÿ òåìïåðàòóðû, ïîääåðæèâàþùèìè ñòàáèëüíûå óñëîâèÿ îáðàáîòêè. Ïîñòîÿíñòâî òåìïåðàòóðû â çîíå øëèôîâàíèÿ èñêëþ÷àåò íåæåëàòåëüíûå òåðìè÷åñêèå äåôîðìàöèè øëèôîâàëüíèêîâ, êîòîðûå ìîãóò ñíèçèòü òî÷íîñòü îáðàáîòêè, è ïîääåðæèâàåò îäèíàêîâóþ âÿçêîñòü àáðàçèâíîé ñóñïåíçèè âî âðåìåíè, ÷òî âàæíî äëÿ ïîääåðæàíèÿ ïîñòîÿííîé ñêîðîñòè îáðàáîòêè.
§ 8. Ñïîñîáû äîâîäêè ïîëóïðîâîäíèêîâûõ ïëàñòèí ïîëèðîâàíèåì
Ïîëèðîâàíèå ïîëóïðîâîäíèêîâûõ ïëàñòèí ïðîèçâîäÿò äëÿ óäàëåíèÿ ïðèïîâåðõíîñòíûõ ñòðóêòóðíî-äåôåêòíûõ ñëîåâ, îáðàçîâàâøèõñÿ ïðè ðåçêå è øëèôîâàíèè. Åñëè ïîëèðîâàíèå îâîäà? à ïîñëå õèìè÷åñêîãî òðàâëåíèÿ, òî îíî èñïðàâëÿåò äåôåêòû ãåîìåòðè÷åñêîé ôîðìû ïëàñòèí, âîçíèêàþùèå èç-çà íåðàâíîìåðíîñòè òðàâëåíèÿ. Ïî õàðàêòåðó ñúåìà ìàòåðèàëà ðàçëè÷àþò ìåõàíè÷åñêîå, õèìè÷åñêîå è õèìèêî-ìåõàíè÷åñêîå ïîëèðîâàíèå. ;
Ìåõàíè÷åñêîå ïîëèðîâàíèå îñóùåñòâëÿþò ñðåçàíèåì ìèêðîñêîïè÷åñêèõ ÷àñòèö â ðåçóëüòàòå âîçäåéñòâèÿ àáðàçèâíûõ, çåðåí íà îáðàáàòûâàåìóþ ïîâåðõíîñòü.  êà÷åñòâå àáðàçèâà èñïîëüçóþò ïîðîøêè ñèíòåòè÷åñêèõ è ïðèðîäíûõ àëìàçîâ, îêñèäîâ õðîìà, öåðèÿ è äð.
Õ è ì è ÷ å ñ ê î å ï î ë è ð î â à í è å îñóùåñòâëÿþò ïîãðóæåíèåì ïëàñòèí â ïîëèðóþùèé òðàâèòåëü. Äëÿ îáåñïå÷åíèÿ áîëüøåé ðàâíîìåðíîñòè ñúåìà ìàòåðèàëà ñî âñåé ïîâåðõíîñòè ïëàñòèí êàññåòû ñ ïëàñòèíàìè ïðèâîäÿòñÿ âî âðàùåíèå, â ðåçóëüòàòå ÷åãî ê íèì ïîñòîÿííî ïîäâîäèòñÿ ñâåæèé òðàâèòåëü (ðèñ. 15). Òðàâèòåëè, èñïîëüçóåìûå äëÿ ïîëèðîâàíèÿ ïëàñòèí, ìíîãîîáðàçíû ïî ñîñòàâó. Êðåìíèåâûå ïëàñòèíû òðàâÿò ïðåèìóùåñòâåííî â ñìåñÿõ àçîòíîé, ïëàâèêîâîé è óêñóñíîé êèñëîò, ïðèìåíÿÿ ðàçëè÷íûå ïðîïîðöèè êîìïîíåíòîâ.  ýòè ñìåñè ìîãóò äîáàâëÿòüñÿ âåùåñòâà, ñòàáèëèçèðóþùèå ñêîðîñòü òðàâëåíèÿ èëè æå êàòàëèçèðóþùèå åãî ðåàêöèè. Ñîåäèíåíèÿ À3Â5 òðàâÿò ÷àùå âñåãî â âîäíûõ ðàñòâîðàõ ïåðåêèñè âîäîðîäà è îäíîé èç êèñëîò, íàïðèìåð ñåðíîé, ïëàâèêîâîé, áðîìèñòîâîäîðîäíîé è äð. Êðîìå òîãî, õèìè÷åñêîå ïîëèðîâàíèå ìîæíî îñóùåñòâëÿòü â ãàçîâîé ñðåäå.

Рис. 15 Химическое полирование пластин:
держатель, 2 - кассета, 3 - полупроводниковые
ïëàñòèíû , 4 -ванна с травителем
õ è ì è ê î - ì å õ à í è ÷ å ñ ê î å ï î ë è ð î â à í è å îñóùåñòâëÿþò â ðåçóëüòàòå ñîâìåñòíîãî âîçäåéñòâèÿ õèìè÷åñêèõ è ìåõàíè÷êñêèõ ôàêòîðîâ.
Íàèáîëüøåå ðàñïðîñòðàíåíèå èç ðàçíîîáðàçíûõ ìåòîäîâ ìåõàíè÷åñêîãî ïîëèðîâàíèÿ ïîëó÷èëî ïîëèðîâàíèå àëìàçíèìè ïîðîøêàìè, êîòîðîå ïðîèçâîäÿò ñóñïåíçèÿìè èëè ïàñòàìè.  ìàçåîáðàçíîé îñíîâå ïàñòû ðàâíîìåðíî ðàñïðåäåëåí àëìàçíûé ïîðîøîê.  íåêîòîðûõ ñëó÷àÿõ â ïàñòó äîáàâëÿþò íàïîëíèòåëü.  çàâèñèìîñòè îò çåðíèñòîñòè àëìàçíîãî ïîðîøêà ïàñòó îêðàøèâàþò â ðàçëè÷íûå öâåòà.
§ 9. Î÷èñòêà ïîâåðõíîñòè ïîëóïðîâîäíèêîâûõ ïëàñòèí
Ïðîáëåìå î÷èñòêè ïîâåðõíîñòè ïîëóïðîâîäíèêîâûå ïëàñòèí óäåëÿåòñÿ áîëüøîå âíèìàíèå.  ìèêðîýëåêòðîííûõ ïðèàðàõ è ñõåìàõ âûñîêîé ñòåïåíè èíòåãðàöèè, ãäå ðàçìåð îòäåëüíîãî ýëåìåíòà ìîæåò áûòü ìåíüøå ðàçìåðà ïûëèíêè, âëèÿíèå çàãðÿçêíèÿ îñîáåííî îïàñíî. Ïðè èçãîòîâëåíèè áîëüøèõ èíòåãðàëüíûõ ñõåì ñíèæåíèå ïëîòíîñòåé äåôåêòîâ, âûçâàííûõ çàãðÿçíåíèÿìè ñ 8 äî 2 ñì-2, ïîçâîëÿåò ïîâûñèòü âûõîä ãîäíûõ èçäåëèé â 3-5 ðàç.
Çàãðÿçíåíèÿ, ñîäåðæàùèåñÿ íà ïîâåðõíîñòè ïëàñòèí, ìîæíî óñëîâíî ïîäðàðàçäåëèòü íà ñëåäóþùèå îñíîâíûå ãðóïïû.
Ò â å ð ä û å â ê ë þ ÷ å í è ÿ - çàãðÿçíåíèÿ ÷àñòèöàìè êðåìíèÿ èëè äðóãîãî ïîëóïðîâîäíèêîâîãî ìàòåðèàëà, êâàðöà, àáðàçèâà, ïûëüþ, ïî÷âîé, çîëîé, ïåïëîì è äð. Îíè ìîãóò ïîïàäàòü íà ïëàñòèíó â ïðîöåññå åå ìåõàíè÷åñêîé îáðàáîòêè, à òàêæå èç àòìîñôåðû. Ê ýòîìó æå òèïó çàãðÿçíåíèé ìîæíî îòíåñòè îòäåëüíûå íàòóðàëüíûå è ñèíòåòè÷åñêèå âîëîêíà, ïîïàäàþùèå íà ïëàñòèíû ñ ïîëèðîâàëüíèêîâ, òåõíè÷åñêèõ òêàíåé è ñïåöîäåæäû.
Îðãàíè÷åñêèå ïëåíêè îáðàçóþòñÿ íà ïëàñòèíàõ ïðàêòè÷åñêè âñåõ ñòàäèÿõ èçãîòîâëåíèÿ ïðèáîðîâ. Èõ îáðàçóþò ìàñëà îò ìàøèííîé îáðàáîòêè, îòïå÷àòêè ïàëüöåâ, æèðû, âîñêè è ñìîëû, èñïîëüçóåìûå äëÿ êðåïëåíèÿ ñëèòêîâ è ïëàñòèí ïðè îáðàáîòêå, îñòàòêè ôîòîðåçèñòîâ, ïîâåðõíîñòíî-àêòèâíûå âåùåñòâà.
Èîííûå çàãðÿçíåíèÿ îáðàçóþòñÿ íà ïîâåðõíîñòè ïîñëå îáðàáîòêè â âîäíûõ ðàñòâîðàõ, ñîäåðæàùèõ äèññîöèèðîâàííûå íà èîíû ñîåäèíåíèÿ. Òàê, øèðîêî ïðèìåíÿåìûå ðàñòâîðû ïëàâèêîâîé êèñëîòû è ùåëî÷åé ìîãóò çàãðÿçíÿòü ïîâåðõíîñòü èîíàìè ôòîðà, ãàëèÿ, íàòðèÿ. Èîííûå çàãðÿçíåíèÿ ìîãóò òàêæå âîçíèêàòü íà ïîâåòõíîñòè â ðåçóëüòàòå ïîïàäàíèÿ ïðîäóêòîâ äûõàíèÿ, ïîòà (õëîðèä íàòðèÿ).
Àòîìíûå çàãðÿçíåíèÿ-ýòî àòîìû òÿæåëûõ ìåòàëëîâ (çîëîòà, ñåðåáðà, ìåäè, îëîâà), êîòîðûå ÷àùå âñåãî îñòàþòñÿ íà ïëàñòèíàõ â ðåçóëüòàòå âîññòàíîâëåíèÿ èç ðàñòâîðîâ. Ìåòàëëû ìîãóò òàêæå âíîñèòüñÿ ïîðîøêàìè è îòõîäàìè ìàøèííîé îáðàáîòêè, ïèíöåòàìè, ÷àñòèöàìè ìåòàëëè÷åñêèõ áàíîê äëÿ õðàíåíèÿ è äð.
Íàèáîëåå ðàñïðîñòðàíåííûìè ñïîñîáàìè óäàëåíèÿ çàãðÿçíåíèé ÿâëÿþòñÿ: ðàñòâîðåíèå çàãðÿçíåíèé â âåùåñòâå; ïðåâðàùåíèå çàãðÿçíåíèé â ðàñòâîðèìûå ïðîäóêòû â ðåçóëüòàòå õèìè÷åñêîé ðåàêöèè è ïîñëåäóþùèé èõ ñìûâ; ìåõàíè÷åñêàÿ î÷èñòêà ïîòîêîì æèäêîñòè ¸èëè ãàçà; ãàçîïëàçìåííîå òðàâëåíèå.
Òâåðäûå ÷àñòèöû, îñåäàþùèå íà ïîâåðõíîñòè ïîëóïðîâîäíèêîâûõ ïëàñòèí, ïîñëå ðåçêè, øëèôîâàíèÿ, ñêðàéáèðîâàíèÿ óäàëÿþò ìÿãêèìè êèñòÿìè ñ ïîìîùüþ ìîþùèõ ñðåäñòâ. Òàêîé ñïîñîá î÷èñòêè íàçûâàåòñÿ ñêðóááèðîâàíèåì. Êèñòè èçãîòîâëÿþò èç áåëè÷üåãî èëè êîëîíêîâîãî ìåõà, ìîõåðà, íåéëîíà è äð. Ïðîöåññ ñêðóááèðîâàíèÿ ïðîèñõîäèò ñëåäóþùèì îáðàçîì. Íà âðàùàþùèéñÿ ðàáî÷èé ñòîë ïîìåùàþò êàññåòó ñ ïëàñòèíàìè, ïîäàþò äåèîíèçîâàííóþ âîäó è ùåòêàìè íà÷èíàþò îáðàáàòûâàòü ïîâåðõíîñòü ïëàñòèí. Çàòåì ïîäàþò âîäó ñ äîáàâëåíèåì ìîþùåãî âåùåñòâà, ñïîñîáñòâóþùåãî îòäåëåíèþ îò ïîâåðõíîñòè ïëàñòèí òâåðäûõ ÷àñòèö. Ïîñëå îáðàáîòêè ðàñòâîðîì ìîþùåãî âåùåñòâà ñíîâà îòìûâàþò ïîâåðõíîñòè ïëàñòèí äåèîíèçîâàííîé âîäîé è ñóøàò ïëàñòèíû öåíòðèôóãèðîâàíèåì.
Íåäîñòàòîê ñêðóááèðîâàíèÿ çàêëþ÷àåòñÿ â òîì, ÷òî ùåòêè íå ìîãóò ïðîíèêàòü â óãëóáëåíèÿ è íåðîâíîñòè ìèêðîííûõ ðàçìåðîâ. Ïîýòîìó íàèáîëüøåå ðàñïðîñòðàíåíèå ïîëó÷èë ñïîñîá î÷èñòêè, ñî÷åòàþùèé îòìûâêó êèñòÿìè è ïðîìûâêó ñòðóåé ðàñòâîðèòåëÿ èëè äåèîíèçîâàííîé âîäû. Äàâëåíèå æèäêîñòè â ñòðóå ðåãóëèðóåòñÿ è äîñòèãàåò 3*107 Ïà.
Îðãàíè÷åñêèå ïëåíêè ñ ïîâåðõíîñòè ïëàñòèí óäàëÿþò ñ ïîìîùüþ îðãàíè÷åñêèõ ðàñòâîðèòåëåé: òðèõëîðýòèëåíà, õëîðèñòîãî ìåòèëåíà, õëàäîíà, òîëóîëà, êñèëîëà, ìåòèëîâîãî, ýòèëîâîãî èëè èçîïðîïèëîâîãî ñïèðòà, àöåòîíà, óàéò-ñïèðèòà è äð. Ïëàñòèíû îáðàáàòûâàþò â æèäêîì ðàñòâîðèòåëå ëèáî â åãî ïàðàõ. Âîçìîæíî òàêæå ñî÷åòàíèå ïàðîâîé è æèäêîñòíîé îáðàáîòîê. ×àñòî ðàñòâîðèòåëü äîâîäÿò äî êèïåíèÿ, ïîñëå ÷åãî ïðîèçâîäÿò î÷èñòêó. Øèðîêî èñïîëüçóþò óëüòðàçâóêîâóþ î÷èñòêó ïëàñòèí â îðãàíè÷åñêèõ ðàñòâîðèòåëÿõ. Ïðè òàêîì ñïîñîáå î÷èñòêè â âàííó ñ ðàñòâîðèòåëåì ïîìåùàþò èçëó÷àòåëè óëüòðàçâóêîâûõ êîëåáàíèé, ïîä äåéñòâèåì êîòîðûõ â æèäêîñòÿõ îáðàçóþòñÿ ìåëü÷àéøèå ïóçûðüêè, îáëàäàþùèå âûñîêîé ïðîíèêàþùåé ñïîñîáíîñòüþ è ñïîñîáñòâóþùèå îòäåëåíèþ çàãðÿçíåíèé îò ïîâåðõíîñòè.
Ââèäó òîêñè÷íîñòè îðãàíè÷åñêèõ ðàñòâîðèòåëåé øèðîêîå ïðèìåíåíèå íàõîäÿò âîäíûå ìîþùèå ðàñòâîðû. Ðàñòâîðûùåëî÷åé ðàçëàãàþò ðàñòèòåëüíûå è æèâîòíûå æèðû ïðè 80-100°Ñ, ïðè÷åì ïðîäóêòû ðàçëîæåíèÿ ëåãêî ðàñòâîðÿþòñÿ è ñìûâàþòñÿ âîäîé. Ìèíåðàëüíûå ìàñëà óäàëÿþò 0.5-1.0 %-íûìè ðàñòâîðàìè ïîâåðõîñòíî-àêòèâíûõ âåùåñòâ.
Àòîìíûå è èîííûå çàãðÿçíåíèÿ, êàê ïðàâèëî, óäàëÿþò ïðîìûâêîé â êèñëîòàõ è äåèîíèçîâàííîé âîäå. Ïðîììâêà â êèñëîòàõ ïîçâîëÿåò óäàëèòü àäñîðáèðîâàííûå èîíû ìåòàëëîâ è ðàñòâîðèòü îêñèäíûå ïëåíêè íà ïîâåðõíîñòè ïîëóïðîâîäíèêîâ. ×àùå âñåãî èñïîëüçóþò àçîòíóþ, ïëàâèêîâóþ, ñåðíóþ, ñîëÿíóþ, óêñóñíóþ è ôîñôîðíóþ êèñëîòû. Ïðîöåññ îòìûâêè ïîëóïðîâîäíèêîâûõ ïëàñòèí äåèîíèçîâàííîé âîäîé âåäóò, ïîñòîÿííî èçìåðÿÿ ýëåêòðè÷åñêîå ñîïðîòèâëåíèå âîäû. Ïî ìåðå ñíèæåíèÿ êîíöåíòðàöèè ïðèìåñåé ñîïðîòèâëåíèå âîäû ïîñòåïåííî ïîâûøàåòñÿ. Ïðè óñòàíîâëåíèè ïîñòîÿííîãî ñîïðîòèâëåíèÿ âîäû ïðîöåññ îòìûâêè ñ÷èòàåòñÿ çàêîí÷åííûì.
Êðîìå êèñëîò äëÿ óäàëåíèÿ èîííûõ çàãðÿçíåíèé èñïîëüçóþò âîäíûå ðàñòâîðû, ñîäåðæàùèå ïåðåêèñü âîäîðîäà è àììèàê. Îáðàáîòêó òàêèìè ðàñòâîðàìè âåäóò â òå÷åíèå 10-20 ìèí ïðè 75- 80 Ñ.
Ïîñëå îòìûâêè ïëàñòèí â æèäêîñòè èõ íåîáõîäèìî ïðîñóøèòü. Îáû÷íî ïîñëå îáðàáîòêè â âîäíûõ ðàñòâîðàõ ïëàñòèíû îáðàáàòûâàþò â îðãàíè÷åñêèõ ðàñòâîðèòåëÿõ, êîòîðûå ëåã÷å è íàäåæíåå î÷èùàþòñÿ îò ïðèìåñåé, ÷åì âîäà. Ïîýòîìó ñóøêó ëó÷øå ïðîèçâîäèòü ïîñëå ôèíèøíîé îòìûâêè, íàïðèìåð, â àöåòîíå èëè ýòèëîâîì ñïèðòå. Ñóøêó íàãðåâîì â òåðìîñòàòàõ èëè ïîä èíôðàêðàñíûìè ëàìïàìè ïðèìåíÿþò â òîì ñëó÷àå, êîãäà ê ïîâåðõíîñòè ïðåäúÿâëÿþò ñðàâíèòåëüíî íèçêèå òðåáîâàíèÿ, òàê êàê ïðè èñïàðåíèè ñ ïîâåðõíîñòè ïëàñòèí íà íèõ îñòàþòñÿ ðàñòâîðåííûå â ïëåíêå æèäêîñòè ïðèìåñè. Áîëåå êà÷åñòâåííóþ ñóøêó ïëàñòèí ïðîèçâîäÿò öåíòðèôóãèðîâàíèåì èëè îáäóâîì ãîðÿ÷èì î÷èùåííûì ãàçîì.  ýòèõ ñëó÷àÿõ çíà÷èòåëüíàÿ ÷àñòü æèäêîñòè ñäóâàåòñÿ ñ ïîâåðõíîñòè ïëàñòèí âìåñòå ñ ðàñòâîðåííûìè â íåé ïðèìåñÿìè.
Ïëàçìåííîå òðàâëåíèå, îòíîñÿùååñÿ ê òàê íàçûâàåìûì “ñóõèì” cïîñîáàì î÷èñòêè, ïðîâîäÿò ÷àùå âñåãî â ïëàçìå êèñëîðîäà, êîòîðàÿ ïåðåâîäèò ïîâåðõíîñòíûå çàãðÿçíåíèÿ â ëåòó÷èå êîìïîíåíòû.
Âàæíîé ÿâëÿåòñÿ îïåðàöèÿ êîíòðîëÿ ÷èñòîòû ïîâåðõíîñòè ïëàñòèí, ïîñêîëüêó òîëüêî îíà ìîæåò ïîêàçàòü, íàñêîëüêî ýôôåêòèâíû ïðîöåññû î÷èñòêè è ïðèãîäíû î÷èùåííûå ïëàñòèíû ê ïåðåäà÷å äëÿ èçãîòîâëåíèÿ ïðèáîðîâ.
Îñíîâíûìè ìåòîäàìè êîíòðîëÿ ÷èñòîòû ïîâåðõíîñòè ÿâëÿþòñÿ: ìåòîäû, îñíîâàííûå íà èçìåíåíèè åå ñìà÷èâàåìîñòè, ìèêðîñêîïè÷åñêèå, ôîòîìåòðè÷åñêèå è ñïåêòðàëüíûå.
Ïðè îêóíàíèè ïëàñòèíû â äåèîíèçîâàííóþâîäó èëè ðàñïûëåíèè âîäû íà âëàæíóþ ïîâåðõíîñòü ïëàñòèíû íà çàãðÿçíåííûõ ó÷àñòêàõ íå îáðàçóåòñÿ ðàâíîìåðíîãî ñëîÿ âîäû. Ìåòîäû, îñíîâàííûå íà èçìåíåíèè ñìà÷èâàåìîñòè, ïðîñòû, íàãëÿäíû, íî íåäîñòàòî÷íî ÷óâñòâèòåëüíû.
Ìèêðîñêîïè÷åñêèå ìåòîäû îñíîâàíû íà íàáëþäåíèè ïîâåðõíîñòè â ñâåòëîì èëè òåìíîì ïîëå îïòè÷åñêîãî ìèêðîñêîïà, à òàêæå ñ ïîìîùüþ ýëåêòðîííîãî ìèêðîñêîïà. Ïðè íàáëþäåíèè â òåìíîì ïîëå èñïîëüçóåòñÿ êîñîå îñâåùåíèå, èñêëþ÷àþùåå ïîïàäàíèå â îáúåêòèâ çåðêàëüíî îòðàæåííûõ îò ïîâåðõíîñòè ëó÷åé.  ýòîì ñëó÷àå âûÿâëÿþòñÿ îñòàòêè îðãàíè÷åñêèõ ðàñòâîðèòåëåé, êîòîðûå îáðàçóþò õàðàêòåðíûå óçîðû. óçîðû. Çàãðÿçíåíèÿ è äåôåêòû íà ïîâåðõíîñòè ïîëèðîâàííûõ ïëàñòèí àñòèí íàáëþäàþòñÿ â âèäå ñâåòÿùèõñÿ òî÷åê. Èõ ïîäñ÷åò íà åäèíèöå ïëîùàäè ïëàñòèíû âåäóò ïðè óâåëè÷åíèè â 50-400 ðàç.
Ôîòîìåòðè÷åñêèå, ñïåêòðàëüíûå, à òàêæå äðóãèå ìåòîäû êîíòðîëÿ- ÷èñòîòû ïîâåðõíîñòè ïîëóïðîâîäíèêîâûõ ïëàñòèí â ïðîéûøëåííîñòè øèðîêîãî ðàñïðîñòðàíåíèÿ íå ïîëó÷èëè. Äëÿ îáåñïå÷åíèÿ òðåáóåìîé ÷èñòîòû ïîâåðõíîñòè ïîëóïðîâîäíèêîâûõ ïëàñòèí (êðîìå ïðîöåññîâ î÷èñòêè) â ìàñøòàáàõ ïðåäïðèÿòèÿ îñóùåñòâëÿåòñÿ öåëûé ðÿä îðãàíèçàöèîííûõ è ñàíèòàðíî-ãèãèåíè÷åñêèõ ìåðîïðèÿòèé. Îáÿçàòåëüíûì óñëîâèåì ïîëó÷åíèÿ êà÷åñòâåííûõ ïëàñòèí ÿâëÿåòñÿ ïðîâåäåíèå êàæäîé îïåðàöèè íà èçîëèðîâàíííûõ äðóã îò äðóãà ïðîèçâîäñòâåííûõ ó÷àñòêàõ. Ýòî èñêëþ÷àåò ïîïàäàíèå áîëåå êðóïíûõ àáðàçèâîâ ñ îïåðàöèé ãðóáûõ ïðåäâàðèòåëüíûõ îáðàáîòîê â ïîìåùåíèÿ, ãäå îñóùåñòâëÿåòñÿ äîâîäêà. Öåëåñëëáðàçíî òàêæå âíóòðè ó÷àñòêà çàêðåïëÿòü êîíêðåòíîå îáîðóäîâàíèå çà îïåðàöèÿìè, îòëè÷àþùèìèñÿ ñîñòàâîì èñïîëüçóåìûõ ñóñïåíçèé.
Ó÷àñòêè ïî èçãîòîâëåíèþ ïëàñòèí ðàñïîëàãàþòñÿ â ïîìåùåíèÿõ, îòâå÷àþùèõ òðåáîâàíèÿì ïåðâîé êàòåãîðèè âàêóóìíîé ãèãèåíû, ñîãëàñíî êîòîðûì â 1 ë âîçäóõà íå äîïóñêàåòñÿ ïðèñóòñòâèå áîëåå 70 ÷àñòèö êðóïíåå 1 ìêì.  ýòèõ ïîìåùåíèÿõ ñîçäàþò çàùèòíûå ãîðèçîíòàëüíûå ëàìèíàðíûå ïîòîêè î÷èùåííîãî âîçäóõà, êîòîðûå ïðåïÿòñòâóþò ïîïàäàíèþ èíîðîäíûõ ÷àñòèö â ðàáî÷èå çîíû îáîðóäîâàíèÿ  êà÷åñòâå äîïîëíèòåëüíîé ìåðû, ïðåïÿòñòâóþùåé ïîïàäàíèþ ÷àñòèö, èç âîçäóõà íà ïîëèðîâàëüíèêè ñòàíêîâ ôèíèøíîãî è ñóïåðôèíèøíîãî ïîëèðîâàíèÿ, óñòàíàâëèâàþò ñïåöèàëüíûå çàùèòíûå êîëïàêè èç ïðîçðà÷íîãî ïëàñòèêà. Ðàáî÷èé ïåðñîíàë ýòèõ ó÷àñòêîâ îáåñïå÷èâàåòñÿ ñïåöîäåæäîé è ñïåöîáóâüþ, ñîçäàþùåé ìèíèìàëüíîå êîëè÷åñòâî çàãðÿçíåíèé. Êðîìå òîãî, îãðàíè÷èâàåòñÿ èñïîëüçîâàíèå ðàáîòíèêàìè êîñìåòè÷åñêèõ ñðåäñòâ.
-