Поляризационные приборы
Московский ордена
Ленина, ордена Октябрьской
Революции
и ордена Трудового Красного Знамени
ГОСУДАРСТВЕННЫЙ ТЕХНИЧЕСКИЙ
УНИВЕРСИТЕТ
имени Н.Э.Баумана.
________________________________________________
Факультет РЛ
Кафедра РЛ3
Реферат
по
дисциплине
"Поляризационные
приборы"
студентки
Сальниковой Любови Юрьевны
группа РЛ 3-101.
Преподаватель
Зубарев Вячеслав Евгеньевич
Введение
Поляризационные приборы основаны на явлении поляризации света и предназначены для получения поляризованного света и изучения тех или иных процессов, происходящих в поляризованных лучах.
Поляризационные приборы широко применяют в кристаллографии и петрографии для исследования свойств кристаллов; в оптической промышленности для определения напряжений в стекле; в машиностроении и приборостроении для изучения методом фотоупругости напряжений в деталях машин и сооружений; в медицине; в химической, пищевой, фармацевтической промышленности для определения концентрации растворов. Поляризационные приборы получили распространение также для изучения ряда явлений в электрическом и магнитном поле.
Приборы для определения внутренних натяжений
Т-образные установки МИСИ
Т-образные установки МИСИ предназначаются для изучения деформации методом оптически чувствительных покрытий.
В полярископах Т-образного вида (рис. 1) свет от источника 1 проходит поляризатор 2, отражается от полупрозрачного зеркала 3, проходит оптически чувствительное покрытие 4 и, отразившись от поверхности образца 5, входит в анализаторную часть установки. Она содержит анализатор 8, сменные компенсатор 6 и пластинку, 7 в 1/4 волны и экран полярископа 9.
Рис. 1. Схема
Т-образного полярископа
В соответствии со схемой, представленной на рис. 1, разработана Т-образная установка (рис. 2), получившая наименование отражательного полярископа.
Рис. 2. Отражательный полярископ МИСИ по Т-образной схеме.Источник света 1 (лампа ДРШ-250) с помощью конденсора 2 проецируется на диафрагму 4 (диаметр отверстия 2 мм), помещенную в фокусе объектива 8.
Для снижения влияния инфракрасной радиации источника в схему введен теплофильтр 3. Расходящийся плоскополяризованный световой поток после диафрагмы 4 проходит поляризатор 5, пластинку 6 в 1/4 волны, светофильтр 7 и попадает на объектив 8 (фокусное расстояние 300 мм). После объектива свет параллельным пучком проходит две полупрозрачные пластины 9 и 10, оптически чувствительное покрытие 11 и попадает на образец 12. После отражения в обратном ходе свет попадает в анализаторную часть установки, где объективом 13 фокусируется на диафрагму 16. Поляризационная картина после дополнительного светофильтра 14 и анализатора 15 рассматривается на экране полярископа l7.
Рис. 3. Схема V-образного полярископа
К установкам данного типа относятся также отражательный полярископ OП-2, переносный малогабаритный полярископ ОП-3 и др.V-образные полярископы
V-образные полярископы используются для тех же целей, что и Т-образные. В полярископах V-образного вида (рис. 3) естественный монохроматический свет от источника 1 проходит поляризатор 2, становясь при этом плоскополяризованным. Проходя пластинку 3 в 1/4 волны и оптически чувствительное покрытие 4, свет отражается от объекта исследования 5 (от пластически деформируемого образца), проходит вторую пластинку 6 в 1/4 волны, анализатор 7 и образует изохроматическую картину на экране полярископа 8.
Для получения картины хорошего качества варьируется толщина покрытия 4 (в пределах 0,5 — 1,5 мм и угол a между оптическими осями поляризаторной и анализаторной части (в пределах 6°¸15°)
Рис. 4. Схема кругового
поляриметра СМ
Приборы для определения угла поворота плоскости поляризации
Круговой поляриметр СМ
Круговой поляриметр СМ (рис. 4) предназначен для определения угла поворота плоскости поляризации в жидких оптически активных веществах.
Осветитель 1 (лампа накаливания или натриевая лампа ДНаО140) устанавливается в фокальной плоскости оптической системы 8. В конструкции узла осветителя предусмотрены подвижки для установки нити накала лампы на оптической оси. При работе с лампой накаливания перед оптической системой 3 вводится желтый светофильтр 2. Параллельный монохроматический пучок лучей, выходящий из системы 3, проходит через поляризатор 4 (поляроид, заклеенный между двумя стеклами), кварцевую пластинку 5, создающую совместно с поляроидом полутеневую картину с тройным полем зрения, и кварцевую кювету 6 с исследуемым раствором. Обычно длина кюветы выбирается такой, чтобы концентрации 10-3 кг/см3 соответствовал угол поворота плоскости поляризации y = 1°.
После кюветы расположен анализатор 7, аналогичный поляризатору 4, и телескопическая система, состоящая из объектива 10 и окуляра 11, через который ведется наблюдение при уравнивании освещенностей частей поля зрения.
Отсчет осуществляется по градусной шкале 8 неподвижного лимба (с оцифровкой от 0° до 360°) с помощью двух диаметрально противоположных нониусов 9 (шкалы нониусов имеют по 20 делений; цена одного деления 0,05°). Из показаний двух нониусов берут среднее значение (для учета эксцентриситета лимба). Отсчет снимается при наблюдении лимба и нониуса через лупы 12.
Автоматический спектрополяриметр
Рис. 5. Схема автоматического спектрополяриметраАвтоматический спектрополяриметр (рис. 5) предназначен для измерения угла поворота плоскости поляризации в диапазоне длин волн 0,24¸0,60 мкм.
Источник света 1 сменный — лампа накаливания при работе в видимой части спектра и ртутная лампа сверхвысокого давления для измерения в ультрафиолетовой области. Излучение от лампы 1 проходит через двойной монохроматор 2 (с зеркальной оптикой и кварцевыми призмами), попадает на электромеханический поляризатор-модулятор 4, проходит исследуемый образец 5, анализатор 6 и попадает на фотоумножитель 7.
В зависимости от угла между направлениями колебаний, пропускаемых поляризатором и анализатором, меняется частота переменной составляющей потока, попадающего на фотоумножитель.
Сигнал, преобразованный в электрический и усиленный в усилителе 8, питает управляющую обмотку реверсного двигателя, который через редуктор вращает анализатор 6 до тех пор, пока из сигнала не исчезнет первая гармоника. Вращение анализатора регистрируется на самописец 3, связанном передающим устройством со шкалой длин волн монохроматора.
С помощью описанного прибора измеряется вращательная дисперсия образцов с поглощением до 80%. Предел измеряемых углов вращения ±2°.
Список использованной литературы
Лабораторные оптические приборы: Учебное пособие для приборостроительных и машиностроительных ВУЗов. Г. И. Федотов, Р. С. Ильин, Л. А. Новицкий, В. Е. Зубарев, А. С. Гоменюк.
Оглавление
Введение 3
Приборы для определения внутренних натяжений 3
Т-образные установки МИСИ 3
V-образные полярископы 6
Приборы для определения угла поворота плоскости поляризации 8
Круговой поляриметр СМ 8
Автоматический спектрополяриметр 9
Список использованной литературы 11
Оглавление 11
Московский ордена
Ленина, ордена Октябрьской
Революции
и ордена Трудового Красного Знамени
ГОСУДАРСТВЕННЫЙ ТЕХНИЧЕСКИЙ
УНИВЕРСИТЕТ
имени Н.Э.Баумана.
________________________________________________
Факультет РЛ
Кафедра РЛ3
Реферат
по
дисциплине
"Поляризационные
приборы"
студента
Майорова Павла Леонидовича
группа РЛ 3-101.
Преподаватель
Зубарев Вячеслав Евгеньевич
Введение
Поляризационные приборы основаны на явлении поляризации света и предназначены для получения поляризованного света и изучения тех или иных процессов, происходящих в поляризованных лучах.
Поляризационные приборы широко применяют в кристаллографии и петрографии для исследования свойств кристаллов; в оптической промышленности для определения напряжений в стекле; в машиностроении и приборостроении для изучения методом фотоупругости напряжений в деталях машин и сооружений; в медицине; в химической, пищевой, фармацевтической промышленности для определения концентрации растворов. Поляризационные приборы получили распространение также для изучения ряда явлений в электрическом и магнитном поле.
Приборы для определения внутренних натяжений
Большая поляризационная установка
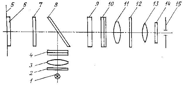
Большая поляризационная установка (рис. 1) предназначена для исследования напряжений в прозрачных моделях деталей машин и сооружений.
Источник света 1 (кинопроекционная лампа К12 или ртутная лампа СВДШ-250) размещен в фокальной плоскости конденсора 2 (фокусное расстояние 180 мм). Параллельный пучок лучей после конденсора проходит через светофильтр 3, поляризатор 4 (поляроид, вклеенный между защитными стеклами), слюдяную пластинку 5 в 1/4 волны и падает на исследуемый образец 6.
Рис. 1. Схема большой
поляризационной установки
Интерференционную картину наблюдают через защитное стекло 14 и зеркало 16. Ее можно также проецировать с большим увеличением на экране 13.
Поляризатор, анализатор и пластинки в 1/4 волны вращаются в пределах 0¸90°; угол поворота отсчитывается по шкале с ценой деления 1°. Пластинки в 1/4 волны можно выводить из оптической схемы.
Конструктивно прибор выполнен в виде отдельных узлов: осветитель, в котором смонтированы детали 1—5; нагрузочное устройство, включающее образец 6; фотокамера, содержащая затвор с диафрагмой 10 и оптические детали 7—9 и 11—16, рассчитанная на фотопластинки размером 13´18 м.
Значительное усовершенствование процесса поляризационных измерений и повышение точности достигается при использовании объективных методов измерения. В качестве примеров приборов такого типа рассмотрим схему фотоэлектрического поляриметра.
Фотоэлектрический модуляционный поляриметр
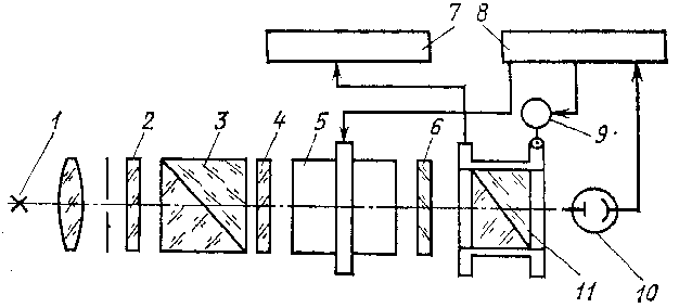
Фотоэлектрический модуляционный поляриметр (рис. 2) позволяет измерять в исследуемом объекте разность фаз лучей о и е, меняющуюся во времени.
Лучистый поток от ртутной лампы 1 сверхвысокого давления проходит через иитерференционный светофильтр 2 (с максимумом пропускания при l=0,436 мкм и l=0,546 мкм), поляризатор 3 и исследуемый объект 4, ориентированный так, что направления колебаний в лучах о и е составляют углы p/4 с направлением колебаний в луче, вышедшем из поляризатора. Выходящий из объекта 4 эллиптически поляризованный свет попадает на пластину 5, изготовленную из кристалла ADP1, вырезанную так, что ее плоскости перпендикулярны оптической оси.
Рис. 2. Схема
фотоэлектрического модуляционного
поляриметра
Самописец 7 фиксирует углы поворота анализатора, причем измеряемая разность фаз равна удвоенному углу поворота анализатора.
Погрешность измерения составляет в среднем приблизительно 20'.0
Полярископ-поляриметр ПКС-56
Полярископ-поляриметр ПКС-56 (рис. 3) служит для измерения двойного лучепреломления в стекле. Он состоит из источника света 1 (лампа накаливания), матового стекла 2, поляризатора 3 (поляроид, вклеенный между стеклами), пластинки 5 в 1/4 волны, анализатора 6 (аналогичного поляризатору 3) и светофильтра 7 (на длину волны 0,54 мкм).
Рис. 3. Схема полярископа-поляриметра ПКС-56Порядок измерения на приборе следующий: скрещивают поляризатор и анализатор (отсчет по лимбу анализатора 0°, поле зрения темное); устанавливают образец 4 (если он обладает двойным лучепреломлением, то в поле зрения наблюдается просветление); поворачивают анализатор до максимального потемнения в середине образца; по лимбу отсчитывают угол поворота Db анализатора.
Зная Db,
можно определить
из соотношения

где l — толщина образца в направлении просмотра.
При l=10
мм погрешность измерения
составляет ±3×10-7.
С увеличением l
погрешность уменьшается.
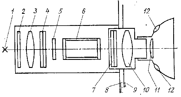
Переносный малогабаритный
поляриметр
ИГ-86
Рис. 4. Переносный
малогабаритный поляриметр ИГ-86
Источник света 1 (лампа СЦ-61) размещен в фокусе объектива 3. Защитные стекла 2, 7 и 12 предохраняют прибор от попадания в него загрязнений. Параллельный пучок лучей проходит поляризационный светофильтр (поляризатор 4), полупрозрачное зеркало 8 и, отразившись от светоделительного слоя, падает на оптически чувствительное покрытие 6, нанесенное на исследуемый объект 5. После отражения от покрытия свет попадает в анализаторный узел прибора, проходит компенсатор 9, анализатор 10 (аналогичный поляризатору 4) и попадает в зрительную трубу (сменное увеличение 2 и 10´) со шкалой в совмещенной фокальной плоскости объектива 11 и окуляра 13. Перед глазной линзой окуляра и выходным зрачком 15 устанавливается светофильтр 14. Такая оптическая схема получила наименование Т-образной схемы.
Предел измерения оптической разности хода — от 0 до 5 интерференционных порядков. Погрешность измерения — 0,05 интерференционных порядков.
Габариты прибора 400´400´800 мм; масса около 2 кг.
Список использованной литературы
Лабораторные оптические приборы: Учебное пособие для приборостроительных и машиностроительных ВУЗов. Г. И. Федотов, Р. С. Ильин, Л. А. Новицкий, В. Е. Зубарев, А. С. Гоменюк.
Оглавление
Введение 3
Приборы для определения внутренних натяжений 3
Большая поляризационная установка 3
Фотоэлектрический модуляционный поляриметр 5
Полярископ-поляриметр ПКС-56 8
Переносный
малогабаритный поляриметр
ИГ-86 9
Список использованной литературы 11
Оглавление 11
1 Кристалл ADP — искусственный одноосный кристалл дигидрофосфата аммония (NH>4>H>2>PO>4>).