Проект механосборочного участка изготовления крана вспомогательного тормоза локомотива 172
Отзыв
От руководителя проекта дипломного проекта студента Тулаева Петра Алексеевича на тему «проект механосборочного участка изготовления крана вспомогательного тормоза локомотива 172»
В дипломном проекте Тулаева Петра Алексеевича изложен технологический процесс изготовления крана вспомогательного тормоза локомотива 172. Данная задача разделена на следующие подразделы:
разработка технологического процесса сборки крана вспомогательного тормоза локомотива 172;
разработка технологического процесса изготовления корпуса 172.001;
проектирование технологической оснастки (станочное приспособление на операцию 005 токарная с ЧПУ);
проектирование участка механосборочного цеха по изготовлению корпуса 172.001;
исследовательская часть;
экономическая часть.
Вышеперечисленные задачи были выполнены в полном объёме. Предложен усовершенствованный вариант технологического процесса изготовления корпуса 172.001.
В исследовательской части на основе соответствующих расчётов была предложена возможность изменения конструкции крана вспомогательного тормоза локомотива 172.
Во время выполнения дипломного проекта Тулаев Петр Алексеевич проявил себя дисциплинированным, трудолюбивым, ответственным способным решать инженерные задачи соответствующего уровня.
В целом дипломный проект Тулаева Петра Алексеевича заслуживает отличную оценку, а автор присвоения квалификации инженера-механика.
Руководитель проекта
К.Т.Н. Доцент ПИРТАХИЯ А.Л.
______________
« » июня 2004 г.
Уважаемые члены Государственной Экзаменационной Комиссии на Ваше рассмотрение выносится законченный дипломный проект на соискание квалификации инженера-механика на тему «проект механосборочного участка изготовления крана вспомогательного тормоза локомотива 172».
Задачей дипломного проекта является:
разработка Т.П. сборки узла (крана вспомогательного тормоза локомотива 172);
разработка Т.П. изготовления корпуса 172.001;
проектирование технологической оснастки;
планировка участка механосборочного цеха;
экономическая часть.
На первом плакате предложен размерный анализ (рассказать принцип работы) была построена размерная цепь на одно из технических требований - обеспечить линейный размер пружины находящейся в сжатом состоянии равный 15мм. с допуском ±0,5мм.
Точность указанного замыкающего звена обеспечивается методом полной взаимозаменяемости.
В результате расчёта была составлена таблица допусков и отклонений на соответствующие звенья размерной цепи. (указать на таблицу).
В результате разработки Т.П. сборки узла предложена схема его сборки.
Т.П. изготовления детали начинается с изучения её служебного назначения.
Чертёж данного корпуса представлен на плакате №2. он служит для базирования деталей входящих в состав корпуса 172.010 и кулачка 172.080, а также для обеспечения герметичности всего узла. И является базовой деталью всего крана.
Заготовка получается путём литья в кокиль (указать на чертёж заготовки).
Обработка большинства поверхностей на первой операции в том числе и ответственных, осуществляется с одной установки. Это реализуется благодаря конструкции двухкулачкового гидравлического патрона с самоцентрирующимися кулачками.
Технологическими базами для данной установки являются:
1,2,3 - установочная база. Реализуется самоцентрирующимися кулачками.
4,5 - направляющая база. Через которую осуществляется центрирование заготовки.
6 - опорная база. Так как литьё осуществляется по 9-му классу точности, то опорная база реализуется посредством зажима на заготовке.
Был разработан маршрутный технологический процесс изготовления детали. Он предложен на листе №3.
Т.П. состоит из 11ти операций.
На => двух листах предложена схема технических наладок на операции.
Техническая оснастка была разработана на операции 005 – токарная с ЧПУ. Были проведены соответствующие силовой и точностные расчёты.
Представлена схема контроля точности получения размеров.
На => плакате предложена планировка участка. (показать свои станки и сказать и показать другие станки для изготовления деталей своего узла.)
Далее представлена экономическая часть дипломного проекта.
При проектировании участка был предложен Роботизированный Комплекс на базе токарно-револьверного станка с ЧПУ 1В340 Ф30 оснащённого промышленным роботом М20П.40.01. схема и ТТХ робота представлены н листе №7.
Министерство образования Российской Федерации
Московский государственный технологический университет
«Станкин»
Технологический Кафедра «Технология
факультет машиностроения»
-
Тулаев Пётр Алексеевич
-
«Проект механосборочного участка изготовления крана вспомогательного тормоза локомотива 172»
Дипломный проект по специальности «Технология машиностроения»
специализация «Технология автоматизированного производства»
Расчетно-пояснительная записка
Регистрационный № _______
Заведующий кафедрой
«Технология машиностроения» _____________ Вороненко В.П.
/подпись/
Руководитель проекта ___________ Пиртахия А.Л.
/подпись/
Консультант по организационно-
-экономической части ___________ Розанов В.А.
/подпись/
Консультант по безопасности
жизнедеятельности ____________ Богданов В.А.
/подпись/
Студент ________ Тулаев П.А.
/подпись/
Москва 2004
Содержание
Введение. 4
Часть I.
ТЕХНОЛОГИЧЕСКАЯ
Определение типа производства и выбор вида его организации. 5
Разработка технологического процесса сборки узла. 7
Служебное назначение узла и принцип его работы. 7
Анализ чертежа, технических требований на узел и технологичности его конструкции. 8
Выбор метода достижения требуемой точности узла. 9
Контроль точности сборки узла или методы его испытаний. 14
Схема сборки узла. 16
Выбор вида и формы организации процесса сборки узла. 17
Выбор сборочного оборудования и технологической оснастки. 18
Технологическая карта сборки узла. 19
Расчет числа рабочих мест и рабочих-сборщиков. 20
Построение циклограммы сборки. 21
Планировка сборочного места. 21
Разработка технологического процесса изготовления детали.
Служебное назначение детали. 22
Анализ чертежа, технических требований на деталь и её технологичности. 23
Выбор вида заготовки и назначение припусков на обработку. 21
Выбор технологических баз и обоснование последовательности обработки поверхностей заготовки. 25
Выбор методов обработки поверхностей заготовки и определение количества переходов. Выбор режущего инструмента. 26
Разработка маршрутного технологического процесса. Выбор технологического оборудования и оснастки. 27
Определение припусков на обработку, межпереходных размеров и их допусков. Определение размеров исходной заготовки.
Назначение режимов резания. 29
Нормирование операций. 30
Контроль точности изготовленной детали.
Оформление технологической документации: 33
маршрутной карты технологического процесса изготовления детали;
операционной карты на одну операцию технологического процесса изготовления детали;
технологической карты сборки.
Часть II.
ИССЛЕДОВАТЕЛЬСКАЯ
Исследование пружин.
Расчёт усилий сжатия пружин. 34
Вывод 36
Часть III.
КОНСТРУКТОРСКАЯ
Проектирование и расчёт приспособления.
Служебное назначение приспособления. Обоснование выбора вида приспособления. 37
Выбор установочных элементов. 38
Разработка схемы закрепления заготовки. Определение силы зажима. 39
Выбор вида зажимного механизма, его силовой расчёт. 41
Расчёт приспособления на точность изготовления изделия. 42
Разработка технических требования на приспособление. 43
Часть IV.
ОРГАНИЗАЦИОННО-ЭКОНОМИЧЕСКАЯ
Планировка участка механосборочного цеха.
Введение 44
Вносимые преимущества 44
Таблица исходных данных 45
Расчёт производительности 47
Расчёт количества оборудования 47
Расчёт числа рабочих мест и рабочих сборщиков 49
Расчёт капитальных затрат 50
Расчёт основных параметров автоматизированного склада 50
Расчёт капитальных затрат 55
Организационные принципы работы автоматизированной системы инструмента обеспечения (АСИО) 56
Часть V.
БЕЗОПАСНОСТЬ ЖИЗНЕДЕЯТЕЛЬНОСТИ
Анализ опасных, вредных факторов и чрезвычайных ситуаций при эксплуатации роботизированного комплекса.
Водная часть. 59
Основная часть. 63
Заключительная часть. 71
Заключение. 72
Список использованной литературы. 73
Введение.
Цель дипломного проекта - разработать и спроектировать участок механо-сборочного цеха по изготовлению крана вспомогательного тормоза локомотива.
Задачи дипломного проекта:
- определить тип производства и выбрать вид его организации
- разработать технологический процесс сборки крана вспомогательного тормоза локомотива
- разработать технологический процесс изготовления корпуса
- проектирование технологической оснастки
- планировка участка механосборочного цеха
- экономическая часть.
Основной задачей дипломного проекта является систематизация, закрепление и расширение теоретических знаний по специальности и применение этих знаний при решении конкретных научных, технических, экономических и производственных задач, а также задач культурного строительства;
- развитие навыков ведения самостоятельной работы и овладения методикой исследования и экспериментирования при решении разрабатываемых в дипломном проекте проблем и вопросов.
Необходимо решить задачу проектирования экономически эффективного технологического процесса изготовления сборочной единицы с использованием достижений науки, техники и передового производственного опыта.
Часть I
Технологическая.
Определение типа производства и выбор вида его организации.
Исходные данные для расчёта:
Общий выпуск по неизменным чертежам – 4000 штук;
Производственная программа – 1000 штук в год.
Деталь будет выпускаться:

Такт выпуска при двусменном режиме работы:
, где
F = 2052 часов – годовой фонд времени,
n – коэффициент, учитывающий простои оборудования, связанные с наладкой и обслуживанием;
N – количество деталей в партии:

Дневной выпуск изделий:
Сменный выпуск:

Число изделий в месяц:

Выбор организационной формы технологического процесса сборки.
Необходимое число рабочих-сборщиков:
,
где
q - количество рабочих-сборщиков;
T>o> - общая трудоемкость сборки изделия;
T>c >- продолжительность по времени совмещенных операций ( в данном случае нет совмещенных операций, следовательно T>c> = 0 );
t - такт выпуска;
t>п >- время перемещения собираемого изделия от одной позиции к другой ( позиция одна, следовательно t>п> = 0 );
γ- количество параллельных потоков ( один поток, γ = 1 ). Тогда:

Следовательно, принимаем q = 1, нужен один рабочий-сборщик.
Существует три типа производства: единичное, серийное и массовое.
Под единичным производством машин, их деталей или заготовок понимают изготовление их, характеризуемое малым объёмом выпуска. При этом считают, что выпуск таких машин, деталей или заготовок не повторится по неизменяемым чертежам. Продукцией единичного производства являются машины, не имеющие широкого применения (опытные образцы машин, тяжёлые прессы, крупные гидротурбины, уникальные металлорежущие станки и т.п.).
Под серийным производством машин, их деталей или заготовок понимают их периодическое изготовление повторяющимися партиями по неизменяемым чертежам в течение продолжительного промежутка календарного времени. Производство осуществляется партиями, при этом возможна партия из одного изделия. В зависимости от объёма выпуска этот тип производства делят на мелко-, средне- и крупносерийное. Примерами продукции серийного производства могут служить металлорежущие станки, компрессоры, судовые дизели и т.п., выпускаемые периодически повторяющимися партиями.
Под массовым производством машин, деталей или заготовок понимается их непрерывное изготовление в больших объёмах по неизменяемым чертежам продолжительное время, в течение которого на большинстве рабочих мест выполняется одна и та же операция. Для массового производства характерна узкая номенклатура и большой объём выпуска изделий. Продукцией массового производства являются трактора, автомобили, электродвигатели, холодильники, телевизоры и пр.
Используя исходные данные, выбираем тип производства. Так как данное изделие (Кран вспомогательного тормоза локомотива 172) выпускается партиями не продолжительное время по неизменяемым чертежам, учитывая массу и годовой выпуск, выберем тип производства мелкосерийный.
2. Разработка технологического процесса сборки узла.
Служебное назначение узла и принцип его работы.
Служебное назначение:
Кран вспомогательного тормоза локомотива (далее кран) предназначен для ручного управления тормозами локомотива при рабочем давлении 0,6±0,1 МПа.
Принцип работы:
Ручка крана имеет три фиксированных положения: отпуск (О), перекрыша (П), торможение (Т).
В положении «Т» сжатый воздух из пневмомагистрали (ПМ) через входное отверстие G” в кронштейне поз.2 поступает под открытый тормозной клапан поз.24 и далее через центральное отверстие в корпусе поз.1, кронштейн поз.2 к тормозному цилиндру (ТЦ). Величина давления в ТЦ фиксируется по манометру и зависит от времени удержания рукоятки в этом положении.
По достижении необходимого давления в ТЦ ручка крана переводится в положение «П». В этом положении клапаны поз.24 (тормозной и отпускной) закрыты. Давление в ТЦ остаётся постоянным.
Для полного или частичного отпуска тормозов ручка устанавливается в положение «О», затем открывается отпускной клапан, сообщающий ТЦ с АТ. Величина ступени отпуска зависит от времени удержания рукоятки в этом положении. Для прекращения отпуска ручку необходимо перевести в положение «П».
Анализ чертежа, технических требований на узел и технологичности его конструкции.
Анализ чертежа
Кран состоит из корпуса поз.1 с двумя клапанами поз.24, отпускным и тормозным. Для управления клапанами поз.24 в корпусе устанавливается кулачок поз.3 с ручкой поз.8, которая жёстко соединена с кулачком поз.3 и имеет 3 фиксированных положения. Клапаны поз.24 удерживаются в закрытом положении пружинами поз.4 и поз.5. Корпус поз.1 крепится на кронштейне поз.2, в котором имеются резьбовые отверстия G” для подвода сжатого воздуха. В закрытом положении клапаны поз.24 удерживаются пружинами поз.4,5, которые останавливаются в заглушках поз.26. Одно резьбовое отверстие в кронштейне поз.2 закрывается заглушкой поз.18 с кольцом поз.15. крепление крана осуществляется посредством шпилек поз.19 и гаек поз.17.
Технические требования
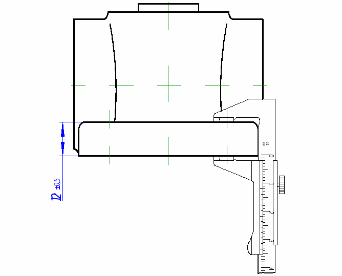
а) обеспечить линейный размер пружины находящейся в сжатом состоянии в пределах 15±0,5мм.
б) обеспечить силу сжатия пружин клапана не менее 0,6МПа
в) обеспечить усилие при котором клапаны удерживаются в закрытом положении не более 9 МПа (сила, которой взрослый человек может надавить рукой).
г) обеспечить расстояние между кулачком и направляющей в пределах 0,5±0,2мм.
Несоблюдение приведённых выше требований повлечёт за собой невозможность выполнения краном своего служебного назначения, например: при несоблюдении технического требования - обеспечения усилия сжатия пружин, возможен случай, когда из-за малой его величины произойдёт самопроизвольное открытие отпускного клапана и в последствии невозможность набора необходимого давления в тормозном цилиндре.
Технологичность конструкции крана
Анализ чертежа корпуса показал, что он имеет симметричную геометрию в продольном сечении. Это сделано, для того чтобы сократить время сборки узла, используя одинаковые детали, как в левой, так и в правой части.
Диаметры расточки заглушки 172.005 и ступенчатого торца гнезда 172.011 рассчитаны и подобраны таким образом, чтобы в состав узла - корпус 172.010, входили уже имеющиеся на производстве детали от ранее изготовленных приборов, такие как пружины 150.203 и 483.031.
При закреплении деталей и узлов крана 172.000 используются стандартные изделия, такие как винт М6х10 ГОСТ 1476-93, винт М6х12 ГОСТ 17475-80, винт ВМ3х6 ГОСТ 17473-80, гайка М8 ГОСТ 5915-70, гайка М12 ГОСТ 5915-70, шпилька М12х32 СТП 10-215-82.
Выбор метода достижения требуемой точности узла.
В результате проведенного анализа технических требований на узел было выявлено одно из наиболее важных требований, а именно: обеспечить линейный размер пружины находящейся в сжатом состоянии равный 15мм. с допуском ±0,5мм.
Для выполнения этого требования необходимо выявить все размеры деталей (в номиналах и допусках), влияющих на выполнение этого требования. Для этого необходимо выявить замыкающее звено и метод достижения точности РЦ.
Обеспечение точности создаваемого узла сводится к достижению требуемой точности замыкающих звеньев размерных цепей, заложенных в его конструкцию, и размерных цепей, возникающих в процессе изготовления крана. Задачу обеспечения требуемой точности замыкающего звена решим одним из нижеследующих методов: полной и неполной взаимозаменяемости. Определим наиболее экономичный метод с учётом с предъявляемыми требованиями.
Размерная цепь А состоит из:
А>Δ> - замыкающее звено – длина пружины находящейся в сжатом состоянии при силе сжатия 0,9 МПа
A>1> - размер между левым 22мм. и правым 13мм. торцом клапана 172.011
A>2> - Ширина бурта 22мм. седла 172.009
A>3> - Глубина отверстия М33 в корпусе 172.001
A>4> - Расстояние от торца М33 до дна отверстия 13мм. в заглушке 172.005
Размерная цепь А, определяющая зазор, показана в графической части, лист 1.
а) Метод полной взаимозаменяемости.
Сущность метода заключается в том, что требуемая точность замыкающего звена размерной цепи достигается во всех случаях её реализации путём включения в неё составляющих звеньев без выбора, подбора или изменения их значений. Сборка изделий при использовании этого метода сводится к механическому соединению взаимозаменяемых деталей. При этом у 100% собираемых объектов автоматически обеспечивается требуемая точность замыкающих звеньев размерных цепей.
Определение номиналов, полей допусков, верхнего и нижнего предельных отклонений, координат середины поля допуска размерной цепи А, проходит по следующему алгоритму действий:
1.Уравнение номиналов.
где
n – число увеличивающих звеньев;
m – число уменьшающих звеньев.


Уравнение допусков.
Из условия задачи следует, что поле допуска замыкающего звена
,
а координата середины поля допуска замыкающего звена

Имея дело с
плоской линейной размерной цепью
и решая задачу методом полной
взаимозаменяемости, при назначении
полей допусков на соответствующие
звенья необходимо соблюдения условия:




3.Уравнения координат середин полей допусков.

Координату середины поля допуска шестого звена находим из уравнения:

Правильность
назначения допусков проверим, определив
предельные отклонения замыкающего
звена:

Сопоставление с условиями задачи показывает, что допуски установлены правильно.
б) Метод неполной взаимозаменяемости.
С
ущность
метода заключается в том, что требуемая
точность замыкающего звена размерной
цепи достигается с некоторым, заранее
обусловленным риском путём включения
в неё составляющих звеньев без выбора,
подбора или изменение их значений.
Зададим значение коэффициента риска t>АΔ> , считая, что в данном случае Р=1% экономически оправдан. Такому риску t>АΔ> =2,57.
Полагая,
что условия изготовления деталей таковы,
что распределение отклонений составляющих
звеньев будет близким к закону Гаусса,
принимаем


Найдём средний допуск на звенья при обоих методах:

|
A>i> |
Метод полной взаимозаменяемости |
Метод неполной взаимозаменяемости |
||||||||
|
∆>в> |
∆>н> |
∆>0> |
T>A> |
T>A>>ср> |
∆>в> |
∆>н> |
∆>0> |
T>A> |
T>A>>ср> |
|
|
A>1> |
+0,15 |
-0,15 |
0 |
0,3 |
0,25 |
+0,4 |
-0,4 |
0 |
0,8 |
0,72 |
|
A>2> |
+0,1 |
-0,1 |
0 |
0,1 |
+0,32 |
-0,32 |
0 |
0,63 |
||
|
A>3> |
+0,15 |
-0,15 |
0 |
0,3 |
+0,4 |
-0,4 |
0 |
0,8 |
||
|
A>4> |
+0,1 |
-0,1 |
0 |
0,1 |
+0,32 |
-0,32 |
0 |
0,63 |
Для достижения требуемой точности замыкающего звена в одной размерной цепи выбираем метод не полной взаимозаменяемости. Данный метод позволяет расширить допуски на составляющие звенья, что ведёт к понижению себестоимости и работоспособности по отношению к методам пригонки и регулирования.
Метод неполной взаимозаменяемости не гарантирует получения 100% изделий с отклонениями замыкающего звена в пределах заданного допуска, с коэффициентом риска равным 1%. Однако дополнительные затраты труда и средств на исправление небольшого числа изделий, размеры которых вышли за пределы допуска, в большинстве случаев малы по сравнению с экономией труда и средств, получаемых при изготовлении изделия, размеры которого имеют более широкие допуски.
Экономический эффект, получаемый от использования метода неполной взаимозаменяемости вместо метода полной взаимозаменяемости, возрастает по мере повышения требований к точности замыкающего звена и увеличении числа составляющих звеньев в размерной цепи.
возможность выполнения технологических процессов изготовления деталей и особенно сборки машин рабочими невысокой квалификации.
Контроль точности узла или методы его испытаний.
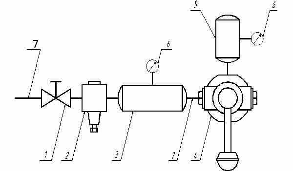
Контроль крана выполнить внешним осмотром с применением линейки, штангенциркуля пробок, пробок резьбовых, калибров, калибров резьбовых, скоб, высотомеров, глубиномеров, и весов. Выполнить внешний осмотр поверхностей трения сопрягаемых деталей после контрольной разборки. После контроля кран собрать и провести испытания на соответствие требованиям ТУ 24.05.10.126-97 на испытательном стенде. При разборке и сборке крана использовать средства измерения ОТК. Измерение величин давления сжатого воздуха провести по манометрам. При испытании рукоятка крана ставится в тормозное положение «Т». Время наполнения резервуара измеряют секундомером. Для испытания отпуска тормозов рукоятка крана ставится в отпускное положение. Время снижения давления в резервуаре измеряется секундомером. Затем рукоятка крана ставится в положение «П» последовательно после испытаний положений «Т» и «О». При этом не должно быть завышения давления после испытания в положении «Т» и снижения давления после испытания в положении «О». Измерения провести по истечении 30 секунд после перевода ручки крана в течение 30 секунд. Испытание провести в резервуаре V= 10л. 0,6 МПа обмыливанием мест соединений. Испытания крана при предельных значениях температур +45±3°С и -50±3 провести в климатической камере. После достижения в климатической камере предельного значения температуры кран выдержать в ней не менее чем в течении 2х часов. Подтверждение показателей надёжности допускается проводить сбором статистических данных по результатам эксплуатационных испытаний.
Схема пневматическая принципиальная стенда

кран 1-2 УЗ ОСТ 24.290.16-86;
редуктор 212;
резервуар V = 20 л.;
кран 172;
резервуар V = 10 л.;
манометр Кл.1 ц/д 0,1 кгс/см2, предел 10 кгс/см2 ГОСТ 2405-88;
труба 15 ГОСТ 3262-75.
После установки крана на подвижной состав повторно проводят испытания на герметичность мест соединений.
Схема сборки узла.

Выбор вида и формы организации процесса сборки узла.
На основании программы выпуска и габаритных размеров крана принимаем стационарную не поточную сборку с одним рабочим местом.
Выбор сборочного оборудования и технологической оснастки.
Сборка крана 172 производится на верстаке. Перед сборкой необходимо продуть детали от остатков технической пыли. Для закрепления корпуса на верстаке используют тиски 7827-0325 ГОСТ 4045-75. Для сбора резьбовых соединений применяется пневмогайковёрт ИП 3112-У11 с наконечниками МТ 9694-686 и МТ 9694-685, отвёртки 7810-0941 3В ГОСТ 17199-88 и 7810-0964 3В ГОСТ 17199-88.
рование сборочных операций.
Технологическая карта сборки узла.
Технологическая карта сборки узла приведена в приложении 3.
Расчет числа рабочих мест и рабочих-сборщиков.
Сборка комплектов (172.020 Корпус, 172.00 Клапан, 172.040 Заглушка) - 12 мин.
Сборка подузлов (172.010 Корпус, 172.070 Кронштейн, 172.080 Кулачек , 172.090 Ручка) - 34,5мин.
Сборка узла (Кран 172.000) - 40 мин.

при отсутствии совмещенных во времени операций, при совмещении времени транспортирования кранов с оперативным временем и при стационарной сборке:
[раб
место]
выбираем один рабочий-сборщик, и одно рабочее место.
Построение циклограммы сборки.
Ввиду того, что работает один рабочий-сборщик в построении
циклограммы и планировке рабочих мест нет необходимости.
Планировка сборочного места.

Разработка технологического процесса изготовления детали.
Служебное назначение детали.
Корпус 172.001 предназначен для базирования деталей входящих в состав корпуса 172.010 и кулачка 172.080, а также для обеспечения герметичности всего узла.
Основными показателями качества корпуса являются:
соосность отверстий под сёдла относительно общей оси с установленным допуском, плоскостность поверхности основания с установленным допуском, перпендикулярность общей оси отверстий под сёдла относительно оси отверстия под кулачек с установленным допуском, герметичность стенок при испытании сжатым воздухом под давлением 0,6 МПа в течении 30с..
Анализ чертежа, технических требований на деталь и её технологичности.
Корпус 172.001 представляет из себя простую корпусную деталь симметричную в поперечном сечении, среднего класса точности, небольших габаритов, с двумя отверстиями в торцах для крепления клапанов, одним сверху для крепления кулачка и тремя в основании для запрессовки ниппелей. Корпус изготавливается из алюминия марки АК7ч ГОСТ 1583-93, с твёрдостью > 70HB.
Из вышесказанного следует, что при изготовлении корпуса будут
использоваться операции токарная, вертикально-сверлильная, резьбонарезная, зачистка, химическое окисление с последующим контролем исполненных размеров.
Выбор вида заготовки и назначение припусков на обработку.
В производстве корпусные детали изготавливают в основном литьём, но ввиду небольшого размера корпуса и непродолжительное время изготовления по неизменяемым чертежам можно также изготовить корпус штамповкой на ГКМ.
Расчеты получения заготовок ведут по формуле:
Ким = Vдет / Vзаг
Объем детали Vдет = 67см3
Объем заготовки литьё Vзаг = 107см3

Объем заготовки из штамповки ГКМ Vзаг = 194см3

Ким1 = 67 / 107 = 0,35
Ким2 = 67 / 194 = 0,63
Выбираем вариант 1, т.к. он экономически целесообразен.
Исходя, из объёма выпуска и массы корпуса выбираем литьё в кокиль.
Выбор технологических баз и обоснование последовательности обработки поверхностей заготовки.
Для обработки корпусов и получения минимальных погрешностей нужно создать технологические базы для установки в токарных станках. Исходя из особенностей токарного станка и точного размещения заготовки на нем, необходимо обработать торцы заготовки и выполнить центровочные отверстия. Выполнять будем на Токарно-револьверном станке с ЧПУ 1В340 Ф30, в двухкулачковом гидравлическом патроне МТ 9661-434, с кулачками МТ 9664-440. Так как кулачки сконструированы специально для закрепления корпуса 172.001 для обеспечения высокой точности обработки и установки заготовки в станке то так же являются и приспособлением.
Базирование корпуса в двухкулачковом гидравлическом патроне
МТ 9661-434 самоцентрирующимися кулачками МТ 9664-440.

Здесь за счет специальных кулачков обеспечивается более точное базирование корпуса.
Обработка большинства поверхностей, в том числе и ответственных, осуществляется с одной установки.
Данная установка обеспечивается специальным гидравлическим двухкулачковым патроном. По этому важность задачи о выборе баз на первой операции отпадает.
1,2,3 - установочная база. Реализуется самоцентрирующимися кулачками.
4,5 - направляющая база. Через которую осуществляется центрирование заготовки.
6 - опорная база. Так как литьё осуществляется по 9-му классу точности то опорная база реализуется посредством зажима на заготовке.
Выбор методов обработки поверхностей заготовки и определение количества переходов.
Выбор режущего инструмента.
Последовательность обработки заготовки:
Токарная с ЧПУ
Вертикально-сверлильная
Резьбонарезная
В связи с нашим производством выберем следующие станки:
Для выполнения токарной обработки выберем токарно-револьверный станок с ЧПУ 1В340 Ф30.
Для сверления на разных операциях вертикально-сверлильный станок 2М112, вертикально-сверлильный станок 2Н118, вертикально-сверлильный станок 2Н125.
Для резьбонарезной операции резьбофрезерный станок полуавтомат 2056.
Разработка маршрутного технологического процесса. Выбор технологического оборудования и оснастки.
Разработка маршрутного технологического процесса и выбор технологического оборудования и оснастки приведены в приложении 3.
Определение припусков на обработку, межпереходных размеров и их допусков. Определение размеров исходной заготовки.
Рассчитаем припуски на поверхности нижнего торца корпуса.
Рассчитаем минимальный припуск:
Zmin = ((Rz + h)>i-1> + (∆2>Σi-1> + ε2>i>))1/2
Где, Rz – шероховатость поверхности, возникающая на предшествующем переходе
h – глубина дефектного слоя
∆>Σi>>-1> – суммарные отклонения расположения и формы поверхности
ε – погрешность установки заготовки на выполняемом переходе
Предварительное точение:
Zminпредв. = 2(700 +700+(200+250)2 + 1002)1/2 = 1628мкм
Окончательное точение:
Zminокон. = 2(500 +500+(100+150)2 + 502)1/2 = 1243мкм
Расчет общего минимального припуска:
Zminобщ = 1628 + 1243 = 2871мкм
Расчет максимального припуска для обработки поверхности
Zmax = Zmin + Tдет + Tзаг
где Тзаг – допуск на заготовку
Тдет – допуск на деталь
Zmax = 2871 + 50 + 400 = 3321 мкм
Назначение режимов резания.
Расчет режима резания проведем на первую операцию первого перехода
Операция 005 токарная с ЧПУ.
Переход 1: Подрезать торец заготовки в размер 12±0,5
Глубина резания : t = 5 мм
Подача: S = 0,3 мм/об
Скорость резания V = Cv · Kv / Tm · tx · Sy
где Cv – поправочный коэффициент
Т – стойкость инструмента
Kv – коэффициент, учитывающий условия обработки
V = 332 · 0,7 / 1800,2 · 50,5·0,30,4 = 102 м/мин
Частота вращения шпинделя:
n>p> = 1000 · V / π · Dфр = 1000 · 102 / 3,14 · 70 = 340 об/мин
по паспорту станка получаем n>p> = 350 об/мин
Действительная скорость резания:
n>д> = π · Dфр · n>p> / 1000 = 3,14 · 70 · 800 / 1000 = 106 м/мин
Нормирование операций.
Машинное время на точение торца
Т>0> = (L + l>1> + l>2>) * i / Cz * z * n>д>> >
где L – длина обработки
l>1> – величина врезания
l>2> – перебег
i – число переходов
Т>0 >= (55 + 60 + 60) * 2 / 0,2 * 6 * 175 = 1,7мин
Определим оперативное время операции:
Топ = Т>0> + Тв
где Т>0> = 1,7 мин
Тв = 2,1 мин
Топ = 1,7 + 2,1 = 3,8 мин
Штучное время на операцию:
Тшт = Топ * ( 1 + (Ко + Кп) / 100)
Где, Ко – доля времени на обслуживание рабочего времени 2 – 6%
Кп – доля времени на отдых и личные надобности 4 – 8%
Тшт = 3,8 * (1 + (4 + 5) / 100) = 0,38мин
Контроль точности изготовленной детали.

контроль размера торца при помощи штангенциркуля ШЦI-125-0.1 ГОСТ 166-89
Точность изготовления корпуса проверяют в определенной последовательности сначала определяют правильность формы поверхности, затем их геометрические размеры и потом уж их положения.
Такая последовательность необходима для того, чтобы можно было путем исключения погрешностей измерять с наибольшей точностью тот параметр, который необходимо проверить.
Измерительными базами при проверке корпусов обычно являются поверхности его основания, которые, будучи его основными базами, определяют положение всех остальных.
При контроле устанавливаем корпус основанием на контрольную плиту с упором в один торец.
Правильность геометрической формы проверяем в нескольких сечениях, перпендикулярных к оси корпуса, овальность и конусообразность отверстий а также других линейных размеров проверяем с помощью следующих измерительных инструментов и приспособлений:
штангенциркуль ШЦI-125-0.1 ГОСТ 166-89,
пробка 10Н14+0,36 МТ8133-4106-03,
пробка резьбовая М33х1,5-7Н 8221-3120,
пробка 18Н9+0,043 МТ8133-4161-05,
пробка 26Н12+0,21 МТ8133-4170-05,
пробка 4,95+0,26 МТ8133-4016,
пробка 6,7+0,26 МТ8133-4017,
пробка 12.5H22+0,18 МТ8133-4107 01,
пробка 18Н14+0,43 МТ8133-4164,
пробка резьбовая 8221-3030,
пробка резьбовая М8-7Н 8221-3036,
калибр 50±0,15 МТ8368-4078,
калибр резьбовой М33х1,5-7Нх15+2 МТ8229-4030-13,
калибр резьбовой М6-7Нх12min МТ8229-4026-09,
калибр 25±0,2 МТ8368-4079,
скоба 32H22>-0,25> МТ8119-4055-05,
высотомер 3Н14+0,25 МТ8151-4385-01,
глубиномер 39Н14+0,62 МТ8151-4671,
глубиномер 17-1 МТ8157-4507,
глубиномер 2,5Н14+0,25 МТ8151-4671-02,
глубиномер 7Н14+0,36 МТ8151-4563-10,
втулка 6100-0141 ГОСТ 13598-85.
Оформление технологической документации.
маршрутной карты технологического процесса изготовления детали, операционной карты на одну операцию технологического процесса изготовления детали, технологической карты сборки приведены в приложении.
Часть II
Исследовательская.
Исследование пружин
Расчёт усилий сжатия пружин
Пружина сжатия150.203

Масса 0,002
Сталь
Общее количество в приборе 3 шт.
>3> =112 кгс/мм2
z=1.16 кгс/мм2
Группа точности на геометрические параметры - вторая по ГОСТ 16118-70
Направление навивки - правое
Dвн=7,7±0,22 мм
n=6,5
n>1>=8,5
Н>0>=17,5 мм
Н>1>=14,5 мм P1=3,48±0,18 кгс
Н>2>=13 мм P2=5,22±0,26 кгс
Н>3>=9,6 мм P3=9,16 кгс
Покрытие Хим.Окс.
Остальные технические требования по ГОСТ 16118-70
Пружина сжатия 483.031

Масса 0,004
Сталь
Общее количество в приборе 2 шт.
>3> =105 кгс/мм2
z=0,92 кгс/мм2
Группа точности на геометрические параметры - вторая по ГОСТ 16118-70
Направление навивки - правое
Dвн=16±0,3 мм
n=5,5
n>1>=7,5
Н>0>=25 мм
Н>1>=16 мм P1=8,28±0,82 кгс
Н>2>=14,5 мм P2=9,66±0,97 кгс
Н>3>=11,2 мм P3=12,7 кгс
Покрытие Хим.Окс.
Остальные технические требования по ГОСТ 16118-70
Предельные отклонения длины зацепа i устанавливаются в зависимости от конструкции зацепа и предъявляемых требований к точности пружин.
Максимальное значение высоты пружины, сжатой до соприкосновения витков, определяют по формуле:
, где
n>3> – число зашлифованных витков;
- 0,1 – для пружин холодной навивки;
- 0,2 – для пружин горячей навивки.



Диаграмма зависимостей линейных размеров пружин от силы их сжатия
1.2. Вывод
И
з
диаграммы видно, что общее усилие,
создаваемое сжатыми пружинами (13,8 кгс),
намного выше требуемого (6 кгс). В целях
экономии целесообразней оставить только
одну пружину – 483.031. Т.к. для её сжатия
до размера 15±0,5мм.
необходимо усилие 9±0,4кгс.,
что удовлетворяет требованиям,
предъявляемым к узлу. Вследствие чего
нет необходимости точить, дополнительный
выступ 5
на гнезде 172.011 под пружину 150.203. Таким
образом, мы сокращаем время на обработку
детали, сборку узла и конечную стоимость
изделия.
Часть III
Конструкторская.
Проектирование и расчёт приспособления.
Служебное назначение приспособления. Обоснование выбора вида приспособления.
Гидравлический двухкулачковый патрон с самоцентрирующимися кулачками предназначен для центрирования и закрепления детали совмещая её ось с геометрической осью шпинделя станка. Самоцентрирование осуществляется одновременно перемещающимися в радиальном направлении специальными кулачками.

Полный чертёж гидравлического двухкулачкового патрона приведён в графической части дипломного проекта (лист №8).
Выбор установочных элементов.
Рабочая поверхность кулачков выполнена таким образом, что её геометрия совпадает с геометрией поверхности зажима обрабатываемой детали.

самоцентрирующиеся кулачки

закрепление корпуса в самоцентрирующихся кулачках
Для зажатия детали используются полусферические кулачки, повторяющие геометрию поверхности зажима детали. Причём один из них покачивается. Необходимость покачивания вызывается тем, что установочная поверхность обрабатываемой детали может быть не вполне цилиндрической и, кроме того, кулачки могут быть не строго симметричными в отношении их продольной оси. Вследствие этого при неподвижных кулачках деталь может оказаться зажатой с прекосом и положение её в процессе обработки может быть нарушено.
Разработка схемы закрепления заготовки. Определение силы зажима.

Чтобы удержать деталь от проворачивания под действием вертикальной составляющей силы резания P>z>, к каждой грани кулачков необходимо приложить нормальную силу N. Для создания таких сил к каждому кулачку вдоль его оси требуется приложить силу W = 2N·cos ( - половина угла призмы кулачка).

при диаметрах детали D до обточки и d после обточки это равенство примет вид:
или


Сила

таким образом,

Из теории резания металлов известно, что P>x>≈0,25P>z>,
поэтому




таким образом имеем следующее уравнение
2·Q·f·R>1>=K·P>z>·R
,
где
К – коэффициент запаса, учитывающий нестабильность силовых воздействий на заготовку = 2,5
P>z> – сила резания = 3,5
R – радиус заготовки = 96
f – коэффициент трения = 0,16

,
где
P = 0,6 МПа



Выбор вида зажимного механизма, его силовой расчёт.
Сила тяги, которую должен развить привод, зависит, прежде всего, от величины силы резания и от конструкции патрона.

распределение усилий при закреплении корпуса в патроне
из вышеприведенных расчётов мы знаем, что:
сила закрепления корпуса в патроне составляет 2734Н тогда:

зная что :
= 30°
= 6°
= 0,9
получим

определим диаметр гидроцилиндра цилиндра поршня в патроне по формуле:
,
где
- коэффициент полезного действия = 0,9
Р – давление сжатого масла = 6 МПа.
получим

Округлим до ближайшего большего нормального значения, получим окончательно
D = 80мм.
Расчёт приспособления на точность изготовления изделия.
Погрешность установки >у> есть отклонение фактически достигнутого положения заготовки при установке в станочном приспособлении от требуемого.
>у> возникает вследствие несовпадения измерительных измерительных и технологических баз, неоднородности качества поверхности корпуса, неточности изготовления и износа опор кулачков. Погрешность установки вычисляется по погрешностям:
базирования - >б>
закрепления - >з>
приспособления - >пр>
Погрешность установки при укрупнённых расчётах на точность обработки с поправочным коэффициентом, можно определит из справочников по конструированию станочных приспособлений. В ряде других случаев из выражения для технологического допуска на выполняемый размер
,
где
y – погрешность вызываемая упругими отжатиями технологической системы под влиянием сил резания;
н – погрешность настройки станка;
u – погрешность от размерного износа инструмента;
T – погрешность обработки, вызываемая тепловыми деформациями технологической системы;
ф – суммарная погрешность формы обрабатываемой поверхности в результате геометрических погрешностей станка и деформаций заготовки при её закреплении.
Отсюда можно определить допустимую величину погрешности установки [>y>]:

Если принимать, что на точность
обработки действуют случайные факторы,
распределяющие по закону нормального
рассеивания (t
= 3 и
),
то

Разработка технических требований на приспособление.
Отклонение от параллельности оси В от базы А не более 0,02/300
Давление в гидросистеме 5-10 Мпа
Нижний кулачок должен свободно покачиваться в пределах 3°.
Двухкулачковый гидравлический патрон с самоцентрирующимися кулачками:
Точность установки в осевом направлении 25 – 110 Мкм;
Допуск биения, степень точности по ГОСТ 24643-81 в зависимости от класса точности по ГОСТ 2675-80 (Н,П,В,А);
Применяются на станках токарных автоматах и полуавтоматах.
Часть IV
Огранизационно-экономическая.
Расчёт экономической эффективности технологического процесса.
Введение.
В экономической части проекта представлен расчёт экономического эффекта от внедрения станков с ЧПУ.
Экономический эффект от увеличения срока службы нового станка с ЧПУ до первого капитального ремонта получают в результате снижения стоимости всех видов ремонтов, приходящихся на один год работы станка, и увеличения годовой производительности вследствие снижения простоев в плановых ремонтах.
Экономический эффект от повышения надёжности (безотказности) нового станка с ЧПУ получают благодаря экономии текущих затрат на неплановые ремонты и увеличении и увеличению годовой производительности за счёт увеличения коэффициента загрузки в связи с уменьшением простоев в неплановых ремонтах.
Определение экономического эффекта от улучшения качества обработки на станках с ЧПУ повышенной точности рассмотрено в экономической части дипломного проекта.
Внедрение предлагаемого приспособления (гидравлический двухкулачковый патрон с самоцентрирующимися кулачками) помимо повышения точности базирования способствует существенному сокращению технологического процесса. А вследствие чего сокращается время на обработку корпуса, снижая при этом его себестоимость.
Оснащение Токарно-револьверного станка с ЧПУ 1В340 Ф30 промышленным роботом М20П.40.01 приводит к повышению точности установки детали в гидравлический двухкулачковый патрон с самоцентрирующимися кулачками. Так же отпадает необходимость постоянного присутствия оператора ЧПУ. Сокращается количество технического персонала цеха. Соответственно снижается фонд заработной платы, что ведёт к направлению сэкономленных материальных средств на последующую модернизацию производства.
Вносимые преимущества.
Внедрение станков с ЧПУ – важнейшее направление автоматизации серийного и мелкосерийного производства в машиностроении, где в настоящее время используются главным образом универсальные станки с ручным управлением (РУ).
Основные преимущества станков с ЧПУ по сравнению с универсальными станками с РУ:
сокращение основного и вспомогательного времени обработки деталей;
повышение точности обработки;
простота и малое время переналадки;
возможность использования менее квалифицированной рабочей силы и сокращение потребности в квалифицированной рабочей силе;
применение многостаночного обслуживания;
снижение затрат на специальные приспособления;
сокращение цикла подготовки производства новых изделий и сроков их поставки;
концентрация операций, что обеспечивает сокращение оборотных средств в незавершённом производстве, а также затрат на транспортировку и контроль деталей;
уменьшение брака по вине рабочего.
Повышение производительности нового станка с ЧПУ обеспечивает снижение на единице продукции эксплуатационных расходов (по заработной плате станочников и другим статьям), а в ряде случаев и удельных капитальных вложений на приобретение станка.
Таблица исходных данных.
|
№п/п |
Параметры, показатели |
Ед. измерения |
Кол-во |
|
1 |
Годовая программа выпуска |
Шт. |
1000 |
|
2 |
Годовой фонд времени работы оборудования |
Час. |
4015 |
|
3 |
Годовой фонд времени работы рабочих |
Час. |
1840 |
|
4 |
Часовая тарифная ставка рабочего |
Руб. |
50 |
|
5 |
Единый социальный налог |
% |
35,6 (5,03 руб.) |
|
Время затрачиваемое на выполнение основных переходов операции: |
|||
|
6 |
005 |
Мин. |
8,812 |
|
7 |
010 |
Мин. |
1,0 |
|
8 |
015 |
Мин. |
0,85 |
|
9 |
020 |
Мин. |
0,3 |
|
10 |
025 |
Мин. |
0,214 |
|
11 |
030 |
Мин. |
0,217 |
|
12 |
035 |
Мин. |
0,36 |
|
Время затрачиваемое на выполнение вспомогательных переходов операции: |
|||
|
13 |
005 |
Мин. |
1,375 |
|
14 |
010 |
Мин. |
0,510 |
|
15 |
015 |
Мин. |
0,485 |
|
16 |
020 |
Мин. |
0,420 |
|
17 |
025 |
Мин. |
0,720 |
|
18 |
030 |
Мин. |
0,492 |
|
19 |
035 |
Мин. |
0,517 |
|
20 |
Токарно-револьверный станок с ЧПУ 1В340 Ф30 |
Шт. |
1 |
|
21 |
Промышленный робот М20П.40.01. |
Шт. |
1 |
|
22 |
Вертикально-сверлильный станок 2М112 |
Шт. |
1 |
|
23 |
Вертикально-сверлильный станок 2Н118 |
Шт. |
1 |
|
24 |
Резьбонарезной и резьбофрезерный станок полуавтомат 2056 |
Шт. |
1 |
|
25 |
Вертикально-сверлильный станок 2Н125 |
Шт. |
1 |
|
Цена станка: |
|||
|
26 |
Токарно-револьверный станок с ЧПУ 1В340 Ф30 |
Руб. |
350000 |
|
27 |
Промышленный робот М20П.40.01. |
Руб. |
300000 |
|
28 |
Вертикально-сверлильный станок 2М112 |
Руб. |
102500 |
|
29 |
Вертикально-сверлильный станок 2Н118 |
Руб. |
70000 |
|
30 |
Резьбонарезной и резьбофрезерный станок полуавтомат 2056 |
Руб. |
230000 |
|
31 |
Вертикально-сверлильный станок 2Н125 |
Руб. |
95000 |
|
Мощность станка: |
|||
|
32 |
Токарно-револьверный станок с ЧПУ 1В340 Ф30 |
кВт. |
6,2 |
|
33 |
Вертикально-сверлильный станок 2М112 |
кВт. |
0,6 |
|
34 |
Вертикально-сверлильный станок 2Н118 |
кВт. |
1,5 |
|
35 |
Резьбонарезной и резьбофрезерный станок полуавтомат 2056 |
кВт. |
1,3 |
|
36 |
Вертикально-сверлильный станок 2Н125 |
кВт. |
2,2 |
|
37 |
Цена за 1 кВт/час. электроэнергии |
Руб./кВт.ч. |
1,1 |
|
38 |
Масса детали |
Кг. |
2,3 |
|
39 |
Цена за 1 кг. алюминия |
Руб. |
15 |
|
40 |
Цена за 1 кг. отходов |
Руб. |
4,3 |
Расчёт производительности.
Производственная программа – 1000 штук в год; количество выпускаемых изделий по неизменяемым чертежам – 4000 штук. Тип производства – мелкосерийный.
Суточный выпуск изделий, шт.:
,
где
N>Г> –годовая программа выпуска изделий, шт.;
F – количество рабочих дней в году, =253;

примем N>c> = 4.
Такт выпуска изделия:
,
где
Ф>д> – действительный фонд времени, придвусменной работе
часов;
мин.
Расчёт количества оборудования
,где
n – число наименований изделий, проходящих данную операцию, n=1;
t>ш.к.>>i> и Ni – соответственно штучно-калькуляционное время (мин.) изготовления i-го наименования изделия на данной операции и её годовой объём (шт.) выпуска, N=1000 шт.;
Ф>Э> – эффективный годовой фонд времени работы основного оборудования, ч., Ф>Э> = 3890 ч.
штучно-калькуляционное время
,
где
t>оп>>i> – оперативное время изготовления изделия на данной операции, мин;
α – процент потерь времени (внецикловых) от оперативного времени, α = 12%
Оперативное время
,
где
t>oi> и t>в>>i> – соответственно время, затрачиваемое на выполнение основных и вспомогательных переходов.
Оперативное время для операции 005

штучно-калькуляционное время

необходимое количество оборудования для выполнения операции 005
принимаем С>р>=1.
Оперативное время для операции 010

штучно-калькуляционное время

необходимое количество оборудования для выполнения операции 010
принимаем С>р>=1.
Оперативное время для операции 015

штучно-калькуляционное время

необходимое количество оборудования для выполнения операции 015
принимаем С>р>=1.
Оперативное время для операции 020

штучно-калькуляционное время

необходимое количество оборудования для выполнения операции 020
принимаем С>р>=1.
Оперативное время для операции 025

штучно-калькуляционное время

необходимое количество оборудования для выполнения операции 025
принимаем С>р>=1.
Оперативное время для операции 030

штучно-калькуляционное время

необходимое количество оборудования для выполнения операции 030
принимаем С>р>=1.
Оперативное время для операции 035

штучно-калькуляционное время

необходимое количество оборудования для выполнения операции 035
принимаем С>р>=1.
Итого общее количество станков S=5.
Расчёт числа рабочих мест и рабочих-сборщиков
Число рабочих, необходимых для выполнения заданной программы:
,
где
T>0> – трудоёмкость операции, мин.
Т>С> – трудоёмкость совмещённых операций, мин.
t>П> – время, затрачиваемое на перемещение объекта сборки с операции на операцию;
γ – число параллельных потоков.
При отсутствии совмещённых во времени операций, при совмещении времени транспортирования собираемых реле с оперативным временем и в одном потоке.
следовательно принимаем 1-рабочий.
Расчёт числа рабочих
По числу станков число станочников рассчитывают по формуле:
,
где
Ф>ст> – эффективный годовой фонд времени станка Ф>ст> = 4015ч.;
Ф – эффективный годовой фонд времени рабочего Ф = 1820ч.;
К>м> – коэффициент многостаночного обслуживания, К>м> = 2;
S – количество станков, S = 5.

Количество запасных рабочих

Общее количество основных рабочих

Численность наладчиков по нормам обслуживания оборудования Р>н>=2 человека.
Численность вспомогательных рабочих 50-55% от общего числа рабочих:

Общее число рабочих

Численность инженерно-технических работников по нормам численности ИТР для мелкосерийного производства 12 человек.
Расчёт капитальных затрат
Определение стоимости здания
Расчёт площади участка и высоты здания
Площадь рабочего места для сборки изделия
S>сб> = S>1>+S>2>+S>3>, где
S>1> – площадь, занимаемая самим изделием, с учётом проходов (0,5 – 0,75м с каждой стороны);
S>2> – площадь рабочего места на одного сборщика, принимают 3 – 5м2
S>3> – дополнительная площадь, необходимая для окончательной отделки (пригонки) узлов и деталей во время монтажа и демонтажа,
S>3> = 0,3S>1>.
S>1> = (0,75+0,75)· (0,75+0,75)+S>2>+S>3> = 2,25м2
S>3> = 0,3·2,25 = 0,675м2
S>сб> = 2,25+4+0,675 = 6,925м2
Принимаем площадь рабочего места для сборки изделия S>сб> = 7м2.
Расчёт основных параметров автоматизированного склада
В качестве тары для хранения корпусов выберем плоский металлический поддон №16.2540.00.00 ГЧ конструкции НПО «КОМПЛЕКС» грузоподъёмностью 500кг. Его размеры: а = 800мм, b = 600мм, h = 160мм. масса = 26кг.
Расчёт основных основных параметров складской системы начинают с выбора нормы запаса хранения. Для непоточного производства норма хранения мелких и средних отливок поковок на складе составляет 12,,,20 дней. Выберем значение 20 дней. Определим запас хранения груза соответствующего наименования.
,
где
Q>i> – годовое поступление груза соответствующего наименования, т/год;
n>i> – норма запаса хранения, дни.


средняя грузоподъёмность тары
с>ti> = qk>u> , где
q – максимальная грузоподъёмность тары;
k>u> – коэффициент использования грузоподъёмности, k>u> = 0,2.
с>ti> = 0,5·0,2 = 0,1т.
Потребное число единиц тары по каждому наименованию

полное потребное число единиц производственной тары = 45шт.
минимальная высота яруса стеллажа составляет
С>я >= +е, где
- высота поддона с грузом. Величина е для бесполочных стеллажей составляет 60…100мм. принимаем е = 60мм.
С>я >= 160+60 = 220мм.
Высота складского помещения составляет Н>х> = 6м.
Число ярусов рассчитывают по формуле
,
где
h>в> – расстояние по высоте от строительных конструкций покрытия здания до опорной поверхности верхнего яруса стеллажей (для стеллажных кранов-штабелёров h>в> = 1,5м.)
.
Число рядов в зоне хранения у = 45/17 = 2,64. принимаем у = 3.
В качестве штабелирующего устройства выбран стеллажный кран-штабелёр. Ширина продольного проезда для стеллажного крана-штабелёра В>пр> = b+0,2м., где b = 800мм. – ширина складской единицы – размер, по которому её устанавливают duk.,m стеллажа. В>пр> = 1м.
Площадь приёмо-сдаточной секции определяют по формуле
,
где
Q>i> – годовой материальный поток на склад, т;
k>пр> – 1,3 – коэффициент неравномерности поступления грузов на склад;
k>о> – 1,5 – коэффициент, учитывающий неравномерность отпуска грузов;
t – время нахождения груза на площадке секции, дни;
n>д> – число рабочих дней в году;
q – нагрузка на 1м площади приёмо-сдаточной секции (принимается равной 0,5 средней нагрузки на полезную площадь склада), т.

Площадь занимаемая участком = 256 м2.
Стоимость 1м2 площади = 5000 рублей.
Таким образом, стоимость общей площади занимаемой участком цеха составит:
256·5000 = 1280000 руб.
Определение стоимости оборудования
|
Модель станка |
Цена, руб. |
Кол-во, шт. |
|
Токарно-револьверный станок с ЧПУ 1В340 Ф30 |
350000 |
1шт. |
|
Промышленный робот М20П.40.01. |
300000 |
1шт. |
|
Вертикально-сверлильный станок 2М112 |
102500 |
1шт. |
|
Вертикально-сверлильный станок 2Н118 |
70000 |
1шт. |
|
Резьбонарезной и резьбофрезерный станок полуавтомат 2056 |
230000 |
1шт. |
|
Вертикально-сверлильный станок 2Н125 |
95000 |
1шт. |
Расчёт себестоимости продукции
Затраты на основную заработную плату основных рабочих
,
где
m – число операций нового технологического процесса, m = 15;
t>шт> – норма штучного времени по операциям нового технологического процесса, норм-час;
C>m> – часовая тарифная ставка соответствующего разряда работ, руб, C>m> = 50 руб.;
- коэффициент, учитывающий
доплаты и премии, > >
= 1,04
> >руб.
Затраты на дополнительную заработную плату основных рабочих
> >
> >руб.
Затраты на электроэнергию для технологических целей
Для срезания 1 мм2 стружки необходимо усилие 2 кН. Соответственно на удаление 1 м3 стружки необходимо 2·106 кДж. При плотности алюминия 2,7·103 кг/м3 ,
объём снимаемой стружки > >
энергия необходимая на удаление припуска
8,5·2·106 = 17000кДж = 4,7 кВт-час.
Принимая коэффициент полезного действия 0,5 , получим электроэнергию, необходимую для удаления припуска:
Н>эл> = 4,7/0,5 = 9,5 кВт-час.
При цене 1.1 руб./кВт-час затраты на электроэнергию составят:
З>эл> = 9,5·1,1 = 10,5 рубля.
Расчёт затрат на основные материалы
Цена АК7ч ГОСТ 1583-93 = 15 руб./кг.
Масса заготовки 0,91 кг.
Масса деталь 0,68 кг.
Затраты на основные материалы:
Зм = Н>м>Ц>м> - m>отх>Ц>отх >, где
Н>м> = 0,91кг. – норма расхода на одну заготовку или деталь;
Ц>м> = 15 руб./кг. – цена одного килограмма материала на одну заготовку или деталь;
m>отх> = 0,91-0,68=0,23кг. - масса отхода материала на одну заготовку или деталь;
Ц>отх> = 2 руб./кг. – цена одного килограмма отхода материала.
З>м> = 0,9·11-0,23·2=9,44 руб.
Единый социальный налог основных рабочих
> >
> >руб.
Затраты на инструмент
|
№ п/п |
Наименование инструмента |
Цена за ед., руб. |
Кол-во, шт. |
Общая цена, руб. |
|
1 |
резец 25х16х125 МТ2100-4041 |
30 |
1 |
30 |
|
2 |
сверло МТ9341-507 |
15 |
1 |
15 |
|
3 |
сверло 10,2 2301-0030 ГОСТ 10903-77 |
10 |
1 |
10 |
|
4 |
резец 25х16х140 2103-0008 ГОСТ 18879-73 |
30 |
1 |
30 |
|
5 |
резец 25х110 МТ2145-4007 |
30 |
1 |
30 |
|
6 |
резец ВК8 25х130 МТ2662-4005 |
30 |
1 |
30 |
|
7 |
сверло 17 2301-0057 ГОСТ 10903-77 |
10 |
1 |
10 |
|
8 |
резец ВК8 25х110 МТ2145-4007 |
30 |
1 |
30 |
|
9 |
резец 25х16х140 2103-0008 ГОСТ 18879-73 |
30 |
1 |
30 |
|
10 |
зенкер 25,4 ВК8 16 МТ9347-506 |
50 |
1 |
50 |
|
11 |
сверло составное 5,0 1х45° 2300-6173 |
25 |
1 |
25 |
|
12 |
сверло составное 6,8 1х45° 2300-0309 ГОСТ 10902-77 |
25 |
1 |
25 |
|
13 |
сверло 10,2 2301-0030 ГОСТ 10903-77 |
10 |
1 |
10 |
|
14 |
метчик М6-7Н 2620-1155 ГОСТ 3266-81 |
20 |
1 |
20 |
|
15 |
метчик М8-7Н 2620-2529 ГОСТ 3266-81 |
20 |
1 |
20 |
|
16 |
зенкер составной 13-18 МТ2331-4047 |
60 |
1 |
60 |
Затраты на инструмент
> >, где
m – число наименований инструмента;
F>маш> – номинальный годовой фонд машинного времени работы единицы оборудования, F>маш> = 4140 часов;
Z>pi> – ресурс времени работы инструмента i-го наименования, при расчётах режимов резания принято Z>pi> = 120 мин. или 2ч.
F>д> - действительный годовой фонд времени работы единицы оборудования, F>д> = 4015 часов;
t>шт> – норма штучного времени обработки детали инструментом i-го наименования;
Ц>i> – цена инструмента i-го наименования.
> > руб.
Расчёт внутризаводской оптовой цены одной детали
|
№ п/п |
Статьи затрат |
Ед. измерения |
Затраты |
|
1 |
Сырьё и основные материалы |
Руб. |
9,44 |
|
2 |
Топливо и энергия на технологические цели |
Руб. |
10,5 |
|
3 |
Основная заработная плата основных рабочих |
Руб. |
14,96 |
|
4 |
Дополнительная заработная плата основных рабочих |
Руб. |
7,48 |
|
5 |
Единый производственный налог основных производственных рабочих |
Руб. |
5,03 |
|
6 |
Затраты на инструмент |
Руб. |
196,94 |
|
7 |
Общепроизводственные расходы |
% |
250 |
|
Руб. |
543,38 |
||
|
8 |
Общехозяйственные расходы |
% |
85 |
|
Руб. |
184,75 |
||
|
9 |
Итого производственная себестоимость |
Руб. |
972,47 |
|
10 |
Коммерческие расходы |
% |
4,5 |
|
Руб. |
43,76 |
||
|
11 |
Итого полная себестоимость |
Руб. |
1016,23 |
|
12 |
Прогнозируемая рентабельность изделия |
% |
25 |
|
13 |
Прогнозируемая прибыль |
Руб. |
254,06 |
|
14 |
Итого внутризаводская оптовая цена |
Руб. |
1270,3 |
При этом прибыль на годовую программу составит
П = 254,06·1000 = 254060 руб.
Расчёт капитальных затрат
Капитальные затраты
К>к >= К>об>+К>зд>+К>пр> , где
К>об> – затраты на оборудование;
К>об> = 350000+300000+102500+70000+230000+95000 = 1147500 руб.
К>зд> – затраты на здание, К>зд> = 2275000руб.
К>пр> – затраты на приспособление, К>пр> = 94000 руб.
К>к >= 1147500+2275000+94000 = 3516500 руб.
Расчёт рентабельности
Определение уровня рентабельности производства в целом
> >
> >
Определение уровня рентабельности единицы продукции
> >
> >
Организация обеспечения инструментом производства.
Организационные принципы работы автоматизированной системы инструмента обеспечения (АСИО)
АСИО – включает в себя цеховой склад инструментов, участок размерной настройки инструмента, участок контроля инструмента и участок ремонта оснастки.
К режущему инструменту для станков с ЧПУ предъявляются повышенные требования в отношении точности размеров, геометрии формы, его стабильной стойкости, а так же качества заточки.
Для увеличения производительности работы, сокращения простоев оборудования и улучшения качества продукции на производстве со станками с числовым программным обеспечением, должны быть разработаны системы оперативного обеспечения инструментов станков с ЧПУ. Существуют следующие типы оперативного обеспечения инструментом станков с ЧПУ:
смена инструмента осуществляется самим инструментальным магазином. Но у такого метода существуют недостатки в лице простоев, из-за того, что смена инструмента производится при не работающем станке. Количество инструмента для реализации технологического процесса определяется технологией изготовления а так же расположенный магазин на станке при точной обработке является источником вибрации, что отрицательно влияет на динамические характеристики станка.
Смена осуществляется автооператором. Осуществляется поиск следующего инструмента в процессе обработки, что естественно ведёт к сокращению времени простоев. Но не освобождает от нежелательных вибраций при точной обработке.
С целью устранения вибрации технологической системы обусловленных работой обеспечения системы технического обеспечения, применяются магазины напольного типа.
Поступление инструмента со склада к станкам, в рабочие позиции осуществляется следующим образом:
Через устройство настройки инструмента (УНИ)
На УНИ и загрузкой в стационарные магазины инструментов (СМИ). Или подачи сменными магазинами.
Через устройство настройки инструментов и ЦМИ в инструментальные магазины станков с загрузкой с помощью промышленного робота или автооператора.
Способы замены инструмента
Возможны два основных варианта замены инструмента регламентированная и по отказу.
При замене инструмента по отказу инструмент меняется по мере потери работоспособности, через случайный промежуток времени. Момент износа или поломки должен устанавливаться средствами диагностики или контроля (по величине тока в приводе главного движения, потребляемая мощность двигателя, вибрация в зоне резания, спектр звука и т.д.)
Возможен так же смешанный способ замены инструмента. Он заключается в том, что инструмент меняется через определённый интервал времени, а инструмент вышедший ранее установленного срока заменяется по отказу.
Группа инструментов имеющая равное значение ожидаемой стойкости меняется одновременно по мере достижения заданного значения стойкости. Независимо от времени работы каждого инструмента.
Обычно работа осуществляется по принципу – каждой детали соответствует своя многошпиндельная коробка.
Определение номенклатуры и количества использования инструмента.
Номенклатура режущего инструмента определяется согласно технологического процесса, а расход режущего инструмента определяется так:
> >, где
t>M> – машинное время обработки заготовки
t>n> – стойкость инструмента между заточками
n – число повторяющихся заточек
> >
Размерную настройку инструмента будем осуществлять вне станка.
Целью настройки являются: устранение первоначальной погрешности установки инструмента. Иначе инструмент не может обеспечить заданную точность обработки и как правило требует дополнительной настройки технологической системы по результатам пробного прохода. Осуществляется настройка по размерам измерения положения режущих кромок инструмента на станке. Это наиболее технологично, так как хорошо поддаётся автоматизации, не требуется пробный проход, исключается необходимость настройки инструмента вне станка.
При настройке по размерам измерения на станке, измерение осуществляется специальными измерительными щупами, когирентной детали в соответствующих точках и определяется пространственной геометрией образующейся обрабатываемой заготовки. Относительно его вносятся соответствующие коррективы в управляющую программу.
Так же осуществляется оснащение технического оборудования системы комбинированной настройки по размерам измерения заготовки и инструмента.
Основой контрольно измерительных систем автоматизированных производств является непрерывный автоматический либо автоматизированный контроль станка, заготовок, обрабатываемых деталей, инструмента, оснастки, технологического и производственного процессов, и т.д.
Часть V
Безопасность жизнедеятельности на производстве.
1. Вводная часть
Анализ причин производственного травматизма и профессиональных заболеваний – это исходное положение для инженерных решений при проектировании безопасных методов труда.
При анализе несчастных случаев необходимо иметь в виду, что они не являются случайными, а обусловлены теми или иными причинами. Задача и состоит в том, чтобы выявить и исследовать эти причины.
Необходимо обеспечить безопасность труда при обработки детали типа "корпус" в механическом цехе на следующих станках: токарно-револьверный станок с ЧПУ 1В340 Ф30, вертикально-сверлильный станок 2М112, вертикально-сверлильный станок 2Н118, резьбонарезной и резьбофрезерный станок полуавтомат 2056, вертикально-сверлильный станок 2Н125. А также при применении химического окисления корпуса в гальванической ванне.
При обработке корпуса применяются следующие инструменты: расточные проходные и резьбонарезные резцы, простые и составные свёрла, метчик, составной зенкер, напильник.
Смена инструмента производится автоматически при помощи револьверной головки.
Анализ опасных, вредных факторов и чрезвычайных ситуаций при эксплуатации роботизированного комплекса на базе токарно-револьверного станка с ЧПУ 1В340 Ф30 оснащённого промышленным роботом М20П.40.01.
1.1. Незащищенные движущиеся и вращающиеся части могут нанести травму техническому персоналу при соприкосновении с ними. К ним относятся: шпиндель, режущий инструмент, стол, инструментальный магазин, заготовка при вращении, а также подвижные части ПР М20П.40.01.
1.2. Возможность вылета заготовки из патрона, разлет стружки, частиц металла от скола инструмента, в результате возможно повреждение открытых участков тела технического персонала.
1.3. Повышенная температура материалов, заготовок, поверхностей оборудования, инструментов. При обработке на станке стружка, температура которой достигает порядка 400-500º С, вылетает из зоны обработки на расстояние до 10 м. При этом она может травмировать обслуживающий персонал. Причинив физический вред в виде ожогов, а также вызвать возгорание одежды и легковоспламеняющихся материалов, находящихся в цехе.
1.4. Повышенный уровень шума и вибрации при работе оборудования. Возникающий в процессе работы оборудования шум отрицательно сказывается на работоспособности и здоровье человека, источником шума является работающее оборудование. Утомление рабочего из-за шума приводит к травмам и увеличивает число ошибок в работе. Повышенный уровень вибрации нарушает физиологические функции организма (головные боли, микро-сотрясения внутренних органов, нервные расстройства, понижение работоспособности). Источником вибрации являются: несбалансированное приспособление, неправильно выбранные вылеты инструментов, неисправность в гидросистеме.
1.5. Возможность разрыва трубопровода гидросистемы. Масло в гидросистеме станка находится под давлением 6 МПа. Поэтому при разрыве трубопровода могут возникнуть травмы технического персонала. Повышение давления в гидросистеме могут привести к разрушению гидросистемы из-за усилия зажима тянущих, толкающих устройств.
1.6. Во время работы на станке возможно получение электротравм. При соприкосновении к токоведущим частям электрооборудования, находящегося под напряжением во время проведения работ по наладке и ремонту, а также при прикосновении не к токоведущим частям станка, случайно оказавшимся под напряжением, вследствие повреждения изоляции проводов или другой неисправности.
1.7. Короткие замыкания, перегрузка эл.сети, могут привести к возникновению пожара.
1.8. Возможность поражения эл.током при замыкании фазы на корпус и плохом заземлении станка. Станок подключен к четырехпроводной сети переменного тока напряжением 380 В и частотой 50 Гц. Прикосновение к токоведущим частям электрооборудования может привести к серьезным электротравмам. При отсутствии или при повреждении защитного заземления вследствие неисправности изоляции, также возможно получение электротравм при прикосновении к токоведущим частям оборудования.
1.9. Использование в технологическом процессе смазывающих охлаждающих технических сред (СОТС). Попадание СОТС на незащищенные участки кожи может привести к раздражению, ожогам кожи и появлению маслянистых угрей, возникновению которых способствуют микротравмы (ссадины, царапины). Вследствие испарения жидкостей аэрозолями СОТС загрязняется зона дыхания рабочих. При попадании при разбрызгивании СОТС на слизистую оболочку глаз или органов дыхания может вызвать химический ожог и другие травмы.
1.10. Недостаточная освещенность на рабочем месте может привести к быстрой утомляемости, снижению внимания, что в свою очередь может привести к получению травм и при постоянном перенапряжении зрения к его ухудшению и заболеваниям центральной нервной системы. От освещения зависит также производительность труда , качество и точность выпускаемой продукции.
1.11. Несоответствие параметров микроклимата норме может привести к различным простудным заболеваниям, гипертоническим, костно-мышечного аппарата, кислородному голоданию мозга и т.д.
1.12. Нарушение синхронной работы манипулятора и оборудования, а также погрешность позиционирования инструмента при захвате захватным органом может привести к сбою инструментообеспечения и остановке всей программы в целом, а также к выходу из строя механизма автоматической смены инструмента.
1.13. Возможность повышения номинальных технологических усилий и моментов. При неправильно выбранных режимах резания, скорости резания и подаче может произойти поломка инструмента. Это может привести к вылету отломанных частей в сторону обслуживающего персонала.
1.14. Внезапное прекращение подачи электроэнергии может привести к поломке инструмента находящегося в зоне обработки. Может произойти произвольное перемещение (по инерции) стола и шпиндельного узла не ограниченное датчиками положения т.к. электроэнергия отключена. При внезапном повторном включении оборудования, система управления может вызвать произвольную программу, что может вызвать перемещение отдельных узлов, их поломку и нанесение травм оператору или обслуживающему персоналу.
1.15. Возможность возникновения пожарной опасности. Пожароопасность возможна и от короткого замыкания в сети 380 В., при длительных перегрузках двигателей, приводов, отдельных элементов, при работе трансформаторов или силовых элементов в блоках схем; от нарушения тепловых режимов работы радиоэлектронных элементов в схемах блоков системы управления, при неправильном выборе изоляционных материалов, при возникновении короткого замыкания в электрических схемах; при использовании вместо сетевых предохранителей различного рода перемычек; при попадании искр или стружки с высокой температурой на легко воспламеняемые материалы (ветошь, спецодежду, масло и т.д.). Возникновение пожаров может нанести значительный ущерб оборудованию, различные травмы (в плоть до летального исхода) обслуживающего персонала.
1.16. Возможность вылета инструмента из шпинделя станка может произойти из-за перекосов конической базирующей части инструментального блока. Вылет инструмента может привести к нанесению травм обслуживающему персоналу, повреждениям инструмента, детали.
1.17. Нерациональная организация рабочего места может привести к быстрой утомляемости оператора. Близкое расположение поста управления, зоны обработки, движущихся элементов оборудования создает дополнительную возможность нанесения травм.
1.18. Возможность возникновения радиопомех при прокладке силовых кабелей рядом с ЧПУ, а так же при работе другой электрической техники,
находящейся в непосредственной близости с ЧПУ, может привести к потере работоспособности системы ЧПУ и сбою программы.
1.19. Поражение зданий и сооружений молнией является одной из наиболее серьезных ситуаций, так как может привести к возгоранию и взрывам оборудования и зданий в целом, а, следовательно, к травмам большого количества работающих и к смертельным случаям.
Целью внедрения безопасных методов труда является сведение к минимуму процента риска приводящего к выше перечисленным случаям.
2. Основная часть
На основании приведенного выше анализа опасных и вредных факторов более подробно опишем мероприятия обеспечивающие безопасность при работе на станках.
2.1. Для защиты технического персонала движущиеся части станка закрываются кожухами и ограждениями, окрашенными в желтый сигнальный цвет. В ограждении зоны имеется смотровое окно, закрытое защитным экраном. Ограждения имеют рукоятки и скобы для быстрого и удобного открывания. Одним из основных требований предъявляемых к ограничению зоны резания является хорошая видимость места обработки через смотровое стекло. Материал смотрового окна должен обладать следующими признаками: прочностью на удар, хорошей сопротивляемостью действию стружки, устойчивостью к высокой температуре стружки. Толщина стекла не менее 4 мм (по ГОСТ 8435 – 76).
2.2. В станке с ЧПУ 1В340 Ф30, на котором обрабатывается корпус в гидравлическом патроне, направление крепежной резьбы противоположно направлению вращения шпинделя, поэтому самовывинчивание в результате совпадений не произойдет.
2.3. Для предотвращения вылета из зоны обработки изделий, инструмента, стружки и т.д. предусмотрено защитное ограждение из листовой стали толщиной 1 мм.
2.4. Допустимый уровень шума станка достигается снижением уровня шума от основных источников, а именно: от электродвигателя главного движения, механизма подачи. Для снижения уровня шума большое значение имеет качественное изготовление деталей, узлов, тщательная статическая и динамическая балансировка вращающихся деталей станка. Для снижения шума применяют смазку. Шум снижается применением высокомоторных двигателей в приводах, т. к. отпадает надобность в многоступенчатых редукторах, которые являются источником шума. Все перечисленные мероприятия обеспечивают уровень шума станка, близкий к нормативному, равный 80 дБа (согласно ГОСТ 12.1.003-83. «ССБТ. Шум. Общие требования к безопасности.»)
Уровень вибрации, возникающий
на рабочем месте при работе станка
в
эксплуатационном режиме, достигается
путем превращения энергии механических
колебаний в другие виды энергии. Для
уменьшения вибрации используют установку
станков на виброизоляционные опоры
резиновые или пружинные на 10÷15 мм.
от уровня пола.
2.5. Номинальное давление
гидросистемы станка с ЧПУ 1В340 Ф30 6 МПа,
пневмосистемы 0,5 МПа. При повышении
номинального давления гидросистемы на
0,3 МПа с помощью системы обратного
клапана
лишнее масло сбрасывается в бак
гидросистемы. Рабочее место
располагается
на безопасном расстоянии от гидросистемы,
которая закрыта
защитным ограждением
в виде металлического кожуха из стального
листа
толщиной 2 мм. Контроль давления
в гидросистеме осуществляется при
помощи манометра. При падении давления
в гидросистеме ниже 5,6 МПа срабатывает
запорный клапан, и давление выравнивается
за счет гидроаккумулятора. Аналогичное
устройство предусмотрено и в пневмосистеме
модуля. При повышенном давлении в системе
на 0,2 МПа система обратного клапана
стравливает излишки давления. При
падении давления на 0,15 МПа с помощью
обратного клапана давление выравнивается
за счет аккумулирующего ресивера.
2.6. Для защиты от поражения электрическим током предусмотрено защитное заземление всех корпусов, станин, электрошкафов, прочих металлических конструкций. Номинальный ток станка с ЧПУ 1В340 Ф30 равен 80 А., поэтому диаметр контактной площадки 16 мм., диаметр болта для заземления М 6, т.к. применяется резьбовое соединение болтом. Болт выполнен из стали 20 с защитным покрытием – оцинкованием. Рядом с болтом для подключения заземления прикреплен при помощи заклепок знак заземления нестираемый при эксплуатации. Против возможного ослабления контакта между заземляющим проводником и болтом приняты соответствующие меры - предусмотрены прижимные шайбы. Поскольку напряжение оборудования применяемого в цехе 380 В, то необходимо его заземление. Заземление располагают вокруг (заземленного) оборудования на небольшом расстоянии друг от друга. Токоведущие части имеют надежную изоляцию.
2.7. В целях предупреждения пожаров из-за токов короткого замыкания сопротивление изоляции электрооборудования обеспеченно не менее 1 Ом.
2.8. Для предотвращения замыкания фазы на корпус используют контурное заземление - т.е. расположение заземления по контуру на небольшом расстоянии друг от друга, что дает следующие преимущества. После растекания тока заземлителей при контурном заземлении накладывается и любая точка поверхности внутри контура имеет значительный потенциал. В результате ток, протекающий через человека, касающегося корпуса (станка) будет значительно меньше, чем при использовании выносного заземления.
2.9. Станки, на которых применяют обработку СОТС, оборудованы сборниками и ограждениями, не допускающему их разбрызгивания.
2.10. В цехе групповой обработки корпусов параметр зрительной работы - II В. Общее освещение выполнено светильниками с ртутными лампами ДРП — 700. Светильники подвешены на высоте 6 м. Нормируемая освещенность и освещенность фактическая представлены в таблице .
Освещенность производственного участка от общей системы освещения.
|
Наименование участка |
разряд |
норма освещенности, лк |
фактическая освещенность, лк |
|
Механический цех Станки с роботом при постоянном пребывании людей |
IIв |
750 |
760 |
Данные о фактической освещенности на участке взяты из санитарно-технического протокола. Из таблицы 1 видно, что на участке, где обрабатывается группа корпусов параметры освещенности соответствуют нормам на рабочих местах.
Местное освещение на рабочих местах выполнено на лампах накаливания с питающим напряжением 24 В. Местное освещение выполнено непосредственно над рабочей зоной, где происходит технологический процесс. Общее освещение цеха сочетается с устройством аварийного освещения. Так как цех, где происходит групповая обработка корпусов относится к III категории помещений по аварийному освещению, т.е. при авариях или других вынужденных ситуациях работа в цехе может быть приостановлена, аварийное освещение для целей эвакуации предусмотрено над уровнем пола по линиям основных проходов не менее 0,3 лк. Питание аварийного освещения осуществляется от независимого источника питания. Это может быть аккумуляторная батарея, бензоэлектрический аппарат, а также независимыми считаются 2 секции сборных станций, линий питающихся от разных секций. Кроме независимого источника питания аварийное освещение имеет независимую цепь по всем звеньям. При исчезновении напряжения на шинах переменного тока сеть аварийного освещения автоматически переключается на питание от независимого источника.
Питание освещения возможно при отключении автомата, включается в результате аварии или перегрузки, поэтому данная схема свойственна для нашего механического цеха, где нет необходимости продолжать работу при отключенном освещении и требования для эвакуационного освещения системы.
2.11. Параметры микроклимата устанавливаются в зависимости от периода года и категории тяжести работ. В механическом цехе групповой обработки корпусов категория работ средней тяжести.
Нормируемые и фактические параметры микроклимата на производственном участке.
|
Период года |
Категория работ |
Температура, оС |
Относительная влажность, % |
Скорость воздуха, м/>с> |
|||
|
фактич. |
допустим. |
фактич. |
допустим. |
фактич. |
допустим. |
||
|
холодный |
средней тяжести IIа |
19 |
15-24 |
40-60 |
<75 |
0.2 |
<0.3 |
|
теплый |
средней тяжести IIа |
22 |
17-29 |
40-60 |
<75 |
0.3 |
<0.5 |
Из таблицы видно, что параметры микроклимата в механическом цехе не превышают допустимые нормы.
2.12. Меры пожарной безопасности при эксплуатации оборудования:
а) Электрооборудование - шкафы, шины, металлические ящики, пульт управления, в которых размещена электрическая аппаратура станка с ЧПУ 1В340 Ф30 относится к классу защиты IР 33. Для охлаждения при выделении тепла достаточно наличия жалюзи - естественного охлаждения. На вентиляционных отверстиях установлены фильтры из металлической сетки, которые предотвращают попадание пыли внутрь устройств. Уплотнители имеют стойкость к вредным воздействиям окружающей среды, масла, СОТС, электролитов, влаги и т. д. В качестве первичных средств пожаротушения в цехе используют в соответствии с нормами площади - огнетушитель химический пенный ОХП-10 - 1 шт. - огнетушитель углекислый ОУ-2 – 1 шт. Вдоль проездов для ликвидации возгорания установлены гидранты на расстоянии 60 м, что соответствует норме (не более 100 м.).
2.13. Инструментальное гнездо магазина состоит из корпуса с неподвижной губкой и подпружиненного рычага. Для предотвращения произвольного отжима рычага под действием центробежных сил и веса оправки предусмотрена механическая блокировка с помощью подпружиненного толкателя с пазом, усилие пружины которого преодолевается в позиции смены инструмента и в позиции загрузки.
Для предохранения от выпадения оправки при повороте руки манипулятора во время смены инструмента имеется механическая блокировка в виде толкателей с вырезами. Эта конструкция предусматривает безопасность и надежность работы автоматизированного инструментального узла.
2.14.Организация рабочего места у роботизированного комплекса предусматривает положение оператора "стоя". Цветовое оформление станка серое, не утомляющее зрение оператора.
Рабочее место расположено напротив зоны резания за ограждением ПР М20П.40.01, позволяющим наблюдать за ходом выполняемых операций технологического процесса станком и промышленным роботом. При расположении оператора лицом к комплексу, справа находится модуль управления. В его состав входит дисплей, фотосчитывающее устройство, пульт оператора. Высота нижней кромки модуля управления 1000 мм., верхней кромки 1720 мм.
2.15. В целях защиты системы управления от радиопомех, от внешних источников предусмотрено защитное использование шкафов из листовой стали толщиной 0,8 мм. Так как система управления расположена в общем, шкафу, то каждый из её функциональных блоков размещен за металлическими перегородками, выполняющими роль экранов. Все жгуты проводов разводки экранируются. Изменение тока в индуктивной цепи является одним из источников помех. Для ослабления их воздействия применяется RC-цепочки, размещаемые параллельно с катушками индуктивности.
2.16. Молниезащита применяется для защиты зданий и сооружений от прямых ударов молнии. Молниеотвод состоит из несущей части (опоры), молниеприемника, токоотвода, заземлителя. Молниеприемник выполняется из профилированной стали не менее 100 мм. и длиной 200 - 1500 мм., он соединен с токоотводом, которым может служить металлическая опора молниеотвода или стальной проводник сечения не менее 48 мм. 3ащитное действие молниеотвода основано на том, что он ориентирует на себя разряд молнии, при этом него образуется пространство, защищенное от поражения молнией, называемое защитной зоной.
Расстояние от заземляемых объектов до молниеотвода должна быть не менее 5 м., во избежание разряда между молниеотводом и объектом защиты.
Сточные воды, отводимые с территории промышленных предприятий, по своему состоянию могут подразделяться на три вида:
1. Производственные - использованные в технологическом процессе;
2. Бытовые — от санитарных узлов и душевых;
3. Атмосферные - дождевые и от таяния снега.
Производственные сточные воды делятся на две категории: загрязненные и не загрязненные (условно чистые). Загрязненные сточные воды содержат различные примеси, в зависимости от их назначения. Во всех случаях очистки сточных вод первой стадией является механическая очистка, предназначенная для удаления взвесей и дисперсно—компоидных веществ (частиц). Последующая очистка от химических веществ осуществляется различными методами физико-химическими (флотация, абсорбция, ионообмен и т.д.), химическими (реагентная очистка), электрохимическими, биологическими. Во многих случаях приходится применять комбинацию указанных методов.
Для обработки детали "корпус" применяется эмульсия. Для эмульсированых примесей применяется - отстаивание флотация, коагуляция.
Для приготовления 1 т эмульсии требуется:
1- 30 ÷50 кг
2- 1 кг нитрата натрия
3- 100 г кальцинированной соды для поддержания РН в пределах 8÷8.5
4- 950 кг воды .
5- 1 г хлористого кальция.
Слитую со станков отработанную эмульсию собирают в цехах в специальную тару - бочки и направляют на очистные сооружения. Значительная часть СОТС (до 30%) теряется вследствие прилипания к металлической стружке. Процесс извлечения СОТС из стружки разбивается на следующие стадии: сбор стружки, отделение СОТС от стружки в сепараторах, регенерация отдельной СОТС, технологии их приготовление и использования.
Задача очистки сточных вод, содержащих СОТС, сводится к разделению эмульсии на две фазы: воду и масло. Разложение эмульсии производится коагуляцией и флотацией. Обработанная эмульсия из цеха собирается в буферную емкость — сборник и по напорному трубопроводу насосом подается в камеру подкисления, куда из дозатора, питаемого из бака, поступает серная кислота. Полное разрушение эмульсии производится при взаимодействии с серной кислотой, когда значение водородного показателя становится равный двум, доза серной кислоты –9,2 кг/мин.
После разложения насос подает воду с маслопродуктами на флотацию в `камеру. 3десь происходит отделение масла от воды. В каждой камере установлен лопастный шлемпер. 3а лопастями шлемера создается пониженное давление, вследствие чего воздух всасывается из атмосферы по воздушной трубе и дисперсируется в жидкости на пузырьки, которые флотируют капельки масла. Скорость всасывания масла практически равна скорости всплывания пузырьков воздуха. За счет флотации скорость разделения увеличивается до 900 раз. Продолжительность флотации 15÷20 мин. Остальное содержание масла не превышает в среднем 5÷8 мг/л при начальном содержании 1000 мг/л. Всплывающее во флотационной камере масло в виде пенного продукта непрерывно удаляется скребками и направляется в сборник, а вода подается в нейтрализатор, где значение водородного показателя повышается до 6,5÷8,5. Это достигается автоматической подачей щелочи из емкости через дозатор. Обезвреженная вода поступает в канализацию.
3. Заключительная часть
С применением и соблюдением мер по охране труда на предприятии можно получить максимально безопасное производство. Вследствие чего имеем фактическую экономию материальных и производственных затрат. Со снижением поломок оборудования уменьшаются затраты на ремонт. При соблюдении всех мер безопасности снижается риск травматизма или летального исхода. Уменьшаются расходы на оплату медицинских больничных листов. Все эти факторы в общей сложности приводят к общей экономии средств. Как правило, применение мер по безопасности жизнедеятельности позволяют существенно увеличить производительность труда.
Заключение
В данном дипломном проекте был представлен технологический процесс изготовления крана вспомогательного тормоза локомотива 172 и сделаны следующие выводы:
в исследовательской части на основе расчетов усилия сжатия пружин предложен вариант модернизации конструкции узла. Для обеспечения технического требования предъявляемого к узлу необходимого и достаточно только одна пружина . Общее усилие, создаваемое сжатыми пружинами (13,8 кгс), намного выше требуемого (6 кгс). В целях экономии целесообразней оставить только одну пружину – 483.031. Т.к. для её сжатия до размера 15±0,5мм. необходимо усилие 9±0,4кгс., что удовлетворяет требованиям, предъявляемым к узлу. Вследствие чего нет необходимости точить, дополнительный выступ 5 на гнезде 172.011 под пружину 150.203. Таким образом, мы сокращаем время на обработку детали, сборку узла и конечную стоимость изделия.
Список использованной литературы.
Методическая
Технология машиностроения: Методические указания к выполнению дипломного проекта (для инженеров)./ Сост. И.М.Колесов, Н.А.Сычёва, Л.М.Червяков. – Москва: МГТУ «СТАНКИН», 1999г. (№44)
Технологические процессы и операции в курсовых и дипломных проектах: Методические указания. / Сост. В.В.Плешаков, Т.В.Никифорова, В.К.Старков. – Москва: МГТУ «СТАНКИН», 1999г. (№37)
Проектирование технологической оснастки: : Методические указания к выполнению курсового проекта./ Сост. А.Л.Пиртахия. – Москва: МГТУ «СТАНКИН», 2001г. (№129)
Основная книжная
Справочник технолога-машиностроителя 1985 А.Г.Косилова, Р.К.Мещеряков Тома № 1.
Справочник технолога-машиностроителя 1985 А.Г.Косилова, Р.К.Мещеряков Тома № 2.
Обработка металлов резанием: Справочник технолога / А.А.Панов и др. под редакцией Г.А.Монахова. – Москва: Машиностроение, 1988г.-736с.
Общемашиностроительные нормативы времени на слесарную обработку деталей и слесарно-сборочные работы по сборке машин. Мелкосерийное и единичное производство. – Москва: Машиностроение, 1974г.-219с. (каф.)
Режимы резания металлов: Справочник. / Под редакцией Ю.В.Барановского. – Москва: Машиностроение, 1972г.-407с.
Общемашиностроительные нормативы режимов резания для технического нормирования работ на металлорежущих станках. – Москва: Машиностроение, 1974г.-354с.
Общемашиностроительные нормативы времени вспомогательного на обслуживание рабочего места и подготовительного для технического нормирования станочных работ. Серийное производство. – Москва: Машиностроение, 1974г.-136с.
Справочник. Приспособления для металлорежущих станков. / А.К.Горошкин – Москва: Машиностроение, 1979г.-303с.
Справочник в 2х томах. Станочные приспособления / Б.Н.Вардашкин и др. – Москва: Машиностроение, 1984г. Т.1-136с., т.2-656с.
Технология машиностроения (специальная часть):
Учебник для машиностроительных специальностей вузов/ А.А.Гусев, Е.Р.Ковальчук, И.М.Колесов и др. – М.: Машиностроение,1999. – 480 с.
Основы технологии машиностроения:
Учебник для машиностроительных вузов/И.М.Колесов – М.: Машиностроение, 1997. – 592 с.
Методическое руководство по курсовому проектированию/Н.Г.Латышев – М.: Мосстанкин, 1982. – 52 с.
Взаимозаменяемость в машиностроении и приборостроении/А.И.Якушев – Москва – 1970.
Руководящие материалы по пневмооборудованию станков. Воздухораспределительная и контрольно-регулирующая аппаратура. – Москва – 1961.
Технологические процессы и операции в курсовых и дипломных проектах: Метод. указ./Сост. В.В.Плешаков, Т.В.Никифоров, В.К.Старков. – М.: МГТУ ”Станкин”, 1999. – 43с.
Курс лекций по предмету Технология машиностроения.
БЖД
1. ГОСТ 12.1.001 – 89.ССБТ Опасные и вредные производственные факторы. Классификация.
2. ГОСТ 12.2.009 – 80. ССБТ Станки металлообрабатывающие. Общие требования безопасности.
3. ГОСТ 12.3.002 – 75.ССБТ Обработка металлов резанием. Требование безопасности.
4. ГОСТ 12.2.0720.ССБТ. Роботы промышленные, робототизированные технологические комплексы и участки. Общие требования безопасности.
5. Правила устройств электроустановок. ПУЗ - 85 МИНЭНЕРГО СССР М: Энерго-атомиздат 1986г.
6. Охрана труда в машиностроении. Е.Я. Юдин. С.В. Белов и др. М. Машиностроение 1983 г.
7. Справочная книга по охране труда в машиностроении А.Н. Борисова. Москва Машиностроение 1983 г.
8. Средства защиты в машиностроении: расчет и проект. Справочник. С.В. Белов М. Машиностроение 1989 г.
9. Безопасность производственных процессов. Справочник. С.В. Белов М. Машиностроение 1989 г.
10. ГОСТ 12.2.007.0 - 75 ССБТ. Изделия электротехнические. Общие требования безопасности.
11. Пособие по расчету и проектированию естественного, искусственного и совмещенного освещения (к СНиП - 4 - 79) Москва. Стройиздат 1985 г.
12. ГОСТ 12.1.005 - 88.ССБТ.Общие санитарно — гигиенические требования к воздуху рабочей зоны.
13. Машиностроение и охрана окружающей среды. Ю.М. Ашеров Л. Машиностроение 1979 г.
14. ГОСТ 12.1.003 – 90. Вибрация, общие требования безопасности. 15. ГОСТ 12.1.003 - 83 ССБТ Шум, общие требования безопасности.