Замена цилиндровой втулки
Содержание.
стр
Введение ………………………………………………………………………
Характерные дефекты цилиндровых втулок, причины их возникновения
3. Предварительная дефектация втулки цилиндров …………………………..
4. Демонтаж втулки цилиндров…………………………………………………
5. Дефектация втулки цилиндров……………………………………………….
6. Монтаж втулки цилиндров……………………………………………………
7. Режим обкатки судового дизеля 8ЧН20/26………………………………….
7.1.Порядок проведения обкатки…………………………………………………
7.2 Контроль процесса обкатки…………………………………………………..
8. Программа швартовных и ходовых испытаний судового дизеля 8ЧН20/26
8.1. Швартовные испытания………………………………………………………
8.2. Ходовые испытания…………………………………………………………..
9. Список использованной литературы…………………………………………..
Приложения:
Ведомость дефектации
Ремонтная ведомость
Маршрутная карта
Рабочий чертеж детали
Сборочный чертеж детали
1. Введение
Под действием внешней среды и рабочих нагрузок во время эксплуатации происходит постепенное ухудшение качества судовых технических средств (СТС) и судна в целом. Этот неизбежный процесс старения вызывает необходимость проведения технического обслуживания (ТО) и ремонта судов, предусматривая для этой цели соответствующие затраты времени, трудовых и финансовых ресурсов.
Под ремонтом понимается комплекс операций по восстановлению исправности или работоспособности механизма (детали). В отличие от ремонта, техническое обслуживание – это комплекс операций по поддержанию исправности или работоспособности механизма (детали) при эксплуатации.
Курсовой проект имеет целью закрепления практических навыков в разработке технологической документации по ремонту судовых технических средств.
В процессе эксплуатации двигателя был выявлен ряд факторов неудовлетворительной работы двигателя:
При проведении анализа смазочного масла двигателя обнаружено наличие воды.
Уровень масла в картере двигателя увеличивается с образованием эмульсии.
Заметное снижение уровня в расширительной цистерне двигателя и, как следствие, повышение температуры охлаждающей воды в зарубашечном пространстве блока (по причине ухода воды в картер).
По этим результатам было принято решение демонтировать цилиндровую втулку для дефектации и, в случае необходимости, ремонта или замены.
В соответствии с заданием на курсовой проект необходимо разработать технологию замены цилиндровой втулки.
2. Характерные дефекты цилиндровых втулок, причины их возникновения, способы дефектации
Во время эксплуатации двигателя внутреннего сгорания возможно образование таких дефектов цилиндровых втулок как: коррозия, трещины, наработки, натиры, риски, задиры, забоины, разъедания, увеличение диаметра, овальность и конусообразность рабочей поверхности, ослабление втулки в местах посадки.
Таблица 2.1- Характерные дефекты цилиндровых втулок, причины их возникновения, способы дефектации
Дефект |
Причина |
Способ дефектации |
1.Изнашивание рабочих поверхностей втулок |
Причина связана с давлением газов и температурным режимом-ухудшение условий смазки при работе двигателя в условиях высоких температур.Если двигатель работает на тяжелых сортах топлива, то возможно явление нагаро - и коксообразования в зазорах между поршнем и втулкой, что в дальнейшем приведёт к интенсивному абразивному износу рабочей поверхности втулки.Возможно ухудшение условий смазки между втулкой поршнем, что может привести к появлению сухого трения поршневых колец о втулку, что приведет к износу втулки и колец. |
Дефектацию проводят с помощьюмикрометрического нутромера или индикаторным нутромером, путём замера диаметра рабочей поверхности втулки.Измерения производят в трех сечениях по высоте в двух взаимно перпендикулярных плоскостях.Также дефект можно обнаружить невооруженным глазом или с помощью лупы. |
|
2.Образование задиров на рабочих поверхностей втулок |
Плохая смазка или нарушение охлаждения поршня.Задиры могут возникать вследствии нагарообразования и попадания нагара на поверхность трения.Недостаточный зазор в замке поршневых колец и осевых смещений колец. |
Визуальный осмотр с помощью лупы. |
Продолжение таблицы 2.1- Характерные дефекты цилиндровых втулок, причины их возникновения, способы дефектации
Дефект |
Причина |
Способ дефектации |
|
Образование трещин в опорном бурте и по поверхности втулки. |
Несовпадение осей симметрии опорного пояска и уплотнительной канавки втулки. Трещины появляются в результате действия нормальной силы, возникающей при перекладке поршня, при этом наблюдается “раскачивание” втулки в блоке цилиндров при зажатом бурте, следовательно, увеличиваются напряжения, что приводит к появлению трещин в бурте. Высокие температурные напряжения также могут стать причиной образования трещин во втулке, и как следствие, выхода ее из строя. Первопричиной данного дефекта служит высокий температурный перепад между стенкой со стороны охлаждающей жидкости и стенкой со стороны газов. При пусках и остановках двигателя также наблюдается резкое изменение температурных напряжений. |
Такие дефекты выявляются визуальным методом, с помощью лупы, керосино – меловым методом, а так же по результатам гидравлических испытаний. |
|
Коррозионно-кавитационное разрушение поверхности втулки со стороны охлаждения. |
Причинами дефекта могут быть: не соблюдение технологий при изготовлении втулки; неудовлетворительное качество материалов для изготовления втулки; неудовлетворительная подготовка охлаждающей воды для дизелей (солесодержание и жесткость выше нормы); вибрации, возникающие при работе двигателя. |
Дефектацию проводят визуально и при помощи лупы. |
3. Предварительная дефектация
Некоторые дефекты цилиндровых втулок можно определить не демонтируя втулку из блока цилиндров . При визуальном осмотре будет заметна течь из зарубашечного пространства блока, если уплотнение посадочного пояска разрушено полностью до нижнего уплотнительного кольца. Это приведёт к обводнению смазочного масла, с потерей его свойств, неравномерности охлаждения цилиндровой втулки, и как следствие, возможен аварийный отказ дизеля (задир в узле поршень – втулка, перегрев и выход из строя рамовых подшипников и т.д.).
При разрушение посадочных поясков наблюдается уменьшение наружного диаметра пояска, что приводит к ослаблению посадки втулки в блоке из-за появления зазора между посадочными поверхностями сопрягаемых деталей. В связи с возможными последствиями данного дефекта предлагается обязательно проводить предварительную дефектацию рассматриваемого узла во время остановок двигателя, плановых осмотров. [1]
4. Демонтаж цилиндровой втулки
1.Разборку двигателя 8 VD26/20 производить на судне, отбалластированном с дифферентом на корму и с креном не более 1о.
2.Температура в машинном отделении и помещениях для хранения или ремонта деталей должна быть не ниже 8оС.
3.С целью повышения производительности труда максимально использовать имеющиеся фирменные приспособления и инструмент.
4.Удалить КИП.
5.Открыть крышки картера и удалить кожухи распределительного вала.
6.Разобрать и снять, забирковать трубопроводы – топливный, масляный, водяной, воздушный, всасывающий и выхлопной. Чтобы в трубопроводы не могли попадать грязь и посторонние предметы, в отверстия труб и фланцев установить деревянные пробки или специальные заглушки.
7.Восстановить отметки мертвых точек мотылей коленчатого вала.
8.Проверить правильность установки газораспределения всех цилиндров и результаты проверки занести в формуляр доремонтного состояния двигателя.
9.Разобрать и снять тяги и валики привода регулятора, топливного насоса.
10.Разобрать соединительные валики и снять стойки с клапанными рычагами и толкателями.
11.Удалить клапаны и форсунки рабочего цилиндра.
12.Снять, отдав гайки, цилиндровые крышки.
13.Отдать стяжные болты и снять нижнюю половину мотылёвого подшипника.
14.Поставить шатун коленчатого вала в ВМТ, ввёрнуть рым-болты в имеющиеся нарезные отверстия в головке поршня, и, при помощи тельфера, извлечь поршень вместе с шатуном из цилиндра.
15.Надежно закрепить поршень вместе с шатуном в МКО во избежание повреждения шатуна и поршня, и их соединения (рекомендуется в опрессовочной).
16.Установить вытяжное приспособление и извлечь втулку.
17.Провести чистку втулки от масла, нагара производить с помощью раствора, содержащего 2,5% каустической соды, 3,5% кальцинированной соды, 0,15% жидкого стекла и 2,5% жидкого мыла. После очистки цилиндровую втулку необходимо обезжирить в подогретом щелочном растворе.
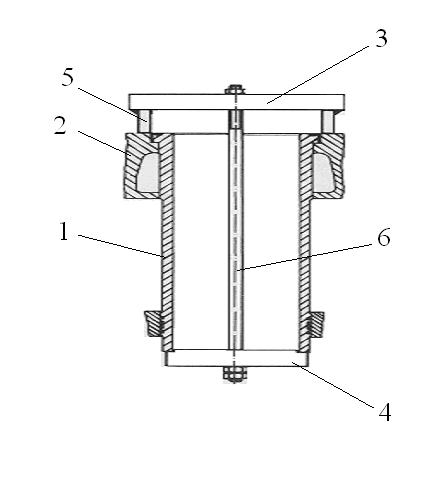
Вытяжное приспособление для втулки цилиндров показано на рис.1

Рис.1-Вытяжное приспособление для втулки цилиндров
1-втулка цилиндров; 2-Блок цилиндров; 3-Верхняя траверса; 4-Нижняя траверса; 5-Упоры ;6-Тяга;
5. Дефектация втулки цилиндра
Проведя внешний осмотр втулки для определения параметров и величины дефектов было обнаружено коррозионное разрушение посадочного пояска.
При дальнейшей дефектации цилиндровой втулки была обнаружена трещина в опорном бурте , которая могла образоваться в результате действия нормальной силы, возникающей при перекладке поршня, при этом наблюдается “раскачивание” втулки в блоке цилиндров при зажатом бурте, следовательно, увеличиваются напряжения, что приводит к появлению трещин в бурте.
Высокие температурные напряжения также могут стать причиной образования трещин во втулке. Первопричиной данного дефекта служит высокий температурный перепад между стенкой со стороны охлаждающей жидкости и стенкой со стороны газов .
Вывод: необходима замена цилиндровой втулки , т.к. цилиндровые втулки с трещинами в бурте не восстанавливают ,их заменяют даже в том случае, если их рабочая поверхность еще пригодна для эксплуатации.
6. Монтаж цилиндровой втулки в блок цилиндров
Новую втулку необходимо промыть и очистить от заводской консервационной консистентной смазки . После этого необходимо произвести наружный осмотр втулки с целью выявления трещин, рисок и задиров.
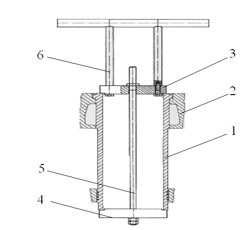
Прежде чем приступить к установке втулки необходимо проверить пятно контакта пояса втулки в блоке цилиндров. Оно должно быть видимым по всей окружности без перерыва и иметь ширину контакта > 80%. Если это не так, то приходится перешлифовать пояс втулки цилиндра в блоке цилиндров при помощи притирочного приспособления, входящего в состав инструментального набора. До этого надо удалить с втулки все резиновые кольца. Притирку осуществляют наждачным порошком или наждачной пастой и обильным количеством масла. После завершения притирки обработанные поверхности надлежит очистить жидким топливом до совершенного удаления всех абразивных частиц без остатка.
Рис.2-Притирочное приспособление втулки цилиндров
1-втулка цилиндра; 2-блок цилиндров ;3-верхняя траверса ;4-нижняя траверса ;5-тяга ;6-рукоятка;
Перед
монтажом их резиновые кольца надо
смазывать мылом . Опорные поверхности
на втулке цилиндра и на блоке цилиндров
подлежат основательной зачистке. Втулку
цилиндра необходимо вмонтировать
так, чтобы маркировка ударом долота
была соосной с серединой выемной канавки
относительно середины цилиндра.
Маркировка ударом долота находится на
блоке цилиндров вблизи перепуска
охлаждающей воды. Выемная канавка
сделана на внешнем крае пояса втулки
цилиндра.После монтажа последней следует
проверить овальность ее вверху и внизу
путем проведения измерений вдоль и
поперек оси двигателя. Если она превышает
величину 0,02мм,то это в большинстве
случаев объясняется наличием резиновых
колец, невыдержанных в размерах. В таком
случае резиновые кольца должны заменяться
иными. Кроме того, нужно обмером при
помощи калиберного щупа проверить, не
прилегает ли
втулка цилиндра одной
стороной к нижней направляющей в блоке
цилиндров, а имеет кругом небольшой
зазор. При замене втулок цилиндров
они должны принципиально снабжаться
новыми резиновыми кольцами.
Гидравлические испытания полости охлаждения производить давлением 0,4÷0,6МПа. Протечки воды из зарубашечного пространства и отпотевания на поверхностях втулки и блока не допускаются.После этого двигатель подвергают обкатке.
7. Режим обкатки судового дизеля 8ЧН20/26.
Обкатка дизеля является заключительной технологической операцией, завершающей процесс постройки или ремонта дизеля. Целью обкатки является подготовка поверхностей трения в узлах двигателя к началу его эксплуатации.
Обкатка – исключительно сложный процесс, протекающий под влиянием большого числа переменных факторов: шероховатости, формы поверхностей, площади фактического контакта, напряженного состояния, направления следов обработки, условий смазки и др. неблагоприятное сочетание этих факторов может затруднять приработку или даже сделать ее невозможной. Дизель в период обкатки необходимо нагружать постепенно, обеспечивая эффективное охлаждение и смазку деталей, тщательно наблюдая за состоянием поверхностей трения. Особое внимание должно уделяться обкатке деталей ЦПГ, так как состояние этих деталей чаще всего определяет надежность, высокое качество работы и ресурс дизеля.
7.1 Порядок проведения обкатки.
Обкатка проводится по программе, под которой понимают совокупность факторов, которые необходимо соблюдать в течение первых часов работы двигателя после сборки: общую продолжительность обкатки, количество обкаточных режимов, продолжительность каждого режима, значение начальной нагрузки и ступени ее повышения при переходе с одного обкаточного режима на другой, частоту вращения дизеля, сорт топлива.
При выборе режима обкатки необходимо руководствоваться рекомендациями завода - изготовителя двигателя.
Рекомендации при проведении обкатки:
начинать обкатку при нагрузке дизеля не более 50 % номинальной;
нагрузку до 90-95 % номинальной повышать постепенно в 5-6 ступеней;
продолжительность работы на каждой ступени составляет 3-4 часа;
на наибольшей нагрузке, принятой для обкатки, продолжительность должна быть не менее 4-6 часов.
Программа обкатки должна согласовываться с Российским Морским Регистром Судоходства в случае, если обкатка отличается от рекомендованной заводом.
Таблица 7.1- Программа обкатки двигателя 8ЧН20/26.
|
Частота вращения, мин-1 |
Нагрузка дизеля |
Продолжительность обкатки |
Примечания |
||||
|
На режиме |
Общая |
||||||
|
% номин. мощности |
кВт |
||||||
|
ч |
мин |
ч |
мин |
||||
|
Пробные пуски дизеля |
- |
-- |
-- |
-- |
-- |
-- |
|
|
500(с останов.) |
0 |
-- |
-- |
33 |
-- |
33 |
Контроль температуры подшипников. Осмотр доступной части втулок. |
|
650(с останов.) |
0 |
-- |
-- |
112 |
-- |
115 |
То же |
|
750(с останов.) |
0 |
-- |
-- |
110 |
-- |
225 |
» |
|
1000(с останов.) |
0 |
-- |
-- |
110 |
-- |
335 |
» |
|
1000(с останов.) |
0 |
-- |
-- |
115 |
-- |
550 |
» |
|
1000 |
0-25 |
-- |
11 |
330 |
22 |
220 |
Ступенчатое увеличение нагрузки до 25% в течение 1ч. 30 мин |
|
1000(с останов.) |
25 |
2220,5 |
11 |
-- |
33 |
220 |
Предварительная регулировка дизеля. |
Продолжение таблицы 7.1- Программа обкатки двигателя 8ЧН20/26.
|
1000 |
0 |
-- |
-- |
115 |
33 |
335 |
Осмотр |
|
1000 |
0-50 |
-- |
33 |
-- |
66 |
335 |
Ступенчатое увеличение нагрузки до 50% в течение 3 часов. |
|
1000 |
50 |
4441 |
22 |
-- |
88 |
335 |
Определение Р>z> на установившемся тепловом режиме. |
|
1000 |
0 |
-- |
-- |
115 |
88 |
550 |
Уменьшение подачи цилиндрового масла |
|
1000 |
0-75 |
-- |
55 |
-- |
113 |
550 |
Ступенчатое увеличениенагрузки до 75% в течение 5 часов. |
|
1000 |
75 |
6661,5 |
22 |
-- |
115 |
550 |
Определение Р>с>, Р>z>,t>г>. |
|
Остановка |
-- |
-- |
- |
- |
-- |
-- |
Осмотр.Уменьшениеподачи цилиндр. масла |
|
1000 |
0 |
-- |
-- |
115 |
116 |
05 |
- |
|
1000 |
90 |
7793,8 |
44 |
-- |
222 |
335 |
Определение параметров. Регулировка дизеля. |
|
Остановка |
-- |
-- |
-- |
-- |
-- |
-- |
Осмотр. Смена масла в ТНВД. Перевод дизеля на сернистое топливо. |
Обкатка дизеля считается законченной, если дизель проработал при 100 %-ной нагрузке без перегрева деталей, ненормальных шумов, стуков и вибраций при практически бездымном сгорании топлива, развивая установленную мощность. Параметры работы дизеля на полной мощности должны соответствовать спецификационным. После обкатки масло в дизеле необходимо заменить.
Для ускорения приработки разработаны и применяются различные методы: специальная механическая обработка поверхностей трения, использование присадок к топливу или маслу на основе органических соединений железа, хрома и алюминия (присадка АЛП-2 по ТУ 38-101-368-75, а также АЛП-3 и АЛП-4).
7.2 Контроль процесса обкатки.
7.2.1 Метод «железо в масле» основан на определении содержания железа в пробе масла с помощью химического или спектрального анализа.
7.2.2 Периодический осмотр колец и цилиндров.
7.2.3 Метод контроля скорости изнашивания цилиндровой втулки и верхнего поршневого кольца с помощью анализа частиц – продуктов износа, содержащихся в выпускных газах дизеля.
7.2.4 По окончании обкатки элементы системы смазки двигателя промыть чистым соляровым маслом, в картер и циркуляционную систему залить чистое эксплуатационное масло.
7.2.5 При обнаружении неисправностей двигатель необходимо остановить до выяснения причины ненормальной работы и её устранения.
7.2.6 После завершения обкатки и устранения всех выявленных неисправностей в работе дизеля и обслуживающих его механизмов и систем произвести регулировку рабочих процессов дизеля и приготовить двигатель к проведению швартовных и ходовых испытаний.
8. Программа швартовных и ходовых испытаний судового дизеля 8ЧН20/26.
8.1. Швартовные испытания
Швартовые испытания проводятся с целью проверки правильности сборки и качества монтажа дизеля, валовой линии, редукторов, муфт, валогенераторов, а также механизмов и систем, обслуживающих дизель; определение готовности дизелей и установки в целом к ходовым испытаниям.
Программа составляется заводом-изготовителем и согласовывается с Российским Морским Регистром Судоходства.
Таблица 8.1- Программа швартовных испытаний двигателя 8ЧН20/26
|
Частота Вращения, мин-1 |
Нагрузка дизеля |
Продолжительность обкатки |
Примечания |
||||
|
На режиме |
Общая |
||||||
|
% ном. мощности |
кВт |
||||||
|
ч |
мин |
ч |
мин |
||||
|
500 |
Холостой ход |
-- |
-- |
55 |
-- |
55 |
|
|
750 |
То же |
-- |
-- |
55 |
-- |
110 |
|
|
1000 |
То же |
-- |
-- |
55 |
-- |
115 |
|
|
1000 |
0-25 |
-- |
-- |
115 |
-- |
330 |
Ступенчатое увеличение нагрузки до 25% в течение 15 мин |
|
1000(с останов.) |
25 |
220,5 |
-- |
330 |
11 |
-- |
|
|
1000 |
25-50 |
-- |
-- |
-- |
-- |
115 |
|
|
1000 |
50 |
441 |
-- |
330 |
11 |
445 |
|
|
1000 |
50-75 |
-- |
-- |
115 |
22 |
-- |
Ступенчатое увеличение нагрузки до 75% в течение 15 мин. |
|
1000 |
75 |
661,5 |
11 |
-- |
33 |
-- |
|
|
1000 |
75-90 |
-- |
-- |
110 |
33 |
110 |
Ступенчатое увеличение нагрузки до 90% в течение 10 мин. |
|
1000 |
90 |
793,8 |
44 |
-- |
77 |
110 |
|
|
1000 |
90-100 |
882 |
-- |
110 |
77 |
220 |
Ступенчатое увеличение нагрузки до 100% в течение 10 мин. |
|
1000 |
100 |
882 |
11 |
-- |
88 |
220 |
|
|
1000 |
Задний ход |
-- |
-- |
330 |
88 |
550 |
Работа дизеля при положении лопастей ВРШ на задний ход |
8.2. Ходовые испытания
Ходовые испытания проводятся с целью проверки основных показателей работы дизеля и соответствия их требованиям утвержденной технической документации на всех эксплуатационных режимах. Проверяются также маневровые качества дизеля и определяются расход воздуха на один пуск, число и продолжительность пусков без пополнения баллонов, минимальное давление в пусковых баллонах, при котором обеспечивается пуск, зоны запретных и критических частот вращения. Ходовые испытания проводятся на режимах свободного хода и траления.
Таблица 8.2- Программа ходовых испытаний двигателя 8ЧН20/26
|
№режима |
Мощность, % от номинала |
Продолжительность испытания дизельной установки, ч |
|
1 |
25 |
0,5 |
|
2 |
50 |
1,0 |
|
3 |
75 |
1,0 |
|
4 |
100 |
6,0 |
|
5 |
110 |
0,5 |
|
6 |
Задний ход |
0,5 |
После окончания ходовых испытаний дизель частично разобрать для осмотра представителем Российского Морского Регистра Судоходства.
9. Список используемой литературы
Гальянов А. П. “Технология и организация судоремонта в рыбной промышленности” - М.: Агропромиздат, 1988.- 303с.
Д. Д. Беньковский “Технология судоремонта” - М.: Транспорт, 1988.
Баева Л. С. Методические указания к выполнению курсового проекта для специальности 240500 “ Эксплуатация судовых энергетических установок” - Мурманск: МГТУ, 2001. – 47с.
Блинов И. С. “Справочник технолога механосборочного цеха судоремонтного завода” – М.: Транспорт, 1979. 704c.
Дайхес М. А. “Ремонт судовых двигателей внутреннего сгорания” – Л.: Судостроение, 1980. – 248с.
Техническая документация на двигатель 8 VD 26/20 AL-2.
