Модернизация узла блокировки капота автомобиля ЗАЗ-1102 Таврия и его модификаций
Министерство образования Автономной Республики Крым
МАЛАЯ АКАДЕМИЯ НАУК ШКОЛЬНИКОВ КРЫМА «ИСКАТЕЛЬ»
Технико – технологическое отделение
Секция транспорта
МОДЕРНИЗАЦИЯ УЗЛА
БЛОКИРОВКИ КАПОТА ДВИГАТЕЛЬНОГО ОТСЕКА АВТОМОБИЛЯ ЗАЗ – 1102 «ТАВРИЯ» И ЕГО МОДИФИКАЦИЙ
Работу выполнил:
Кораблёв Артем, дч
(г.Ялта, пгт. Форос, Форосская ОШ, 10 кл.)
Научный руководитель:
Кораблёв А. Б., инженер – системотехник
санатория «Південний».
г. Ялта, пгт. Форос – 2003 г.
СОДЕРЖАНИЕ.
Информация о проведенных тестах автомобиля ЗАЗ–1102 «Таврия» и его модификаций…………………………….………….4
Анализ результатов краш – тестов и причин невыполнения узлом фиксации капота своих защитных функций………...………7
Введение…………………………………………………………..….3
Предложение по модернизации узла фиксации капота
автомобиля ЗАЗ–1102 «Таврия» и его модификаций ….…………..9
Выводы………………………………………………….………….…11
Список использованной литературы…………………………….…12
2
Введение
Пассивная безопасность автомобиля является одной из важнейших его характеристик. Действующие на Украине стандарты, описывающие требования к испытаниям пассивной безопасности автомобилей, предусматривают прямой лобовой удар о неподвижное препятствие на скорости 50 км/ч. С нынешнего года Европейская комиссия по безопасности автомобилей изменила Правила проведения испытаний пассивной безопасности автомобилей (EuroNCAP). По новым Правилам испытания проводятся не посредством лобового удара, а так называемым «оффсетным», или смещенным ударом с перекрытием, при котором автомобиль врезается в препятствие ровно половиной передней части кузова.
Действительно, по данным ГАИ г. Ялты, в 80% случаев лобового столкновения автомобилей удар происходит левой половиной передней части машины. Это вызвано тем, что водители успевают увидеть приближающийся автомобиль и предпринимают попытку уйти от столкновения в сторону обочины, т. е. вправо, подставляя при этом под удар левую часть передка.
Такой удар является более тяжким испытанием из – за того, что деформируется и поглощает ударную нагрузку лишь часть силовой конструкции кузова.
Я решил посвятить свою работу оценке уровня пассивной безопасности отечественного автомобиля ЗАЗ – 1102 «Таврия» и его модификаций в соответствии с новыми Правилами испытаний EuroNCAP, а так же поиску технических решений, позволяющих увеличить его.
3
Раздел 1
Информация о проведенных тестах автомобиля
ЗАЗ – 1102 «Таврия» и его модификаций.

Рис. 1.1
4
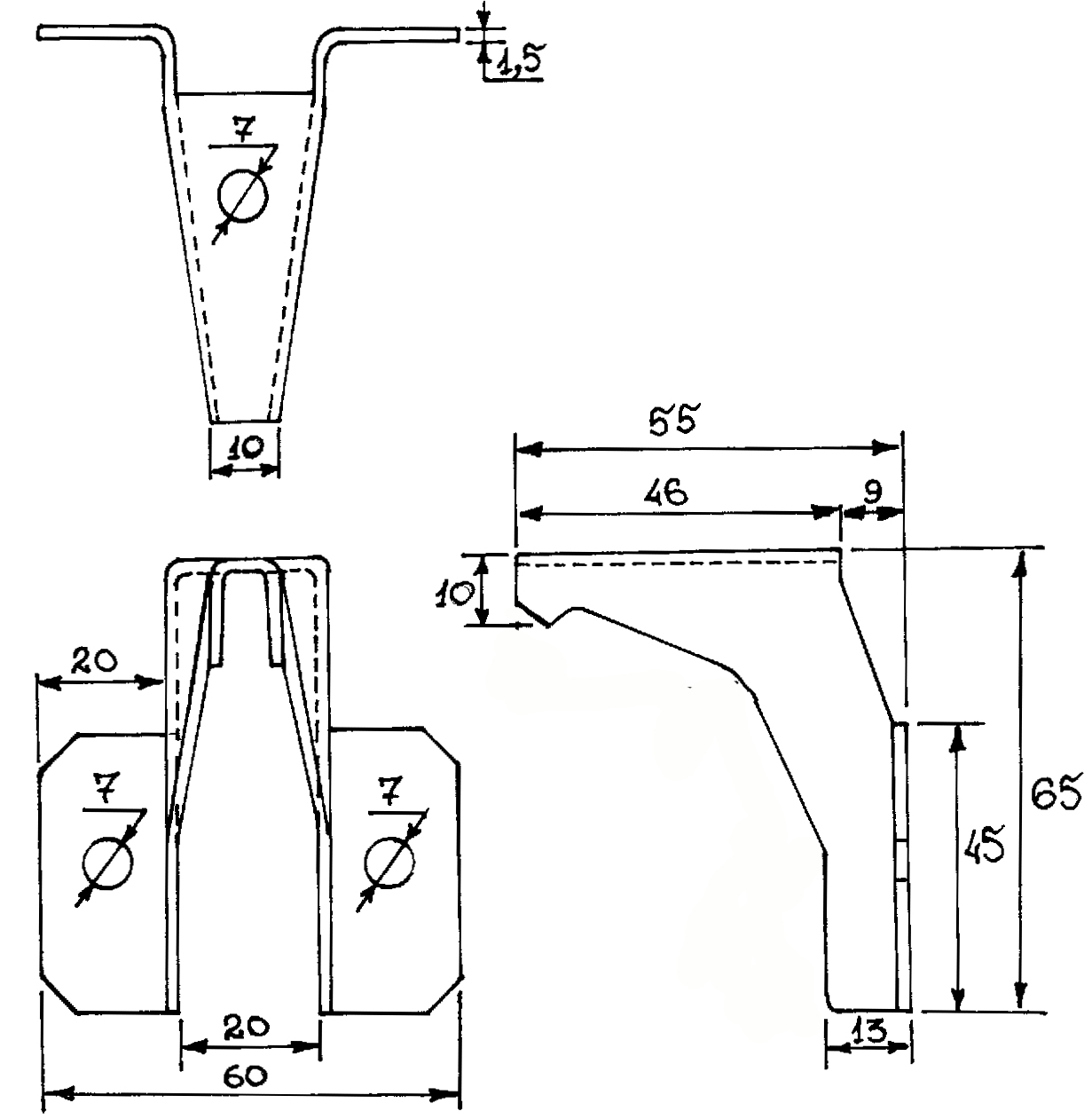
В соответствии с действующими на Украине требованиями испытаний пассивной безопасности, на отечественных автомобилях ЗАЗ – 1102 «Таврия» и последующих его моди-фикациях используется узел блокировки капота двигательного отсека от заднего смещения при лобовом ударе. Этот узел блокировки капота (УБК) состоит из двух мощных проушин, приваренных к капоту, и двух крюков, приваренных точечной сваркой к задней стенке двигательного отсека. В нормальных условиях крюки не достают до проушин, однако при ударной деформации корпуса и смещении капота назад проушины надеваются на крюки и капот блокируется от движения вверх и назад. Изучая устройство автомобиля ЗАЗ – 1102 «Таврия» на базе гаража санатория «Пiвденний», я обратил внимание на то, что УБК выполнен, на мой взгляд, недостаточно прочно для того, чтобы соответствовать требованиям новых Правил испытаний. Проушины узла надежно приварены к капоту, а крюки - приварены к корпусу автомобиля точечной сваркой в четырех точках каждый (рис. 1.1). Сами крюки УБК выполнены из тонкого, толщиной 1,5 миллиметра, стального листа методом штамповки. Его ребра жесткости работают при направлении вектора нагрузки исключительно вперед и вверх. Эти условия выполняются при прямом лобовом ударе. Однако при смещенном ударе сила будет действовать и в боковом направлении, изгибая ближний к стороне удара крюк.
Рис. 1.2

Рис. 1.3


Рис. 1.4
5
Используя ресурсы глобаль-ной сети Internet и данные крэш – тестов, проведенных журналом «Авто – ревю», сотрудниками Симеизской СТО «АвтоЗАЗ» и СТО ПКФ «Таврия – Авто» я проанализировал работу УБК при смещенном ударе об неподвижное препятствие на скорости около 50 км/час. При этом наиболее полными были данные, предоставленные журналом «Авто – ревю», использовавшем автомобиль ЗАЗ – 1105 «Дана» и манекен с датчиками – акселерометрами в груди и голове. Динамика столкновения автомобиля с препятствием показана на скоростных фотографиях, сделанных в ходе испытаний. На рисунке 1.2 видно начало столкновения автомобиля с неподвижным препятствием на скорости 50,4 км/час. На рисунке 1.3 мы видим, что через 30 мс капот поднялся уже очень высоко. Можно сделать вывод о том, что крюк УБК оторвался от корпуса автомобиля или согнут и не выполнил своих функций. Через 60 мс после отрыва крюка острый край капота вошел в салон автомобиля (рисунок 1.4) и датчики в голове манекена зафиксировали резкий удар об него.
5
На рисунке 1.5 видно, что крюк УБК вывернут в сторону и буквально «с мясом» вырван из корпуса в местах сварки. В двух другихпроведенных крэш – тестах использовался автомобиль ЗАЗ – 1102 «Таврия» и результаты были аналогичными. Тесты проводились со смещением удара, как в левую, так и в правую сторону.
В

Рис. 1.5
ывод из этого один - узел блокировки капота не выдержал испытания по новым требованиям Правил пассивной безопасности. Автомобиль ЗАЗ – 1102 «Таврия» и его модификации не соответствуют современным требованиям пассивной безопасности.
6
Раздел 2
Анализ результатов краш – тестов и
причин невыполнения узлом фиксации капота
своих защитных функций.
Рис. 2.1

Н
7
икакой критики не выдерживает крепление крюков к корпусу автомобиля. Используемое консольное крепление точечной сваркой в четырех точках является очень слабым. Крюк под нагрузкой работает на отрыв и точечное соединение с корпусом приводит к быстрому отрыву.В чем же причина отрыва крюка УБК? При смещенном ударе корпус автомобиля сминается неравномерно – он быстрее деформируется со стороны удара. Соответственно капот движется назад не всей плоскостью, а как бы поворачивается вокруг петли крепления на противоположной удару стороне автомобиля. При таком косом движении проушина на капоте со стороны удара надевается на крюк гораздо раньше противоположной. Косое движение капота вызывает большую нагрузку на крюке со стороны удара. При этом значительно растет боковая нагрузка на крюк. Фактически в работу включается только один крюк со стороны удара. Нагрузка очень быстро вырастает до критической величины и крюк отрывается. Следует учитывать еще один фактор – при смещенном ударе происходит деформация кузова с поднятием вверх колесной арки. На ней со стороны водителя в моторном отсеке под капотом крепится запасное колесо. Оно при деформации и подъеме вверх колесной арки создает дополнительное давление на капот.
8
8
Раздел 3
Предложение по модернизации узла блокировки
капота автомобиля ЗАЗ – 1102 и его модификаций.

Рис. 3.1
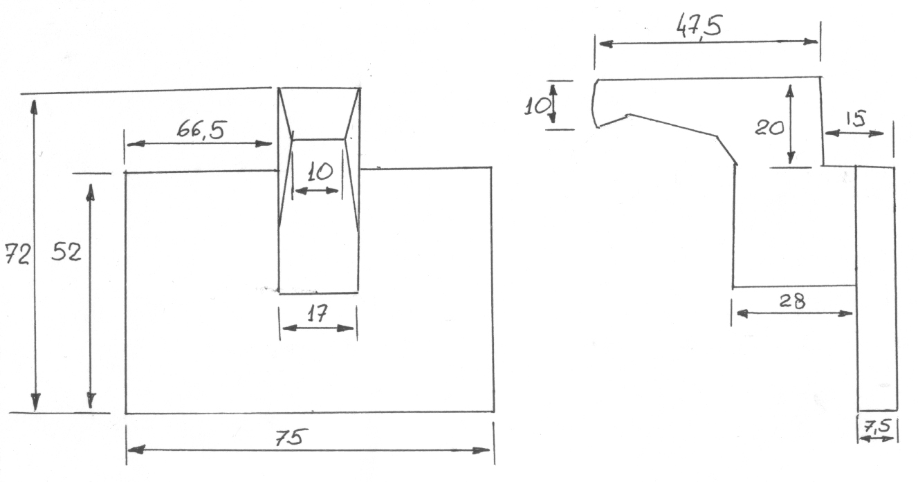
Я считаю, что сам принцип УБК разработан технически грамотно, однако элементы узла выполнены с недостаточным запасом прочности. Для того, чтобы сделать автомобиль «Таврия» более безопасным и соответствующим новым Правилам пассивной безопасности автомобилей необходимо усилить узел блокировки капота. Я предлагаю механически усилить слабый элемента узла – крюк. Предлагаемый усиленный крюк УБК (рис. 3.1) изготовлен из стального уголка размерами 75 х 75 х 7,5 мм. Из материала изготавливаются две «зеркальные» половины крюка, которые затем соединяются вместе сваркой. Такой крюк является как бы «монолитным» и имеет очень высокую прочность как при вертикальных, так и при горизонтальных нагрузках.Н
9
а чертеже мы можем увидеть, что увеличилась площадь контакта крюка с корпусом. Это сделано для того, чтобы нагрузка, передаваемая крюком на корпус автомобиля, распределялась на большую площадь. Это увеличит общую прочность УБК.Однако при существующем консольном креплении к задней стенке моторного отсека даже усиленный крюк будет отрываться и не выполнит своего назначения. С целью увеличения прочности УБК я предлагаю изменить способ крепления крюка к корпусу моторного отсека. Более целесообразно крепить крюк не снаружи моторного отсека, а изнутри. Для этого необходимо прорезать в корпусе автомобиля прямоугольное отверстие размерами 25 х 30 мм., через которое из салона выводится рабочая часть крюка. При этом увеличенная площадка крепления остается внутри автомобиля и приваривается к корпусу. Возможно использование контактной точечной сварки. Края отверстия необходимо также приварить к рабочей части крюка с целью увеличения общей жесткости конструкции. При предлагаемом креплении увеличение нагрузки на крюк УБК при ударе вызовет не отрыв, а прижимание площадки крепления к корпусу. Чем больше будет нагрузка, тем сильнее прижмется крюк к корпусу.
10
Выводы.
Предлагаемая модернизация УБК обеспечит надежную блокировку капота двигательного отсека автомобиля ЗАЗ – 1102 «Таврия» и его модификаций как при лобовом, так и при смещенном ударе в соответствии с требованиями Правил EuroNCAP за счет усиления механической прочности крюка и изменения способа его крепления.
При использовании предлагаемого крюка и способа его крепления надежность УБК ограничивается только прочностью корпуса в месте крепления площадки крюка и прочностью проушины капота. Однако при деформациях, приводящих к излому этих элементов кузова, развиваются нагрузки, несовместимые с жизнью человека.
Усиленный узел блокировки капота внедрен в практическое использование и установлен на автомобиле ЗАЗ – 1102 ГНЗ 350-59КР, принадлежащем санаторию «Пiвденний», а так же на кроссовом автомобиле «Таврия», принадлежащем Симеизской СТО.
11
Используемая литература.
Ресурсы глобальной сети Internet:
http://www.zaz.comi.ru
http://ford.km.ru
http://tavria.org.ua
К. Фучаджи, Н. Струк «Автомобиль ЗАЗ – 1102 «Таврия»,устройство, эксплуатация, ремонт». М.,«Транспорт», 1991 г., стр. 263 – 265.
«Автомобиль ЗАЗ-1102. Руководство по эксплуатации». «Проминь», Днепропетровск, 1990 г. стр. 109 – 112.
«
12
Автомобиль ЗАЗ – 1102. Руководство по ремонту». М.,«Внешторгиздат», 1989 г., стр. 309 – 343.