Технология аэродинамической трубы для болидов Формулы 1
Управление образования Администрации г. Екатеринбурга
Управление образования Администрации Кировского района г. Екатеринбурга
Негосударственное образовательное учреждение СОШ «Индра»
Технология аэродинамической трубы для болидов Формулы 1.
|
Направление: |
научно-техническое |
|
Исследовательская работа (реферат) |
по физике |
|
Исполнитель, ученик 8 класса |
Ю. А. Бондин |
|
Учитель физики СОШ «Индра» |
М. Ю. Бондина |
|
Руководитель, директор по развитию ЗАО «Адаптируемые Прикладные Системы», к.т.н., доцент |
А. Р. Бондин |
г. Екатеринбург
2005 г.
Содержание
Введение. 3
1. Основы аэродинамики. 4
1.1. Ошибка Ньютона. 6
1.2. Эффект Бернулли. 10
1.3. Приборы для измерений давлений и скоростей в потоке. 12
1.4. Обтекание тел воздушным потоком. 15
2. Аэродинамика болида Формулы 1. 19
2.1 Передние и задние антикрылья. 19
2.2. Диффузор. 22
2.3. Боковые дефлекторы. 23
2.4. Воздухозаборник. 24
2.5. Слипстрим. 25
3. Аэродинамические трубы. 27
3.1. История создания и развития технологии аэродинамической трубы. 28
3.2. Конструкции аэродинамических труб. 31
3.3. Аэродинамические трубы для болидов Формулы 1. 34
3.4. Вазовская труба. 41
Использованные источники. 44
Введение.
Не секрет, что Формула-1 (F1) один из самых зрелищных видов спорта и уступает по количеству зрителей разве, что только чемпионату мира по футболу. Тысячи зрителей на трибунах автодромов и миллионы телезрителей у своих экранов два часа с азартом наблюдают за автомобилями Формулы-1, несущимися по трассе с бешеной скоростью. На прямых болиды развивают скорость до 380 км/ч (Хоккенхайм - Дэвид Култхард) и те, кто сидят на трибунах видят автомобиль считанные секунды, не всегда успевая различить шлем пилота. Именно скорость делает Формулу-1 столь популярной.
В идеале единственно важная цель гоночного болида Формулы 1 - победить. И лучшая - именно та конфигурация и начинка машины, которая помогает достичь этого.
Существует множество факторов, которые нужно учитывать при создании этих невероятно сложных машин. Основные элементы болида - монококовое шасси, корпус, подвеска, двигатель и колеса. Конструктор должен найти оптимальные решения для каждого из этих элементов, чтобы создать лучшее, что может позволить себе команда, исходя из бюджета.
Подвеска обеспечивает механическое сцепление, через амортизаторы и демпферные механизмы, а грамотно направленный воздушный поток влияет на аэро-сцепление и создает прижимающую силу. Многие дни конструкторы проводят в аэродинамической трубе, работая над настройками аэро-начинки с целью обеспечения максимальной прижимающей силы на каждом торможении. Оптимальными настройками аэро- и механических элементов достигается оптимальная управляемость, и пилот получает возможность атаковать повороты, не опасаясь недоповорачиваемости (когда болид сносит в сторону) и переповорачиваемости (когда болид поворачивает слишком резко, и теряет сцепление задний мост), будучи уверен в своей машине.
Когда машина собрана, ответственность за правильность настроек, касающихся механического и аэро-сцепления, лежит на главном конструкторе. Он может менять первоначальные установки (закрылки влияют на аэро-показатели, демпфера и валки - на механические) с целью достижения конфигурации, наиболее подходящей для пилота, его стиля вождения. Конечно, решающую роль играет мнение самого гонщика. Если он не доволен машиной, ему будет тяжело показать на ней лучший пилотаж.
Принимая все это во внимание, становится ясно, что современный болид Формулы 1 - очень непростая вещь. Сложность и необходимая точность при создании деталей требует больших денежных затрат, требует много времени, множество людей трудится над тем, чтобы сделать болид совершенным - впрочем, здесь не стоит употреблять слово "совершенный", ведь в F1 нет идеальных механизмов.
Непрерывное развитие, прогресс необычайно важны, и недели простоя непременно обойдется потерей нескольких драгоценных сотых секунды по сравнению с соперниками. Качество деталей все время улучшается, большинство команд на протяжении сезона используют по две-три модели двигателя, и к концу года машина может быть уже совсем другим зверем, не тем, с которым начиналась кампания. Работа конструктора в Формуле 1 никогда не заканчивается.
Я увлекаюсь гонками Формулы 1, регулярно смотрю этапы чемпионата и болею за команду FERRARI (и ее первого пилота - Михаэля Шумахера). Я взялся за работу над этим рефератом, потому что мне было очень интересно узнать, почему одни болиды выигрывают, а другие нет. Существует множество факторов успеха команд в гран-при: шины, мотор, мастерство пилота, тормоза, подвеска и еще многое другое. Но темой данного реферата является изучение аэродинамических свойств болида, поскольку именно они, прежде всего, определяют результат гонки. Для этого были поставлены следующие цели: изучить основы аэродинамики, элементы аэродинамического пакета болида, познакомиться с историей создания, конструкцией и классификацией аэродинамических труб, на опыте исследовать силу и коэффициент аэродинамического сопротивления.
1. Основы аэродинамики.
Аэродинамику часто называют "черной магией". Возможность заставить нечто невидимое сделать для вас какую-либо работу поистине завораживает. Специалист по аэродинамике, придав гоночному болиду определенную форму, может заставить воздушные потоки обтекать болид именно так, а не иначе, но эта тема всегда закрыта в разговорах с инженерами, потому что каждая из команд в этом компоненте хочет опередить своих соперников хотя бы на один шаг.
Не секрет, что Формула 1 за последние десятилетие стала самым высокотехнологичным соревнованием в мире, где всего лишь одна десятая секунды может разделить победителя и проигравшего. Наряду с мотором и резиной, одну из самых важных ролей в производительности болида играет аэродинамика. Зачастую именно удачный аэродинамический пакет болида, подготовленный к очередному Гран При решает исход гонки.
Аэродинамика — наука, изучающая процессы обтекания твердых тел жидкостями и газами. Применительно к Формуле-1 аэродинамика одна из главных наук, используемых при проектировании болидов.
Конструктор, создавая болид, пытается добиться компромисса, между его аэродинамическим сопротивлением и прижимной силой, поэтому в аэродинамике болида F1 две большие области исследования - это аэродинамическое торможение, из-за которого болид теряет скорость, и сила, прижимающая болид к трассе.
Начнем наше рассмотрение с аэродинамического торможения. Аэродинамика - понятие довольно запутанное. Откуда могут взяться какие-то там силы, ведь ничего же нет?! Что ж, небольшое предварительное обсуждение, внесет некоторую ясность в этот вопрос и поможет понять, о чем идет речь.
Представьте, что вы ведете свою машину по дну огромной цистерны с водой - торможение налицо, не так ли? А теперь представим, что в цистерне воздух. Теперь нечему вызвать торможение? Ошибаетесь! Любая жидкость и любой газ состоят из частичек, способных скользить относительно друг друга.
Некоторые частички сильнее прилипают к остальным, и не могут двигаться просто так. Это называется вязкостью. Когда жидкость или газ (например, вода или воздух) двигается над неподвижной поверхностью, прослойка частичек, наиболее близко расположенных к этой поверхности, прилипает к ней. Слой частичек, расположенный непосредственно над ним, двигается, но не так быстро, как мог бы, потому что его тормозят неподвижные частички на поверхности. Слой частичек над ним тоже тормозится, но уже не так сильно, и так далее. Чем дальше от неподвижной поверхности, тем быстрее движутся частички, пока их скорость не сравняется со скоростью основного потока. Слой, в котором частички движутся замедленно, называется приграничным слоем и появляется на любой поверхности. Этот слой создает один из трех компонентов аэродинамического торможения, называемый фрикционным сопротивлением обшивки.
Сила, затрачиваемая на то, чтобы раздвинуть молекулы воздуха при движении, создает второй компонент аэродинамического торможения - так называемое лобовое сопротивление. В аэродинамике размеры очень важны! Хотя вы и не можете этого почувствовать, но проталкивать плашмя сквозь вязкий воздух блюдце легче, чем большую тарелку, просто из-за того, что при движении тарелки вам придется сдвинуть с места большее число молекул воздуха - ведь ее поверхность больше.
Точно так же от величины фронтальной поверхности болида зависит испытываемое им лобовое сопротивление (фронтальная поверхность - это то, что видно при взгляде на болид спереди). Чем меньше эта поверхность, тем меньше молекул болиду придется расталкивать при движении, тем меньше лобовое сопротивление. Чем меньше энергии двигатель машины расходует на расталкивание молекул воздуха, тем больше ее остается для разгона болида по трассе, и соответственно, тем быстрее будет двигаться болид при той же мощности двигателя.
К несчастью, не все так просто. Форма движущегося объекта также играет немалую роль, ведь от нее зависит, насколько легко будут расступаться молекулы воздуха. Воздух следует за движущейся поверхностью, поэтому протолкнуть сквозь воздух плоскую тарелку труднее, чем миску с покатыми стенками, даже если площадь их фронтальных поверхностей одинакова. Воздух будет с легкостью обтекать стенки миски, в то время как на плоской поверхности тарелки поток воздуха будет застревать.
Исследователи в области аэродинамики установили, что наиболее выгодная с точки зрения легкости обтекания воздухом форма объекта - каплеобразная, с закругленной передней частью и вытянутой задней. Большинство людей с удивлением узнают об этом, поскольку кажется очевидным, что пронизывать воздух лучше вытянутым заостренным объектом, а не чем-то толстым и закругленным. Так мы постепенно приближаемся к обсуждению проблемы отрыва воздушного слоя.
Когда воздух следует за изгибом поверхности (или просто изменяет направление движения), у него не возникает никаких проблем пока изгиб его траектории остается небольшим. Если же изгиб очень крут, или направление движения неожиданно резко изменяется (как это бывает при встрече с заостренным объектом), воздуху приходится оторваться от поверхности, поскольку ему уже не хватает энергии следовать за ней. Обычно такая ситуация нежелательна, поскольку при этом приграничный слой становится больше и начинает тормозить воздушный поток перед объектом - фактически действуя как твердый барьер. Таким образом, заостренный объект, который вроде бы должен с легкостью пронизывать воздух, на самом деле испытывает сильное аэродинамическое торможение!
Третий компонент аэродинамического торможения называется "аэродинамическим сопротивлением". Оно появляется как побочный продукт аэродинамической прижимной силы. Вот почему, мечта специалиста по аэродинамике болида F1 свести к нулю торможение и довести до максимума прижимную силу так и останется мечтой!
Три компонента аэродинамического торможения сильно усложняют задачу проектировщика болидов! Чем больше аэродинамическое торможение, тем усерднее должен работать двигатель болида для того, чтобы машина двигалась на определенной скорости.
Мощность моторов, тем не менее, постоянно растет, и высокой скорости движения можно достичь даже при сильном аэродинамическом торможении. Поэтому цель конструкторов болидов Формулы 1 прежде всего в том, чтобы достичь максимальной прижимной силы, а потом уже разбираться с аэродинамическим торможением.
Специалистам по аэродинамике просто катастрофически не хватает прижимной силы! Чем большее усилие им удается извлечь из воздуха, тем большее усилие передается на поле зацепления покрышек и тем сильнее будет сцепление покрышек с поверхностью трека. Так как же они этого добиваются?
Чтобы все объяснить, возьмем для примера самую простую аэродинамическую форму – крыло, при помощи которого самолеты получают возможность летать. До семидесятых годов никому и в голову не приходила замечательная мысль перевернуть его с ног на голову, чтобы та подъемная сила, которая отрывает самолет от взлетно-посадочной полосы, могла использоваться для прижимания болида к треку.
Таким образом, в аэродинамике Формулы 1 начал происходить переворот. Ранее целью конструкторов было сведение к минимуму лобового сопротивления за счет округлых форм болида, но теперь болид Формулы 1 - все что угодно, только не гоночный автомобиль с округлой формой обшивки и минимальным лобовым сопротивлением, поскольку на первое место вышла прижимная сила.
Процессы взаимодействия твердых тел с жидкостями и газами (при малых скоростях и температурах набегающего потока) описываются одними и теми же уравнениями. При больших скоростях (около - и сверхзвуковых) воздух начинает сжиматься и вести себя существенно иначе. Далее будут рассматриваться основы аэродинамики только малых (дозвуковых) скоростей, поскольку скорости болидов F1 хотя и очень велики (до 350 км/ч), но значительно меньше скорости звука (1220 км/ч).
1.1. Ошибка Ньютона.
В основы аэродинамики легли исследования великих ученых, таких как Ньютон и Бернулли.
В 1686 году Ньютон издал свою знаменитую книгу «Математические начала натуральной философии» — эту первую, говоря его словами, попытку «подчинить явления природы законам математики». В ней был намечен путь к познанию, как природы сопротивления воздушной среды, так и причины возникновения подъемной силы на плоской, наклонной пластинке. Ньютон попытался облечь отдельные, часто еще неясные представления о причине сопротивления воздуха в стройную систему взглядов. Его последователи и продолжатели перевели эти взгляды на краткий, выразительный язык математических символов.
В основном, существо взглядов Ньютона сводилось к следующему. Воздух представляет собой скопление бесчисленного множества бесконечно малых частиц. Частицы подобны маленьким твердым шарам — они не взаимодействуют друг с другом, не обладают упругостью, трение между ними ничтожно мало. Как при дожде отдельные капли ударяют по руке, так, по Ньютону, на всякое тело, введенное в воздушный поток, обрушивается град мельчайших шаров — отдельных частичек воздуха.
Чем больше поперечные размеры тела, тем больше шаров ударит по нему за единицу времени: сила удара прямо пропорциональна площади поперечного сечения тела, движущегося в воздухе.
Чем плотнее воздух — больше шаров в единице объема — сильнее будет их удар по телу, движущемуся с прежней скоростью: сила удара прямо пропорциональна плотности той среды, в которой движется тело.
Что произойдет, если тело начнет двигаться быстрее? — ставил вопрос Ньютон. Пусть, отвечал он, тело начнет двигаться, например, в три раза быстрее. Тогда за единицу времени оно успеет встретить на своем пути в три раза больше шаров, и каждый встречный шар, кроме того, ударит движущееся тело в три раза сильнее. Следовательно, делал вывод Ньютон, сила удара в этом случае возрастет в 3х3 раза.
Следовательно, сила удара будет пропорциональна квадрату скорости движения тела в неподвижном воздухе или квадрату скорости движения воздуха относительно неподвижного тела.
На основе созданной Ньютоном ударной теории сопротивления тел пришли к формулам для определения силы удара или, как ее стали называть, силы сопротивления. В левой части этой формулы записывалась искомая сила сопротивления (F). В правой части, кроме фронтальной площади поперечного сечения тела (S), плотности среды () и квадрата скорости движения (V) - был записан еще коэффициент (C), названный коэффициентом пропорциональности.
, (1.1)
где: F - аэродинамическая сила сопротивления;
C - коэффициент силы сопротивления;
V - скорость данного объекта;
S – фронтальная (лобовая) площадь поперечного сечения тела;
= плотность воздуха.
Из теории Ньютона следовало, что этот коэффициент (C) постоянен для любого тела, независимо от его формы.
Этот вывод логически вытекал из самого существа взглядов Ньютона. Так как, по его мнению, причиной возникновения силы сопротивления является удар частиц воздуха о лобовую поверхность тела, то получалось, что хвостовая часть тела не могла оказывать никакого влияния на изменение силы сопротивления. Если шар, цилиндр и капля имеют одинаковые площади поперечного сечения, то по формуле Ньютона получалось, что при движении с одинаковыми скоростями и в одинаковой среде все три тела будут испытывать одинаковые по величине силы сопротивления своему движению.
Первые опыты, проделанные еще в конце XVIII столетия, показали, что далеко не все верно в теории Ньютона. До тех пор, пока брали тела одинаковой формы и измеряли силу сопротивления их при движении с разными скоростями, или в различных по плотности средах, например, в воздухе и в воде, подсчет по формуле давал величины, хорошо совпадавшие с теми, которые были измерены при опыте. Но как только начинали испытывать тела, отличающиеся друг от друга по форме, опыт не подтверждал теории Ньютона.
Однако критиковать Ньютона долго не решались. Слишком силен был его авторитет. Французские исследователи XVIII века хоть и видели порочность теории Ньютона, но не посмели поднять на нее руку и ограничились только указанием фактов, даже не проведя подлинно научного анализа своих собственных опытов.
Только в XIX веке великий русский ученый Дмитрий Иванович Менделеев подверг резкой критике ошибочные взгляды Ньютона о сопротивлении среды. Интерес творца Периодической системы элементов к вопросам сопротивления среды движению тел не явился случайным или временным. Менделеев начал изучать свойства газов при различных давлениях, в том числе и при очень малых, и перенес свои научные интересы также в область метеорологии. Развитие метеорологии зависело от успехов воздухоплавания. Менделеев не только проявлял глубокий научный интерес к воздухоплаванию, но разрабатывал проекты воздухоплавательных аппаратов, совершил полет на воздушном шаре, поддерживал изобретателей, объединял вокруг себя энтузиастов летания. Наконец в 1880 году выпустил в свет замечательную книгу — результат большого разностороннего многолетнего труда.
В этой книге, которая называлась «О сопротивлении жидкостей и о воздухоплавании», Менделеев резкими и точными словами вскрыл основную причину ошибки Ньютона: «В сложном вопросе сопротивления среды, без точного знакомства с действительностью, Ньютон и другие теоретики задались гипотезою, совершенно не удовлетворяющею природе явлений...»
Менделеев писал, что «мнение о неприложимости ньютоновских начал к нахождению сопротивлений с особою ясностью и резкостью высказал прежде других известный ученый, Борда, капитан французского флота, который в середине XVIII века славился как замечательный ученый, и который навсегда оставил после себя много исследований и приемов, отличающихся большим изяществом и точностью. Борда в 1763 году высказался совершенно ясно против Ньютоновой теории сопротивления, потому что все его немногочисленные, но ясные опыты с нею несогласованны...»
Однако за научную беспринципность Борда крепко досталось от русского ученого. Менделеев писал: «...Он (Борда) показал, что во всех пунктах теория Ньютона грешит, но больше ничего не сделал, не поискал какой-либо связи между своими наблюдениями».
Ошибка Ньютона происходила из-за неправильного исходного предположения. Решив, что воздух состоит из отдельных независимых частиц, Ньютон, как следствие, должен был признать, что сопротивление есть результат удара этих частиц о переднюю часть тела, что очертания тела не имеют значения при определении силы сопротивления.
Действительно, предположение Ньютона верно лишь в том случае, если речь идет о подсчете сопротивления в чрезвычайно разреженной среде. Иначе говоря, теория Ньютона годится тогда, когда нужно подсчитать, какое сопротивление испытает межпланетный корабль при прохождении его через верхние, чрезвычайно разреженные области земной атмосферы, удаленные от поверхности Земли на сотни километров. Но для самолетов, летающих в плотном воздухе на высоте одного-двух десятков километров, и тем более для болидов F1 эта теория совершенно не годится.
Неправильность исходного предположения, породившая ошибочную ударную теорию, привела последователей взглядов Ньютона и к другой ошибке: они создали неправильную формулу для определения подъемной силы.
Формула позволяла подсчитать величину подъемной силы, которую создаст пластинка, расположенная наклонно к набегающему на нее воздушному потоку. Если угол наклона пластинки к направлению потока назвать углом атаки, то формула утверждала, что подъемная сила пропорциональна второй степени от синуса угла атаки.
А так как синусы малых углов очень малы, представляя собой дробь намного меньшую единицы, то, следовательно, квадрат синуса малого угла атаки будет еще меньше, и, значит, подъемная сила, подсчитанная по этой формуле, окажется исключительно малой, неспособной поддерживать летательный аппарат в воздухе.
Французский ученый Даламбер еще в конце XVIII столетия подметил неправильность ньютоновского «закона квадратов синуса». Другой французский ученый — Навье, подсчитал, пользуясь этим законом, ту мощность, которую могла бы развивать ласточка в полете. Он получил фантастические цифры: тридцать летящих ласточек якобы развивали мощность, равную одной лошадиной силе. Но и Даламбер, и Навье не сделали должных выводов и не опровергли теорию Ньютона. Задача создания самолета перед ними не стояла; без легкого и в то же время мощного двигателя построить самолет в те времена было невозможно.
Если бы теперь авиаконструкторы захотели воспользоваться законом «квадратов синуса», то они пришли бы к чудовищному выводу, что ни один современный самолет летать не может.
Простой опыт показывал, что вычисленная по формуле Ньютона подъемная сила во много раз меньше той, которая в действительности возникает на крыле. Причем, чем меньше угол наклона крыла к потоку — угол атаки, тем больше расхождение между опытом и теорией. Эта разница огромна: при угле атаки, равном 20°, подъемная сила в три раза больше вычисленной по ньютоновской формуле. При угле атаки около 1° теоретический подсчет дает величину подъемной силы почти в сто раз меньше ее действительного значения, которое получается при этом из опыта.
Неудивительно, что у многих изобретателей опускались руки, как только они, на основе формулы Ньютона, приходили к выводу, что запроектированный ими летательный аппарат не сможет летать, так как его подъемная сила будет меньше веса.
Крупный, талантливый русский конструктор С.С. Неждановский в самом конце прошлого века много и хорошо поработавший над развитием планеров, но долго находившийся в плену теории Ньютона, однажды записал, как итог своих расчетов: «...Создание летательного аппарата, снабженного паровыми двигателями — невозможно».
Но не все неверно в теории Ньютона. В ней правильно учтено влияние плотности среды, скорости движения и размеров поперечного сечения тела. Следовало отбросить ошибочное предположение о том, что воздух подобен скоплению шаров, ударяющих по движущимся в нем телам.
Великий Ломоносов был первым, кто стал говорить о токе, о течении воздуха. Его рассуждения о токе воздуха вывели новую науку — науку о движении воздушных масс — из того тупика, в котором она находилась.
В 1749 году в «Новых комментариях» Академии наук, был опубликован ряд замечательных работ первого русского академика. Одна работа: «Опыт теории упругой силы газов» содержала основы кинетической теории газов. Работа «Размышление о причине теплоты и холода» наносила смертельный удар господствующей в то время ложной теории теплорода «О вольном движении воздуха, в рудниках примеченном», явилась первой работой, посвященной изучению движения воздушных масс.
Опыты Ломоносова, которые привели к открытию закона сохранения вещества и стали теоретической основой для закона сохранения энергии, позволили сделать важный вывод о том, что воздух представляет собой смесь, по крайней мере, двух газов.
Мысли Ломоносова о воздухе, о его свойствах, о законах, которым подчинено его движение, высказанные два столетия тому назад, остаются правильными и сегодня.
Друг Ломоносова, крупнейший математик XVIII века, Леонард Эйлер, действительный член Петербургской Академии наук, облек эти мысли в стройную математическую форму. Внешне формула Эйлера для определения силы сопротивления имела большое сходство с первой формулой Ньютона.
В правой части формулы Эйлера также записаны и площадь поперечного сечения тела, и массовая плотность среды, и квадрат скорости движения. Также — потому, что это было правильным у Ньютона (см. 1.1).
Но вместо коэффициента пропорциональности (С), введенного Ньютоном, Эйлер написал новый, как он назвал, коэффициент сопротивления. Это резко изменило существо закона: коэффициент сопротивления различен для тел разной формы (см. Табл. 1.1).
Таблица 1.1.
Коэффициент сопротивления для тел разной формы

К такому выводу Эйлер пришел, пересмотрев основу теории Ньютона. Воздух нельзя рассматривать как скопление отдельных мельчайших частиц, считал Эйлер. Воздух есть материя, непрерывно распределенная в пространстве, утверждал он. Отсюда ученый делал важный вывод: сопротивление, которое испытывает тело при своем движении в воздухе, не есть следствие удара воздуха о переднюю часть тела; сопротивление есть результат той разности давлений, которая возникает перед телом и за ним при обтекании его потоком воздуха.
Другой ученый, работавший в России, академик Даниил Бернулли написал классический труд «Гидродинамика», в котором изложил открытый им закон, устанавливающий зависимость между давлением в потоке и скоростью движения.
Так на смену ударной теории Ньютона пришла струйная теория сопротивления, основные положения и главнейшие выводы которой сохранили свою силу до сегодняшнего дня. Так, еще в XVIII веке, трудами ученых Михаила Ломоносова, Леонарда Эйлера, Даниила Бернулли в России был заложен тот прочный фундамент, на котором в начале XX столетия Николай Егорович Жуковский воздвиг величественное здание новой науки — аэродинамики.
Вторую формулу Ньютона — «закон квадратов синуса» Эйлер не затронул. Исследователя интересовало только сопротивление среды, и свои работы он создавал для нужд развивавшегося кораблестроения. Вопросы подъемной силы, знание которых необходимо для авиации, его не занимали. Так ошибочный «закон квадратов синуса» продолжал некритически восприниматься учеными, считавшими, что Ньютон не мог ошибаться.
1.2. Эффект Бернулли.
Эффект Бернулли играет огромную роль в действиях аэродинамических поверхностей болидов F1. Эффект Бернулли выражается уравнением, известным как "Уравнение Бернулли", которое утверждает, что общая энергия данного объема вещества не изменяется; и это опирается на фундаментальный закон природы - закон сохранения энергии.
Когда мы рассматриваем относительное движение газа (или жидкости), то энергия делится на три части:
давление в воздухе;
кинетическая энергия воздуха (энергия движения);
потенциальная энергия воздуха.
Болид F1, находящийся в неподвижном или подвижном относительно него воздушном потоке, испытывает со стороны последнего давление:
в первом случае (когда воздушный поток неподвижен) - это статическое давление;
и во втором случае (когда воздушный поток подвижен) - это динамическое давление, оно чаще называется скоростным напором.
Статическое давление в струйке воздуха аналогично давлению покоящейся жидкости (вода, газ). Вода в трубе может находиться в состоянии покоя или движения, но в обоих случаях стенки трубы испытывают давление со стороны воды. В случае движения воды давление будет несколько меньше.
Согласно закону сохранения энергии, энергия струйки воздушного потока в различных сечениях есть сумма кинетической энергии потока, потенциальной энергии сил давления, и энергии положения тела.
Эта сумма - величина постоянная:
Е>кин>+Е>р>+ +Е>п>=оспst, (1.2)
Кинетическая энергия (Е>кин>) - способность движущегося воздушного потока совершать работу равна
>
> (1.3)
где m - масса воздуха, кг; V-скорость воздушного потока, м/с. Если вместо массы m подставить массовую плотность воздуха р, то получим формулу для определения скоростного напора q (в Н/м2)
>
> (1.4)
Потенциальная энергия (Е>р> ) - способность воздушного потока совершать работу под действием статических сил давления. Она равна
E>p>=PFS, (1.5)
где Р - давление воздуха, Н/м2; F - площадь поперечного сечения струйки воздушного потока, м2; S - путь, пройденный 1 кг воздуха через данное сечение, м; произведение SF называется удельным объемом и обозначается v, подставляя значение удельного объема воздуха в формулу (1.4), получим
E>p>=Pv. (1.6)
Энергия положения (En) - способность воздуха совершать работу при изменении положения центра тяжести данной массы воздуха, при подъеме на определенную высоту и равна
En=mh (1.7)
где h - изменение высоты, м.
Так как в процессе гонки F1 уровень ландшафта меняется не слишком сильно, то последнюю величину (энергию положения) можно принять за константу.
Рассматривая во взаимосвязи все виды энергии применительно к определенным условиям, можно сформулировать закон Бернулли, который устанавливает связь между статическим давлением в струйке воздушного потока и скоростным напором.
Рассмотрим трубу (Рис. 1.1) переменного диаметра (1, 2, 3), в которой движется воздушный поток.

Рис. 1.1 Объяснение закона Бернулли
Если через поперечное сечение S>1 >за одну секунду в трубу входит объем воздуха >1>= S>1>∙ V>1>, то, очевидно, что через сечение S>2> такой же объем >2> = S>2>∙ V>2 >воздуха за одну секунду выходит, иначе поток воздуха где-то внутри трубы должен либо разорваться, либо сжаться. Поскольку то и другое невозможно, то сказанное справедливо для любого сечения трубы. Следовательно, >1>= >2>= >2>= const . Иначе говоря, через все сечения трубы за одну секунду проходит одинаковый объем воздуха (закон постоянства секундных объемов)
S>1>∙ V>1>= S>2>∙ V>2>=S>3>∙ V>3>= const (1.8)
Поскольку поперечные сечения различны (см. Рис. 1.1) S>1>> S>2>> S>3>, то и скорости воздуха в разных сечениях не одинаковы V>1>< V>2>< V>3>.
Для измерения давления в рассматриваемых сечениях используются манометры (см. следующий раздел), одна трубка которых соединена с атмосферой. Анализируя показания манометров (см. Рис.1.1), можно сделать заключение, что наименьшее статическое давление (по сравнению с атмосферным) показывает манометр в сечении 3-3.
Значит, при сужении трубы (увеличивается скорость воздушного потока) статическое давление падает. Причиной падения статического давления является то, что воздушный поток не производит никакой работы (трение не учитываем) и поэтому полная энергия воздушного потока остается постоянной. Значит, в данном случае возможен только переход кинетической энергии воздушного потока в потенциальную и наоборот.
Когда скорость воздушного потока увеличивается, то увеличивается и скоростной напор и соответственно кинетическая энергия данного воздушного потока, а потенциальная энергия (статическое давление) падает
Подставим значения из формул (1.3), (1.6) и (1.7), в формулу (1.2), и, учитывая, что энергией положения мы пренебрегаем, преобразуя уравнение (1.2), получим
>
> (1.9)
Это уравнение для любого сечения струйки воздуха (газа или жидкости) записывается следующим образом:
>
>
(1.10)
Такой вид уравнения является самым простым математическим выражением уравнения Бернулли которое утверждает, что сумма статического и динамического давлений для любого сечения струйки установившегося воздушного потока есть величина постоянная. Сжимаемость воздуха в данном случае не учитывается. При учете сжимаемости вносятся соответствующие поправки.
1.3. Приборы для измерений давлений и скоростей в потоке.
Давление и скорости в потоке измеряются разнообразными приборами - зондами (манометрами, датчиками, трубками), устанавливаемыми в месте измерения. Основные требования к зонду - он должен измерить те давление и скорость течения в месте измерения, которые там были до внесения туда зонда; кроме того, физическая точка, в которой фактически производится измерение (т.е. размеры чувствительного элемента датчика) должна быть малой величиной в сравнении с областью изменений изучаемого параметра (областью течения).
Рассмотрим зонды для измерений давлений и скоростей в стационарных ламинарных либо в среднем установившихся турбулентных течениях.
Здесь могут применяться инертные измерительные приборы, т.е. имеющие значительные массы твердые, жидкие или газообразные, деформирующиеся либо перемещающиеся под действием параметров потока при измерении.
Измерение малых, средних и больших давлений производится приборами с разнообразными чувствительными элементами (упругими, жидкими, электромеханическими и т.д.). В аэродинамических измерениях обычно применяются жидкостные манометры - для измерения небольших разностей давлений и манометры с упругим элементом - для измерения больших давлений.
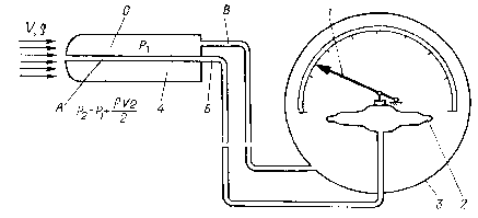
Простейший из них - U-образный вертикальный жидкостный манометр показан на Рис.1.2, а.

Рис. 1.2 Манометры.
Если жидкость с удельным весом = ∙g (где, - ее плотность, а g – ускорение свободного падения) занимает положения h>1> и h>2> при давлениях в коленах p>1> и р>2> (Рис.1.2.,а), то
. (1.11)
В случае наклонных трубок (под углом ) U -образного манометра (Рис.1.2, б)
(1.12)
Если же манометр имеет резервуар сечением f>2> , много большим, чем сечение f>1> отсчетной трубки (рис.1.2. в), так как f>1>h>1>=f>2>h>2>, то вместо (1.12) имеем при отсчете от нуля

При измерениях малых разностей давлений, для заливки в манометры обычно применяется спирт. Величины разностей давлений имеют порядок единиц, десятков и первых сотен мм вертикального или наклонного спиртового столба.
В газодинамических течениях, где разности давлений выражаются ухе в сотнях, тысячах мм вертикального водяного столба, т.е. порядка одной атмосферы и даже более, применяются высокие U - образные манометры, заполненные жидкостями, имеющими большую плотность, чем спирт (например, тетрабромэтан, ртуть и др.).
Наиболее часто в практике аэрогидродинамических измерений давлений и скоростей потока в качестве зондов применяются - трубки различной формы (см. Рис.1.3) с измерительными отверстиями, соединенными с манометрами тонкими резиновыми шлангами.

Рис. 1.3 Трубки для измерения давлений и скоростей потока.
Впервые трубки были применены в 1723 году французским ученым Анри Пито, для измерения скорости потока в реке Сене. Он показал, что обычная стеклянная трубка, помещенная в поток (см. Рис. 1.4), позволяет определить полный напор и величину скорости.

Рис. 1.4 Трубка Пито.
Поэтому часто трубки, имеющие одно отверстие (Рис. 1.3,а), называют трубками Пито. Трубки (Рис. 1.3, б и в) с отверстиями в критической точке и статическими отверстиями называют трубками Пито-Прандля (см. Рис.1.5).

Рис. 1.5 Трубка Пито-Прандля.
Применение таких трубок для измерения давлений и скоростей потока в вязкой несжимаемой жидкости или газе основывается на уравнении Бернулли (1.10) для установившихся течений идеальной несжимаемой жидкости.
Уравнение Бернулли можно использовать для вычисления скорости по давлению, измеренному в так называемой «критической» точке (точке «торможения», или точке нулевой скорости) на затупленном носке трубки зонда полного напора, находящейся в установившемся потоке (см. Рис. 1.5).
В этой точке, находящейся в центре затупленной оконечности зонда (сечение 0-0) скорость потока обращается в нуль (частички воздуха ударяются в затупленный конец зонда, и тормозятся до полной остановки). В последующих точках по поверхности скорость будет расти (частички воздуха начинают огибать препятствие) и затем вновь падать, достигнув на некотором удалении от носика скорости общего потока, т.е. скорости, которая была бы в этом месте при отсутствии трубки. Эта трубка как бы не возмущает первоначальный поток
Уравнение Бернулли для сечений 1-1, 0-0 и 2-2 будет иметь вид
.
Поскольку V>1 >= V>2>, а V>1 >= 0, то V>1> скорость должна быть равна
. (1.13)
Разность (P>0> – P>1>) между полным и статическим давлением потока можно измерить манометром, если в критической точке (0-0) на затупленном носике трубки проделать отверстие и тонкой трубкой соединить его с одним коленом манометра, а в статическом сечении (2-2) прорезать щель, и общую с ней полость самой трубки соединить гибкой трубкой со вторым коленом манометра (см. Рис. 1.6).

Рис. 1.6 Схема подключения трубки Пито-Прандля к манометру.
Давление полного напора P>0 >можно измерить и отдельной трубкой (см. Рис. 1.3,а) расположив ее плотно в сечении измерения полного напора со стенкой канала.
Трубка показанная на рис 1.3,в измеряет давление P< P>0 >за счет срывов потока у ее хвостовой части и образования там вихрей, поэтому вычисленная величина V по разности давлений (P – P>1>) этой трубки не будет равна V>1> (скорости потока), Однако если ввести коэффициент , определяемый тарировкой, для этой трубки из условия
(1.14)
то, зная , можно и этой трубкой определить V>1> пo (1.13), заменяя (P>0> – P>1>) пo (1.14). Так же можно ввести коэффициент и для зонда другого вида. Этот коэффициент должен оставаться постоянным в определенном, достаточно большом, интервале скоростей потока - только тогда зонд пригоден для измерений в этом интервале.
1.4. Обтекание тел воздушным потоком.
При обтекании твердого тела воздушный поток подвергается деформации, что приводит к изменению скорости, давления, температуры и плотности в струйках потока. Таким образом, около поверхности обтекаемого тела создается область переменных скоростей и давлений воздуха. Наличие различных по величине давлений у поверхности твердого тела приводит к возникновению аэродинамических сил и моментов. Распределение этих сил зависит от характера обтекания тела, его положения в потоке, конфигурации тела.
Для изучения физической картины обтекания твердых тел применяются различные способы визуализации картины обтекания тела. Видимую картину обтекания тел воздушным потоком принято называть аэродинамическим спектром.
Для получения аэродинамических спектров применяют такие приборы, как дымканалы (см. Рис. 1.7, 1.8 а), используют шелковинки (Рис. 1.8 б), оптические методы исследования (для сверхзвуковых потоков) и др.

Рис. 1.7 Дымканал.
1 - источник дыма; 2 - струйки дыма; 3 - обтекаемое тело; 4 - вентилятор
В дымканале аэродинамический спектр создается струйками дыма, выпускаемыми из специального «дымаря» в поток воздуха, обтекающий тело.
Сущность способа с использованием шелковинок состоит в том, что в интересующих местах на поверхность обтекаемого тела наклеиваются специальные шелковинки, которые при обдуве тела располагаются вдоль обтекающих тело струек. По положению шелковинок судят о характере движения потока вблизи поверхности тела.
|
|
|
|
а |
б |
Рис. 1.8. Визуализация воздушных потоков.
а - посредством дыма, б - с нитками на транспортном средстве
Рассмотрим аэродинамические спектры некоторых тел.
Плоская пластинка (Рис. 1.9), помещенная в поток под углом 90°, создает довольно резкое изменение направления движения потока, обтекающего ее: торможение потока перед ней, поджатие струек у ее краев и образование непосредственно за краем пластинки разрежения и больших вихрей, которые заполняют всю область за пластинкой. Перед пластинкой, где в результате торможения частичек воздуха и падения их скорости до нуля (кинетической энергии воздушного потока полностью переходит в потенциальную), давление (по уравнению Бернулли) будет больше чем в невозмущенном потоке, а за пластинкой вследствие разрежения давление уменьшится.

Рис. 1.9 Аэродинамический спектр плоской пластинки и шара.
Может быть, шар - идеально обтекаемая поверхность? Нет! Действительно, сначала воздух легко обтекает закругленную поверхность шара. Но когда воздушный поток минует точку, где шар имеет максимальный радиус, ему придется следовать за стремительно сходящейся поверхностью. Для воздуха эта задача более трудная, и вскоре воздушный поток будет уже не в состоянии следовать за поверхностью и оторвется от нее, вызывая турбулентные завихрения. Турбулентные завихрения беспорядочно движутся с обратной стороны шара. Давление турбулентного воздуха ниже, чем окружающего спокойного, и поэтому возникает сила всасывания, действующая в обратном относительно движения шара направлении и тормозящая его.
Симметричное каплеобразное тело (Рис. 1.10), имеет более плавный характер обтекания, как в передней, так и в хвостовой частях.

Рис. 1.10 Аэродинамический спектр каплеобразного тела.
Воздух с легкостью огибает его переднюю закругленную часть, но там, где у шара воздух уже не может следовать за изгибом поверхности и отрывается от нее, у каплеобразного объекта поверхность поката, и воздух легко ее огибает, вызывая очень маленькое торможение.
В сечении А - Б (наибольшая величина поперечного сечения) аэродинамический спектр показывает наибольшую деформацию струек, наибольшее их поджатие. В хвостовой части образуются небольшие завихрения потока, которые уносятся потоком, постепенно затухая (Рис. 1.10).
Каплеобразную в сечении форму имеют, например, детали подвески болидов. Если бы они были круглыми в сечении, они бы гораздо сильнее тормозили движущийся на большой скорости болид.
Несимметричное каплеобразное тело по характеру обтекания близко к симметричному, но отличается величиной деформации струек в верхней и нижней частях тела (см. Рис. 1.11).

Рис. 1.11 Аэродинамический спектр несимметричного каплеобразного тела (профиля крыла).
Здесь имеет место так называемое несимметричное обтекание. Наибольшая деформация струек наблюдается там, где тело имеет наибольшую величину искривления поверхности (точка К). В районе этой точки струйки поджимаются, поперечное сечение их уменьшается. На нижней, менее искривленной поверхности деформация потока будет меньше.
На верхней поверхности тела, в месте наибольшего поджатия струек, согласно закону неразрывности (закону постоянства секундных объемов) будет наблюдаться местное увеличение скорости потока и, следовательно, уменьшение давления. На нижней поверхности деформация потока будет меньше и, следовательно, меньше изменение скорости и давления.
При обтекании воздушным потоком симметричных (и несимметричных) каплеобразных тел, помещенных под некоторым углом (углом атаки) к вектору скорости невозмущенного потока (Рис. 1.12), также будем иметь картину несимметричного обтекания и получим аэродинамический спектр, аналогичный тому, что получается при обтекании несимметричного каплеобразного тела (см. Рис. ).

Рис. 1.12 Аэродинамический спектр каплеобразного тела (профиля крыла), помещенного в поток под углом
В результате крыло создает подъемную силу не только потому, что направляет поток вниз, как думают многие (хотя, конечно, подъемная сила и зависит от угла атаки). Все дело в профиле крыла. Форма его сечения такова, что поток воздуха над плоскостью проходит больший путь, чем поток под плоскостью. Поэтому скорость протекания воздуха над крылом и под ним неодинакова — над плоскостью поток течет быстрее, что, согласно закону Бернулли, и создает над крылом зону разрежения и, в конечном итоге, подъемную силу (см. Рис. 1.13).



Рис. 1.13 Подъемная сила крыла.
Величины давлений на поверхность для различных тел определяют в лабораториях путем продувки в аэродинамических трубах. Полученные значения давлений для каждой точки наносят на специальные графики (Рис 1.14)
Кроме сил давления, на поверхность крыла по касательной к ней действуют силы трения, которые обусловлены вязкостью воздуха и целиком определяются процессами, происходящими в пограничном слое.

Рис 1.14 Распределение давлений по профилю крыла.
Обратная ситуация с антикрыльями (см. Рис 1.15). Антикрылья функционируют абсолютно по тому же принципу, но обеспечивают эффект "прилипания" болида к трассе, происходит это также за счет их формы. То есть, зная об обычном крыле, мы легко можем представить себе, что есть антикрыло. Достаточно просто повернуть обычное крыло передней частью вниз.
|
|
|
|
а |
б |
Рис. 1.15 Аэродинамический спектр крыла (а) и антикрыла (б).
Антикрыло сконструировано таким образом, что у нижней поверхности расстояние между передней и задней частью крыла больше, чем у верхней. Поэтому воздух, огибающий нижнюю часть крыла, должен течь быстрее того, что огибает крыло сверху для того, чтобы достичь той же точки в одно и то же время. По уравнению Бернулли, если скорость движения воздуха возрастает, давление его уменьшается и наоборот, поэтому более быстро движущийся воздух, проходящий внизу крыла, будет оказывать меньшее давление, чем тот, что проходит сверху. То есть в результате создается разница давлений и сверху давление сильнее, что позволяет прижимать болид к поверхности трека - вот вам и прижимная сила!
Прижимная сила и сила сопротивления - это как раз те две силы, которым посвящена практически вся аэродинамическая конструкция болида F1. Конструкции антикрыльев и самого болида должны быть совершенно оптимальны, то есть обеспечение прижимной силы должно быть реализовано так, чтобы это не вызывало силы сопротивления, мешающей скоростному движению, да и сам болид обязан быть наиболее приспособлен к преодолению этой самой силы.
2. Аэродинамика болида Формулы 1.
Принимая во внимание то, что F1 присуще большие скорости, одной из основных дизайнерских областей является аэродинамика. Аэродинамическое строение болида может влиять на такие вещи как скорость и прижимная сила, а также, аэродинамика влияет и на износ шин, количество требуемого топлива и т.п.
Уже на протяжении чуть более 30 лет аэродинамика F1 постоянно претерпевает изменения, это самая важная характеристика болида (см. Рис. 2.1).

Рис. 2.1 Аэродинамика болида F1.
Цель специалиста по аэродинамике - максимально увеличить прижимную силу, при этом сведя к минимуму аэродинамическое торможение.
2.1 Передние и задние антикрылья.
С годами сильно увеличились скоростные характеристики болидов F1, увеличилась их способность быстрого прохождения поворотов, и весьма очевидно, что это заслуга так называемых антикрыльев. В начале 60-х годов Формула-1 еще не использовала этих приспособлений, однако уже в 1968 году команды F1 начали экспериментировать с "неуклюжими" и "необработанными" аэродинамическими конструкциями, чтобы получить эффект "прилипания" шасси к трассе. Первые виды таких конструкций были очень простыми и ненадежными, поэтому достаточно часто ломались в процессе гонки.
На Рис. 2.2, показаны два вида заднего антикрыла, старого поколения (слева 1968 год) и нынешних технологий (справа 2000 год).

Рис. 2.2 Конструкция заднего антикрыла старого и нового поколения.
Принцип осуществления функций антикрыльев в F1 легко сопоставим с технологиями в самолетостроении. Но в то время как крылья самолетов способствуют взлету и планированию по воздуху, в F1 антикрылья выполняют прямо противоположную функцию - создание прижимной силы.
Передние и задние антикрылья - это часть спроектированного на компьютерах и тщательно отлаженного в аэродинамической трубе аэродинамического пакета. Они используются для создания прижимной силы при прохождении через них воздуха. Чем быстрее едет болид, тем большую прижимную силу создают антикрылья, чем больше прижимная сила - тем лучше сцепление с дорогой.
Переднее антикрыло (см. Рис. 2.3) – первая часть болида, которая встречает воздушный поток. Дальше воздух распределяется по всей плоскости болида.
|
|
|
|
Рис. 2.3 Переднее антикрыло.
Передние антикрылья на болиде обеспечивают около 25% всей прижимной силы, но эта цифра может быть снижена до 10% в то время, когда болид находится за другим болидом. Появляется эффект "засасывания" сзади идущей машины в переднюю, известный как слипстрим (см. разд. 2.5). И когда болиды оказываются на повороте, сзади идущий не может повернуть из-за потери прижимной силы, таким образом, пилоту приходится сбрасывать скорость, что бы безопасно пройти поворот.

Рис. 2.4 Элементы переднего антикрыла.
Переднее антикрыло (см. Рис. 2.4), ширина которого соответствует ширине самого болида, прикрепляется к носовому обтекателю (4) при помощи пилонов. На этой аэродинамической поверхности (1) крепятся две "створки" (или элероны) (2), каждая из которых является регулируемой частью антикрыла. Как правило, эти закрылки делаются из цельного куска карбона. На окончаниях антикрыла (слева и справа) крепятся специальные боковые пластины (или боковины) (3), для обеспечения прохождения потока воздуха сверху и снизу относительно поверхности антикрыла, не огибая его. И эти пластины (3) сыграли огромную роль в аэродинамике F1.
Конструкция элерона такова, что он является ассимитричным самому себе относительно центральной разделяющий вообразимой линии (если смотреть на болид спереди): чем ближе к носовому обтекателю элерон, тем меньше его "высота" (т.е. ближе к носу элерон сужается) см. Рис 2.5.

Рис. 2.5 Конструкция элерона.
Такая особенность элерона позволяет проникать в радиатор большему количеству воздуха, а также пропускать воздушный поток по "днищу" болида, который затем попадает в диффузор, обеспечивая прижимную силу. В случае если элероны не имеют такого сужения, охлаждение радиатором значительно уменьшается и температура мотора сильно возрастает. Также важно, что чем ниже будет расположено переднее антикрыло, тем лучше это влияет на проникновение воздушного потока в радиатор и диффузор, однако, всем известно, что имеется критическое положение, при котором антикрыло уже начнет задевать трассу.
Правилами FIA (Federation Internationale de l’Automobile - Международная федерация автоспорта - является единственной международной организацией, уполномоченной принимать правила проведения автомобильных соревнований) установлено, что минимальное расстояние между трассой и передним антикрылом должно быть 40мм.
В 1998 году появились нововведения в области аэродинамики F1, что принесло множество дополнительных проблем командам. Из-за того, что колеса стали располагаться ближе к монококу, при виде спереди, переднее антикрыло визуально "ложилось внахлест" колес. Это приводило к турбулентности в зоне передних колес, резко понижая общую положительную характеристику аэродинамики болида. Для решения этой новой проблемы (а именно, появления нежелательного сопротивления (drag)) команды переделали боковые крылья на антикрыле путем образования новых ребер (боковин), таким образом они направили поток воздуха непосредственно на монокок, огибая колесо (см. Рис. 2.6 Pic 1). Позже, в следующем сезоне, многие команды воплотили новую идею, поместив дополнительные ребра на внешнюю сторону боковых крыльев, в данном случае воздух огибал колеса по внешней стороне (см. Рис. 2.6 Pic 2).

Рис. 2.6 Конструкция боковин.
Чтобы понять, что имеется ввиду, на Рис. 1.7 показаны боковые крылья (боковины) разных команд, как раз отвечающих за решение этой проблемы. Как видно, решение является неоднозначным, и крылья различных команд имеют достаточно заметные аэродинамические отличия.

Рис. 2.7 Боковые крылья (боковины) разных команд.
Заднее антикрыло (см. Рис. 2.8) состоит из нескольких элементов. Угол наклона этих элементов создает прижимную силу различной величины.
|
|
|
|
Рис. 2.8 Элементы заднего антикрыла.
Прямой поток воздуха попадает в заднее антикрыло, состоящее из множества закрылок, вызывая определенные реакции со стороны антикрыла. Это упрощенное объяснение, т.к. на самом деле, к тому моменту, когда поток воздуха достигает заднее антикрыло, он вовсе не прямой, потому что сам болид создает некоторый эффект турбулентности потока воздуха.
Примерно треть всей прижимной силы обеспечивает заднее антикрыло болида, которое постоянно видоизменяется в F1 от трассы к трассе. Это приспособление может создавать более 1000 Ньютонов прижимной силы и весит около 7 кг.
Заднее антикрыло сделано из двух наборов определенных аэродинамических поверхностей, соединенных между собой и держащихся на торцевидных пластинах (3) заднего антикрыла . Верхний набор таких пластин (закрылок) (1) обеспечивает наибольшую прижимную силу и является как правило наиболее видоизменяющимся от трассы к трассе. В большинстве случаев этот верхний набор состоит из 3-х элементов. Нижний же набор (2) обычно состоит из двух элементов.
Ввиду того, что заднее антикрыло вызывает наибольшее сопротивление в болиде, команды видоизменяют строения антикрыльев для каждой трассы. Рассмотрим разные конфигурации задних антикрыльев на двух примерах.
Монца в Италии. Скоростная трасса с длинными прямыми участками и несколькими поворотами. Здесь, на протяжении 70% всей длины трассы, пилоты едут "вдавив педаль газа в пол". Чем больше угол наклона пластин заднего антикрыла, создающих прижимную силу, тем соответственно больше сила сопротивления, мешающая скоростному движению болида. В Монце очень важна скорость, поэтому команды делают очень маленький угол наклона на заднем антикрыле, чтобы преодолеть проблему силы сопротивления.
В Монако, где трасса в основном, насыщена поворотами, важным становится уже не скорость, а прижимная сила. На Рис. 1.9 представлены два этих антикрыла:

Рис. 2.9 Строения задних антикрыльев для разных трасс.
2.2. Диффузор.
Конструкция днища или диффузор (см. Рис. 2.10) отвечает за то, как воздух, находящийся под болидом его покидает. Обычно конструкторы усложняют форму большим количеством сложных углов, потому что чем быстрее воздух уходит, тем большую прижимную силу имеет болид и тем большей скоростью он обладает.
По тому же принципу, как образуется прижимная сила (закон Бернулли), зона низкого давления, прямо под антикрылом, помогает диффузору засасывать воздух, который так же в свою очередь обеспечивает прижимную силу.
|
|
|
|
|
Рис. 2.10 Диффузор.
На самом деле принцип действия диффузора прямопротивоположен принципу действия антикрыла: вместо того, чтобы отталкивать воздух, диффузор засасывает его. Эффект этот получается из-за аэродинамической формы. Диффузор находится в самой нижней, "хвостовой" части болида, прямо под задним антикрылом, и объем диффузора увеличивается по мере приближения его к "концу" болида (см. верхний Рис. 2.10). Воздух, попадающий в диффузор из-под дна болида разрежается, за счет попадания его в увеличенный объем диффузора, отсюда и эффект засасывания. Диффузор состоит из большого количества всеразличных "тонельчиков" и "разделителей", которые аккуратно и очень точно контролируют потоки воздуха для лучшего засасывания. Так как диффузор находится в зоне выхлопных газов и заднего рычага подвески, то это накладывает жесткие требования на его конструкцию, в противном случае (при некорректном создании и регулировках диффузора) при изменении скорости выхлопные газы будут влиять на аэродинамический баланс болида.
Появление диффузоров обусловлено запретом FIA поднимать "хвостовую" часть болида. В этом случае невозможно обеспечить нужный аэродинамический эффект без диффузоров.
2.3. Боковые дефлекторы.
Боковые дефлекторы разделяют и направляют воздух от передних колес на две части – одна направляется на охлаждение двигателя в воздухозаборники, вторая направляется наружу.
Это приспособление было впервые применено в 1993 году. Без них набегающий поток воздуха будет идти прямо, и, соответственно, давить на заднюю стенку воздухозаборника, создавая лобовое сопротивление. Дефлектор же (если рассмотреть для примера левый относительно гонщика воздухозаборник) закручивает поток против часовой стрелки (глядя спереди), причем, когда поток входит внутрь водухозаборника, то он уже направлен внутрь болида, т.е. на охлаждаемую поверхность.
Таким образом, с помощью боковых дефлекторов достигается две цели: снижение лобового сопротивления и более эффективное охлаждение. Устанавливаются они, как правило, между передними колесами и боковыми понтами болида (см. Рис. 2.11).
|
|
|
Рис. 2.11 Боковые дефлекторы.
Боковые дефлекторы выглядят несколько лишними, но на самом деле являются важной частью аэродинамического пакета. Они расположены в тех местах, где турбулентность воздушного потока максимальна и может снизить аэродинамическую эффективность болида. Стабилизаторы рассчитаны так, чтобы направлять воздушный поток под болид для создания там разрежения и тем самым - увеличения прижимной силы (см. Рис. 2.12).


Рис. 2.12 Воздушные потоки на боковых дефлекторах.
В сравнении с предыдущим поколением боковых панелей, новый дизайн является гораздо более сложным и тонким. На Рис. 2.11 изображена конструкция, которая использовалась McLaren в 1993 году. В то время боковые панели представляли собой тонкие ровные поверхности в форме прямоугольника, но сейчас, после эволюции, они представляют собой гораздо более сложные разновидности. Теперь они приобрели некоторый объем и особые очертания, чтобы направлять воздушный поток в различных направлениях.
Именно все эти, перечисленные выше, элементы конструкции играют важную роль в организации аэродинамического пакета болида.
2.4. Воздухозаборник.
Воздух, необходимый для работы двигателя, забирается из отверстия прямо над шлемом пилота. На размер этого отверстия ограничений нет, но при чрезмерно большом отверстии сильно возрастает тормозящий эффект.


Рис. 2.13 Воздухозаборник
2.5. Слипстрим.
«Рубенс Баррикелло на стартовой прямой догоняет Дэвида Култхарда и перед первым поворотом обходит его классическим слипстримом!»
Нечто подобное можно услышать в репортажах о Формуле-1. Что такое слипстрим? Как этот прием помогает гонщику обогнать своего соперника?
Английское выражение slip stream в дословном переводе означает «разреженный поток». А в русском языке есть несколько аналогов термина «слипстрим» — «спутный след», «воздушный мешок», «аэродинамическая тень»... Несмотря на кажущуюся разницу, обозначают они одно и то же — разрежение воздуха, которое образуется позади движущегося автомобиля (см. Рис. 2.14, зона разрежения, которая и образует слипстрим, показана синими цветом позади автомобиля, чем «теплее» цвет, тем выше давление в этой зоне).

Рис. 2.14 Характер течения воздушных потоков и распределение давлений
для седана ВАЗ-2110 на скорости 144 км/ч.
Этот эффект гонщики научились использовать себе во благо. Ведь если пристроиться вплотную за автомобилем соперника, то твоя машина окажется в зоне пониженного давления. А это сулит снижение силы лобового сопротивления. «Зависнув» у соперника на хвосте, гонщик при равной или даже немного меньшей мощности мотора получает преимущество — он может разогнаться в зоне пониженного давления, выскочить из «тени» и за счет большей скорости обойти соперника в конце длинной прямой!
Здесь вся проблема в том, что окружающий машину воздух не обладает достаточной энергией, чтобы самому устраниться, и поэтому он устремляется вслед за болидом. Любые выступающие элементы внешней обшивки корпуса болида влияют на характер потока воздуха, его обтекающего, а, следовательно, и на характер потока воздуха, следующего за машиной (кильватер). В конструкции болида F1 все аэродинамические элементы расположены в непосредственной близости друг от друга, поэтому они активно взаимодействуют между собой. Все, включая заднее антикрыло, колеса и даже диффузор под днищем машины определяет характер и свойства обтекающего потока воздуха. Этот поток, путешествуя по поверхности машины, постепенно теряет энергию, и значения его скорости и давления уже не могут вернуться к первоначальным.
Таким образом, получается, что двигаясь в воздушной среде болид Формулы 1, как, впрочем, и любая другая машина на его месте, будет генерировать разряженную среду позади себя (в кильватере).
Например, заднее антикрыло болида Формулы 1 образует довольно стабильную пару сильных завихрений на довольно большом расстоянии позади себя. В дождь или просто при большой влажности воздуха можно наблюдать эти завихрения потока воздуха в виде белых вихрей на концах заднего антикрыла. Еще в начале 1990-х это зрелище было обычным явлением в гонках Гран При.
При обтекании болида Формулы 1 эти вихри обуславливают движение потока воздуха вверх и назад - непосредственно за машиной, и вниз и вперед - по ее бокам. Вдобавок к этому, поток воздуха под машиной тоже вносит свой весомый вклад в общую картину обтекания болида.
Технический Регламент Формулы 1 гласит, что основная часть днища машины должна быть плоской, но диффузоры все-таки можно использовать. Воздух, вылетающий из канала диффузора, немедленно направляется вверх, благодаря влиянию заднего антикрыла и восходящему потоку воздуха непосредственно позади машины.
Совокупность всех этих явлений как раз и приводит к тому, что позади болида образуется зона разряжения. Поскольку эта область разряжения двигается вместе с машиной, то она создает некоторую силу сопротивления, и, кроме того, представляет определенные проблемы для машин, следующих сзади в непосредственной близости от нее.
Остановимся более подробно на том влиянии, которое зона разряжения оказывает на позади идущую машину. Если два болида движутся по прямой, то второй, находясь в непосредственной близости от первого, попадает в эту область разряжения и как бы "подтягивается к первому, словно на канате". Здесь все дело в том, что эта турбулентность позади первого болида автоматически уменьшает силу сопротивления, действующую на второй болид.
Пилоты говорят, что это притяжение (как раз его они и называют слипстримом) ощущается даже на расстоянии в пять-шесть корпусов от впереди идущей машины - чем ближе, тем сильнее, разумеется. Есть мнение, что у болидов старых времен слипстрим был гораздо более эффективным, что можно легко объяснить значительно большей прижимной силой, действовавшей на болид старой модели. Именно из-за снижения эффективности слипстрима появились проблемы с обгонами, ставшие столь актуальными в современной Формуле 1.
При движении по прямой, чем более сильный слипстрим, тем легче и быстрее можно приблизиться к впереди идущей машине и попытаться обогнать ее. Если слипстрим недостаточно эффективен, может возникнуть хронический и острый недостаток в ситуациях, благоприятных для обгона.
При движении в поворотах, напротив, эффект турбулентной зоны разряжения позади впереди идущего болида оказывает резко отрицательное влияние на болид, следующий в непосредственной близости позади первого. Пилоты часто жалуются на эффект недостаточной управляемости и недостаточного сцепления с трассой, который ощущается на расстояниях в четыре корпуса и меньше. Здесь все дело в прижимной силе.
У движущегося сзади болида она меньше, поскольку воздух, действующий на антикрылья и, собственно, создающий эту прижимную силу, обладает меньшей энергией, так как он только что "поработал на первую машину". Этот воздух отрывается от поверхности антикрыла раньше, чем положено, вследствие чего прижимная сила оказывается меньше. Получается, что сзади идущая машина не может совершать те же маневры и проходить повороты с той же скоростью, что и впереди идущая. Таким образом, она будет откатываться назад и никогда не попадет в ситуацию, благоприятную для обгона! (Едва ли кому-то это может понравиться!)
Вообще говоря, команды очень хотели бы понять, как ведут себя их машины, попадая в такую зону разряжения. Существует даже несколько методов исследований в этой области, симулирующие физический процесс. Среди них полномасштабные эксперименты с физическими моделями в полную величину, эксперименты в аэродинамической трубе, а также эксперименты, симулирующие саму зону разряжения с использованием стабилизаторов и металлических блоков (чтобы симулировать процессы, происходящие в кильватере болида). Но, справедливости ради надо признать, что, поскольку график у команд Формулы 1 весьма напряженный, они, как правило, пренебрегают этими исследованиями и просто списывают проблемы обгонов на очевидные недостатки Регламента.
3. Аэродинамические трубы.
На протяжении всего года команды проводят аэродинамические испытания. Для проверки и корректировки аэродинамических свойств болидов каждая команда, тестирует машину, не только гоняя ее по гоночной трассе, но и обдувая болид в аэродинамической трубе. В процессе разработок болида команды обычно отводят до 12 тысяч часов на тестирование в трубе.
"Аэродинамика – первоочередной фактор, определяющий техническое совершенство современного болида Формулы 1. Следовательно, аэродинамическая труба – первостепенная необходимость для создания такого болида", - заявил Питер Заубер на презентации аэродинамической трубы его команды (см. Рис. 3.1) в декабре 2003 г.

Рис. 3.1 Питер Заубер и его технический директор Вилли Рампф
в новой аэродинамической трубе команды Sauber.
Аэродинамическая труба (АТ) - это установка, создающая поток воздуха или газа для экспериментального изучения явлений, сопровождающих обтекание тел.
Область использования технологии АТ, конечно же, не ограничивается аэродинамическими испытаниями болидов F1. С помощью АТ определяются силы, возникающие при полёте самолётов и вертолётов, ракет и космических кораблей, при движении надводных и подводных судов, исследуются их устойчивость и управляемость. В АТ определяются ветровые нагрузки, а также нагрузки от взрывных волн, действующие на здания и сооружения - мосты, мачты электропередач, дымовые трубы и т. п.
Испытания в АТ базируются на принципе относительности Галилея, который гласит, что перемещение тела относительно воздуха (или жидкости) можно заменить движением воздуха, набегающего на неподвижное тело.
В аэродинамических трубах натурные явления обращаются, вместо поступательного, прямолинейного и равномерного движения тела в однородной неограниченной среде изучается обтекание неподвижного тела равномерным потоком с той же скоростью. По принципу относительности Галилея механические явления взаимодействия среды и тела будут в обоих случаях одинаковыми.
Для моделирования движения тела в АТ необходимо создать равномерный поток, имеющий в любых точках равные и параллельные скорости (равномерное поле скоростей), одинаковые плотность и температуру.
АТ дороги, поэтому обычно в них исследуется обтекание модели проектируемого объекта (или его частей), и определяются действующие на неё силы. При этом необходимо соблюдать условия подобия, которые обеспечивают возможность переносить результаты, полученные для модели в лабораторных условиях, на полноразмерный натурный объект. При соблюдении этих условий аэродинамические коэффициенты для исследуемой модели и натурного объекта равны между собой, что позволяет, определив аэродинамический коэффициент в аэродинамической трубе, рассчитать силу, действующую на натуру.
3.1. История создания и развития технологии аэродинамической трубы.
Еще в далеком прошлом исследователи понимали, что для более точных тестов нельзя опираться на естественные ветры. Исаак Ньютон и до него Леонардо да Винчи предполагали, что перемещение модели через воздушную среду с необходимой скоростью или ее обдув значительно выгоднее для проведения экспериментов, чем ветры естественного происхождения.
Впервые измерения сопротивления воздуха начали проводить в XVI веке на свободно падающих телах.
Проведением подобных опытов одним из первых занялся Леонардо да Винчи (1452-1519). Впрочем, он экспериментировал не только с падающими телами, но и с телами, движущимися в воде, и даже с плоскими поверхностями, движущимися в воздухе под углом атаки. Ему удалось найти оптимальную форму судна наименьшего сопротивления.
Дело Леонардо продолжил Галилео Галилей (1564-1642). Бросая с наклонной Пизанской башни тяжелые и легкие шары, он установил независимость скорости падения тяжелых тел от их веса и сформулировал один из величайших физических принципов — принцип инерции: если на тело не действуют силы, то оно движется равномерно. Немаловажное значение Галилей придавал логическому объяснению результатов эксперимента, пониманию физической сущности.
Еще одним великим шаробросателем был Исаак Ньютон (1643 — 1727), основатель физики и (совместно с Г.Лейбницем) высшей математики. Он бросал шары в Лондонском соборе святого Павла. Вопрос о сопротивлении тел был для Ньютона далеко не праздным. Он хотел доказать, что (в отличие от утверждений аристотелианцев) космическое пространство не заполнено материей. В противном случае космическая материя оказывала бы сопротивление движению небесных тел, и вся стройная механическая система мира, созданная трудами Ньютона, рассыпалась бы, как карточный домик.
После «великих шаробросателей» были попытки использовать сравнительно устойчивые естественные источники ветра. Модели помещались на гребнях гор или в продуваемых пещерах и ущельях. Но даже здесь непостоянство природы вынуждало экспериментаторов двигать модели через неподвижный воздух.
Бенджамин Робинс (1707-1751), блестящий английский математик, был первым, кто применил эффект вращающегося рычага и создал устройство для испытания моделей на высокой скорости по принципу центрифуги.
Его первая машина (см. Рис. 3.2) имела рычаг длиной 4 фута (~1,26 м), закрепленный на шкиве.

Рис. 3.2 Центрифуга Бенджамина Робинса.
Вращение осуществлялось при помощи груза, тянущего под своим весом веревку, намотанную на шпиндель. При этом достигались скорости несколько метров в секунду. Закрепляя на конце рычага различные предметы – пирамиду, лист металла и т. п., Робинс установил несостоятельность существующих теорий воздушного сопротивления. «Различные формы, даже если предположить, что они имеют одинаковую площадь, не всегда обладают тем же воздушным сопротивлением или обтекаемостью».
Явно сложное отношение между обтекаемостью, формой, положением модели и скоростью воздуха шло вразрез с простой теорией, выдвинутой Ньютоном.
Подобные эксперименты проводил также сэр Джорж Кайли (1773 -1857). Его аппарат позволял достичь скоростей в 6 м/с. Опираясь на свои эксперименты, Кайли в 1804 г. создал и запустил беспилотный планер с площадью крыльев 18,5 кв. м., и уже в 1852 г. у него был готов проект триплана, имеющий многие характеристики современных самолетов.
Но основной вклад Кайли состоял в том, что он первым отметил, что «двигатель нужно использовать лишь для движения вперед, а подъемную силу будут создавать крылья». До этого считалось, что крыльями необходимо взмахивать, как это делают птицы.
До конца XIX века рычажное приспособление оставалось практически единственным устройством для исследования аэродинамики. Но ряд существенных недостатков и сложностей этой конструкции привел к появлению более совершенного инструмента – аэродинамической трубы.
Как принято считать, Франк Уинхэм (1824-1908), член Совета авиационного общества Великобритании, был первым человеком, кто спроектировал и провел первые эксперименты с АТ в 1871 г. Сначала Уинхэм также пытался использовать «рычажную центрифугу», но неудачный опыт побудил его к тому, чтобы принудить Совет к увеличению финансирования для строительства АТ.
Это была труба более 3,5 м в длину и сечением 116 см2 (Рис. 3.3). Вентилятор, обдувавший модели, приводился в движение паровым двигателем.
|
|
|
|
а |
б |
Рис. 3.3 Первые аэродинамические трубы.
а – труба Франка Уинхэма, б – воздуходувка Циолковского
Уже первые эксперименты доказали абсолютное превосходство АТ перед другими способами проведения аэродинамических тестов.
В том же 1871 г. капитан Российской армии В. А. Пашкевич, преподаватель Артиллерийской академии, построил первую в России АТ для исследования сопротивления движению снарядов. А в 1897 г. К. Э. Циолковский при поддержке Н. Е. Жуковского построил АТ в Калуге, где провел исследования моделей дирижаблей и самолетов в потоке, скорость которого была около 5 м/с.
Для создания воздуходувки (рис.3.4) - так он ее называл - Циолковский использовал веялку, лопасти которой крутились вручную. К сожалению, в опытах Циолковского скорости оказались недостаточно большими, чтобы результаты можно было применять для нужд авиации. Однако такая воздуходувка весьма пригодна для малых опытов по исследованию силы сопротивления.
В 1902 г. под руководством Н. Е. Жуковского в механической лаборатории Московского университета строится первая в России аэродинамическая труба закрытого типа. Затем организуется специальная лаборатория в Кучине, где ставятся опыты по изучению свойств подъемной силы и ее зависимости от формы испытуемых тел. В 1904 г. под руководством Жуковского был создан первый в мире Аэродинамический институт (ЦАГИ), оказавший огромное влияние на развитие авиации и космонавтики. Проектирование этой плоской аэродинамической трубы занимался студент А.Н.Туполев.
С тех пор построено великое множество АТ, от миниатюрных до гигантских. В первую очередь аэродинамические исследования в АТ проводились разработчиками авиационной техники. Серьезно изучалась обтекаемость водных судов. Как и следовало ожидать, первым наземным транспортным средством, которое продули в АТ, стал поезд. Случилось это в 1899 г. Автомобили начали подвергаться испытаниям в АТ только после Первой мировой войны. В настоящее время комплексами для проведения аэродинамических испытаний обладают все крупнейшие автопроизводители мира.
Самая большая в мире аэродинамическая труба вступила в строй 11 декабря 1987 г. в исследовательском центре Эймса, принадлежащем НАСА, в Маунтин-Вью, штат Калифорния, США. Ее размеры – 12х24 м, в ней установлено 6 моторов мощностью 22500 л.с. каждый, создающих поток воздуха скоростью 555 км/ч.

Рис. 3.4 Исследовательский центр имени Эймса (Моффетт-Филд, Калифорния)
Использование современных компьютерных систем дает новый толчок в развитии технологии АТ. К примеру, если при работе над новым автомобилем макет машины проводит в реальной трубе сотни и тысячи часов, то виртуально на компьютерной модели аналогичную работу можно провести в течении нескольких минут. Виртуальная АТ куда компактней, чем реальная, она целиком помещается внутри компьютера. А скорость получения результатов зависит не от проворства инженеров, а от мощности процессора.

Рис. 3.5 Компьютерная модель автомобиля в виртуальной аэродинамической трубе
Разумеется, на обычном персональном компьютере такие исследования не проведешь. Необходимы высокопроизводительные суперкомпьютеры стоимостью несколько миллионов долларов, и не один, а несколько. Один из таких самых современных комплексов установлен в компании Opel. Вот лишь некоторые параметры системы: 6 компьютеров IBM eServer 690 «Regatta» с процессором 32 «POWER 4» 1,3 GHz, операционная память каждого компьютера – 64 GB, внешняя память емкостью 96 тера байт, вес – 1,2 тонны.
Возможно, когда-нибудь компьютер и сможет заменить реальную АТ, но порой даже специалисты с огромным опытом работы удивляются тем результатам, которые дает испытание трубами. И хотя иногда, основываясь на интуиции, удается создать удачный, с точки зрения аэродинамики, дизайн автомобиля, то без такого сложного устройства, как аэродинамическая труба, вряд ли будет возможным производство автомобилей будущего.
3.2. Конструкции аэродинамических труб.
Аэродинамические трубы по скорости потока разделяются на дозвуковые, трансзвуковые, сверхзвуковые и гиперзвуковые;
по принципу действия - на компрессорные (непрерывного действия), в которых поток воздуха создается специальным компрессором, и баллонные с повышенным давлением;
по компоновке контура - на замкнутые и незамкнутые.
Компрессорные трубы имеют высокий кпд, они удобны в работе, но требуют создания уникальных компрессоров с большими расходами газа и большой мощности. Баллонные аэродинамические трубы по сравнению с компрессорными менее экономичны, поскольку при дросселировании газа часть энергии теряется. Кроме того, продолжительность работы баллонных аэродинамических труб ограничена запасом газа в баллонах и составляет для различных аэродинамических труб от десятков секунд до несколько минут.
Широкое распространение баллонных аэродинамических труб обусловлено тем, что они проще по конструкции, а мощности компрессоров, необходимые для наполнения баллонов, относительно малы. В аэродинамических трубах с замкнутым контуром используется значительная часть кинетической энергии, оставшейся в газовом потоке после его прохождения через рабочую область, что повышает КПД трубы. При этом, однако, приходится увеличивать общие размеры установки.
Простейшие схемы труб малых скоростей (работающие в условиях практической несжимаемости воздуха при скоростях до 50-60 м/сек) приведены на 3.6,
|
|
|
|
а |
б |
Рис. 3.6 Простейшие схемы аэродинамических труб малых скоростей
1 - рабочая часть, 2 - коллектор (а) либо сопло (б) в обоих случаях - каналы, сужающиеся по течению (конфузоры); 3 - диффузор, расширяющийся по течению; 4 - вентилятор с мотором 5; пунктиром показаны предохранительная сетка «С» и в замкнутой трубе - поворотные лопатки «Л».
Труба прямого действия Рис. 3.6,а (не замкнутая) показана с закрытой стенками рабочей частью, а замкнутая труба - с открытой рабочей частью; но первую можно сделать с открытой рабочей частью, если убрать ее стенки, заменив их герметичной камерой (показана пунктиром), а вторую - сделать с закрытой рабочей частью, если вместо свободной границы поставить стенки.
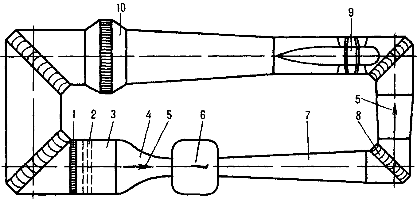
Дозвуковые аэродинамические трубы. Дозвуковая АТ постоянного действия (Рис 3.7) состоит из рабочей части 1, обычно имеющей вид цилиндра с поперечным сечением в форме круга или прямоугольника (иногда эллипса или многоугольника).

Рис. 3.7 Схема дозвуковой компрессорной аэродинамической трубы.
1- хонейкомб 2 - сетки 3 - форкамера 4 - конфузор 5 - направление потока 6 - рабочая часть с моделью 7 - диффузор, 8 - колено с поворотными лопатками, 9 – компрессор,
10 – воздухоохладитель
Рабочая часть А. т. может быть закрытой или открытой, а если необходимо создать А. т. с открытой рабочей частью, статическое давление в которой не равно атмосферному, струю в рабочей части отделяют от атмосферы т. н. камерой Эйфеля (высотной камерой).
Исследуемая модель 6 крепится державками к стенке рабочей части А. т. или к аэродинамическим весам. Перед рабочей частью расположено сопло, которое создаёт поток газа с заданными и постоянными по сечению скоростью, плотностью и температурой (спрямляющая решётка, выравнивающая поле скоростей). Диффузор 7 уменьшает скорость и соответственно повышает давление струи, выходящей из рабочей части. Компрессор (вентилятор) , приводимый в действие силовой установкой, компенсирует потери энергии струи; направляющие лопатки уменьшают потери энергии воздуха, предотвращая появление вихрей в поворотном колене; обратный канал 8 позволяет сохранить значительную часть кинетической энергии, имеющейся в струе за диффузором. Радиатор обеспечивает постоянство температуры газа в рабочей части А. т. Если в каком-либо сечении канала А. т. статическое давление должно равняться атмосферному, в нём устанавливают клапан.
Размеры дозвуковых А. т. колеблются от больших А. т. для испытаний натурных объектов (например, двухмоторных самолётов) до миниатюрных настольных установок.
В дозвуковых аэродинамических трубах исследуются аэродинамические характеристики дозвуковых самолетов вертолетов а также характеристики сверхзвуковых самолетов на взлетно-посадочных режимах. Кроме того, они используются для изучения обтекания автомобилей и др. наземных транспортных средств, зданий, монументов, мостов и др. объектов. На рис показана схема дозвуковой аэродинамической трубы с замкнутым контуром. Существуют также разомкнутые А. т., в которых газ к соплу подводится из атмосферы или специальных ёмкостей.
Существенной особенностью дозвуковых А. т. является возможность изменения скорости газа в рабочей части за счёт изменения перепада давления.
Сверхзвуковые аэродинамические трубы. В общих чертах схемы сверхзвуковой (см. Рис. 3.8 и 3.9) и дозвуковой А. т. аналогичны.

Рис. 3.8 Схема сверхзвуковой баллонной аэродинамической трубы
1 - баллон со сжатым воздухом 2 - трубопровод 3 - регулирующий дроссель 4 - выравнивающие сетки 5 - хонейкомб 6 - детурбулизирующие сетки 7 - форкамера 8 - конфузор 9 - сверхзвуковое сопло 10 - рабочая часть с моделью 11 - сверхзвуковой диффузор 12 - дозвуковой диффузор 13 - выброс в атмосферу

Рис. 3.9 Схема баллонной гиперзвуковой аэродинамической трубы
1 - баллон с высоким давлением 2 - трубопровод 3 - регулирующий дроссель 4 - подогреватель 5 - форкамера с хонейкомбом и сетками 6 - гиперзвуковое осесимметричное сопло 7 - рабочая часть с моделью 8 - гиперзвуковой осесимметричный диффузор 9 - воздухоохладитель 10 - направление потока 11 - подвод воздуха в эжекторы 12 - эжекторы 13 - затворы 14 - вакуумная емкость 15 - дозвуковой диффузор
Для получения сверхзвуковой скорости газа в рабочей части А. т. применяют т. н. сопло Лаваля, которое представляет собой сначала сужающийся, а затем расширяющийся канал. В сужающейся части скорость потока увеличивается и в наиболее узкой части сопла достигает скорости звука, в расширяющейся части сопла скорость становится сверхзвуковой и увеличивается до заданного значения, соответствующего числу М в рабочей части. Каждому числу М отвечает определённый контур сопла. Поэтому в сверхзвуковых А. т. для изменения числа М в рабочей части применяют сменные сопла или сопла с подвижным контуром, позволяющим менять форму сопла.
В диффузоре сверхзвуковой А. т. скорость газа должна уменьшаться, а давление и плотность возрастать, поэтому его делают, как и сопло, в виде сходящегося - расходящегося канала. В сходящейся части сверхзвуковая скорость течения уменьшается, а в некотором сечении возникает скачок уплотнения (ударная волна), после которого скорость становится дозвуковой. Для дальнейшего замедления потока контур трубы делается расширяющимся, как у обычного дозвукового диффузора. Для уменьшения потерь диффузоры сверхзвуковых А. т. часто делают с регулируемым контуром, позволяющим изменять минимальное сечение диффузора в процессе запуска установки.
В сверхзвуковой А. т. потери энергии в ударных волнах, возникающих в диффузоре, значительно больше потерь на трение и вихреобразование. Кроме того, значительно больше потери при обтекании самой модели, поэтому для компенсации этих потерь сверхзвуковые А. т. имеют многоступенчатые компрессоры и более мощные силовые установки, чем дозвуковые А. т.
3.3. Аэродинамические трубы для болидов Формулы 1.
Для нужд автомобильной промышленности в основном используются дозвуковые АТ замкнутого (геттингенского) типа с обратным воздушным потоком. Такие трубы благодаря замкнутому контуру позволяют добиться звуконепроницаемости и снизить мощность двигателя. АТ оснащены комплексными динамометрическими устройствами, позволяющими измерять все аэродинамические нагрузки. Такие весы позволяют поворачивать исследуемый объект под разными углами и моделировать воздействие ветра с разных сторон.
Сейчас аэродинамической трубой обзавелись большинство команд, а другие команды, которые еще не имеют этот испытательный полигон, стремятся как можно скорее пополнить таковым свою производственную базу.
Аэродинамические трубы дороги, к тому же их приходится оснащать имитацией дороги по типу транспортерной ленты для того, чтобы максимально точно смоделировать обтекание болида воздухом в реальных условиях.
По этой причине полномасштабные аэродинамические трубы используются не так часто: в настоящее время невозможно разогнать подобную имитацию дороги до нужной скорости. Команды обычно строят масштабные модели с коэффициентами масштабирования от 1:3 (33%) до 1:2 (50%). Чем больше модель, тем точнее результат, поскольку неизбежные в процессе любого производства погрешности меньше сказываются на крупных моделях.

Рис 3.10 Испытания модели болида в аэродинамической трубе
Но в виду того, что часто одна и та же деталь модели может быть изготовлена несколько раз с разными модификациями при подгонке параметров модели, становится ясно, что при увеличении размера модели растет и расход материала, усложняется изготовление деталей, а вместе с тем растут и затраты. Поэтому при увеличении размеров моделей разработчикам приходится искать компромиссные решения.
Данные о таких параметрах движения модели, как аэродинамическая подъемная сила (отдельно для передней и задней части), сопротивление воздуха и центр аэродинамического давления, постоянно снимаются с модели в реальном времени.
Затем эти данные усредняются для каждого из четырех режимов испытаний и анализируются специалистом по аэродинамике. Тот, в свою очередь, делает заключение о том, насколько хорошо ведет себя испытываемая деталь и указывает на возможные проблемы. По результатам анализа данных эта деталь может быть забракована, подвергнута повторному испытанию или доработке.
Наряду с конструкторской работой производятся также плановые работы по созданию "аэродинамических карт", на которых фиксируются, например, все подъемные и прижимные силы, действующие на конкретную деталь заднего крыла.
Также составляются рекомендации по настройке болида на тот или иной уровень прижимной силы. Все эти данные инженеры берут с собой на Гран При как вспомогательные материалы при настройке аэродинамики болидов.
При проведении исследований в аэродинамической трубе очень широко используется пластилин - да, пластилин! Часто идеи, которые приходят в голову исследователям, воплощаются в пластилине, в который в качестве наполнителя добавляют крошку из углеволокна или еще что-нибудь из того, что находится под рукой.
Такие модели, хотя и далеки от совершенства, позволяют оценить внешний вид предполагаемого образца и решить, стоит ли тратить средства на построение более качественной модели. Таким образом, экономится время чертежников и конструкторов моделей, поскольку нерабочие варианты дизайна отсекаются на самой ранней стадии. Этот процесс также использовался при создании болида на предстоящий год.
В качестве отправной точки при создании нового болида берется модель этого года, а затем в нее вносятся постепенные изменения. В результате модель как бы "эволюционирует". При создании основного каркаса модели использовалось дерево, что давало разработчиками возможность легко вырезать и формировать новые детали модели. А в случае, если модификации оказывались неудачными, у конструкторов всегда оставались образцы первоначальной конструкции.
В сезон конструкторских разработок - последнюю четверть года - модель большую часть времени состояла из дерева и пластилина! Когда требовалась более прочная модель (дерево и пластилин коробятся, затрудняя точное копирование модели, а также вызывая нестыковку деталей), по опорным точкам модели делались замеры и строились сечения. Затем эти данные передавались конструкторам, а те, в свою очередь, строили собственно компьютерную модель детали.
Теперь процесс производства более автоматизирован, в единицу времени разрабатывается больше деталей, и надобность в пластилиновых моделях и технологии "здесь отрежем, сюда приклеим" отпала. Теперь исключена возможность получения неверных результатов в результате использования специфических модификаций, а также необходимость в обратной разработке, когда приходилось переносить на бумагу фактические изменения модели, внесенные во время испытаний в аэродинамической трубе.
Новые методы, однако, сделали работу специалиста по аэродинамике менее динамичной, ведь хотя он и анализирует данные после каждой фазы испытания, в сам процесс испытаний он уже не вмешивается, и испытания идут по установленному графику. Ясно, что от результатов испытаний в аэродинамической трубе зависит конечная конструкция и методы настройки вновь создаваемых болидов. И так как аэродинамика становится ключевым элементом при создании новых разработок, работа, проведенная в аэродинамической трубе, во многом определяет и во многом ограничивает конструкцию современных гоночных болидов.
Работа над аэродинамикой часто оказывается неблагодарным занятием. На то чтобы испытать в аэродинамической трубе одну деталь, которая, может быть, позволит увеличить прижимную силу на несколько килограммов, уходит несколько дней. И даже если во время испытаний та или иная деталь доказывает свою эффективность - что случается не так уж и часто -, при установке на машину она может оказаться вредной! Лишь одна из десяти идей позволяет добиться хоть какого-то улучшения, а остальные оказываются в мусорной корзине! Но если не ошибается только тот, кто ничего не делает, а чем больше становятся бюджеты отделов аэродинамики, тем ближе заветная победа!
На территории базы Тойоты Ф1 размещается собственный туннель для аэродинамического испытания моделей в полумасштабе.
Поскольку вес и размеры болида Формулы 1 остаются неизменными, следовательно, чтобы быть конкурентно-способной командой необходимо улучшать двигатель и аэродинамику болида. Хотя многое может быть изучено и обработано на компьютере с помощью "Вычислительной Жидкой Динамики", аэродинамический туннель остается лучшим инструментом моделирования гоночных условий и позволяет более эффективно изучать, а в последствии улучшать аэродинамику болида.
|
Аэродинамический туннель |
Контрольная |
Изготовленный из стали, по новой технологии, туннель был разработан в сотрудничестве между Toyota Motorsport и Немецкой машиностроительной компанией со всеми спецификациями, установленными главным аэродинамиком TMG, Рене Хилхорстем, в 1999. Туннель способен к управлению скоростями более 200 км\час. Как только принимается революционное решение, сразу изготовляются модели новых компонентов и испытываются в аэродинамическом туннеле, чтобы проверить теорию. Используя модели полумасштаба, модификации могут быть осуществлены быстро и за более низкие затраты прежде, чем запускать полномасштабное производство. Штат инженеров при необходимости может использовать туннель 24 часа в сутки.
У Sauber в штате появился ветер
Состоялось торжественное открытие новой аэродинамической трубы команды Sauber.
Первые проектные работы по строительству собственной аэродинамической трубы команда Питера Заубера начала еще в 1999 году, само же строительство стартовало в январе 2002 года. И вот, без малого через два года, стратегически важное для любой команды Ф1 сооружение сдано в эксплуатацию, и началась боевая продувка болидов.
"Совершенная аэродинамика является на сегодняшний день ключевой характеристикой современных болидов Формулы-1. Поэтому переоценить появление в нашем арсенале собственной аэродинамической трубы - необходимого атрибута любой претендующей на успех команды - переоценить трудно", - отметил Питер Заубер.
Ультрасовременнейшее сооружение, занимающее площадь свыше 3000 квадратных метров, буквально напичкано современнейшим оборудованием, позволяющим создавать разнообразные условия испытаний и всесторонне контролировать их ход. Общая длинна воздуховодов составляет 141 метр, а скорость воздушного потока в рабочей камере достигает 300 км/ч. Объем рабочей камеры позволяет продувать в ней полноразмерные болиды Формулы-1, но, как было сообщено, основной объем испытаний будет проводиться на 60%-моделях.
По официальным данным, швейцарская "конюшня" угрохала на все это техническое богатство более 55 миллионов долларов. Однако, по мнению Питера Заубера, затраты очень скоро окупятся благодаря возросшему уровню подготовки техники его команды.
|
Так шла стройка. |
|
Заубер и Рампф в трубе. |
|
|
|
|
Испытания масштабной модели |
|
|
|
|
|
Испытания полноразмерного болида. |
На данный момент эта конструкция является самой совершенной в мире. Она имеет возможность развивать скорость ветра до 300 км/ч, имеет специальное покрытие, имитирующее трассу, которое движется под болидом. Существует возможность использования двух машин одновременно для изучения их поведения в условиях воздушных ям и турбулентности.
"Аэродинамика – первоочередной фактор, определяющий техническое совершенство современного болида Формулы 1. Следовательно, аэродинамическая труба – первостепенная необходимость для создания такого болида", - заявил Питер Заубер на пресс конференции посвященной их новшеству.
Поставкой и обслуживанием электронного оборудования будет заниматься компания Philips, недавно подписавшая контракт на использование команды в рекламных целях. По недавно заключенному соглашению, кроме болидов "конюшни" Питера Заубера в аэродинамических испытаниях будет принимать участие команда Ferrari, пригласившая обоих пилотов Sauber проводить тесты их болидов.
Команде Sauber не следует полностью списывать все неудачи нынешнего сезона на растущую пропасть между "богатыми" и "бедными". Такое признание сделал хозяин конюшни из Хинвила Петер Заубер, заявивший, что швейцарская частная команда в этом сезоне полностью провалила работу в аэродинамической трубе и не сумела создать хорошего пакета для своего оснащенного клиентскими моторами Ferrari болида C22. "С нашими аэродинамическими проблемами, мы необоснованно облегчили задачу своим конкурентам", - сокрушается Заубер.
Немалую роль в нынешнем бедственном положении играет недостаток бюджета. Команда имеет в своем распоряжении суммы в шесть раз меньшие, чем у конкурентов - заводских команд, таких как Ferrari или Toyota.
Петер Заубер: "Технологическая гонка перешла в новое измерение, о котором мы несколько лет назад и помыслить не могли. Но списать все наши беды и плохие результаты на недостаток средств было бы слишком просто".
Как сообщил неофициальный источник, аэродинамическая труба Sauber в Хинвиле была неправильно откалибрована, и в результате при создании и доводке болида, на котором гоняются Ник Хайдфельд и Хайнц-Харальд Френтцен, использовались неверные данные.
Тот же источник сообщает, что Петер Заубер со своей командой собирается задействовать аэродинамическую трубу в Англии, для того чтобы исправить положение. Сейчас же "болид совсем не в лучшей форме", - продолжает сокрушаться Заубер: "Иначе мы были бы гораздо выше". Последние очки команда заработала в прошлом месяце на Гран-При Европы; а вот перед этим Sauber не получала очков целых пять гонок. Петер Заубер признает, что многие возможности уже упущены, "но полностью списывать команду со счетов в этом сезоне пока рано".
Именно неудачная аэродинамика последней машины Sauber не позволдила пилотам команды удержать пятое место в кубке конструкторов. Теперь же швейцарские болиды должны стать быстрее.
О постройки аэротуннеле в Sauber задумались еще в 1999 году. Однако его строительство началось только в январе 2002 года.
Аэродинамика болида Ferrari. Победы Михаэля Шумахера в трех Гран-при сезона из четырех прошедших заставили поклонников «Формулы-1» уже в который раз заговорить о феномене великого немца и о том, с какой легкостью четырехкратному чемпиону мира удается брать верх над соперниками. Конечно же, огромную роль играют опыт, накопленный Михаэлем за годы выступлений в «королевских» гонках, слаженная работа всей команды и отличная новая машина F2002. Вместе с тем одним из решающих факторов побед, по мнению многих экспертов, стала превосходная аэродинамика болида Ferrari.
Именно на аэродинамическое совершенство новой машины сделала ставку «конюшня» Ferrari, чтобы превзойти на трассах «Формулы-1» основного конкурента, команду Williams BMW, сконцентрировавшую свои усилия в основном на работе с двигателем. Целью специалистов было придать болиду нужную форму, заставить воздушные потоки обтекать его так, чтобы создалась дополнительная сила, прижимающая его к дороге, и, как следствие, — усилилось сцепление покрышек с поверхностью трека, и машина уверенно вела бы себя как на прямых, так и при прохождении поворотов. В этом году Рори Бирн, главный специалист команды по аэродинамике, при подготовке новой машины к старту особое внимание уделил так называемой «аэродинамической блокировке» колес, с которой ему и пилотам пришлось помучиться в прошлом сезоне. Впрочем, хватало не только забот с «правильным» обтеканием автомобиля. Поскольку новая коробка передач стала меньшего размера, чем прежняя, появилась возможность распорядиться свободным местом, образовавшимся в центральной и задней части болида.
По-новому, горизонтально, установили амортизаторы, поработали над внутренней аэродинамикой боковых понтонов, внесли изменения в систему отвода горячего воздуха от радиаторов, видоизменили переднее антикрыло... И это, конечно же, далеко не все изменения, которые были внесены в конструкцию машины.
Над аэродинамикой болидов Ferrari работают несколько отделений производственной и технологической баз команды в Модене и Маранелло. С 2000 года «конюшня» активно сотрудничает с итальянской аэрокосмической компанией Finmeccanica, используя в своих целях опыт партнера в области аэродинамики, ее технологии производства новых конструкционных и специальных материалов. Каждую деталь машины проектируют с использованием сложного компьютерного моделирования. Одним из самых уникальных и дорогостоящих проектов компании стало строительство в 1997 году специальной аэродинамической трубы для машин «Формулы-1». Она оснащена новейшими системами считывания информации и сверхточными системами измерения. В ней можно имитировать движение автомобиля по дороге, чтобы максимально точно смоделировать обтекание его воздухом в реальных условиях гонки.
Аэродинамическому совершенству машины подстать и великолепная обтекаемость шлема пилота. В этом сезоне Михаэль Шумахер получил новый шлем, который не только удобнее и легче предыдущего, но и способен как бы прибавить автомобилю мощность примерно в 10 л.с. Оливер Шимпф, представитель немецкой компании Schuberth, сотрудничающей с Ferrari, подтвердил эту информацию, заявив, что специалисты его фирмы вместе с инженерами команды около 3000 часов испытывали «головной убор» в аэродинамической трубе. Он плотно закрывает шею пилота и так распоряжается воздушными потоками, что они не попадают внутрь кабины, а идут вдоль головы гонщика, а затем на спойлер, что способствует увеличению прижимной силы болида, и в воздухозаборник, благодаря чему двигатель лучше охлаждается. К тому же шлем снабжен улучшенной системой вентиляции и фильтрации воздуха. Шумахер надеется, что он принесет ему удачу, а главное — пятый чемпионский титул.
Спортивные результаты Ferrari, ее новые технические разработки, воплотившиеся в F2002, не дают спокойно спать командам-соперницам. McLaren, еще в минувшем сезоне претендовавшая на чемпионское звание, а сегодня переживающая не лучшие времена, готова бороться за очки любыми способами. Ее директор Род Деннис, прекрасно понимая, что его машины весьма уступают болидам Ferrari, да и пилоты не блещут особым мастерством, недавно обратился в FIA (Международная автоспортивная федерация) с жалобой на итальянских конкурентов, которые якобы используют запрещенные аэродинамические элементы на своей новой машине. Как утверждает Деннис, на гонке в Бразилии верхний элемент заднего антикрыла машины Михаэля Шумахера прогибался, что дало ему преимущество в скорости на прямых. После Гран-при Сан-Марино он заявил, что «гибкими» являются и боковые понтоны F2002, и это существенно улучшает аэродинамику машины. «Когда Шумахер атакует поребрики, то при замедленной съемке видно, как боковые понтоны его болида приходят в движение и изменяют свою форму», — написал в своем заявлении Деннис. Однако FIA, изучив видеозапись, сочла, что наблюдаемая деформация вызвана ударом автомобиля о поребрики, и признало машину F2002 соответствующей требованиям. Росс Браун — технический директор Ferrari прокомментировал жалобы Денниса так: «Когда у тебя быстрая машина, другие пытаются найти этому самые простые объяснения».
Роль аэродинамической трубы. Принимая во внимание то, что F1 присуще большие скорости, одной из основных дизайнерских областей является аэродинамика. Аэродинамическое строение болида может влиять на такие вещи как скорость, прижимная сила, и т.д., также, аэродинамика влияет и на износ шин, количество требуемого топлива и т.п. Большие команды, обычно, отводят 12,000 часов на тестирование в аэродинамической трубе в процессе разработок болида.
Создание масштабных деталей для тестов в аэродинамической трубе было бы очень долгим и дорогим, так что команды создают масштабную модель, идеальную по всем параметрам. Разные команды используют разные масштабы, McLaren, к примеру, имеют 40% трубу, Ferrari создают полу-масштабные модели. Если модель оказывается большой, то аэро поток будет искажен боковыми сторонами аэродинамической трубы, эти взаимодействия называют 'блокирущие факторы' и они, несомненно, искажают верные результаты. Модели обычно создаются из карбона с алюминивыми "примочками", такими как антикрылья, подвеска. Модели должны быть очень прочными, т.к. тунель создает сильное давление на эродинамические компоненты, и гибкие детали, в данном случае, будут искажать результаты. Команды создают 3 или 4 модели, с различными частями, изменяющимися в течение разработок.
Renault хочет строить аэродинамическую трубу. Команда Renault в скором времени планирует приступить к постройке второй аэродинамической трубы в Энстоне. Сейчас в распоряжении команды есть две аэродинамических трубы - собственная старая в Великобритании, и еще одна в Италии, которой Renault пользуется по соглашению с ее владельцем, компанией Fondmetal Technologies.
В будущем году французская команда надеется сделать серьезный шаг вперед в техническом плане. Подготовка к следующему сезону идет полным ходом. По планам Renault новое шасси и двигатель 2003 года будут готовы уже в начале декабря.
Концерн General Motors ввел в строй самую мощную на сегодняшний день аэродинамическую трубу неподалеку от Детройта (штате Мичиган).
|
|
|
Воздушный поток, достигающий скорости 240 км/ч, создает циклопических размеров (диаметр около 13 метров) вентилятор, который приводится в действие электродвигателем мощностью 4500 л.с. Впечатляющий поперечник трубы вовсе не означает, что продувать в ней GM собирается даже крупногабаритные грузовые автомобили. Согласно законам аэродинамического моделирования, воздушный поток, огибающий машину, должен быть достаточно объемным — чтобы избежать влияния стен, искажающих картину обтекания. Как и любой прибор такого рода, мичиганская новинка оборудована точнейшими «весами», замеряющими аэродинамическое сопротивления автомобиля в целом и его отдельных частей. При необходимости исследователи могут прибегнуть к классическому методу визуализации — струей дыма, которая наглядно иллюстрирует ход воздушных потоков.
На другом континенте, в Европе, готовят к пуску новейшую аэродинамическую трубы для команды «Формулы-1» Sauber. Проект стоимостью около 48 млн евро увенчается созданием агрегата, благодаря которому «конюшня» намерена довести до лучших аэродинамических кондиций новую модель своего болида С23 и разработать следующую — С24. В отличие от заокеанского сооружения, диаметр его рабочей части всего 9,4 м, зато воздух в ней разгоняется до вполне «формульной» скорости 300 км/ч. Продувать в потоке собираются как болиды в натуральную величину, так и модели, чей размер составляет 50% и 60% от габаритов реальной машины.
Специальная поворотная площадка позволит моделировать не только фронтальное обтекание автомобиля, но и под углом до 10 градусов. Как считают инженеры, чрезвычайно важна и возможность проверить на масштабных моделях аэродинамику сразу двух болидов, как бы несущихся по трассе в непосредственной близости друг от друга.
3.4. Вазовская труба.
Российский автопром обзавелся собственной полноразмерной АТ только в 1988 г. Труба была построена на Дмитровском автополигоне под Москвой.

Рис 3.11 Дмитровский автополигон под Москвой.
До этого для продувки автомобилей использовались авиационные трубы, но они были не слишком приспособлены. Масштабные модели продувались на кафедре механики МГУ, а на заключительном этапе разработки полноразмерные образцы испытывались в ЦАГИ и на западных автомобильных фирмах Re-nault, Porsche и др.
Нет ничего необычного в том, что первым из российских автогигантов своим комплексом аэроклиматических исследований обзавелся АвтоВАЗ. Как было отмечено выше, вазовская труба является практически точной копией поршевской. Но все по порядку.
Оказывается, аэродинамикой на ВАЗе занимались практически с самого начала. Существовала даже масштабная модель «копейки» (ВАЗ-2101), которую испытывали в Казанском авиационном институте. Первые целенаправленные аэродинамические опыты ВАЗ начал проводить с 1978 г. на оборудовании ЦАГИ в Москве. Трубы там авиационные и для автомобилей не предназначены (например, там нет пола). Пришлось строить специальные устройства для испытаний моделей автомобилей.
Уже в ноябре 1979 г. была проведена первая продувка автомобиля ВАЗ-2108 в натуральную величину. Бытует мнение, что «восьмерку» помогали строить специалисты Porsche. Это утверждение верно лишь отчасти – некоторые консультации были, но не больше.
С появлением проекта ВАЗ-2110 возникла острая необходимость в собственной АТ. Многие сотни экспериментов в ЦАГИ не давали практически ничего. Требовалась специальная автомобильная АТ. Окончательная базовая форма «десятки» была утверждена лишь в апреле 1987 г. И в июле 1987 г. после подготовки и многочисленных проверок макетов 1:4 третий вариант масштабной модели автомобиля был испытан в исследовательском центре Вайсах. Там же совместно с сотрудниками Porsche была проведена оптимизация моделей, затем макета масштабом 1:1 и, наконец, автомобиля в натуральную величину. Но этого было недостаточно.
Опыт работы на Porsche с особой яркостью выявил необходимость создания своей испытательной базы. И здесь громадную роль сыграл первый президент СССР Михаил Сергеевич Горбачев. Его визит на ВАЗ и знаменитый призыв «стать законодателями мод в автомобилестроении» сослужил хорошую службу. Вскоре после этих событий был проявлен интерес к проблемам ВАЗа, выделено финансирование, и работа закипела.
Все начиналось в 1987–1988 гг. Был объявлен конкурс на лучший проект научно-технического центра (НТЦ). Откликнулись многие. Первой была финская фирма «Финстрой», но в итоге победила другая финская компания – «Экке Грен», которая предложила более рациональное строительное решение и нашла партнеров по проектированию и строительству корпусов НТЦ.
Для создания комплекса была привлечена канадская фирма DSMA International Inc (именно эта фирма строила аэроклиматические комплексы Porsche и Volvo). Строительные работы начались в 1989 г. Основной корпус был построен уже в 1990 г. Потом начался экономический кризис, и проект несколько замедлился. В 1996 г. начался последний этап строительства. Шел монтаж основного технологического оборудования. Причем сложнейшие аэродинамические весы пришлось монтировать самостоятельно. АТ ВАЗа вступила в строй в 1996 г., и первым автомобилем, который был в ней испытан, стал ВАЗ-1119 «Калина».
|
|
|
Рис 3.12 Отечественные автомобили в трубе.
Сначала необходимо определить площадь поперечного сечения автомобиля или макета. От точности этих данных будет зависеть точность дальнейших расчетов аэродинамических нагрузок на автомобиль.
Стенд для измерения площади поперечного сечения спроектирован фирмой ISRA Systemtechnik GmbH и рассчитан на объекты с высотой и шириной не более 2,5х2,5 м. На стенде можно проводить измерение автомобилей и моделей с площадью поперечного сечения до 4 м2. Время измерения – не больше 30 мин., а точность стенда – 0,2%. Луч гелий-неонового (НеNe) лазера диаметром 250 мм создает практически абсолютно параллельный пучок. Лучом производится сканирование по периметру объекта. Данные, полученные камерами, находящимися за объектом, обрабатываются на компьютере, и вычисляется площадь. Далее можно приступить к испытаниям в аэродинамической трубе.
АТ ВАЗа – это труба замкнутого (геттингенского) типа с одним обратным каналом и рабочей частью, выполненной с перфорированными стенами и потолком. Труба позволяет производить испытания автомобилей и моделей с площадью поперечного сечения до 4 м2 (т. е. практически любые легковые, спортивные автомобили, некоторые микроавтобусы в натуральную величину и макеты больших автобусов и грузовиков в масштабе 1:2, 1:2,5). Кроме того, можно испытывать и другие объекты: макеты зданий, спортивный инвентарь, амуницию и т. д. В результате можно не только произвести необходимые замеры сил, действующих на объект, но и выработать определенные рекомендации по оптимизации поверхностей.
Вазовская АТ имеет ряд особенностей, позволяющих говорить о ней как об одной из лучших в мире. Звукоизоляция трубы очень качественная. И благодаря тому, что собственный шум трубы достаточно низкий и есть возможность демонтировать щелевые стены и потолок, появляется возможность проводить не только аэродинамические испытания, но и доводку автомобиля по аэродинамическому шуму.
Система отсоса пограничного слоя в рабочей части АТ, состоящая из базовой и распределенной систем, позволяет снизить толщину пограничного слоя до минимальных значений. Это позволяет добиться очень высокой точности измерений даже для автомобилей с низким клиренсом (менее 50 мм).
Сейчас в ряде западных компаний начинают осваивать измерительные стенды с движущимся полотном, имитирующим движение автомобиля по дороге. Но пока такие устройства проигрывают в точности неподвижным столам с отсосом пограничного слоя. О точности измерений говорит тот факт, что данные дорожных испытаний и показателей в вазовской трубе различаются не больше чем на 1%.
Система поддержания заданной температуры воздушного потока обеспечивает рабочую температуру воздушного потока в диапазоне +20-25ОС с точностью до 0,5ОС. Параметры АТ хоть и не являются рекордными, но впечатляют своими масштабами и возможностями. Максимальная скорость ветра в трубе – 60 м/с (216 км/ч). При этом площадь сечения рабочей части трубы – 22,3 м2. Вентилятор (если так можно сказать о машине мощностью 2300 кВт – одна тысячная Волжской ГЭС) диаметром 7,4 м состоит из 11 лопастей высотой 1,8 м и вращается с частотой 300 об/мин.
Эту сложную и ответственную часть создавали, что называется, всем миром: двигатель и системы управления от шведской фирмы ABB, металлоконструкция вентилятора финская, а лопасти германской фирмы «Гофман».
Сам процесс создания воздушного потока не так прост, как может показаться. Дело в том, что если бы можно было просто обдувать машину мощным вентилятором, то в таких сложных сооружениях не было бы необходимости. Воздушный поток должен быть не только сильный, но и ровный как по составу, так и по температуре. Поэтому после вентилятора он расширяется, проходит два поворота и упирается в сложную систему фильтров. Сначала поток проходит через одну детурбулизирующую сетку. Затем идет теплообменник, поддерживающий постоянную температуру воздуха. Следом расположен хонейкомб, состоящий из множества шестигранных сот и служащий для выравнивания потока и разбивания крупных вихрей. Последними воздух преодолевает еще три слоя детурбулизирующих сеток и уже ровным потоком «наваливается» на автомобиль. В итоге степень турбулентности не превышает 0,2%, что способствует высокой точности измерений.
Но сердцем всего комплекса являются весы. Это 6-компонентные аэродинамические весы фирмы Carl Schenk AG с прямым измерением нагрузок. Особенностью данного типа весов является то, что ориентация всех стержней, передающих нагрузку, идеально совпадает с осями координат, благодаря чему отсутствует взаимное влияние измеряемых компонент друг на друга. Рама весов напрямую не связана с землей.
|
|
|
Рис 3.13 Аэродинамические весы фирмы Carl Schenk AG
Контакт осуществляется через шесть чувствительных элементов – тензодатчиков. Три датчика измеряют вертикальную составляющую нагрузки и два момента сил, отдельно одна балка отвечает только за аэродинамическое сопротивление (поэтому достигается такая точность измерений), а еще две балки измеряют боковую силу и поворачивающий момент. То есть все три силы и три момента, действующие на объект испытаний, снимаются отдельно друг от друга. Точность таких весов – 0,1%. Поворотный стол весов позволяет вращать автомобиль на угол от –180 до +180 градусов для имитации бокового ветра или изменения направления ветра при испытаниях зданий и сооружений. Жаль только, что вес объекта ограничен лишь тремя тоннами. Но для нужд АвтоВАЗа этого вполне достаточно.
В подвале расположена модельная труба. На ее «плечи» ложится основная работа по доводке автомобилей еще на стадии проектирования. Основные испытуемые модели – это макеты будущих автомобилей в масштабе 1:4. Но самое большое достоинство этой трубы в том, что она является точной копией (также в масштабе 1:4) большой трубы. Вплоть до аэродинамических весов. Та же скорость 60 м/с, но вентилятор всего 220 кВт (в 10 раз меньше). То есть себестоимость работ в такой трубе значительно ниже. А учитывая, что при доводке макета приходится проводить не одну сотню продувок, экономия становится еще более значимой.
В результате всех испытаний разброс в точности измерений не больше 0,7–0,8%. А благодаря большой накопленной базе испытаний как малых и больших моделей, так и реальных автомобилей удается уже на ранней стадии проектирования, по анализу моделей предположить, какими будут характеристики реального автомобиля. Точность прогноза 2–3%.
А вот один интересный факт. Дело в том, что разные АТ могут давать различные данные. Для сравнения результатов используются перекрестные сравнительные тесты, когда одни автомобили испытываются в различных трубах. В результате определяются некоторые поправочные коэффициенты.
К примеру, для пересчета показателей АТ компании Mercedes в результате сравнительных испытаний выведен коэффициент 0,91. То есть Cx ВАЗ-2112 в АТ Mercedes был бы равен не 0,335, как у нас, а 0,305 (0,335*0,91). И наоборот, новый Mercedes E-класса с Cx = 0,26 (по данным производителя) в нашей трубе равняется примерно 0,286.
Использованные источники.
Физика учебник
Абрамович Г. Н. Прикладная газовая динамика М: Наука, 1969.
Пэнкхёрст Р. и Холдер Д. Техника эксперимента в аэродинамических трубах. М., Изд-во иностр. лит-ры, 1954
Прикладная аэродинамика (под ред. Краснова) М: Из-во Высшая школа, 1974.
Поуп А., Гойн К. Аэродинамические трубы больших скоростей М: Мир 1969.
Попов С.Г. Измерение воздушных потоков. М.-Л., Гостехиздат, 1947.
Жаркова Г.М., Корнилов В.М., Лебига В.А., Миронов С.Г., Павлов А.А. Методы и средства исследований течений в аэрогазодинамическом эксперименте. // Теплофизика и аэромеханика, т.4, №3, 1997, стр. 283-294.
Магомаев А. Экология автомобиля: [Комплекс испытаний автомобилей]/А. Магомаев. // Наука и жизнь. - 2002. - N 9. - С. 30-33.
Мурадов Б. Труба зовет //Формула 1 – 2004. февраль, С. 34-41.,
































