Методы и средства контактных электроизмерений температуры
Министерство общего и профессионального образования
Российской Федерации
Донской Государственный Технический Университет
кафедра "Метрология и управление качеством"
_______________________________________________________
Реферат на тему:
«Методы и средства контактных электроизмерений температур»
Выполнил
Проверил
г. Ростов-на-Дону
2002
Введение
Современная термодинамика определяет температуру как величину, выражающую состояние внутреннего движения равновесной макроскопической системы и определяемую внутренней энергией и внешними параметрами системы. Непосредственно температуру измерить невозможно, можно лишь судить о ней по изменению внешних параметров, вызванному нарушением состояния равновесия благодаря теплообмену с другими телами.
Каждому методу определения температуры, в основе которого лежит зависимость между каким-либо внешним параметром системы и температурой, соответствует определенная последовательность значений параметра для каждого размера температуры, называемая температурной шкалой. Наиболее совершенной шкалой является термодинамическая температурная шкала (шкала Кельвина). Практическая ее реализация осуществляется с помощью Международной практической температурной шкалы (МПТШ), устанавливающей определенное число фиксированных воспроизводимых реперных точек, соответствующих температуре фазового равновесия различных предельно чистых веществ.
Исходным эталоном температуры является комплекс изготовленных в разных странах мира газовых термометров, по показаниям которых определяются численные значения реперных точек по отношению к точке кипения химически чистой воды при давлении 101325 Па, температура которой принята равной 100,00°С(373,15 К точно). Для практического воспроизведения и хранения МПТШ международным соглашением установлены единые числовые значения реперных точек, которые с развитием техники время от времени уточняются и корректируются. Последняя корректировка была произведена в 1968 г. Согласно МПТШ—68 установлены следующие реперные точки, соответствующие давлению 101325 Па: точка кипения кислорода —182,97 °С (90,18 К), тройная точка воды (при давлении 610 Па) +0,01 °С (273,16 К), точка кипения воды +100,00 °С (373,15 К), точки затвердевания: олова +231,9681 °С (505,1181 К), цинка +419,58 °С (692,73 К), серебра +961,93 °С (1235,08 К) и золота +1064,43 °С (1337,58 К).
Весь температурный диапазон перекрывается семью шкалами, для воспроизведения которых в зависимости от области шкалы используются различные методы: от 1,5 до 4 К — измерение давления паров гелия-4, от 4,2 до 13,8 К — германиевые терморезисторы, от 13,8 до 273,16 К и от 273,16 до 903,89 К— платиновые терморезисторы от 903,89 до 1337,58 К — термопары платинородий — платина, от 1337,58 до 2800 К — температурные лампы и от 2800 до 100 000 К — спектральные методы.
Огромный диапазон существующих температур (теоретически максимально возможное значение температуры составляет 1012 К) обусловил большое разнообразие методов их измерения. Наиболее распространенные методы измерения температуры и области их применения приведены в таблице 1.

Таблица 1
Нас будут интересовать контактные методы и средства электроизмерения температур.
1. Общие сведения о термоэлектрических преобразователях
1.1. ТЕРМОЭЛЕКТРИЧЕСКИЕ
ПРЕОБРАЗОВАТЕЛИ.
ПРИНЦИП ДЕЙСТВИЯ,
ПРИМЕНЯЕМЫЕ МАТЕРИАЛЫ
Тепловым называется преобразователь, принцип действия которого основан на тепловых процессах и естественной входной величиной которого является температура. К таким преобразователям относятся термопары и терморезисторы, металлические и полупроводниковые. Основным уравнением теплового преобразования является уравнение теплового баланса, физический смысл которого заключается в том, что все тепло, поступающее к преобразователю, идет на повышение его теплосодержания Q>ТС> и, следовательно, если теплосодержание преобразователя остается неизменным (не меняется температура и агрегатное состояние), то количество поступающего в единицу времени тепла равно количеству отдаваемого тепла. Тепло, поступающее к преобразователю, является суммой количества тепла Q>эл>, создаваемого в результате выделения в нем электрической мощности, и количества тепла Q>то>, поступающего в преобразователь или отдаваемого им в результате теплообмена с окружающей средой.
Явление термоэлектричества было открыто в 1823 г. Зеебеком и заключается в следующем. Если составить цепь из двух различных проводников (или полупроводников) А и В, соединив их между собой концами (рис. 1а), причем температуру Θ>1> одного места соединения сделать отличной от температуры Θ>о> другого, то в цепи появится э.д.с., называемая термоэлектродвижущей силой (термо-э.д.с.) и представляющая собой разность функций температур, мест соединения проводников:
E>AB>(Θ>1>,Θ>0>) = f(Θ>1>) f(Θ>0>).
Подобная цепь называется термоэлектрическим преобразова . телем или иначе термопарой; проводники, составляющие термопару, — термоэлектродами, а места их соединения — спаями.

Рис. 1 Рис. 2
При небольшом перепаде температур между спаями термо-э. д. с. можно считать пропорциональной разности температур: E>AB> = S>AB>ΔΘ.
Опыт показывает, что у любой пары однородных проводников подчиняющихся закону Ома, величина термо э.д.с. зависит только от природы проводников и от температуры спаев и не зависит от распределения температур между спаями.
Явление термоэлектричества принадлежит к числу обратимых явлений, обратный эффект был открыт в 1834 г. Жаном Пельтье и назван его именем. Если через цепь, состоящую из двух различных проводников или полупроводников, пропустить электрический ток, то тепло выделяется в одном спае и поглощается в другом. Теплота Пельтье связана с силой тока линейной зависимостью в отличие от теплоты Джоуля, и в зависимости от направления тока происходит нагревание или охлаждение спая.
Поглощаемая или выделяемая тепловая мощность пропорциональна силе тока, зависит от природы материалов, образующих спай, характеризуется коэффициентом Пельтье π>AB> и равна q>AB> = π>AB>∙I.
Во второй половине XIX в. Томсоном был открыт эффект, заключающийся в установлении на концах однородного проводника, имеющего температурный градиент, некоторой разности потенциалов и в выделении дополнительной тепловой мощности при прохождении тока по проводнику, имеющему температурный градиент. Однако э.д.с. Томсона и дополнительное тепло настолько малы, что в практических расчетах ими обычно пренебрегают.
На рис. 1б показана принципиальная схема термоэлектрического преобразователя, который в зависимости от положения переключателя Кл может работать в режиме генератора электрической энергии (положение 1) и в режиме переноса тепла от источника с температурой Θ к резервуару с температурой Θ>0>.
К.п.д. термоэлектрического генератора зависит от разности температур и свойств материалов и для существующих материалов очень мал (при ΔΘ = 300° не превышае η = 13%, а при ΔΘ = 100° значение η = 5%), поэтому термоэлектрические генераторы используются как генераторы энергии лишь в специальных условиях. К.п.д. термоэлектрического подогревателя и холодильника также очень малы, и для охлаждения к.п.д. при температурном перепаде 5° составляет 9%, а при перепаде 40° — только 0,6%; однако, несмотря на столь низкие к.п.д., термоэлементы используются в холодильных устройствах. В измерительной технике термопары получили широкое распространение для измерения температур; кроме того, полупроводниковые термоэлементы используются как обратные тепловые преобразователи, преобразующие электрический ток в тепловой поток и температуру.
Термопара с подключенным к ней милливольтметром, применяемая для измерения температуры, показана на рис. 2.
Если один спай термопары, называемый рабочим, поместить в среду с температурой Θ>1>, подлежащей измерению, а температуру Θ>2>, других, нерабочих, спаев поддерживать постоянной, то f(Θ>0>) = const и
E>AB>(Θ>1>,Θ>0>) = f(Θ>1>) – C= f>1>(Θ>1>).
независимо от того, каким образом произведено соединение термоэлектродов (спайкой, сваркой и т. д.). Таким образом, естественной входной величиной термопары является температура Θ>1> ее рабочего спая, а выходной величиной — термо-э. д. с., которую термопара развивает при строго постоянной температуре Θ>2> нерабочего спая.
Материалы, применяемые для термопар. В табл. 2 приведены термо э.д.с., которые развиваются различными термоэлектродами в паре с платиной при температуре рабочего спая Θ>1> = 100° С и температуре нерабочих спаев Θ>2> = 0° С. Зависимость термо э.д.с. от температуры в широком диапазоне температур обычно нелинейна, поэтому данные таблицы нельзя распространить на более высокие температуры.
Таблица 2
|
Материал |
Термо э.д.с., мВ |
Материал |
Термо э.д.с., мВ |
|
Кремний |
+44,8 |
Свинец |
+0,44 |
|
Сурьма |
+4,7 |
Олово |
+0,42 |
|
Хромель |
+2,4 |
Магний |
+0,42 |
|
Нихром |
+2,2 |
Алюминий |
+0,40 |
|
Железо |
+1,8 |
Графит |
+0,32 |
|
Сплав(90% Pt+10% Ir) |
+1,3 |
Уголь |
+0,30 |
|
Молибден |
+1,2 |
Ртуть |
0,00 |
|
Кадмий |
+0,9 |
Палладий |
0,57 |
|
Вольфрам |
+0,8 |
Никель |
1,5 |
|
Манганин |
+0,76 |
Алюмель |
1,7 |
|
Медь |
+0,76 |
Сплав (60%Au+30% Pd+10%Pt) |
2,31 |
|
Золото |
+0,75 |
Константан |
3,4 |
|
Цинк |
+0,75 |
Копель |
4,5 |
|
Серебро |
+0,72 |
Пирит |
12,1 |
|
Иридий |
+0,65 |
Молибденит |
69 ÷ 104 |
|
Родий |
+0,64 |
||
|
Сплав (90% Pt+10% Rh) |
+0,64 |
При пользовании данными таблицы следует иметь в виду, что развиваемые термоэлектродами термо э.д.с. в значительной степени зависят от малейших примесей, механической обработки (наклеп) и термической обработки (закалка, отжиг).
П
ри
конструировании термопар, естественно,
стремятся сочетать термоэлектроды,
один из которых развивает с платиной
положительную, а другой — отрицательную
термо э.д.с. При этом необходимо
учитывать также пригодность того или
иного термоэлектрода для применения в
заданных условиях измерения (влияние
на термоэлектрод среды, температуры и
т. д.).
Для повышения выходной э.д.с. используется несколько термопар, образующих термобатарею. На
рис. 3 рис. 3показан чувствительный элемент радиационного пирометра. Рабочие спаи термопар расположены на черненом лепестке, поглощающем излучение, холодные концы — на массивном медном кольце, служащем теплоотводом и прикрытом экраном. Благодаря массивности и хорошей теплоотдаче кольца температуру свободных концов можно считать постоянной и равной комнатной.
1.2. УДЛИНИТЕЛЬНЫЕ ТЕРМОЭЛЕКТРОДЫ, ИЗМЕРИТЕЛЬНЫЕ ЦЕПИ, ПОГРЕШНОСТИ ТЕРМОПАР
Удлинительные
термоэлектроды. Свободные концы
термопары лолжны находиться при
постоянной температуре, лучше всего
при 0°С (рис. 4). Однако не всегда
возможно сделать термоэлектроды
термопары настолько длинными и гибкими,
чтобы свободные концы ее можно было
разместить в достаточном удалении от
рабочего спая (рис. 4). Кроме того,
при использовании благородных металлов
делать длинные термоэлектроды экономически
невыгодно, поэтому приходится использовать
провода от другого материала. С
оединительные
провода A>1> и B>1>
(рис. 4),
идущие от зажимов в головке термопары
до места нахождения нерабочих спаев и
выполняемые из дешевых материалов,
называют удлинительными термоэлектродами.
Чтобы при включении удлинительных
термоэлектродов из материалов, отличных
от материалов основных термоэлектродов,
не изменилась термо э.д.с. термопары,
необходимо выполнить два условия. Первое
— удлинительные термоэлектроды
должны быть термоэлектрически идентичны
с основной термопарой, т. е. иметь ту же
термо э.д.с. в диапазоне возможных
тем-
Рис. 4
ператур места соединения термоэлектрод-
ов в головке термопары (примерно в диапазоне от 0 до 100° С). И второе—места присоединения удлинительных термоэлектродов к основным термоэлектродам в головке термопары должны иметь одинаковую температуру,
Для термопары платинородий — платина применяются удлинительные термоэлектроды из меди и сплава ТП, образующие термопару, термоидентичную термопаре платинородий — платина в пределах до 150° С. Такие же удлинительные термоэлектроды с измененными знаками полярности применяют для термопары вольфрам — молибден. Для термопары хромель — алюмель удлинительные термоэлектроды изготовляются из меди и константана. Для термопары хромель — копель удлинительными являются основные термоэлектроды, но выполненные в виде гибких проводов.
Погрешность, обусловленная изменением температуры нерабо-ihx спаев термопары. Градуировка термопар осуществляется при температуре нерабочих спаев, равной нулю. Если при практическом использовании термоэлектрического пирометра температура нерабочих спаев будет отличаться от 0° С на величину ΔΘ>0> , то необходимо ввести соответствующую поправку в показания термометра.
Однако следует иметь в виду, что из-за нелинейной зависимости между э.д.с. термопары и температурой рабочего спая величина поправки к показаниям указателя ΔΘ, градуированного непосредственно в градусах, не будет равна разности температур ΔΘ>0> свободных концов, что очевидно из рис. 5.
Величина поправки ΔΘ связана с разностью температур свободных концов через коэффициент k (ΔΘ = ΔΘ>0>∙k) называемый поправочным коэффициентом на температуру нерабочих концов. Величина k различна для каждого участка кривой, поэтому градуировочную кривую разделяют на участки по 100° С и для каждого участка определяют значение k.
В качестве
примера устройства для автоматического
введения поправки на температуру
нерабочих спаев на рис. 6 схематично
показано устройство тип
а
КТ-08. В цепь термопары и милливольтметра
включен мост, одним из плеч которого
является терморезистор R>Т>
из медной или никелевой проволоки,
помещенный возле нерабочих спаев
термопары (остальные плечи моста
выполнены из манганиновых резисторов).
При температуре бц мост находится в
равновесии и напряжение на его выходной
диагонали р
авно
нулю. При повышении температуры нерабочих
спаев сопротивление R>Т>
также увеличивается, мост выходит из
равновесия и возникающее напряжение
на выходной диагонали моста корректирует
уменьшение термо э.д.с. термопары.
Вследствие нелинейности термопар полной
коррекции погрешности, обусловленной
изменением температуры нерабочих спаев,
при помощи описываемого устройства
получить не удается, однако величина
остаточной погрешности не превышает
0,04 мВ на 10 К.
Недостатком подобных устройств является необходимость в источнике тока для питания моста и появление дополнительной погрешности, обусловленной изменением напряжения этого источника.
Погрешность, обусловленная изменением температуры линии, термопары и указателя. В термоэлектрических термометрах для измерения термо э.д.с. применяют как обычные милливольтметры, так и низкоомные компенсаторы с ручным или автоматическим уравновешиванием на .предел измерения до 100 мВ.
В тех случаях, когда термо э.д.с. измеряется компенсатором, сопротивление цепи термо э.д.с., как известно, роли не играет. В тех же случаях, когда термо э.д.с. измеряется милливольтметром, может возникнуть погрешность, обусловленная изменением сопротивлений всех элементов, составляющих цепь термо э.д.с.; поэтому необходимо стремиться к постоянному значению сопротивления проводов и самой термопары.
В отечественных термоэлектрических термометрах при их градуировке учитывается сопротивление внешней относительно милливольтметра цепи, т. е. проводов и термопары (R>пр> + R>ТП>), равное 5 Ом. Регулировка сопротивления этой внешней цепи осуществляется при помощи добавочной катушки сопротивления из манганина непосредственно при монтаже прибора.
Паразитные термо э.д.с. возникают вследствие наличия неод-нородностей в материалах и по данным, приведенным в работе, могут составлять для различных материалов 10—100 мкВ. В частности, для платиновой проволоки при протяженности распределения температуры 30 мм и температурном градиенте 30 К/мм величина паразитной термо э.д.с. составляет 10 мкВ.
1.3. РАЗНОВИДНОСТИ ТЕРМОРЕЗИСТОРОВ, ПРИМЕНЯЕМЫЕ МАТЕРИАЛЫ, ОСНОВЫ РАСЧЕТА
Для измерения температуры применяют металлические и полупроводниковые резисторы. Большинство химически чистых металлов обладает положительным температурным коэффициентом сопротивления (ТКС), колеблющимся (в интервале 0—100° С) от 0,35 до 0,68 %/К.
Для измерения температур используются материалы, обладающие высокостабильной ТКС, линейной зависимостью сопротивления от температуры, хорошей воспроизводимостью свойств и инертностью к воздействиям окружающей среды. К таким материалам в первую очередь относится платина. Благодаря своей дешевизне широко распространены медные терморезисторы, применяются также вольфрамовые и никелевые.
Сопротивление платиновых терморезисторов в диапазоне температур от 0 до + 650° С выражается соотношением R>Т> = R>0> (1 + AΘ + BΘ2), где R>0> — сопротивление при 0° С; Θ — температура в градусах Цельсия. Для платиновой проволоки, применяемой в промышленных термометрах сопротивления, A = 3,96847∙10-12 1/К; В = — 5,847∙107 1/К2. В интервале от 0 до — 200° С зависимость сопротивления платины от температуры имеет вид Rт = R>0> [1 + AΘ + ВΘ2 + С (Θ — 100)3], где С = — 4,22∙1012 1/К3.
При расчете сопротивления медных проводников в диапазоне от — 50 до + 180° С можно пользоваться формулой R>Т> = R>0> (1 + Θ), где = 4,26∙103 1/К.
Если для медного терморезистора требуется определить сопротивление R>T>>2> (при температуре Θ>2>) по известному сопротивлению R>T>>2> (при температуре Θ>1>), то следует пользоваться формулой

или более удобным соотношением

где Θ = 1/ — постоянная, имеющая размерность температуры и равная Θ>0> = 234,7° С (по физическому смыслу Θ>0> — это такое значение температуры, при котором сопротивление меди должно было бы стать равным нулю, если бы ее сопротивление уменьшалось все время по линейному закону, чего нет на самом деле).
В значительной степени сопротивление металлов зависит от их химической чистоты и термообработки. ТКС сплавов обычно меньше, чем у чистых металлов, и для некоторых сплавов может быть даже отрицательным в определенном температурном диапазоне.
Выбор металла для терморезистора определяется в основном химической инертностью металла к измеряемой среде в интересующем интервале температур. С этой точки зрения медный преобразователь можно применять только до температур порядка 200° С в атмосфере, свободной от влажности и коррелирующих газов. При более высоких температурах медь окисляется. Нижний предел температуры для медных термометров сопротивления равен — 50° С хотя при введении индивидуальной градуировки возможно их применение вплоть до — 260° С.
Промышленные платиновые термометры используются в диапазоне температур от —200 до +650° С, однако есть данные, свидетельствующие о возможности применения платиновых термометров для измерения температур от —264 до +1000° С.
Основным преимуществом никеля является его относительно высокое удельное сопротивление, но зависимость его сопротивления от температуры линейна только для температур не выше 100° С. При условии хорошей изоляции от воздействия среды никелевые терморезисторы можно применять до 250—300° С. Для более высоких температур его ТКС неоднозначен. Медные и никелевые терморезисторы выпускают из литого микропровода в стеклянной изоляции. Микропроволочные терморезисторы герметизированы, вы-сокостабильны, малоинерционны и при малых габаритах могут иметь сопротивления до десятков килоом.
Высокий ТКС имеют вольфрам и тантал, но при температуре свыше 400° С они окисляются и применяться не могут. Для низкотемпературных измерений хорошо зарекомендовали себя некоторые фосфористые бронзы. Кроме того, для измерений низких температур находят применение индиевые, германиевые и угольные терморезисторы.
Некоторые характеристики металлов, используемых в терморезисторах, приведены в табл. 3.
Таблица 3:
|
Материал |
ТКС в диапазоне 0-100°С |
Удельное сопротивление при 20 °С, Оm∙mm2/m |
Температура плавления, °С |
Термо-э.д.с. в паре с медью (0-500 °С), мкВ/К |
|
Платина |
0,0039 |
0,105 |
1773 |
7,5 |
|
Медь |
0,00427 |
0,017 |
1083 |
о |
|
Никель |
0,0069 |
0,08 |
1455 |
22,5 |
|
Вольфрам |
0,0048 |
0,055 |
3410 |
0,5 |
Погрешности, возникающие при измерении температуры термометрами сопротивления, вызываются нестабильностью во времени начального сопротивления термометра и его ТКС, изменением сопротивления линии, соединяющей термометр с измерительным прибором, перегревом термометра измерительным током.
Термометры сопротивления относятся к одним из наиболее точных преобразователей температуры. Так, например, платиновые теоморезисторы позволяют измерять температуру с погрешностью порядка 0,001° С.
П
олупроводниковые
терморезисторы отличаются от
металлических меньшими габаритами
и большими значениями ТКС.
ТКС полупроводниковых терморезисторов (ПТР) отрицателен и уменьшается обратно пропорционально квадрату абсолютной температуры: = B/Θ2. При 20° С величина ТКС составляет 2—8 проц/К.
Температурная зависимость сопротивления ПТР (рис. 7, кривая 2) достаточно хорошо описывается формулой R>T> = AeB/Θ, где Θ — абсолютная температура; А — коэффициент, имеющий размерность сопротивления; В — коэффициент, имеющий размерность температуры. На рис. рис. 7 для сравнения приведена температурная зависимость для медного терморезистора (кривая 1). Для каждого конкретного ПТР коэффициенты А и В, как правило, постоянны, за исключением некоторых типов 1 ПТР (например, СТ 3-14), для последних В может принимать два разных значения в зависимости от диапазона измеряемых температур.
Если для применяемого ПТР не известны коэффициенты А и В, но известны сопротивления R>1> и R>2> при Θ>1> и Θ>2>, то величину сопротивления и коэффициент В для любой другой температуры можно определить из соотношений
'
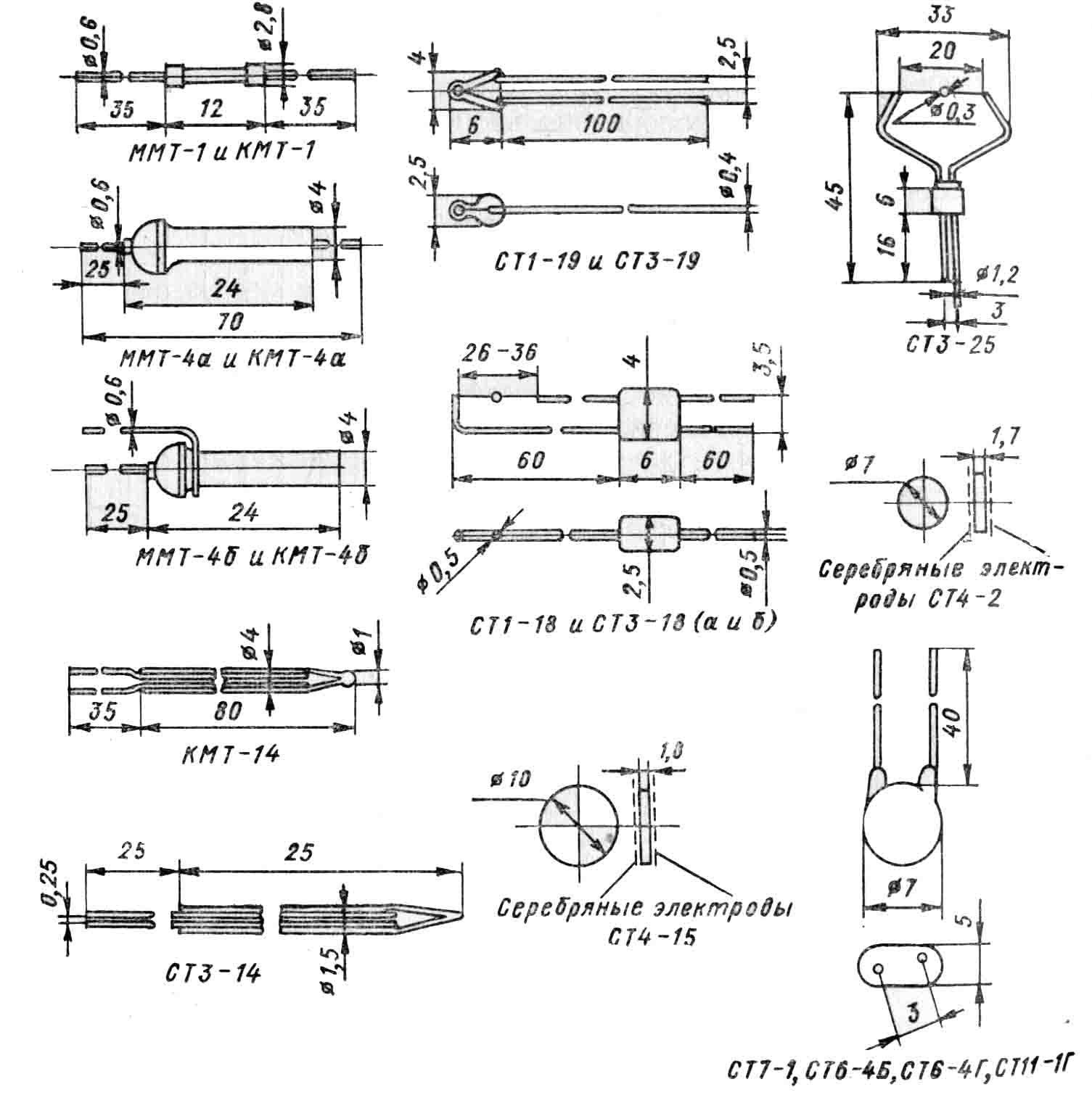
Конструктивно терморезисторы могут быть изготовлены самой разнообразной формы. На рис. 8 показано устройство нескольких типов терморезисторов. Терморезисторы типа ММТ-1 и КМТ-1 представляют собой полупроводниковый стержень, покрытый эмалевой краской с контактными колпачками и выводами. Этот тип терморезисторов может быть использован лишь в сухих помещениях.,
Терморезисторы типов ММТ-4 и КМТ-4 заключены в металлические капсулы и герметизированы, благодаря чему они могут быть использованы в условиях любой влажности и даже в жидкостях, ие являющихся агрессивными относительно корпуса терморезистора.
Особый интерес представляют миниатюрные полупроводниковые терморезисторы, позволяющие измерять температуру малых объектов с минимальными искажениями режима работы, а также температуру, изменяющуюся во времени. Терморезисторы СТ1-19 и СТЗ-19 имеют каплевидную форму. Чувствительный элемент в них герметизирован стеклом и снабжен выводами из проволоки, имеющей низкую теплопроводность. В терморезисторе СТЗ-25 чувствительный элемент также помещен в стеклянную оболочку, диаметр которой доведен до 0,5—0,3 мм. Терморезистор с помощью выводов прикреплен к траверсам.

Рис. 8
В табл. 4 представлены основные характеристики некоторых ПТР. В графе «номинальные сопротивления» приведены крайние значения рядов номинальных сопротивлений, нормируемых для большинства ПТР при 20° С. Исключение составляют ПТР типов
Таблица 4
|
Тип ПТР |
Номинальное сопротивление, кОм |
Постоянная В, K∙1012 |
Диапазон рабочих температур, oС |
Коэффициент рассеяния, мВт/К |
Постоянная времени (нe более), с |
|
КМТ-1 |
.22—1000 |
36—72 |
От —60 до +180 |
5 |
85 |
|
ММТ-1 |
1—220 |
20,6—43 |
От —60 до +125 |
5 |
85 |
|
СТЗ-1 |
0,68—2,2 |
28,7—34 |
От —60 до +125 |
5 |
85 |
|
КМТ-4 |
22—1000 |
36—72 |
От —60 до +125 |
6 |
115 |
|
ММТ-4 |
1—220 |
20,6—43 |
От —60 до +125 |
6 |
115 |
|
ММТ-6 |
10—100 |
20,6 |
От —60 до +125 |
1,7 |
35 |
|
СТЗ-6 |
6,8—8,2 |
20,5-24 |
От —90 до +125 |
1,6 |
35 |
|
КМТ-10 |
100—3300 |
36 |
0—125 |
— |
— |
|
КМТ-1 Оа |
100—3300 |
36 |
0-125 |
1 |
75 |
|
КМТ-11 |
100—3300 |
36 |
0—125 |
0,8 |
10 |
|
СТ4-2 |
2,1—3,0 |
34,7—36,3 36,3—41,2 |
От —60 до +125 |
36 |
— |
|
СТ4-15 |
1,5-1,8 |
23,5—26,5 29,3—32,6 |
От -60 до +180 |
36 |
— |
|
КМТ-17 (а, б) |
0,33—22 |
36—60 |
От —60 до +155 |
2 |
30 |
|
КМТ-17в |
0,33—22 |
36—60 |
От —60 до +100 |
2 |
30 |
|
СТ1-17 |
0,33—22 |
36—60 |
От —60 до +100 |
2 |
30 |
|
СТЗ-17 |
0,033—0,33 |
25,8—38,6 |
От —60 до +100 |
3 |
30 |
|
СТ4-17 |
1,5—2,2 |
32,6—36 |
От —80 до +100 |
2 |
30 |
|
КМТ-14 |
0,51—7500 |
41—70 |
От —10 до +300 |
0,8 |
60 |
|
СТЗ-14 |
1,5-2,2 |
26—33 27,5—36 |
От —60 до +125 |
1,1 |
4 |
|
СТ1-18 |
1,5—2200 |
40,5—90 |
От —60 до +300 |
0,2 |
1 |
|
СТЗ-18 |
0,68—3.3 |
22,5—32,5 |
От —90 до +125 |
0,18 |
1 |
|
СТ1-19 |
3,3—2200 |
42,3—72 |
От -60 до +300 |
0,6 |
3 |
|
СТЗ-19 |
2,2—15 |
29, 38, 5 |
От —90 до +125 |
0,5 |
3 |
|
СТЗ-25 |
3,3—4,5 |
26—32 |
От —100 до+125 |
0,08 |
0,4 |
КМТ-14, СТ1-18, СТ1-19, номинальные сопротивления которых нормируются для температуры 150° С. В графе «постоянная В» для некоторых типов ПТР приводятся два диапазона возможных значений В, первая строчка при этом относится к низким температурам, а вторая — к высоким. Перелом характеристики для ПТР типа СТЗ-6 происходит при — 28° С, для СТ4-2 и СТ4-15 — при 0° С и Для СТЗ-14— при 5° С.
Точность измерения температуры с помощью ПТР может быть весьма высокой. В настоящее время разработаны также ПТР для измерений низких и высоких температур. В частности, ПТР типа СТ7-1 может измерять температуру в диапазоне от — 110 до — 196° С. Высокотемпературный ПТР типа СТ12-1 предназначен для применения при температурах 600-1000° С.
Недостатками полупроводниковых терморезисторов, существенно снижающими их эксплуатационные качества, являются нелинейность зависимости сопротивления от температуры (см. рис. 14-12) и значительный разброс от образца к образцу как номинального значения сопротивления, так и постоянной В. Согласно ГОСТ 10688—63 допуск на величину номинального сопротивления может составлять ±20%. Допуск на величину постоянной В не нормируется. Практически он достигает ± 17% от номинального.
Нелинейность характеристики и технологический разброс параметров терморезисторов затрудняет получение линейных шкал термометров, построение многоканальных приборов, обеспечение взаимозаменяемости терморезисторов, необходимой при массовом производстве термометров с терморезисторами. Чтобы улучшить вид шкалы и обеспечить взаимозаменяемость терморезисторов, приходится применять специальные унифицирующие и линеаризующие цепи, как пассивные, так и активные.
Позисторы изготавливаются также из полупроводниковых материалов, но имеют положительный температурный коэффициент сопротивления. Для температурных зависимостей сопротивления позисторов характерно увеличение сопротивления при повышении температуры в определенном интервале температур. Ниже и выше этого интервала сопротивление с ростом температуры уменьшается. Положительные ТКС позисторов могут достигать величины порядка 30—50 проц/К, графики изменения их сопротивления в зависимости от температуры приведены на рис. 9.
В
озможно
также создание других видов полупроводниковых
Датчиков температуры. В частности, для
измерения температуры Можно применять
датчики из органических полупроводников
и Датчики на основе открытых или запертых
р — n-переходов.
Например, при заданном токе напряжение
на открытом р — п-переходе или на
стабилитроне линейно изменяется с
температурой, чричем ТКС для открытого
р — n-перехода
отрицателен и составляет 2—3 мВ/К, а для
стабилитрона положителен и достигает
8 мВ/К.
Измерительные цепи. Отличия измерительных цепей для терморезисторов от обычных цепей омметров заключаются в более узком диапазоне изменения измеряемого сопротивления и в необходимости учета сопротивлений проводов, соединяющих термометр сопротивления с измерительной цепью. Если используется простейшая двухпроводная соединительная линия, то может возникнуть погрешность от температурного изменения сопротивления этой линии. При применении высокоомных термометров (например, полупроводниковых) эта погрешность может быть пренебрежимо мала, однако в большинстве практических случаев, когда используются стандартные термометры сопротивления, ее приходится принимать во внимание.
Е
сли,
например, сопротивление медной линии
равно 5 Ом и используется термометр с
Ro = 53 Ом, то изменение
температуры линии на 10° С приведет к
изменению показаний прибора примерно
на ГС. Для уменьшения погрешности от
изменения сопротивления соединительной
линии часто применяют трехпроводную
линию. При этом термометр подключают к
мостовой цепи так, чтобы два провода
линии вошли в разные плечи моста, а
третий оказался подключенным
последовательно с источником питания
или указателем. На рис. 10, а
показана схема моста, содержащего
термометр сопротивления, присоединенный
трехпроводной линией.
Исключить влияние сопротивлений соединительной линии можно, используя четырехпроводное включение терморезистора, как это показано на рис. 10 а, б, и вольтметр с большим входным сопротивлением для измерения падения напряжения U>Θ> = IR на терморезисторе. Ток через терморезистор должен быть задан, поэтому "и такой схеме включения терморезистор питают от стабилизатора тока. Возможно также построение мостовых цепей с четырехпроводным подключением термометра.
1.4. ПРОМЫШЛЕННЫЕ ТЕРМОПАРЫ И ТЕРМОРЕЗИСТОРЫ
Основные параметры термопар промышленного типа:
Таблица 5
|
Обозначение термопары |
Обазначение градуировкит |
Материалы
|
Пределы измерения при длительном применении, °СС |
Верхний предел измерения при кратковременном применении, °С |
|
|
от |
до |
||||
|
ТПП |
ПП-1 |
Платинородий (10% родия)— платина |
—20 |
1300 |
1600 |
|
ТПР |
ПР-30/6 |
Платинородий (30% родия)— платинородий (6% родия) |
300 |
1600 |
1800 |
|
ТХА |
ХА |
Хромель — алюмель |
—50 |
1000 |
1300 |
|
ТХК |
ХК |
Хромель — копель |
—50 |
600 |
800 |
Для измерения температур ниже — 50° С могут найти применение специальные термопары, например медь — константан (до ~- 270° С), медь — копель (до — 200° С) и т. д. Для измерения температур выше 1300—1800° С изготавливаются термопары на основе тугоплавких металлов: иридий—ренийиридий (до 2100° С), вольфрам—рений (до 2500° С), на основе карбидов переходных металлов — титана, циркония, ниобия, талия, гафния (теоретически до 3000—3500° С), на основе углеродистых и графитовых волокон.
Градуировочные характеристики термопар основных типов приведены в табл. 6. В этой таблице указана температура рабочего спая Θ в градусах Цельсия и приведены величины термо-э.д.с. соответствующих термопар в милливольтах при температуре свободных концов 0° С.
Таблица 6
|
Обозначение градуировки |
Температура рабочего спая в, °С |
|||||||||
|
-50 |
—20 |
0 |
20 |
40 |
60 |
80 |
100 |
150 |
200 |
|
|
ХК |
—3,11 |
—1,27 |
0 |
1,31 |
2,66 |
4,05 |
5,48 |
6,95 |
10,69 |
14,66 |
|
ХА |
—1,86 |
—0,77 |
0 |
0,80 |
1,61 |
2,43 |
3,26 |
4,10 |
6,13 |
8,13 |
|
ПП-1 |
— |
— |
0 |
0,112 |
0,234 |
0,364 |
0,500 |
0,643 |
1,026 |
1,436 |
|
Обозначение градуировки |
Температура рабочего спая Θ, оС |
|||||||||
|
300 |
400 |
500 |
600 |
8OO |
1000 |
1200 |
1400 |
1600 |
1800 |
|
|
хк |
22,9 |
31,49 |
40,16 |
49,02 |
— |
— |
— |
— |
— |
— |
|
ХА |
12,2 |
16,40 |
20,65 |
24,91 |
33,32 |
41,26 |
48,87 |
— |
— |
— |
|
ПП-1 |
2,31 |
3,249 |
4,218 |
5,220 |
7,325 |
9,564 |
11,923 |
14,338 |
16,717 |
— |
|
ПР-30/6 |
— |
— |
— |
— |
— |
4,913 |
6,902 |
9,109 |
11,471 |
13,927 |
Допускаются отклонения реальных термо-э.д.с. от значений, приведенных в табл. 6, на величины, указанные в табл. 7.
Таблица 7
|
Обозначение градуировки |
Диапазон температур, °С |
Наибольшее допустимое отклонение термо- э. д. с., мВ |
|
ПП-1 |
От —20 до +300 |
0,01 |
|
От +300 до +1600 |
0,01 +2,5∙10-5(Θ – 300) |
|
|
ПР-30/6 |
От +300 до +1800 |
0,01 +3,3∙10-6(Θ - 300) |
|
ХА |
От —50 до +300 |
0,16 |
|
От +300 до +1300 |
0,16+2,0. 10-4(Θ -300) |
|
|
ХК |
От —50 до +300 |
0,20 |
|
От +300 до +800 |
0,20+6,0∙10-4(Θ-300) |
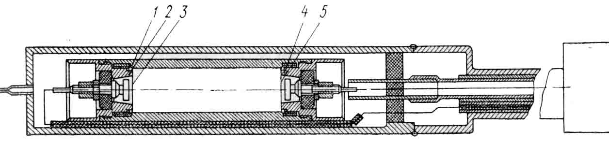
Конструкция термопары промышленного типа показана на рис. 11. Это термопара с термоэлектродами из неблагородных металлов, расположенными в составной защитной трубе с подвижным фланцем для ее крепления. Рабочий спай 1 термопары изолирован от трубы фарфоровым наконечником 2. Термоэлектроды изолированы бусами 4. Защитная труба состоит из рабочего 3 и нерабочего 6 участков. Передвижной фланец 5 крепится к трубе винтом. Головка термопары имеет литой корпус 7 с крышкой 11, закрепленной винтами 10; В головке укреплены фарфоровые колодки 8 (винтами 15) с «плавающими» (незакрепленными) зажимами 12, которые позволяют термоэлектродам удлиняться под воздействием температуры без возникновения механических напряжений, ведущих к быстрому разрушению термоэлектродов. Термоэлектроды крепятся к этим зажимам винтами 13, а соединительные провода — винтами 14. Эти провода проходят через штуцер 9 с асбестовым уплотнением.
О
сновным
вопросом при конструировании термопар
промышленного типа является выбор
материала защитной трубы (арматуры) и
изоляции. Защитная арматура термопары
должна оградить ее от воздействия
горячих, химически агрессивных газов,
быстро разрушающих термопару. Поэтому
арматура должна быть газонепроницаемой,
хорошо проводящей тепло, механически
стойкой и жароупорной. Кроме того, при
нагревании она не должна выделять газов
или паров, вредных для термоэлектродов.
При температурах, не превышающих 600° С, обычно применяют стальные трубы без шва, при . Рис. 11 более высоких температурах . (до 1100° С)— защитные трубы из легированных сталей. Для уменьшения стоимости защитных труб их часто выполняют составными (сварными) из двух частей: рабочего участка трубы из нержавеющей стали и нерабочего из обычной стали.
Для термопар из благородных металлов часто применяют неметаллические трубы (кварцевые, фарфоровые и т. д.), однако такие трубы механически непрочны и дороги. Фарфоровые трубы надлежащего состава можно использовать при температурах до 1300— 1400°С.
Применяя защитные трубы из карбида кремния и графита, необходимо учитывать, что при нагревании они выделяют восстанавливающие газы; поэтому помещаемые в них термопары (особенно термопары на платиновой основе) должны быть защищены дополнительно газонепроницаемым чехлом.
В качестве изоляции термоэлектродов друг от друга применяют асбест до 300° С, кварцевые трубки или бусы до 1000° С, фарфоровые трубки или бусы до 1300—1400° С. Для лабораторных термопар, используемых при измерении низких температур, применяют также теплостойкую резину до 150° С, шелк до 100—120° С, эмаль до 150—200 °С.
Промышленные проволочные терморезисторы (термометры сопротивления) выпускаются в России двух типов — платиновые (ТСП) и медные (ТСМ). Характеристики их точности приведены в табл. 8.
Таблица 8
|
Тип |
Диапазон температур. °С |
Класс ТОЧПОС1И |
Формула для подсчета погрешности (в Кельвинах) |
|
ТСП |
От —200 до 0 От 0 до +650 |
I |
+ (0,15+3,0∙103 |Θ|) ± (0,15+4,5∙103 Θ) |
|
От —200 до 0 От 0 до +650 |
II |
± (0,30 + 4,5∙10-3
|Θ|) |
|
|
ТСМ |
От —50 до +180 |
II |
± (0,30+3,5∙10-3|Θ|) |
|
III |
± (0,30 + 6,0∙10-3 |Θ|) |
Конструктивно промышленные термометры сопротивления выполняются в виде чувствительных элементов, помещаемых в защитные корпуса. Чувствительный элемент для термометров ТСП представляет собой бифилярную платиновую спираль, укрепленную на слюдяном каркасе или в капиллярных керамических трубках, заполненных дополнительно керамическим порошком. Выводы для такого элемента обычно выполняются из серебряной проволоки или ленты. Для термометров ТСМ чувствительный элемент изготавливается в виде бифилярной или однопроводной катушки, намотанной бескаркасно или на пластмассовом каркасе.
Чувствительные элементы термометров, как правило, помещаются в тонкостенные металлические гильзы и герметизируются. Защитные корпуса термометров сопротивления обычно выполняются такими же, как и для термопар (см. рис. 14-17), — в виде защитной трубы с резьбовым штуцером и головкой, к зажимам которой терморезистор может быть присоединен двумя, тремя или че
тырьмя выводами для того, чтобы можно было осуществить его включение в цепь двух-, трех- или четырехпроводной линией. Платиновые термометры могут в одном корпусе содержать два терморезистора, выходные величины которых используются в различных целях. Для специальных применений выпускаются также малогабаритные термометры сопротивления.
По величине сопротивления при О°С (R>0>) промышленные платиновые термометры изготавливаются трех типов: с R>0> = 10 Ом (обозначение градуировки — гр. 20), с R>0> = 46 Ом (гр. 21) и с R>0> = 100 Ом (гр. 22). Первые предназначены для измерения температур от 0 до + 650 °С, термометры же градуировок гр. 21 и гр. 22 применяются для измерения температур от — 200 до + 500 °С. Медные термометры выпускаются с R>0> = 53 Ом (гр. 23) и с R>0> = 100 Ом (гр. 24) и применяются для измерения температур от — 50 до + 180 °С. Градуировочные характеристики термометров приведены в табл. 9. В этой таблице указаны значения температуры Θ в градусах Цельсия и сопротивления термометров различных градуировок в омах. Для термометров градуировки гр. 20 сопротивления при всех температурах в 10 раз меньше, чем для термометров градуировки гр. 22.
Таблица 9
|
Обозначениеградуирорки |
Температура Θ, °С |
|||||||||
|
-200 |
- 150 |
-100 |
-50 |
-20 |
0 |
20 |
40 |
60 |
80 |
|
|
гр. 21 |
7,95 |
17,85 |
27,44 |
36,80 |
42.34 |
16,00 |
49,64 |
53,26 |
58,86 |
60,43 |
|
гр. 22 |
17,28 |
38,80 |
59,65 |
80.00 |
9204 |
100,00 |
107,91 |
115,78 |
123,60 |
131,37 |
|
гр. 23 |
— |
— |
— |
41,71 |
48,48 |
53,00 |
57,52 |
62,03 |
66,55 |
71,06 |
|
гр. 24 |
— |
— |
— |
78.70 |
91,48 |
100.00 |
100,00 |
117,04 |
125,56 |
134,08 |
|
Обозначениеградуировки |
Температура Θ, oС |
|||||||||
|
100 |
120 |
150 |
180 |
200 |
300 |
400 |
500 |
600 |
650 |
|
|
гр. 21 |
63,99 |
67,52 |
72.78 |
77,99 |
81,43 |
98,34 |
114,72 |
130,55 |
115,85 |
153,30 |
|
гр. 22 |
139,10 |
116.78 |
153,21 |
169.54 |
177 |
213,79 |
249,38 |
283,80 |
317,06 |
333.25 |
|
гр. 23 |
75,68 |
80,09 |
86,87 |
93,64 |
— |
— |
— |
— |
— |
— |
|
гр.24 |
142.60 |
151,12 |
163,90 |
176,68 |
— |
— |
— |
— |
— |
— |
Инерционность термопар и термометров характеризуется их постоянной времени Т, определяемой как время, необходимое Для того, чтобы изменение выходной величины преобразователя, перенесенного из среды с температурой 30—35 °С в сосуд с интенсивно перемешиваемой водой с температурой 15—20 °С, достигло 63% от установившегося значения перепада. Различают термопары и термометры сопротивления малоинерционные (Т>тп> < 40 с для термопары и Т>тс> < 9 с для термометра), средней инерционности Т>тп> < 60 с, Т>тc> < 80 с), большой инерционности (Т>тп> < 3,5 мин, Т>тc> < 4 мин) и ненормированной инерционности.
2. Методы контактных электроизмерений различных диапазонов температур.
2.1. МЕТОДЫ КОНТАКТНЫХ
ЭЛЕКТРОИЗМЕРЕНИЙ
СВЕРХНИЗКИХ ТЕМПЕРАТУР
К сверхнизким, или «гелиевым», температурам относятся температуры, получаемые с помощью жидкого гелия (температура кипения около 4 К). Специфика методов измерения температур ограничивает этот диапазон значениями от 0 до 10 К.
Существующие методы контактного измерения сверхнизких температур распространяются лишь на отдельные участки этого диапазона. Так, для измерения температур от 1 до 4 К используются терморезисторы из фосфористой бронзы с мелкими включениями свинца. Свинец при температуре около 4 К переходит в состояние сверхпроводимости, и сопротивление терморезистора изменяется. Такие терморезисторы имеют максимальную чувствительность при температурах от 1,5 до 4 К, но их показания зависят от величины рабочего тока, протекающего через терморезистор, и внешних магнитных полей.
Для измерения температур ниже 1 К используются методы магнитной термометрии, основанные на зависимости объемной магнитной восприимчивости ряда парамагнитных солей от абсолютной температуры , описываемой законом Кюри—Вейсса: = С/( ), где С и — постоянные, характерные для используемой соли.
Термометр, осуществленный по этому принципу, представляет собой катушку индуктивности, внутри которой в достаточно однородном поле размещен образец из меднокалиевых или железоалю-миниевых квасцов. Катушка включается в мостовую цепь, и изменение температуры, вызывающее изменение . образца, приводит к изменению индуктивности катушки, пропорциональному измеряемой температуре.
Для измерения температуры выше 4 К используются термошумовые термометры. Область их применения простирается до 1300 К, и поэтому они описаны в следующем параграфе.
Основной трудностью при измерениях в области сверхнизких температур, кроме осуществления теплового контакта термометра и объекта измерения, являются методы градуировки используемой аппаратуры.
В диапазоне температур от 1 до 4 К базовым прибором для воспроизведения температурной шкалы является гелиевый газовый термометр. Примером такого термометра может служить прибор, созданный во ВНИИФТРИ и имеющий строго постоянный объем, давление в котором, изменяющееся линейно с температурой, измеряется точным мембранным манометром. Кроме того, в диапазоне температур от 1 до 5 К используются конденсационные термометры в основе которых лежит хорошо изученная зависимость давления насыщенных паров жидких газов от температуры. Точность, достигаемая при измерениях температуры с помощью конденсационных термометров, весьма велика. Так, при использовании жидкого гелия погрешность измерения не превышает 0,002 К.
Осуществление градуировки термометров в диапазоне температур от 4 до 10 К производится интерполяцией показаний платинового термометра, для чего используются угольные терморезисторы изготовленные из специально обработанного каменного угля. Используя эмпирические зависимости сопротивления от температуры в области выше 14 К и ниже 4 К и производя интерполяцию внутри этого диапазона температур, получают выражения, описывающие • температурную зависимость сопротивления угольных термометров для температур от 1 до 14 К, которая обеспечивает определение температуры с погрешностью, не превышающей ±:0,1К. При этом следует иметь в виду, что угольным терморезисторам свойственна сильная нестабильность, поэтому градуировку производят перед каждым измерением.
Для измерения сверхнизких температур от 4 до 14 К также применяются германиевые терморезисторы.
2.2. МЕТОДЫ КОНТАКТНЫХ
ЭЛЕКТРОИЗМЕРЕНИЙ
НИЗКИХ ТЕМПЕРАТУР
Термин «низкие температуры» не имеет строго установленного значения. Обычно в понятие «низкие» включают область температур от 10 до 800 К. Для измерения таких температур используются металлические и полупроводниковые терморезисторы, термопары или термобатареи, описание принципов действия, электрических схем и погрешностей которых было дано в п. 1.
Достаточно
точное измерение температур в диапазоне
от 4 до 1300 К может быть основано на
зависимости шумового напряжения U>ш>
на резисторе R от
температуры Средний
квадрат напряжения шума по формуле
Найквиста
,
где k = 1,38∙10-23
Дж/К — постоянная Больцмана; f
—полоса воспринимаемых частот.
Практическая реализация метода
заключается в сравнении шумов двух
идентичных резисторов,один из которых
находится при известной, а другой — при
измеряемой температуре. Сравнение шумов
резисторов осуществляется двумя
методами: либо по величине шумового
напряжения (усиленного и выпрямленного),
если уровень шумов достаточно высок,
что соответствует температуре выше 500
К, либо по числу шумовых импульсов —
для более низких гемператур.
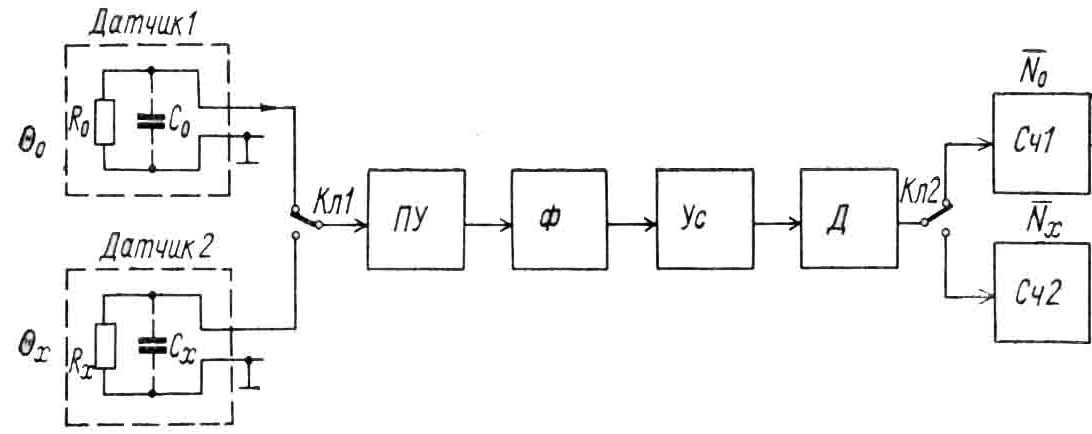
В первом случае датчик термометра выполняется из платиновой проволоки диаметром 2,5 мкм с платиновым экраном толщиной 50 мкм в кварцевой оболочке. Использование такого термометра позволяет производить достаточно точные измерения температуры (погрешность измерения = 1000 К составляет 1%). Во втором случае датчиком служит резистор типа УЛИ, МЛТ или БЛП, так как для увеличения уровня шума собственная емкость датчика должна быть минимальной, ибо она ограничивает частотную полосу шума f. В практических конструкциях ее величина не превышает 3 пФ.
На рис. 12 приведена структурная схема импульсного термо-шумового термометра. Шумовое напряжение на резисторе R>x>,находящемся при температуре >х>, включенном во входную цепь предусилителя ПУ, пропускается через полосовой фильтр Ф, усиливается до уровня 10 В и подается через дискриминатор Д на частотомер, измеряющий число шумовых импульсов. Шумовое напряжение от второго резистора Ro, находящегося при известной температуре

Рис. 12
Θ>0>, подается
на ту же измерительную цепь (поочередно
с напряжением от датчика). Переключение
каналов производится ключами Кл1 и
К.л2 через 25 с. Если значения
сопротивлений резисторов подобраны
таким образом, что R>0>Θ>0> ≈ R>х>Θ>х>,
то показания
счетчиков Сч1 и Сч2 частотомера
при работе обоих каналов будут близкими
и измеряемую температуру можно найти
как Θ>x> =
(R>o>/R>x>)
Θ>о> + δ, где δ
= k (
).
Термометры ядерного квадрупольного резонанса (ЯКР) основаны на взаимодействии градиента электрического поля кристаллической решетки и квадрупольного электрического момента ядра, вызванного отклонением распределения заряда ядра от сферической симметрии. Это взаимодействие обусловливает прецессию ядер, частота которой называется частотой ЯКР, зависит от градиента электрического поля решетки и для различных веществ имеет значения от сотен килогерц до тысяч мегагерц. Градиент электрического поля решетки зависит от температуры, и с повышением температуры Θ частота ЯКР понижается.
Датчик ЯКР-термометра представляет собой ампулу с веществом, помещенную внутрь катушки индуктивности, включенной в контур LC-генератора. При совпадении частоты генератора с частотой ЯКР происходит поглощение энергии от LC-генератора. Для периодического поглощения энергии электромагнитное поле модулируется напряжением низкой частоты. Полученные на контуре генератора периодические изменения напряжения подаются на указатель резонанса и служат сигналом к отсчету частоты генератора частотомером. В качестве термометрического вещества ЯКР используется гранулированный КСIO>3>, очищенный двойной рекристаллизацией, а частота ЯКРСl35 при 20 °С составляет 28213324 ± 10 Гц. Ширина сигнала ЯКР (полоса частот, в которой происходит поглощение энергии) порядка 500 Гц. Погрешность измерения температуры 10 К составляет ±0,02 К, а при 300 К равна ±0,002 К. Чувствительность в районе 300 К равна 4,8 кГц/К. Зависимость сигнала ЯКР от внешних магнитных полей требует экранировки датчика (магнитное поле Земли вызывает расширение резонансного сигнала на 200 Гц).
Достоинством ЯКР-термометра является его не ограниченная во времени стабильность, так как зависимость частоты от температуры определяется только молекулярными свойствами вещества и остается неизменной для всех образцов данного химического вещества. Недостаток ЯКР-термометров — резкая нелинейность их характеристики, исключающая возможность прямого цифрового отсчета температуры.
Электроакустический частотно-цифровой термометр основан на зависимости скорости распространения звука в газах от их температуры. Датчик электроакустического термометра состоит из цилиндрического резонатора, в котором возбуждаются продольные акустические колебания. Собственная частота трубчатого полуволнового резонатора длиной l с учетом γ = с>p>/с>v> и ви-риального коэффициента В, учитывающего отклонение свойств реального газа от свойств идеального, равна
(2.1)
где R = 8,314 Дж/(К-моль) — универсальная газовая постоянная; Θ — измеряемая температура; Р — давление; М — молекулярная масса газа.
Конструкция датчика частотно-цифрового акустического термометра, разработанного в ЛПИ им. М. И. Калинина, приведена на рис. 13. В полости резонатора l электростатическим возбудителем 2 возбуждаются продольные акустические колебания, которые принимаются аналогичным по конструкции приемником 4. Использование электростатических преобразователей позволяет создать конструкции приемника и возбудителя, работоспособные как при низких (—100 °С), так и при высоких (+400 °С) температурах, обладающие равномерной характеристикой чувствительности в диапазонах частот акустических колебаний от 5 до 15 кГц. Мембраны 3 и 5 соответственно возбудителя 2 и приемника 4 толщиной 4 мкм выполнены из никеля методом электрохимического напыления и имеют собственную частоту около 30 кГц.
Вывод от электрода приемника акустических колебаний окружен эквипотенциальным экраном, потенциал которого специальным электронным устройством непрерывно поддерживается равным потенциалу вывода (см. рис. 12-12). Резонатор включен в цепь положительной обратной связи усилителя, образуя генератор, частота которого определяется измеряемой температурой согласно формуле (23-1). При 20 °С она равна 10 кГц, а при измерении температуры изменяется на 1,8% на 10 К.

Рис. 13
Для обеспечения непосредственного цифрового отсчета измеряемой температуры в Кельвинах устройство цифрового отсчета работает в два такта и осуществляет линеаризацию функции преобразования в виде полинома второй степени:

где T>1> — длительность
первого такта измерения; f>o>
— опорная образцовая частота; N>0>
и N>1> —
постоянные числа, вводимые в измерительное
устройство. Выбор значения и знака этих
постоянных позволяет изменять соотношение
между членами, пропорциональными Θ
и
,
чем достигается устранение нелинейности
шкалы прибора, вызываемой неравенством
нуля вириального коэффициента В в
выражении (2.1) и другими причинами.
Погрешность термометра составляет 0,05
К и менее.
Термометры с кварцевыми резонаторами используются для измерения температур от 10 до 500 К, но наиболее высокую точность обеспечивают в области от 193 до 473 К (от —80 до +200 °С). Их принцип действия основан на зависимости от температуры Θ модуля упругости, а следовательно, и собственной частоты кварцевых пластин, описываемой соотношением

где N — постоянная; h — толщина кварцевой пластины; а, Ь и с — коэффициенты, зависящие от азимута и широты среза. Так, в тонких кварцевых пластинах (при h == 0,2 мм), вырезанных перпендикулярно оси Y и возбуждаемых сдвигом по толщине, а = 92,5∙10-8 1 /К, b = 57,5∙10-6 1/К2, с = 5,8∙10-12 1/К3, N = 1950кГц мм, а термочувствительность составляет 1000 Гц/К.
Для линеаризации температурной зависимости (т. е. получения b = с = 0) используется двойной поворот Y — среза (широта 11,166°, азимут 9,39°), однако практически удается лишь снизить b и с до значений b = 6∙10-11 1/К2 и c = 2,4∙10-13 1/К3 при а = 35,4 1/К. Собственная частота при h = 0,1 мм получается равной 28,203 МГц, а термочувствительность 1000 Гц/К.
Датчик кварцевого термометра представляет собой кристаллический резонатор, выполненный в виде тонкого диска или линзы, помещенный в герметизирующий кожух, заполненный для лучшей теплопроводности гелием при давлении 0,1 мм рт. ст. (диаметр кожуха 7—10 мм). В центральной части линзы или диска нанесены золотые электроды возбуждения, а держатели (выводы) располагаются на периферии.
Точность и воспроизводимость показаний определяются главным образом изменением частоты и добротностью резонатора, понижающейся при эксплуатации вследствие развития микротрещин от периодического нагрева и охлаждения.
Измеряемая схема кварцевого термометра состоит из датчика, включенного в цепь положительной обратной связи усилителя, и частотомера. При добротности датчика до 3∙106 погрешность измерения температуры равна 10 3 К. Существенным недостатком кварцевых термометров является их инерционность, составляющая несколько секунд, и нестабильность работы при Θ > 100 °С из-за возрастающей невоспроизводимости (более 10-7).
2.3. МЕТОДЫ КОНТАКТНЫХ
ЭЛЕКТРОИЗМЕРЕНИЙ
СРЕДНИХ И ВЫСОКИХ
ТЕМПЕРАТУР С ПОМОЩЬЮ ТЕРМОПАР
Средними в термометрии считаются температуры от 500 (начало свечения) до 1600 °С (белое каление), а высокими— от 1600 до 2500°С, до которых удается распространить термоэлектрический метод с использованием высокотемпературных, жаростойких материалов.
П
ринцип
термоэлектрического метода и основные
свойства термоэлектродов были рассмотрены
выше в п. 1. Основным вопросом
при использовании этого метода для
измерения средних и высоких температур
является защита термоэлектродов от
разрушающего химического и термического
воздействия среды. Для этого термопары
снабжаются защитной арматурой в виде
чехлов, трубок или колпачков из огнеупорных
материалов. Главное требование к защитной
оболочке — высокая плотность строения
и температурная стойкость. При измерении
температур ниже 1300 °С используются
фарфоровые чехлы, при более высоких
температурах — колпачки из тугоплавких
материалов (такие, как корунд, окиси
алюминия, бериллия или тория), заполненные
инертным газом.
Зависимость срока службы термопар от пористости защитной оболочки (вещества) Пв показана на рис. 14.
При измерении температуры поверхности тел особенную трудность составляет контакт рабочего спая термопары с поверхностью нагретого тела. Для улучшения контакта используются термопары, рабочий спай которых выполнен в виде ленты или пластины. Такая конфигурация рабочего спая при деформации позволяет воспроизводить поверхность объекта измерения. Рис. 14
Для-измерения температур до 2000—2500 °С используются вольфрамовые или иридиевые термопары. Особенностью их применения является измерение в вакууме, в инертной или восстановительной средах, так как на вэздухе они окисляются. Чувствительность воль-фрамо-молибденовой термопары составляет 7 мкВ/К, а вольфрамо-рениевой 13 мкВ/К.
В условиях высоких температур применяются термопары из огнеупорных материалов (пары карбид титана — графит,карбид циркония — борид циркония и ди-силицид молибдена — дисилицид вольфрама). В таких термопарах внутри цилиндрического электрода (диаметр около 15 мм) имеется второй электрод—стержень, соединенный с первым электродом на одном конце трубки. Чувствительность термопар из огнеупорных материалов достигает 70 мкВ/К, однако их применение ограничено инертными и восстановительными средами.
Для измерения температуры расплавленного металла термопарами из благородных металлов используется метод, заключающийся в погружении термопары в металл на время, безопасное для ее работоспособности. При этом термопара на короткое время (0,4—0,6 с) погружается в контролируемую среду, и измеряется скорость нарастания температуры рабочего спая. Зная зависимость между скоростью нагрева термопары (ее тепловую инерционность) и температурной среды, можно рассчитать значение измеряемой температуры. Этот метод применяется для измерения температуры расплавленного металла (2000—2500 °С) и газового потока (1800 °С).
Список использованной литературы
Электрические измерения неэлектрических величин. Под ред. Новицкого. Изд. 6-е, перераб. и доп. Л.:»Энергия»,1983.
Материалы сети InteNet (о современном состоянии дел в данной области).