Физические опыты в теме МАГНИТНОЕ ПОЛЕ ТОКА
МИНИСТЕРСТВО ОБРАЗОВАНИЯ РЕСПУБЛИКИ БЕЛАРУСЬ
Учреждение образования ”Брестский Государственный Университет имени А. С. Пушкина”
Кафедра методики преподавания физики и ОТД
ФИЗИЧЕСКИЕ ОПЫТЫ В ТЕМЕ
«МАГНИТНОЕ ПОЛЕ ТОКА»
Курсовая работа по
методике преподавания
физики студента
физического факультета
Потужного Александра
Научный руководитель
доц. Ворсин Н.Н.
Брест 2002
ОГЛАВЛЕНИЕ
Введение 3
Цели и требования, предъявляемые к демонстрациям 4
Описание демонстрационных опытов:
Действие магнитного поля на ток 5
Взаимодействие двух параллельных токов 7
Отклонение электронного пучка магнитным полем 9
Модель доменной структуры ферромагнетика 10
Размагничивание стального образца при нагревании 12
Заключение 14
Список использованных источников 15
ВВЕДЕНИЕ
Тема «Магнитное поле постоянного тока » изучается в курсе физики 10-го класса. Для общеобразовательного и повышенного (пункты программы для повышенного уровня изучения взяты в квадратные скобки) уровней программа включает в себя следующие разделы:
Взаимодействие токов. Магнитные силовые линии. Индукция магнитного поля.
Проводник с током в магнитном поле. Сила Ампера. Действие магнитного поля на движущиеся заряды. Сила Лоренца. Движение заряженной частицы в магнитном поле.
Магнитное поле Земли.
Демонстрации
1. Взаимодействие параллельных токов. 2. Действие магнитного поля на ток. 3. Отклонение электронного пучка магнитным полем.
ОСНОВНЫЕ ЗНАНИЯ И УМЕНИЯ УЧАЩИХСЯ
Учащиеся должны знать:
Понятия: магнитное поле, магнитная индукция.
Законы: Ампера.
Формулы: F>A>=IBl sin, F>Л >=qB sin.
Учащиеся должны уметь: решать задачи на расчет магнитной индукции, силы Ампера, силы Лоренца; [рассчитывать период обращения, радиус окружности, описываемой заряженной частицей, влетающей в однородное магнитное поле перпендикулярно линиям магнитной индукции].
В предшествующей программе по физике для средней общеобразовательной школы в курсе 10-го класса изучался раздел «Магнитные свойства вещества».
В своей курсовой работе я также рассматриваю некоторые демонстрации из темы «Физика конденсированного состояния», которая изучается в курсе физики 11-го класса. Для общеобразовательного и повышенного (пункты программы для повышенного уровня изучения взяты в квадратные скобки) уровней программа включает в себя следующий раздел:
Магнитная проницаемость вещества. Три класса магнитных веществ. Объяснение пара- и диамагнетизма. Основные свойства ферромагнетиков. Природа ферромагнетизма. Магнитная запись и хранение информации.
Демонстрации
1. Модель доменной структуры ферромагнетика. 2. Размагничивание стального образца при нагревании. 3.Магнитная запись звука.
ОСНОВНЫЕ ЗНАНИЯ И УМЕНИЯ УЧАЩИХСЯ
Учащиеся должны знать:
Понятия: магнитная проницаемость.
ЦЕЛИ И ТРЕБОВАНИЯ,
ПРЕДЪЯВЛЯЕМЫЕ К ДЕМОНСТРАЦИЯМ
Демонстрация – это показ учителем физических явлений и связи между ними.
Цель:
Создание физических представлений, физических понятий, проиллюстрировать явления и приучить учащихся искать источник знания в явлениях физического мира и опытах.
Требования:
темп изложения должен совпадать с темпом демонстрации;
должны быть на каждом уроке;
должны логически соединять предшествующие опыты с последующими. для этого можно использовать одну и туже установку, но проводить измерения в ней;
не должны загромождать урок;
должна присутствовать новизна и заинтересованность.
Перед демонстрацией можно уяснить проведение ее с помощью схемы на доске. В некоторых случаях полезно собирать схему перед учащимися. Можно использовать проблемный подход, т.е. поставить проблему и решить с помощью эксперимента. Установка должна быть простой, на столе не должно быть лишних предметов, лучше использовать в вертикальной плоскости, использовать экраны (для темных предметов светлый, для светлых - темный), использовать подсветки, использовать индикаторы. Эксперимент готовить заранее, он должен быть убедительным.
ДЕЙСТВИЕ МАГНИТНОГО ПОЛЯ НА ТОК
Оборудование: 1) весы аэродинамические, 2) амперметр демонстрационный, 3) метр демонстрационный, 4) магниты дугообразные - 4 шт., 5) скоба проволочная, 6) выключатель демонстрационный, 7) штатив универсальный, 8) провода соединительные, 9) циркуль-измеритель демонстрационный.
Действие магнитного поля на ток, так же как и способы определения направления движения проводника с током в магнитном поле, учащимся хорошо известно. Основываясь на этих знаниях, можно определить факторы, от которых зависит величина силы, действующей на проводник с током, и затем ввести понятие о магнитной индукции и единице ее измерения. Числовые результаты проведенного опыта позволят затем приблизительно определить среднюю магнитную индукцию между полюсами постоянных магнитов. Это будет способствовать большей конкретизации нового понятия.
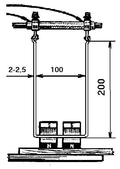
1. Демонстрационная установка для проведения опыта изображена на рисунке 1. В ней основной деталью служит скоба из голой медной проволоки, помещенная между полюсами двух магнитов. Форма скобы, ее размеры и способ подвеса показаны на рис. 2. Колечки с крючками, прилагаемые к универсальному штативу, изолированы от стержня листом обыкновенной бумаги. Этого вполне достаточно ввиду того, что подводимое напряжение мало. Между бумагой и колечками зажаты концы соединительных проводов. Надежность контактов в точках подвеса скобы вполне обеспечивается ее достаточным весом.

Рис. 1. Установка для изучения действия магнитного поля на ток;
Для измерения силы, действующей на проводник с током, служат универсальные чувствительные весы. При подготовке их к измерению в отверстие втулки весов вставляют стержень l (рис. 1) с малым диском из аэродинамического набора и изготовляют рейтер массой в 500 мг в виде согнутой металлической полоски. Толкателем 2, соединяющим весы со скобой, служит мягкая тонкая проволочка, один конец которой огибают вокруг стержня над самым диском, а другой конец, согнутый в виде крючка, свободно накладывают на середину скобы между магнитами.
При определении цены деления весов надо применить правило моментов. Если длина стержня 10 см, а рейтер весом 0,005 Н находится, например, на расстоянии 20 см от оси, то
F

Отсюда сила F равна 0,01 Н, когда рейтер находится на расстоянии 20 см от оси; значит, перемещение рейтера на 1 см соответствует изменению силы F на 1/20 Н=0,0005 Н.
Для измерения силы тока служит демонстрационный амперметр с шунтом на 10 А и соответствующей шкалой для постоянного тока.
2
Рис. 2 Детали установки
. Приступая к проведению опыта, от весов отцепляют толкатель и снимают с рычага рейтер. При помощи уравнительного винта добиваются совпадения указателей.Постоянный ток можно получить от выпрямителя.
Сначала устанавливают рукоятку регулятора напряжения на нуль, затем включают ток, доводят его до 8 А и наблюдают за движением скобы. Изменяя направление тока или переворачивая магниты, показывают изменение направления движения проводника. Эти опыты дают повод вспомнить правило левой руки, связывающее направления тока, силовых линий поля и движения проводника.
Выключив ток, при котором наблюдалось выталкивание скобы влево, соединяют скобу с вертикальным стержнем весов при помощи проволочного толкателя, как было указано выше, и передвигают весы по столу так, чтобы указатели равновесия вновь совпали. На этом заканчивается подготовка установки.
Включают ток и замечают, что рычаг весов приподнимается. Насадив на рычаг рейтер и, передвигая его, вдоль рычага, находят для него такое положение, при котором весы вновь уравновешиваются. Зная цену деления шкалы, находят силу, с которой магнитное поле действует на проводник с током.
Опыт повторяют при иных значениях силы тока. Затем удаляют один из магнитов и тем уменьшают почти вдвое длину той части проводника, которая находится в магнитном поле. Снова измеряют величину выталкивающей силы. Длину проводника определяют циркулем-измерителем и демонстрационным метром.
На доске записывают результаты опытов:
|
Длина проводника l (м) |
Сила тока I (А) |
Выталкивающая сила F (Н) |
|
0,1 0,1 0,1 0,05 |
8 4 2 8 |
0,009 0,0045 0,0012 0,0045 |
Анализ полученных результатов приводит к заключению, что сила, с которой данное магнитное поле действует на проводник, пропорциональна силе тока и длине части проводника, находящейся в магнитном поле: F~I· l.
После этого, заменяют магниты двумя другими магнитами тех же размеров и формы, но более слабыми и обнаруживают, что при тех же I и l сила, действующая на проводник, оказывается меньше. На этом основании полагают, что сила зависит также от величины, характеризующей интенсивность поля и называемой магнитной индукцией В. Таким образом, F=kBIl, где k - коэффициент пропорциональности.
Полагая в полученной формуле коэффициент пропорциональности равным единице, устанавливают из выражения B=F/(I·l), единицу магнитной индукции в системе СИ:
Н/(А·м) = Тл,
и определяют среднюю величину магнитной индукции между полюсами выбранных для опыта магнитов. Для этого можно воспользоваться, например, данными первого опыта:
l=10 см =0,1 м, I = 8 А, F= 0,009 Н.
Подставив эти данные в формулу, находят:
B = 0,01 Тл.
ВЗАИМОДЕЙСТВИЕ ДВУХ ПАРАЛЛЕЛЬНЫХ ТОКОВ
Оборудование: 1) ленты из фольги с наконечниками - 2 шт., 2) моток проволочный на подставке, 3) рамка от прибора «Виток в магнитном поле», 4) штатив универсальный, 5) проводники соединительные, 6) штепсельная розетки с вилкой или двухполюсный переключатель демонстрационный.
Взаимодействие токов целесообразно показать в наиболее «чистом» виде, т. е. показать притяжение и отталкивание двух прямых проводников с токами одинакового и противоположного направлений.
1
.
В опыте для получения надлежащего,
эффекта необходимы гибкие и легкие
проводники, которые вместе с тем должны
выдерживать достаточно сильный ток. В
противоречивости этих требований и
заключается некоторая трудность
проведения опыта.
Х
Рис. 3 Лента из фольги
с наконечником
орошие результаты можно получить, если воспользоваться лентами из алюминиевой фольги, идущей на изготовление бумажных конденсаторов. Фольга от рулона, вынутого из коробочки конденсатора, обычно развертывается вместе с приставшей к ней бумагой. Надо, не отслаивая бумаги, отрезать от фольги две узкие ленты шириной 10 мм и длиной 50 см. Слой бумаги между двумя полосками из фольги придаст ленте большую прочность.К

Рис 4. Взаимодействие
параллельных токов
онцы каждой ленты заделывают в наконечники (рис. 3), при помощи которых обе ленты зажимают в изолирующих стержнях на универсальном штативе, как показано на рисунке 4. Такая лента выдерживает кратковременный ток до 8 А. Ленты не следует натягивать. Слегка изгибая, их сближают на расстояние 0,5 - 1 см и концы присоединяют к выпрямителю через штепсельную розетку, как показано на рисунке. Вместо штепселя можно воспользоваться двухполюсным переключателем. При включении тока в пределах 5 - 8 А ленты отталкиваются, а при выключении вновь сближаются. Чтобы изменить направление тока в одном из проводников, достаточно штекеры в розетке поменять местами. Теперь токи в проводниках будут иметь одинаковые направления и проводники притянутся друг к другу.При проведении опыта не следует включать ток на длительное время. Для улучшения видимости можно воспользоваться теневой проекцией.
И

Рис. 5 Устройство прибора для демонстрации взаимодействия параллельных токов
ногда в этом опыте ленты соединяют сначала последовательно, а затем параллельно. Этот способ имеет тот недостаток, что при переключении с параллельного соединения на последовательное сила тока в каждом проводнике увеличивается вдвое. В способе, представленном на рисунке 4, соединение проводников в любом случае остается последовательным и величина тока при переключении не изменяется.Учитывая, что описанный опыт требует тщательной подготовки, а изготовленные надлежащим образом проводники трудно сохранять в целости, можно рекомендовать для этого опыта специальный самодельный прибор для проецирования на экран. Устройство прибора и все необходимые размеры показаны на рисунке 5. Прибор состоит из двух вертикальных планок. из органического стекла, между которыми параллельно расположены почти без натяжения две ленты из алюминиевой фольги. Прибор устанавливают на рейтере проекционного аппарата у самого конденсора и передвижением объектива добиваются получения на экране резкого изображения лент. Достаточно заметное притяжение и отталкивание получается при токе 1 - 2 А.
ОТКЛОНЕНИЕ ЭЛЕКТРОННОГО ПУЧКА
МАГНИТНЫМ ПОЛЕМ
Оборудование: 1) электроннолучевая трубка на подставке, 2) кенотронный выпрямитель, 3) катушка от универсального трансформатора на 120 В, 4) две отклоняющие катушки, 5) батарея аккумуляторов, 6) реостат на 40 Ом и 6 А, 7) выключатель демонстрационный, 8) магнит дугообразный, 9) провода соединительные.
Электроннолучевые трубки с магнитным управлением (фокусировкой и отклонением) широко применяются в телевидении для приема изображения. Такие трубки (кинескопы) несколько отличаются от трубок с электростатическим управлением по форме колбы, а главное - более простым устройством электронного прожектора. Фокусировка и отклонение осуществляются магнитными полями катушек, которые надеваются снаружи трубки на ее более узкую часть - горловину.
Сначала демонстрируют отклонение электронного пучка в магнитном поле постоянного магнита.
Для этого включают трубку и получают на экране достаточно яркое светящееся пятно. Затем подносят сбоку трубки дугообразный магнит и наблюдают смещение пятна. Изменяют направление магнитного поля и наблюдают отклонение пятна в противоположную сторону.
При этом полезно предварительно поставить перед учащимися задачу определить, пользуясь правилом левой руки, направление смещения пятна на экране, учитывая, что пучок представляет собой поток электронов.
П

Рис. 6. Установка для демонстрации магнитного управления электронным пучком
осле этого демонстрируют смещение электронного пучка в магнитном поле отклоняющих катушек с током 1 и 2, которые закрепляют сбоку трубки под винтовые зажимы вертикально (или горизонтально) отклоняющих пластин, как показано на рисунке 6. Фокусирующая катушка 3 при этом отсутствует. Катушки соединяют между собой так, чтобы на концах, обращенных к трубке, образовались противоположные магнитные полюсы (соединяют конец обмотки одной катушки с концом другой или начало с началом). Подключают к катушкам аккумулятор через рубильник и реостат и наблюдают отклонение светящегося пятна на экране при включении тока в катушки.Изменяя реостатом величину тока, показывают плавное смещение пятна по экрану. Затем меняют направление тока в катушках и демонстрируют отклонение пятна в противоположную сторону.
Заменяют аккумулятор магнитоэлектрической машиной и показывают образование светящейся линии на экране - результат колебательного движения электронного пучка в переменном магнитном поле отклоняющих катушек.
После этого переходят к демонстрации магнитной фокусировки электронного пучка при помощи катушки 3 от универсального трансформатора (рис. 6). Отклоняющие катушки снимают, чтобы они не отвлекали внимание. Для установки катушки вынимают трубку (при отключенном источнике питания) и на боковые панели освободившейся подставки помещают катушку. Снова вставляют трубку в подставку и к катушке присоединяют батарею аккумуляторов через выключатель и реостат.
Подключают кенотронный выпрямитель, и при помощи ручек «яркость» и «фокус» устанавливают на экране размытое (не сфокусированное), но достаточно яркое светящееся пятно. За тем замыкают выключатель и реостатом подбирают необходимую величину тока в катушке (0,4 - 0,5 А). Этим и заканчивается подготовка.
Демонстрацию опыта проводят в такой последовательности. Включают выпрямитель в сеть и наблюдают на экране трубки размытое пятно достаточных размеров.
После этого демонстрируют предварительную магнитную фокусировку путем перемещения катушки с током вдоль горловины трубки. На экране при этом наблюдают заметное изменение размеров пятна.
Затем показывают более точную фокусировку. Оставив катушку в том положении, в котором получалось пятно меньших размеров, изменяют реостатом величину тока в катушке. Наблюдают, как светящееся пятно постепенно сводится в небольшую светящуюся точку.
МОДЕЛЬ ДОМЕННОЙ СТРУКТУРЫ ФЕРРОМАГНЕТИКА
Оборудование: 1) модель строения ферромагнетика, 2) магнит постоянный прямой, 3) проекционный аппарат.
Д

Рис. 7. Модель строения магнита
ля объяснения доменной структуры ферромагнетика пользуются небольшим самодельным прибором (рис. 7). Он состоит из рамки с дном из органического стекла и установленными на нем двадцатью остриями. Острия расположены в четыре ряда на расстоянии примерно 15 мм друг от друга. На каждое острие насажен стальной намагниченный цилиндрик с одним закругленным торцом. "Сверху рамка закрыта стеклом, предохраняющим цилиндрики от соскакивания с острия.С помощью приспособления для горизонтальной диапроекции прибор проецируют на экран и обращают внимание учащихся на случайную самопроизвольную ориентацию магнитиков в приборе. Наблюдаемая картина аналогична воображаемой картине расположения частиц в ферромагнетике.
На рисунке 8, а показан один из случаев возможного расположения цилиндриков. На нем можно заметить группы магнитиков с одинаковой ориентацией. Это вполне соответствует наличию областей самопроизвольного намагничивания (доменов) в ненамагниченном ферромагнетике.
П
Рис
8. Проекция модели на экран:
Рис 9. Способ установки
а – область самопроизвольного намагничивания; намагниченного цилиндрика.
б – состояние насыщения.
одводя с двух противоположных сторон модели разноименные полюсы прямых магнитов, заставляют цилиндрики повернуться закругленными концами в одну сторону. В этом случае на экране получится картина, изображающая магнитное насыщение (рис. 8, б).Если двигать над прибором полюс магнита и этим способом привести магнитики в быстрое вращение, то они вновь образуют по-разному ориентированные группы. Подобно этому происходит размагничивание образца в переменном магнитном поле при ударах, при нагревании.
При выполнении этой модели главное внимание надо обратить на изготовление магнитиков. Их нарезают длиной по 12 мм из стальной проволоки диаметром 5 мм. В середине заготовленного цилиндрика сверлят глухое отверстие диаметром 2 мм, не доходя до конца на 1 - 1,5 мм (рис. 9). Чтобы вершина отверстия для иглы была более узкой, полезно сделать небольшую дополнительную сверловку тонким сверлом (0,5 - 0,8 мм).
Если изготовленный цилиндрик не уравновешивается в горизонтальном положении, более тяжелый конец подпиливают сверху или снизу (образовавшиеся плоскости на проекции не будут видны). После этого все цилиндрики закаливают и намагничивают при помощи электромагнита, собранного из деталей универсального трансформатора.
РАЗМАГНИЧИВАНИЕ СТАЛЬНОГО ОБРАЗЦА ПРИ НАГРЕВАНИИ
Оборудование: 1) магнит постоянный, 2) шуруп или гвоздь железный на нихромовой проволоке, 3) штатив универсальный, 4) горелка газовая, 5) осветитель для теневой проекции.
На универсальном штативе закрепляют сильный магнит и на тонкой нихромовой проволоке подвешивают небольшой железный шуруп или гвоздь, как показано на рисунке 10. Шуруп должен притягиваться полюсом магнита и удерживаться на рас стоянии 2 - 3 см от него, а проволока с подвешенным шурупом - образовывать угол 30° с вертикалью.
Затем
подставляют газовую горелку так, чтобы
шуруп попал в наиболее г
орячую
часть пламени и мог нагреться до
ярко-красного каления. Когда температура
шурупа достигнет точки Кюри (753°С), он
потеряет свои ферромагнитные свойства,
перестанет притягиваться и отпадает
от магнита: проволока, на которой он
подвешен, займет вертикальное положение.
Е
Рис. 10. Установка и ее теневая проекция
сли магнит достаточно силен, а проволочный подвес не слишком тяжел и отклонен на небольшой угол, то шуруп, отпадая, успевает слегка остыть и, как маятник, вновь возвращается и притягивается к магниту. Таким образом, опыт сам собой периодически повторяется. В дальнейшем будет полезно напомнить его учащимся как один из примеров релаксационных колебаний.Обычно шуруп или гвоздь плохо виден учащимся. Поэтому приходится прибегать к теневой проекции. Приборы надо размещать так, чтобы вся установка в целом была учащимся видна непосредственно, а мелкие детали в увеличенном виде проецировались на экран.
Длина шурупа или гвоздя, подобранного для опыта, не должна превышать 10 - 12 мм, иначе трудно будет добиться одновременного сильного накаливания его по всей длине.

Для успешного проведения опыта нужен сильный постоянный магнит из специального сплава. Если такого магнита нет, его можно заменить электромагнитом.
М
Рис. 11. Другая установка
ожно воспользоваться и обычным дугообразным магнитом, но в этом случае постановка опыта будет иной. В промежуток между полюсами такого магнита вводят железный гвоздь. Он тотчас будет притянут одним из полюсов и расположится вдоль линий магнитного поля (рис. 11). Если после этого нагреть гвоздь в пламени газовой горелки, то при надлежащей степени нагрева гвоздь опустится. Однако, как только пламя будет удалено, гвоздь снова поднимется и примет прежнее положение. Для улучшения видимости и в этом случае следует воспользоваться методом теневой проекции.ЗАКЛЮЧЕНИЕ
В курсовой работе рассматривается методика и техника демонстрационных опытов, которые входят в курс изучения темы «Магнитное поле постоянного тока » (изучается в курсе физики 10-го класса), а также некоторые демонстрации из темы «Физика конденсированного состояния» (изучается в курсе физики 11-го класса).
А именно, рассматриваются следующие демонстрации:
Действие магнитного поля на ток;
Взаимодействие двух параллельных токов;
Отклонение электронного пучка магнитным полем;
Модель доменной структуры ферромагнетика;
Размагничивание стального образца при нагревании.
Автор не стремился везде и во всех деталях истолковывать физику демонстрируемых явлений и закономерностей. Эту задачу решают соответствующие курсы физики. В описаниях подробно раскрывается методика и техника эксперимента.
При описании демонстрационных опытов применялось учебное оборудование по физике, имеющееся в школах. В тех случаях, когда этого оборудования оказывалось недостаточно, приведены самодельные приборы и методы их изготовления.
СПИСОК ИСПОЛЬЗОВАННЫХ ИСТОЧНИКОВ
В. В. Жилко, А.В. Лавриненко, Л.Г. Маркович. Физика. Учебное пособие для 10 класса общеобразовательной школы с русским языком обучения. – Мн., «Народная асвета», 2001г.
А.А. Покровский. Демонстрационный эксперимент по физике. Том 2. – М. «Просвещение», 1972г.
Программы средней общеобразовательной школы. Физика. X-XI классы. – Мн., 2001 г.