Фотоаппарат (работа 2)
Рижская вечерняя
гимназия
ученица 12 s класса
Снежана Бехена
ФОТОАППАРАТ
(реферат по физике)
2002 год
Соержание
1 Фотоаппарат. 2
1.1 Фотокамера 2
1.2 Объектив 2
1.2.1 Фокусное расстояние. 3
1.2.2 Относительное отверстие объектива. 4
1.2.3 Разрешающая сила. 4
1.2.4 Диафрагма. 4
1.2.5 Фокусировка объектива. 5
1.2.6 Видоискатель. 9
1.3 Затвор 10
1.4 Экспонометры и экспонометрические устронства 11
1.5 Механизм протяжки фотопленки 12
1.6 Синхроконтакт 12
1.6.1 Автоспуск. 12
1.7 Фотоматериалы. 13
2 Используемая литература 14
1Фотоаппарат.
Важнейшими частями всех аппаратов являются фотокамера, объектив, устройство для фокусировки объектива, видоискатель, затвор в лентопротяжный механизм. Полее совершенные фотоаппараты оснащаются дополнительно экспонометрическим устройством или встроенным экспонометром, синхроконтактом, автоспуском и другими приспособлениями.
В зависимости от типа используемого фотоматериала все фотоаппараты подразделяют на плёночные и пластиночные.
В зависимости от системы видоискателя и способа фокусировки фотоаппараты бывают дальномерные, зеркальные (одно и двухобъективные) и с простейшей фокусировкой по шкале расстояний.
1.1Фотокамера
Светонепроницаемая камера, которая одновременно является корпусом фотоаппарата. Внутри фотокамеры монтируются основные узлы и механизмы фотоаппарата, а снаружи расположены их органы управления. Фотокамера имеет гнездо для присоединения объектива. У современных малоформатных фотоаппаратов фотокамера имеет заднюю откидную крышку. В нижней части фотокамеры сделано резьбовое гнездо для установки фотоаппарата на штатив.
1.2Объектив
Является важнейшей частью фотоаппарата и служит для создания на светочувствительном слое фотоплёнки (фотопластинки) оптического изображения фотографируемого предмета. Объектив состоит из трёх или более линз, закреплённых в одной металлической оправе. Для уменьшения световых потерь вследствие отражения лучен от поверхностей линз последние покрывают тонкими слоями различных веществ, уменьшающих коэффициент отражения света, т. е. увеличивающих прозрачность объектива (бывают однослойные покрытия, но чаще многослойна). Такие объективы называются просветлёнными.
Основными параметрами (характеристиками) объектива являются: фокусное расстояние, угловое поле изображения, относительное отверстие и разрешающая сила.
1.2.1Фокусное расстояние.
Фокусное расстояние (f') определяет размер даваемого объективом изображения, т. е. его масштаб или линейное увеличение. Чем больше фокусное расстояние, тем больше масштаб полу чаемого изображения при одном и том же расстоянии до фотографируемого предмета. Большинствo фотообъективов имеет постоянное фокусное расстояние, величина которого указывается па их оправе. Некоторые фотоаппараты имеют объективы с переменным фокусным расстоянием, которое можно плавно изменять в определённых пределах. Фотообъективы, у которых фокусное расстояние примерно равно диагонали кадровой рамки фотоаппарата (1k), принято называть нормальными. Если f превышает 1k, то такие объективы называются длиннофокусными; некоторые длиннофокусные объективы называют телеобъективами. Объективы, фокусное расстояние которых меньше lk, называются короткофокусными.
Угловое поле объектива в пространстве изображений. Любой объектив образует оптическое изображение в пределах некоторого круглого по форме участка, называемого полем изображения. Качество изображения ухудшается по мере удаления от центра поля, т.е. от точки пересечения оптической оси объектива с плоскостью изображения. Поэтому при фотографировании используется не всё поле изображения, а только его центральная зона, в пределах которой качество изображения является удовлетворительным. Угол, образованный лучами, идущими из центра выходного зрачка объектива к крайним точкам полезного поля изображения, называется угловым полем объектива. Кадровая рамка фотоаппарата должна располагаться внутри полезного поля изображения. Объективы, угловое поле которых находится в пределах от 45° до 60°, называются нормальными, с углом, превышающим 60°,— широкоугольными.
1.2.2Относительное отверстие объектива.
Относительное отверстие объектива — отношение диаметра его входного зрачка к фокусному расстоянию, записывается в виде 1:К, где К — диафрагменное число, показывающее, во сколько раз фокусное расстояние объектива больше диаметра его входного зрачка. Это число, называемое диафрагменным числом, наносится на шкалу диафрагм объектива. Чем больше величина относительного отверстия, тем выше освещённость оптического изображения, даваемого объективом, т. е. тем больше светосила объектива.
1.2.3Разрешающая сила.
Разрешающая сила (способность) Л' выражается максимальным числом линий (штрихов), приходящихся на 1 мм в оптическом изображении специальной испытательной таблицы (миры). Чем выше разрешающая способность объектива, тем большее число мелких деталей изображается объективом раздельно.
1.2.4Диафрагма.
Все съёмочные объективы имеют диафрагму — механическое устройство, служащее для изменения их относительного отверстия. Диафрагма помещается обычно между линзами объектива и содержит несколько серповидных лепестков, которые образуют, перекрывая друг друга, примерно круглое отверстие. Диаметр отверстия изменяется в соответствии с установленным по шкале значением диафрагмы К. Лепестки соединены с поворотным кольцом, смонтированным на оправе объектива. На кольце имеется индекс, смещающийся при повороте кольца относительно шкалы, деления которой рассчитаны так, что при повороте кольца на одно деление освещённость оптического изображения, образуемого объективом, изменяется в два раза. Процесс изменения относительного отверстия объектива называется диафрагмированном. При уменьшении относительного отверстия (увеличении К) наряду с понижением освещённости оптического изображения увеличивается глубина резко изображаемого пространства.
Объективы, предназначенные для зеркальных фотоаппаратов, стали делать с так называемой «прыгающей» диафрагмой. У таких объективов значение диафрагмы устанавливается заранее, но световое отверстие объектива остаётся при этом полностью открытым. Это позволяет фокусировать объектив и устанавливать границы изображения снимаемых предметов при полностью открытой диафрагме, т. е. при наибольшей его освещённости. При нажатии на спусковую кнопку затвора фотоаппарата непосредственно перед его срабатыванием механизм прыгающей диафрагмы изменяет световое отверстие (обычно скачкообразно под действием ранее взведённой пружины), после чего срабатывает фотозатвор и затем диафрагма снова полностью открывается (немедленно или в процессе перемотки фотоплёнки и взвода затвора).
1.2.5Фокусировка объектива.
Фокусировка объектива — перемещение оптического блока (или его части) объектива вдоль оптической оси с целью совмещения оптического изображения снимаемого предмета с плоскостью светочувствительного слоя фотоматериала — может выполняться несколькими способами. Наиболее проста фокусировка по шкале расстояний, наносимой на фокусировочное кольцо объектива. При повороте кольца обеспечивается нужное перемещение оптического блока объектива. Недостаток такой фокусировки заключается в том, что предварительно нужно определять расстояние до снимаемого предмета. Для упрощения и фокусировки шкала расстояний часто разбивается на несколько зон в зависимости от характера съёмки: одна из зон соответствует портретной фотосъёмке, вторая — фотосъёмке групп людей, третья — пейзажа (рис. 1). Каждая зона обозначается условным знаком (символом), отсюда название — фокусировка по символам. Фокусировка объектива сводится к установке нужного символа, нанесённого на кольцо фокусировки, против индекса шкалы расстояний.
В современных фотоаппаратах наиболее широко распространены два способа фокусировки: по матовому стеклу (обычно в сочетании с двумя оптическими клиньями или системой микропирамид) и с помощью монокулярного дальномера.
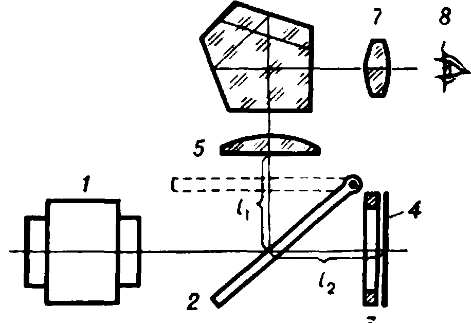
В зеркальных фотоаппаратах типа «Зенит» между съёмочным объективом 1 (рис. 1) и фотоплёнкой располагается подвижное зеркало 2, которое направляет световые лучи в видоискатель, а оптическое изображение снимаемого предмета получается на плоской матированной поверхности липзы 5. За этой линзой расположены пента призма 6 и окуляр 7, при помощи которого фотограф наблюдает изображение, образуемое съёмочным объективом на плоской поверхности линзы. Перед срабатыванием фотозатвора зеркало поднимается в положение, показанное пунктиром, и оптическое изображение предмета съёмки получается на светочувствительном слое фотоплёнки 4, перед которой расположена кадровая рамка 3. Для повышения точности фокусировки используют два оптических клина полукруглой формы, которые вставляются в цилиндрическое углубление, сделанное в центре матированной поверхности. Если оптическое изображение объекта съёмки не совпадает с матированной поверхностью, то при наблюдении сквозь клиновое устройство оно видно раздвоенным, причём оба изображения смещаются клиньями в разные стороны. При фокусировке фотограф перемещает объектив до того положения, при котором оба изображения сливаются в одно.

Рис. 1. Схема зеркального фотоаппарата типа «Зенит»: 1 — съёмочный объектив; 2 — подвижное зеркало; з — кадровая рамка; 4 — фотоплёнка; 5 — линза; б — пента-призма; 7 — окуляр; 8 — глаз фотографа*
Часто вместо плоско-выпуклой линзы применяют линзу Френеля, содержащую несколько кольцевых зон, действующих как выпуклая поверхность обычной линзы. Эта линза делается из органического стекла, что значительно уменьшает её вес. Клиновое устройство у такой линзы заменено системой мельчайших пирамид (микропирамид), называемой микрорастром. При наблюдении через микрорастр малейшая неточность в фокусировке объектива проявляется в виде нерезкости изображения, более заметной, чем она наблюдается аа матированной поверхности.
На рис. 2 показана принципиальная схема дальномерного фотоаппарата. Фотограф наблюдает фотографируемый предмет 1 через ви-
Рис. 2. Схема фотоаппарата с монокулярным дальномером: 1— фотографируемый предмет; 2 — объектив видоискатели; 3 — зеркало; 4 — окуляр; 5 — глаз фотографа; 6 — съёмочный ооъектив; 7 — зеркало.
доискатель. В, состоящий н.ч объектива 3 и окуляра 4, непосредственно через отперстие в зеркало 3 и с помощью вспомогательной системы, включающей зеркало 7 и объектив 2. Зеркало 7 смещено относительно оптической оси видоискателя на некоторое расстояние, называемой базой монокулярного дальномера. Так как световые лучи, идущие от предмета 1 через основную и вспомогательную ветви дальномера, составляют между собой некоторый угол 8, то через окуляр дальномера наблюдаются два смещённых изображения (как это показано на рисунке внизу справа). В процессе фокусировки съёмочного объектива 6, то есть при его перемещении вдоль оптической оси, при помощи устройства, называемого оптическим компенсатором (на рисунке он не показан), фотограф добивается такого положения, когда два. изображения, видимые в поле зрения, совместятся в одно.
1.2.6Видоискатель.
Видоискатель предназначен для наблюдения фотографируемых объектов с целью выбора точки съёмки, обеспечивающей желаемое расположение изображений объектов в пределах ноля кадра (желаемое композиционное построение кадра). Часто видоискатель совмещён с устройством для фокусировки объектива.
Если оптическая ось видоискателя (линия визирования) смещена относительно оптической оси съёмочного объектива, то такие видоискатели называются параллаксными. Через такой видоискатель видна лишь часть того пространства, которое изображается объективом в пределах кадровой рамки. Этот недостаток наиболее сильно проявляется при съёмке близко расположенных объектов. К параллаксным видоискателям относятся все приставные визирные устрой В шторном затворе две металлические или матерчатые шторки, расположенные непосредственно перед кадровым окном аппарата, перемещаются вдоль плоскости кадра. При срабатывании затвора шторки перемещаются вдоль или поперёк кадрового окна одна за другой; ширина образовавшейся между шторками щели может регулироваться. Чем больше скорость движения шторок и чем меньше ширина ства и видошжатели дальномерных фотоаппаратов. Указанного выше недостатка лишены так называемые зеркальные видоискатели однообъекгивных фотоаппаратов (см. рис. 1). C помощью зеркала 2 оптическая ось видоискателя совмещается с оптической осью съёмочного объектива 1, что обеспечивает беспараллаксное наблюдение оптического изображения фотографируемого объекта. Линза 5 имеет прямоугольную форму, размеры её сторон близки или равны размерам кадровой рамки 3. Для того чтобы наблюдаемое изображение объекта было прямым (то есть в таком положении, в каком находится сам объект съёмки), верхняя грань пента-призмы 6 делается в виде крыши, что показано на рисунке сплошной линией (такая пентапризма называется крыше-образной). В процессе сборки фотоаппарата добиваются того, чтобы расстояния /I и It были равны между собой (разница не должна превышать 0,02— 0,03 мм).
1.3Затвор
Служит для того, чтобы пропускать световые лучи, идущие от объекта съёмки к светочувствительному слою в течение определённого, заранее выбранного промежутка времени, называемого выдержкой. Различают затворы центральные и шторные.
Центральный затвор с помощью тонких лепестков открывает световое отверстие объектива от его центра к краям, а закрывает его наоборот — от краёв к центру. Монтируется он обычно между линзами объектива, рядом с диафрагмой.
В шторном затворе две металлические или матерчатые шторки, расположенные непосредственно перед кадровым окном аппарата, перемещаются вдоль плоскости кадра. При срабатывании затвора шторки перемещаются вдоль или поперёк кадрового окна одна за другой; ширина образовавшейся между шторками щели может регулироваться. Чем больше скорость движения шторок и чем меньше ширина щели. тем меньше выдержка. Таким образом, если в центральном затворе световые лучи одновременно поступают ко всем точкам кадра, то в шторном затворе светочувствительный слой экспонируется последовательно, участок за участком, то есть различные участки светочувствительного слоя экспонируются в разное время. Если скорости обеих шторок неодинаковы, то это приводит к неравномерности выдержки, с которой экспонируются различные участки кадра, что снижает качество получаемого фотоснимка. В некоторых фотоаппаратах используется веерный затвор. который является разновидностью шторного запора. Для автоматизации процесса обработки различных по продолжительности выдержек затворы фотоаппаратов оснащают либо механическими peryляторами выдержки (обычно — тормозными механизмами анкерного типа), либо электронными управляющими устройствами.
1.4Экспонометры и экспонометрические устронства
Предназначены для определения и установки диафрагмы и выдержки они называются экспозииионными параметрами в зависимости от светочувствительности фотоматериала и освещенности (яркости) сличаемых предметов. Применяются экспонометры табличные, визуальные (оптические) и фотоэлектрические. Табличные экспонометры — наиболее простые. Они включают несколько таблиц и шкал (пять и более), нанесенных на дисках, линейках или барабанах. В таблицах содержатся данные об условиях съемки: время года, место и время съемки, расстояние до предмета, применяемый фотоосветитель и др. На шкалах экспонометра наносят значения светочувствительности фотоматериала, продолжительности выдержки и диафрагм. После необходимого взаимного расположения шкал и таблиц, в соответствии с условиями съемки фотограф определяет желаемое сочетание выдержки и диафрагмы.
1.5Механизм протяжки фотопленки
Приводимый в действие поворотом рифленой головки или особого рычага (называемого курком), перемещает фотопленку на один кадр после каждой съёмки. Одновременно при этом переводится на одно деление и счетчик кадров и взводится фотозатвор.
1.6Синхроконтакт
Предназначен для включения лампы-вспышки согласованно с определённой фазой срабатывания затвора. Интервал времени между моментом замыкания синхроконта и фазой срабатывания затвора называется временем упреждения синхроконтакта. Продолжительность времени упреждения зависит от инерционности (времени запаздывания) лампы-вспышки. В связи с этим применяются синхроконтакты двух типов:
Х-контакт — для подключения малоинерционных электронных ламп-вспышек и М-контакт — для подключения ламп-вспышек однообразного действия со временем запаздывания около 20 миллисекунд.
1.6.1Автоспуск.
Автоспуск — механизм для автоматического спуска затвора через определённое время после его включения. Автоспуск может быть составным узлом фотоаппарата или отдельным приспособлением, присоединяемым к фотоаппарату при помощи спускового тросика. Время действия автоспуска равно 10—15 секундам. Автоспуск позволяет фотографу снимать самого себя.
1.7Фотоматериалы.
Фотоматериалы, используемые в фотографии, имеют определённую чувствительность к воздействию света. Основными составными частями любого фотоматериала являются основа (подложка) и нанесённый на неё светочувствительный слой. По виду основы фотоматериалы подразделяются на фотопластинки, фото и киноплёнки и фотобумаги. Основа у фотопластинок стеклянная, у фото- киноплёнок — из специальных сортов целлюлозы или лавсана, а у фотобумаг — из плотной бумаги или картона.
2Используемая литература
Справочник фотографа , Москва, 1970 г.
Техника фотографии, Москва, 1973 г.
Проектиравание фото- и киноприборов, 2 издание, Москва, 1976 г.
Справочник фотолюбителя, Москва, 1977 г.