Фотоэлектрические свойства нитрида алюминия
Введение
За последние годы УФ-техника интенсивно развивается. Это обусловлено прежде всего появлением новых технических идей, позволяющих улучшить эксплуатационные характеристики УФ-систем, упростить их конструкцию и существенно снизить стоимость. Новые идеи относятся в первую очередь к основным элементам приемо-передающей системы -- фотоприемному устройству и излучателю.
Вслед за созданием твердотельных формирователей сигналов изображения в видимой и ИК областях спектра многоэлементные приемники изображения, функционирующие на новых принципах, создаются и для УФ-диапазона спектра.
Детектирование света в ультрафиолете (длина волны меньше 400 нм) имеет широкий диапазон применений, как коммерческих, так и военных, особенно в тех областях, где требуется анализ УФ излучения при наличии мощного видимого или инфракрасного фона. В коммерческом секторе эти применения включают в себя: датчики пламени и нагрева, стерилизация в медицине, приборы для измерения биодоз УФ (мониторы загара), диагностика плазмы, мониторинг двигателей. Среди военных применений можно назвать: детектирование следов от двигателей ракет, наведение ракет, детектирование биологических и химических веществ (основные линии поглощения лежат в ультрафиолете), закрытая связь между искусственными спутниками (УФ лучи не проникают сквозь озоновый слой земной атмосферы) и системы связи с подводными лодками. Большинство из этих применений требуют использования детекторов, не чувствительных к солнечному свету; нужно детектировать только ультрафиолет и в идеале иметь нулевую чувствительность для более длинных волн. Например, в полете ракета может иметь выхлопной хвост длиной в милю. Если детектор, используемый для поиска и наведения антиракеты-перехватчика, будет чувствителен в широкой области спектра, включая видимую и ИК, тогда ракета представляется целью длиной в милю, что сделает невозможным наведение антиракеты. Однако, если детектор будет чувствителен только в ультрафиолете, он зафиксирует только самые горячие газы, вырывающиеся у хвоста ракеты, и наведение будет идеальным. Точно так же УФ детекторы могут быть использованы в качестве датчиков противопожарных систем для обнаружения наличия именно пламени (которое имеет УФ компоненту), а не просто нагретого объекта, который может быть связан, а может и не быть связан с пламенем.
Подавить видимое излучение можно несколькими способами: первый – использовать светофильтры, что менее предпочтительно, так как они в большинстве своем нестабильны, и второй – создание такой конструкции прибора, которая была бы нечувствительна к видимой области спектра.
Фоторезисторы, несмотря на быстрый прогресс фотоприемников с p-n переходом, остаются важным средством оптоэлектроники. Прежде всего это обусловлено большим коэффициентом усиления, определяемым соотношением числа электронов, прошедших во внешней цепи к числу возбужденных фотоэлектронов. Если омические контакты фоторезистора беспрепятственно пропускают электроны как внутрь полупроводника, так и из него, то коэффициент усиления определяется очевидным соотношением:
,
где t>пр> – время пролета электрона через фоторезистор, l – длина активной области, U – приложенное напряжение. Это соотношение подтверждает преимущество полупроводников с высокими значениями подвижности и времени жизни носителей заряда. Коэффициент усиления фототока пропорционален приложенному напряжению и может достигать 103 – 105.
С точки зрения применения фоторезисторов в оптоэлектронной технике удобнее использовать не коэффициент усиления, а сопротивления в темновом R>T> и засвеченном R>СВ> состояниях. Важными схемотехническими достоинствами фоторезисторов являются такие их свойства, как линейность вольт-амперной характеристики, отсутствие эффекта выпрямления и внутренних э.д.с., что важно для многих линейных, прецизионных, электрометрических схем.
По мере роста прикладываемого напряжения, мощности облучения и тока через фоторезистор становится существенным ряд эффектов (уменьшение значений >эфф> и >эфф>, нарушение омичности контактов, переход в область токов, ограниченных пространственным зарядом и др.), нарушающих линейность основных состояний и ограничивающих реальные возможности приборов этого типа. Пленочная технология изготовления фоторезисторов порождает такие их достоинства, как дешевизна, широта перекрываемого диапазона номиналов, простота реализации фоточувствительных элементов со сложной конфигурацией, технологическая совместимость с порошковыми и пленочными электролюминесцентными излучателями.
При всей важности перечисленных достоинств фоторезисторов нельзя забывать о таком их принципиальном недостатке, как весьма значительная инерционность. Кроме того, для большинства фоторезисторов, изготавливаемых не на монокристаллах, существенна температурная и временная нестабильность характеристик, обусловленная поверхностной хемосорбцией кислорода, в первую очередь, и другими механизмами деградации. [15].
ГЛАВА 1. СВОЙСТВА НИТРИДА АЛЮМИНИЯ
1.1. Оптические свойства AlN.
Данные об оптических свойствах нитрида алюминия приводятся в достаточно ранних источниках, очевидно из-за того, что долгое время этот материал достаточно слабо использовался в оптоэлектронике.
К примеру, данные, приведенные в статье [2].
Кристаллы AlN были выращены
эпитаксиальным способом на сапфировой
подложке. Ориентация кристаллов --
.
Образцы, отобранные для оптических
измерений имели размеры
,
где
– одна из различных толщин образца. Для
измерения оптического поглощения было
использовано только эффективное
пространство 0.5х0.5 см; остаток образца
был закрыт маской. Это позволило выбрать
ту область образца, которая имеет
однородную структуру и в то же время
обеспечивает постоянство поверхности
под исследовательским лучом. Спектр
оптического поглощения был получен при
помощи спектрометра в совокупности с
фотоумножителем и ЭВМ. Для низкотемпературных
измерений, поскольку произошли изменения
длительности оптических путей,
потребовалась коррекция результатов.
Оптическая плотность нескольких образцов была измерена в широком температурном спектре. Коэффициент поглощения, в отсутствие поверхностных дефектов может быть получена из оптической плотности с использованием формулы соотносит оптическую плотность (OD) с коэффициентом поглощения , отражением и толщиной образца :
,
где
есть искомая величина.
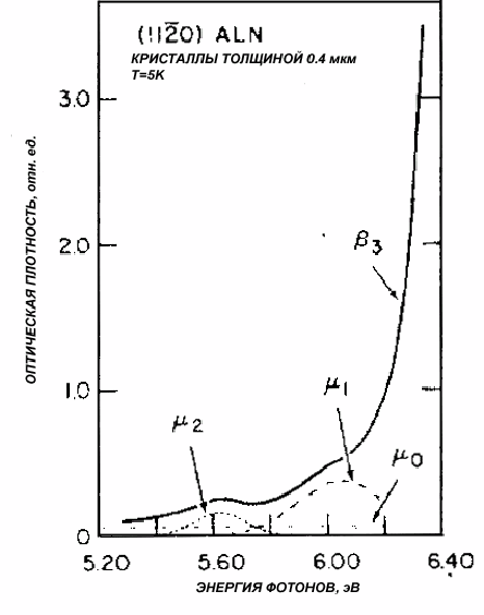
Опытное изучение нитрида алюминия показало, что поверхностными дефектами нельзя пренебречь для тех образцов, которые имеют большие поверхностные неровности. Образцы, за исключением пренебрежимо малого числа микроскопических неровностей имеют достаточно хорошее качество поверхности. Тем не менее наш анализ включает в себя возможность подобного влияния на оптическую плотность. На рис. 1.1.1. показаны данные для оптической плотности одного из наиболее тонких образцов. Оптическая плотность может быть разложена на четыре части, которые ясно видны на рис. 1.3.1. Математическое выражение оптической плотности представляет из себя следующее:

Здесь >>
— частотно независимое слагаемое
оптической плотности и >>
и >>>
— >>
>зоны поглощения, ясно видимые
на рис. 2. Эти два слагаемых экспериментально
идентифицированы в качестве кислородных
примесей и/или вакансий азота. Последний
член в выражении,
,
является характерным для межзонного
поглощения и дает нам как природу зазора
m, так и
его величину Eg.
Значения 0.5 и 1.5 для m
как раз и соответствуют прямому и
непрямому зазору.
Техника параметризации, используемая
в алгоритме Давидона-Флетчера-Пауэлла
(вариативный метрический метод), дает
значение констант, определенных выше.
Исходя из этих значений, мы можем
определить роль только последнего
слагаемого во всей энергетической
области эксперимента. График зависимости
квадрата коэффициента поглощения как
функции энергии приведен на рис. 1.1.2.
Значение запрещенной зоны при комнатной
температуре равняется 6.2
0.1
эВ и m
=0.497. Во всех случаях величина m
составляет
менее 2% от величины, соответствующей
прямому зазору.
Таким образом, было показано, что при отсутствии значительного количества примесей природа краев зон AlN легко определима. Запрещенная зона равна 6.28 эВ при температуре 5 К и 6.2 эВ при комнатной температуре.
Прямые межзонные переходы в кристаллах AlN начинаются с 5.74 и 5.88 эВ соответственно для перпендикулярной и параллельной поляризации (при комнатной температуре). Спектр отражения выше края фундаментального поглощения был получен для энергии фотонов выше 12 эВ, однако эти результаты неполные. Неизвестен еще механизм возбуждения стационарной люминесценции выше края основного поглощения у этих кристаллов.
В приведенной статье [1] были изучены спектры отражения и возбуждения синей люминесценции кристаллов AlN в области энергий 3 - 40 эВ. Источником УФ-излучения являлся синхротрон с энергией 680 МэВ. Для измерений применялся вакуумный монохроматор. Интенсивность возбуждения люминесценции рассматривалась как отношение интенсивности люминесценции кристалла AlN и интенсивности люминесценции салицилата натрия для той же длины волны. Спектр отражения измерялся с помощью фотоумножителя на салицилате натрия для преобразования УФ-излучения в видимое.
Исследованные в данной работе кристаллы AlN были получены с помощью прямой реакции паров Al и N при температуре 1850 0С. Поскольку кристаллы AlN имеют форму тонких гексагональных призм с толщиной от нескольких десятков до нескольких сотен мкм, они должны быть ориентированы параллельно друг другу для более точного измерения спектров возбуждения и отражения. Спектр возбуждения люминесценции был также измерен на образцах, полученных осаждением порошкообразного AlN. Все эксперименты проводились при комнатной температуре.

Рисунок 1.1.1. Зависимость оптической плотности от энергии фотонов для образца AlN толщиной 0.4 мкм при 5 К [2]

Рисунок 1.1.2. Квадрат коэффициента поглощения от энергии фотонов при 5 К (кривая 2) и 300 К (кривая 1) у края собственного поглощения AlN [2].

Рисунок 1.1.3. Интенсивность синей люминесценции (кривые a и b) и интенсивность отражения (кривая c) от энергии фотонов при 300 К [1].
Cпектр возбуждения стационарной люминесценции (рис. 3.4.3.) имеет комплексную структуру в области от 4 до 22 эВ. Поляризация в данных измерениях не учитывалась. Пик в области 4.5 эВ обусловлен прямым возбуждением примесных центров, пик в области 4.7 эВ — началом прямых межзонных переходов. Вид кривой возбуждения в области 8 — 22 эВ коррелирует с кривой отражения (рис 3.4.3., кривая с): максимум кривой фотовозбуждения соответствует минимуму отражения. Это подтверждает предположение, что квантовая эффективность определяется потерями на отражение и поверхностную безызлучательную рекомбинацию. При энергиях значительно больших чем ширина запрещенной зоны, в районе от 28 до 30 эВ, сильное возрастание интенсивности люминесценции объясняется началом фононного умножения. Спектр люминесценции порошкообразного AlN имеет такой же характер.
Существование на кривой отражения
пиков в областях
эВ и
эВ, группы пиков в области от 10 до 16 эВ
с максимумом при 13.8 эВ, и в области 17.5
эВ обусловлено межзонными переходами.
Существующие на данный момент результаты
расчетов электронной структуры не дают
пока ясных и недвусмысленных данных.
Общий вид кривой отражения имеет
характер, сходный с кривыми отражения
других полупроводниковых материалов
типа A3B5 в области переходов
из валентной зоны в зону проводимости.
В более поздних исследованиях пленки AlN были исследованы более подробно. В работе [7] приводятся сравнительные данные оптических свойств пленок, кристаллов и порошкообразных фаз нитрида алюминия.
Эпитаксиальные пленки AlN были получены
на сапфировой подложке. Ориентация
образцов —
.
Скорость роста пленки из газовой фазы
— около 2 ангстрем/с. Кристаллическая
структура была определена с помощью
рентгеновского спектрометра и метода
дифракции отраженных электронов. Ось
с в AlN отклонена на 280 и лежит в
плоскости, перпендикулярной оси с/
сапфира как показано на рис. 1.1.5.
В качестве источника излучения использовалась дейтериевая лампа с окном из MgF>2>. Монохроматическое излучение было получено с помощью спектрометра Сея-Намиока. Разрешение — 2 ангстрема. Свет поляризовался вогнутым стеклянным зеркалом с углом Брюстера 600 , расположенным перед монохроматором. Степень поляризации -- не менее 0.93 во всем энергетическом диапазоне эксперимента.
На рис. 1.1.5. показан спектр поглощения около края при комнатной температуре и температуре жидкого азота. Шкала оси ординат представляет собой единицы оптической плотности, определяемые как OD=log(I>0>/I), где Io и I — интенсивности падающего и прошедшего через образец света. Кривая поглощения растет до 6 эВ и имеет площадку при 6.2 эВ, что представляет собой “насыщение” интенсивности поглощения при росте энергии до 6.3. эВ. Интенсивность поглощения продолжает расти с ростом энергии падающего излучения. Коэффициент поглощения при 6.2 эВ равен примерно 105 см-1, поскольку толщина пленки составляла 800 ангстрем. При низких температурах поглощение сдвигается в область высоких энергий примерно на 0.03 эВ.
Величина коэффициента поглощения и характер кривой спектра заставляют думать, что прямой зазор в AlN составляет 6 эВ. Более точное значение запрещенной зоны непросто определить из рис. 1.1.6, поскольку спектр широк даже при низких температурах. Однако, следует заметить, что “площадка” при 6.2. эВ может появляться из-за образования свободных экситонов, ассоциированных с прямым энергетическим зазором, и при условии, что экситонный пик широк.
Спектр поглощения в поляризованном свете приведен на рис. 1.1.7. Поскольку ось с в AlN наклонена по отношению к нормали к поверхности на 280, один из спектров был получен при поляризации света перпендикулярно оси а, а другой — параллельно.

Рисунок 1.1.5. Спектры отражения эпитаксиальных пленок AlN, кристаллов и спрессованного и порошкообразного нитрида алюминия [7].

Рисунок 1.3.6. Спектр поглощения AlN в поляризованном свете [7].

Рисунок 1.1.7. Спектр поглощения пленки AlN при комнатной температуре и температуре 5К [7].
1.2. Зонная структура AlN.
Данная зонная структура AlN была приведена в работе [3].
Параметры решетки, использовавшиеся
для расчета зонной структуры AlN
следующие:
a=3.111 A, c/a=1.6, u=0.385. Фурье-
коэффициенты потенциала для векторов
обратной решетки, q, большие чем
,
принимались за 0, чтобы привести матрицу
Гамильтониана к приемлемому виду.
Энергетическая зависимость параметров
модели игнорировалась, но k-зависимость
потенциала явно учитывалась.
Значения энергетических зазоров в каждой точке зоны Бриллюэна получаются путем диагонализации матрицы гамильтониана. Это было сделано в 70 точках. Затем, несокращаемые величины были определены с помощью таблиц Рашба. Корректировка с учетом спин-орбитального взаимодействия не проводилась, поскольку это величины малы.
Рассчитанные зонные структуры AlN при
комнатной температуре показаны на
рисунке 1.2. В таблице 1.2. приведены
некоторые наиболее важные энергетические
переходы. Видно, что самый маленький
энергетический зазор прямой и находится
в центре зоны Бриллюэна. Символы
и // показывают, что наиболее
сильное поглощение наблюдается при
поляризации падающего излучения
перпендикулярно и параллельно оси с
соответственно.

Рисунок 1.2. Зонная структура AlN, показанная на приведенной ЗБ вюрцита.
1.3. Электрические свойства AlN.
AlN – прямозонный материал с большой шириной запрещенной зоны. В ранней литературе этот материал считался непрямозонным, что позже не подтвердилось. Некоторые численные параметры приведены ниже:
Подвижность:
при
Т=290 К
Нитрид алюминия является весьма полезным материалом для использования его при высоких температурах. Он слабо подвержен окислению на воздухе при температурах выше 6000С, а также устойчив к воздействию кислот, расплавленных металлов и водяных паров. Таким образом, AlN может применяться в высокотемпературных полупроводниковых устройствах. В статье [4] приводятся результаты экспериментов по измерению температурной зависимости проводимости AlN при высоких температурах. В экспериментах использовался чистый (>99%) AlN, измерения проводились на постоянном и переменном токе в атмосфере азота при давлении от 1 до 10-5 атмосферы. Образцы поликристаллического AlN были получены методом электрического разряда и спрессованы в графитовом тигле при температуре 16000С в атмосфере азота.
Зависимость удельной проводимости AlN в широком интервале температур при давлении азота равном 1 атм., приведена на рисунке 1.3.1. При температуре ниже 6500С сильное влияние на результаты оказывают примеси и проводимость на границах зерен.
Таблица 1.3.1. Значения энергий наиболее важных переходов в AlN [3].
|
Переход |
Энергия (эВ) |
|
|
Расчетные данные |
Экспериментальные данные |
|
|
Г>6>-Г>1>
( |
6.06 |
5.88 (поглощение) 6.1 (отражение) |
|
Г>1>-Г>1> (//) |
5.31 |
5.74 (поглощение) |
|
Г>5>-Г>3> |
9.3 |
9.2 (отражение) |
|
U>3>-U>3> |
8.5 |
- |
|
U>4>-U>3> |
8.9 |
- |
|
M>4>-M>3> |
9.8 |
- |
|
H>3>-H>3> |
10.1 |
10.1 (отражение) |
Таблица 1.3.2. Запрещенная зона AlN [5].
|
E>g>, эВ |
Т, К |
Примечания |
|
6,28 |
5 |
поглощение эпитаксиальными монокристаллами |
|
6,2 |
300 |
поглощение с учетом вклада экситонных эффектов вблизи края поглощения |
|
6,28 |
300 |
край экситонного поглощения, энергия связи экситона принимается равной 0.75 эВ |
Таблица 1.3.3. Проводимость AlN [6]
|
Ом-1, см-1 |
Т,К |
Примечания |
|
10-3 ... 10-5 |
290 |
Примесные кристаллы р-типа (синего цвета) |
|
10-11 ... 10-13 |
300 |
чистые кристаллы (бесцветные или с оттенком желтого |
Таблица 1.3.4. Энергия активации проводимости AlN [6].
|
E>A>, эВ |
Т, К |
Примечания |
|
0,17 |
400 ... 700 |
поликристалл, измерения при постоянном и переменном (1592 Гц) токе |
|
1,82 |
950 ... 1300 |
чистый монокристалл |
|
0,5 |
менее 300 |
чистый монокристалл |
|
1,4 |
300 ... 450 |

Рисунок 1.3.1. Проводимость от обратной температуры для AlN [4].
Поведение примесей в нитриде алюминия в настоящее врем в достаточной степени не изучено. Все же попытки получить AlN р-типа проводимости с низким сопротивлением оказались неудачными, что теоретически не является неожиданным.
Анализ состава слоев проводили с помощью различных методов: резерфордовского обратного рассеяния ионов гелия (РОР), рентгеновской фотоэлектронной спектроскопии (РФЭС), масс-спектрометрии вторичных электронов (МСВИ), искрового анализа. Наиболее гибкой и достаточно чувствительной оказалась электронная Оже-спектроскопия (ЭОС), поэтому она применяется наиболее широко. Используемая во многих работах ИК-спектроскопия имеет существенные ограничения.
Основными примесями в слоях нитрида алюминия являются кислород и углерод. В частности, установлено, что в приповерхностном слое AlN концентрация кислорода может сильно возрастать (рис. 1.3.2.). Глубина обогащенного кислородом подслоя ( с концентрацией до 25%) колебалась от 0.5 до 15 нм. Наличие такого подслоя, естественно, сказывается на характеристиках приборов на основе AlN.
Отмечалось влияние примесей на степень люминесценции и на степень кристаллического совершенства слоев. Кислород влияет на микроструктуру слоев, диффундирует по границам зерен, если таковые имеются, и поэтому послойный анализ текстурированных и поликристаллических слоев в условиях ионного травления не вполне корректен. Даже малые концентрации кремния в нитриде алюминия нарушали кристалличность материала и приводили к образованию -AlN с другими параметрами решетки. Легирование монокристаллических слоев с целью повышения проводимости затруднено.

Рисунок 1.3.2. Распределение элементов в слое нитрида алюминия по результатам Оже-спектроскопии [14].
ГЛАВА 2. Получение нитрида алюминия и методика экспериментов.
2.1. Получение пленок AlN.
Ионно-химическое распыление. Эта технология используется для осаждения различных оксидов (SiO>2>), нитридов (AlN, Si>3>N>4>, TiN) и карбидов (SiC, TiC). В основу положено распыление мишени в реакционном газе и протекание реакций с образованием соединений на поверхности мишени, на подложке или в пространстве “мишень-подложка”, где вероятность последнего мала. Два других процесса могут протекать одновременно. Скорость осаждения и доля газовой компоненты в пленке в сильной степени зависят от изменения потока реакционного газа. Обычно выделяют три области: область малых потоков, область больших потоков и переходная область в которой возникают гистерезисные петли, где зависимость параметров разряда от потока газа становится неоднозначной, и зависящей, к тому же, от направления изменения потока. В этом случае процесс становится нестабильным, что приводит к осаждению слоев неоднородного состава и с невоспроизводимыми свойствами. Избавиться от этого нежелательного эффекта можно двумя способами. В первом случае процесс осаждения ведут в условиях повышенных потоков реакционных газов, обеспечивающих образование сплошного слоя соединения на металлических мишенях. Такие режимы отличаются стабильностью и высокой воспроизводимостью свойств осаждаемых пленок. Другим способом является введение обратной связи по потоку реакционного газа.
Принцип действия магнетронной распылительной системы иллюстрирует рис. 2.1.1. Основными элементами устройства являются катод-мишень, анод и магнитная система. Силовые линии магнитного поля замыкаются между полюсами магнитной системы. При подаче постоянного напряжения между мишенью и анодом возникает неоднородное электрическое поле и возбуждается аномальный тлеющий разряд. Наличие замкнутого магнитного поля у распыляемой поверхности мишени позволяет локализовать плазму разряда непосредственно у мишени. Эмитированные с катода электроны захватываются магнитным полем, и им сообщается сложное циклоидальное движение по замкнутым траекториям у поверхности мишени. Электроны оказываются в ловушке создаваемой с одной стороны магнитным полем, возвращающим электроны на катод, а с другой - поверхностью мишени, отталкивающей их. В этой ловушке электроны циклируют до тех пор пока не произойдет несколько ионизирующих столкновений, в результате которых электрон теряет полученную от электрического поля энергию. Таким образом, большая часть энергии электрона прежде чем он попадает на анод, используется на ионизацию и возбуждение, что значительно увеличивает эффективность процесса ионизации и приводит к возрастанию концентрации положительных ионов у поверхности мишени. Это в свою очередь обусловливает увеличение интенсивности ионной бомбардировки мишени и значительный рост скорости распыления, а следовательно, и скорости осаждения пленок. Помимо этого МРС обладает рядом специфических свойств, основными из которых являются снижение рабочего давления, а также отсутствие бомбардировки подложки высокоэнергетическими вторичными электронами.
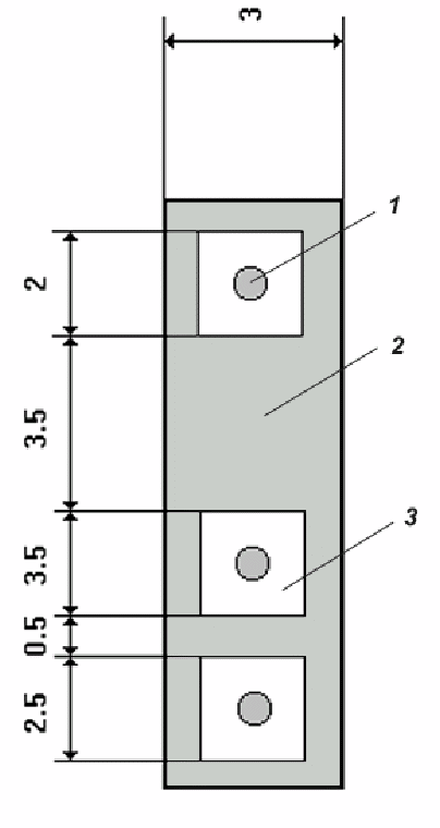
В результате были получены образцы, конфигурация которых представлена на рисунке 2.1.2.
|
|
|
Рис. 2.1.1. Механизм ионно-плазменного распыления нитрида алюминия в магнетронной распылительной системе. |

Рисунок 2.1.2. Конфигурация образца нитрида алюминия. (Размеры даны в миллиметрах)
1—контактол; 2 – пленка нитрида алюминия; 3 – алюминиевые контакты
2.2. Измерение вольт-амперных характеристик.
Измерения вольт-амперных характеристик проводились с помощью установки, электрическая схема которой приведена на рисунке 2.2.1. Установка состоит из следующих элементов:
Образец, помещенный в измерительную головку;
Регулятор напряжения;
Источник постоянного напряжения на базе источника постоянного тока Б5-50;
Вольтметр-электрометр универсальный В7-30;
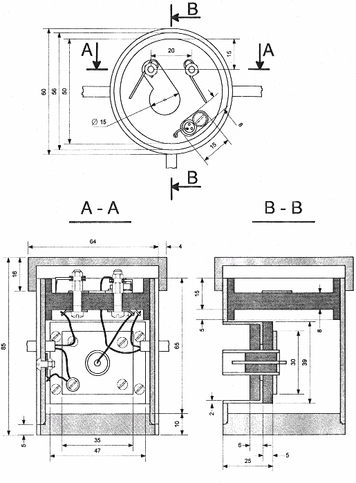
Исследуемый образец помещается в специально сконструированную измерительную головку (рис. 2.2.2.) Измерительная головка конструктивно состоит из двух частей: верхней и нижней.
Верхняя часть головки содержит контакты для подачи питания на образец и площадку для образца.
Нижняя часть служит как разветвитель входящих и выходящих проводов.
Как известно, уровень тока через фоторезистор на основе AlN очень низкий из-за большого удельного сопротивления материала, а это требует особых условий для измерения светового, а особенно темнового тока фоторезистора Необходимо свести к минимуму влияние внешних электромагнитных полей и токов утечки в измерительной головке. Защита от внешних электромагнитных полей обеспечивается экранировкой проводов, заземлением стального корпуса головки с защитными металлическими крышками. Для защиты от токов утечки используется фторопласт, который практически не дает токов утечки.
Для измерения уровня токов, в качестве токового прибора используется вольтметр-электрометр В7-30, диапазон измерения токов которого 10-15 — 10-7 А, а внутреннее сопротивление данного прибора на всех пределах измерения не превышает одного мегаома. Таким образом, во всем диапазоне измерения токов падением напряжения на приборе можно пренебречь.
ВАХ снимались при различных полярностях постоянного напряжения и при разной степени освещенности.

Рисунок 2.2.1. Электрическая схема установки для измерения вольт-амперных характеристик.
1 – источник ультрафиолетового излучения; 2 – измерительная головка с образцами; 3 – источник постоянного напряжения; 4 – электрометр.

Рисунок 2.2.2. Чертеж измерительной головки
2.3. Измерение спектральных характеристик.
Экспериментальная установка для снятия спектральных характеристик фоторезистора на основе нитрида алюминия собрана на базе монохроматора МДР-2. Рабочий диапазон спектра — 200-600 нм — обеспечивался дифракционной решеткой с числом штрихов 1200 на 1 мм. Для срезания спектров высшего и низшего порядков использовался светофильтр БС-5 в области спектра от 360 до 600 нм.
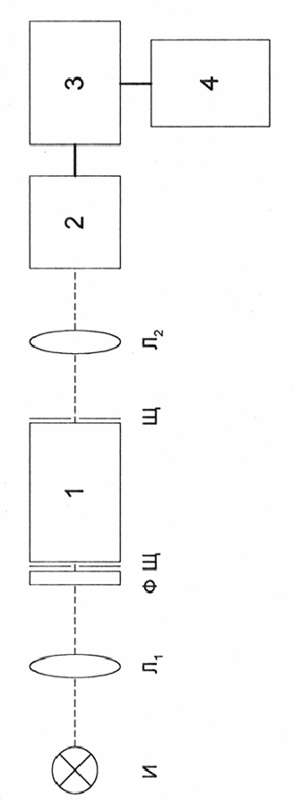
Блок-схема установки для измерения спектральной зависимости проводимости нитрида алюминия показана на рис. 2.3. Схема состоит из следующих элементов:
И — источник излучения;
Л1, Л2 — фокусирующие линзы;
Ф — светофильтр;
Щ — входная и выходная щели;
1 — монохроматор МДР-2, обратная линейная дисперсия 2 нм/мм;
2 — образец, помещенный в измерительную головку;
3 — вольтметр-электрометр В7-30;
4 — самописец.

Рисунок 2.3. Блок-схема установки для измерения спектральных характеристик.
Источником излучения, которое после некоторых преобразований попадает на образец, служит водородная лампа ДВС-25.
Для проектирования излучения на щель монохроматора служит двухлинзовый конденсатор с фокусным расстоянием 106 мм и световым диаметром 52 мм.
У входа и выхода монохроматора расположены соответственно входная и выходная щели, находящиеся на одной прямой. Щели монохроматора симметричные, с переменной шириной раскрытия в пределах от 0 до 4 мм с точностью до 0.01 мм. Перед образцом стоит линза для направленной фокусировки монохроматического света на образец.
2.4. Измерение зависимости фотопроводимости от интенсивности падающего излучения.
Экспериментальная установка для исследования зависимости фотопроводимости нитрида алюминия от интенсивности падающего излучения была собрана на основе вольтметра типа В7-30 и датчика мощности падающего излучения. Интенсивность падающего излучения варьировалась путем изменения расстояния от водородной лампы до измерительной головки с образцом.
Схема установки приведена на рисунке. 2.4.1., где
1 — источник излучения (водородная лампа ДВС-25);
2 — светофильтр БС-7;
3-- измерительная головка с образцом;
4 — линейка с делениями.
Для градуировки мощности падающего излучения была собрана установка, состоящая из датчика мощности падающего излучения и вольтметра типа Ф18. Излучение, пройдя через светофильтр, фиксировалось датчиком и вольтметром. Интенсивность излучения также регулировалась путем изменения расстояния между лампой и датчиком. Градуировочная таблица приведена ниже. Мощность излучения вычислялась по градуировочной формуле:

Рисунок 2.4.1. Схема установки для измерения зависимости фотопроводимости нитрида алюминия от интенсивности падающего излучения.
1 – источник ультрафиолетового излучения; 2 –светофильтр БС-7; 3 – измерительная головка с образцами; 4 – линейка.
Чтобы определить мощность излучения, которое создает фотопроводимость нитрида алюминия, измерения были проведены для двух случаев — при наличии фильтра и без него. Интенсивность излучения была рассчитана как их разность.
Таблица 2.4.1. Градуировочная таблица для снятия зависимости фотопроводимости нитрида алюминия от интенсивности падающего излучения.
|
Расстояние от источника излучения, L, см |
Показания вольтметра при наличии светофильтра U>1>, мкв |
Показания вольтметра без светофильтра U>2>, мкв |
Интегральная мощность излучения, (без светофильтра) мкВт |
Мощность излучения, со светофильтром мкВт |
|
0 |
42 |
24 |
33,6 |
19,2 |
|
2.3 |
13 |
6 |
10,4 |
4,8 |
|
4.1 |
6.5 |
3.8 |
5,2 |
3,04 |
|
6.4 |
2.6 |
1.6 |
2,08 |
1,28 |
|
8.5 |
1.4 |
0.4 |
1,12 |
0,32 |
|
10.7 |
0.5 |
0.1 |
0,4 |
0,08 |
|
12.9 |
0.1 |
0.02 |
0,08 |
0,016 |
|
14.9 |
0.04 |
0 |
0,032 |
0 |
|
17 |
0.02 |
0 |
0,016 |
0 |
|
18.8 |
0 |
0 |
0 |
0 |
ГЛАВА 3. ОБРАБОТКА РЕЗУЛЬТАТОВ ИЗМЕРЕНИЙ
3.1. Вольт-амперные характеристики.
3.1.1. Темновая вольт-амперная характеристика
Темновая вольт-амперная характеристика нитрида алюминия была получена с помощью установки, описанной в главе 2. Напряжение изменялось в диапазоне от 0 до 100 В. Результаты для двух полярностей приложенного напряжения приведены в таблицах 3.1.1.1. и 3.1.1.2.
Как видно из графиков (рис. 3.1.1.1. и 3.1.1.2.), темновая вольт-амперная характеристика линейна, лишь при малых напряжениях наблюдается некоторая нелинейность, что объясняется поликристаллической структурой образца нитрида алюминия.
Из угла наклона прямого участка ВАХ можно рассчитать темновую проводимость образца AlN, а учитывая геометрию образца, можно рассчитать удельную проводимость.
, где
l – длина образца; R>Т> – темновое сопротивление, рассчитанное из вольт-амперной характеристики ; D – ширина и h – толщина пленки нитрида алюминия.
Исходя из этих данных, можно определить удельную проводимость образцов.
Зная удельную проводимость материала и подвижность носителей заряда, можно рассчитать концентрацию носителей заряда в образце.
,
где
n
– концентрация носителей заряда в
материале; >n>
– подвижность электронов. Согласно
литературным данным, подвижность
[6].
Из результатов исследований видно, что удельная проводимость исследуемых образцов практически однородна по площади, и незначительно изменяется от образца к образцу, что указывает на хорошую воспроизводимость технологии.
Линейность вольт-амперных характеристик при больших напряжениях, а также тот факт, что они практически совпадают при изменении полярности прикладываемого напряжения, говорит о том, что алюминиевые контакты, нанесенные на поверхность образцов можно считать омическими.
Таблица 3.1.1. Результаты измерений темновых вольт-амперных характеристик образцов нитрида алюминия
|
Образцы |
Сопротивление Ом |
Удельная проводимость, ом-1 м-1 |
Концентрация носителей, м-3 |
|
Образец №1 |
4.47 1014 |
0.26 10-8 |
0.116 1014 |
|
Образец №2 |
6.19 1013 |
0.27 10-7 |
0.11 1014 |
|
Образец №3 |
6.81 1013 |
0.243 10-8 |
0.1 1014 |

Рисунок 3.1.1.1. Темновая вольт-амперная характеристика образца нитрида алюминия (образец №1) при различных полярностях приложенного напряжения.

Рисунок 3.1.1.2. Темновая вольт-амперная характеристика образца нитрида алюминия (образец №2).
3.1.2. Вольт-амперные характеристики нитрида алюминия при освещенности
Вольт-амперные характеристики нитрида алюминия при освещенности снимались при помощи установки, описанной в главе 2. Результаты измерений приведены в таблицах 3.1.2.1. и 3.1.2.2. Измерения проводились при мощности падающего излучения – 21.4 мкВт
Сравнивая темновую ВАХ образца и ВАХ при полной освещенности, мы можем определить:
фотопроводимость материала;
коэффициент умножения фототока;
концентрацию неравновесных носителей заряда.
Фотопроводимость нитрида алюминия при освещении рассчитывается также как и его темновая проводимость, только вместо темнового сопротивления R>т>, в формулу для расчета подставляется сопротивление при освещенности R>св>. Кратность изменения сопротивления определяется как отношение темнового сопротивления образца к его сопротивлению при освещении.
,
где
R>T> – темновое сопротивление образца, Rñâ – его сопротивление при освещении.
Коцентрация неравновесных носителей заряда определяется из значения фотопроводимости образца и подвижности носителей заряда:
,
где
>св> – фотопроводимость образца, >n> – подвижность носителей заряда в материале. Результаты расчетов приведены в таблице 3.1.2.7.
Таблица 3.1.2.1. Вольт-амперная характеристика образца нитрида алюминия при освещенности (образец №1)
|
U, B |
I, А |
R, Ом |
|
0 |
0,00E+00 |
|
|
5 |
9,55E-11 |
5,24E+10 |
|
10 |
1,97E-10 |
5,09E+10 |
|
20 |
4,02E-10 |
4,98E+10 |
|
30 |
6,04E-10 |
4,97E+10 |
|
40 |
8,10E-10 |
4,94E+10 |
|
50 |
1,05E-09 |
4,75E+10 |
|
60 |
1,26E-09 |
4,75E+10 |
|
70 |
1,48E-09 |
4,72E+10 |
|
80 |
1,69E-09 |
4,72E+10 |
|
90 |
1,91E-09 |
4,7E+10 |
|
100 |
2,13E-09 |
4,69E+10 |
Таблица 3.1.2.2. Вольт-амперная характеристика образца нитрида алюминия при освещенности (образец №1) (противоположная полярность приложенного напряжения).
|
U, B |
I, А |
R, Ом |
|
0 |
0,00E+00 |
|
|
5 |
9,36E-11 |
5,34E+10 |
|
10 |
1,96E-10 |
5,11E+10 |
|
20 |
4,04E-10 |
4,95E+10 |
|
30 |
6,12E-10 |
4,9E+10 |
|
40 |
8,23E-10 |
4,86E+10 |
|
50 |
1,07E-09 |
4,66E+10 |
|
60 |
1,28E-09 |
4,68E+10 |
|
70 |
1,48E-09 |
4,72E+10 |
|
80 |
1,70E-09 |
4,7E+10 |
|
90 |
1,93E-09 |
4,66E+10 |
|
100 |
2,16E-09 |
4,62E+10 |
Таблица 3.1.2.3. Вольт-амперная характеристика образца нитрида алюминия при освещенности (образец №2).
|
U, B |
I, А |
R, Ом |
|
0 |
0,00E+00 |
|
|
5 |
8,95E-11 |
5,59E+10 |
|
10 |
1,96E-10 |
5,12E+10 |
|
20 |
4,26E-10 |
4,7E+10 |
|
30 |
6,64E-10 |
4,52E+10 |
|
40 |
9,07E-10 |
4,41E+10 |
|
50 |
1,17E-09 |
4,27E+10 |
|
60 |
1,42E-09 |
4,22E+10 |
|
70 |
1,66E-09 |
4,21E+10 |
|
80 |
1,90E-09 |
4,21E+10 |
|
90 |
2,15E-09 |
4,18E+10 |
|
100 |
2,39E-09 |
4,18E+10 |
Таблица 3.1.2.4. Вольт-амперная характеристика образца нитрида алюминия при освещенности (образец №1) (противоположная полярность приложенного напряжения).
|
U, B |
I, А |
R, Ом |
|
0 |
0,00E+00 |
|
|
5 |
8,73E-11 |
5,73E+10 |
|
10 |
1,89E-10 |
5,31E+10 |
|
20 |
4,10E-10 |
4,88E+10 |
|
30 |
6,44E-10 |
4,66E+10 |
|
40 |
8,83E-10 |
4,53E+10 |
|
50 |
1,15E-09 |
4,33E+10 |
|
60 |
1,40E-09 |
4,28E+10 |
|
70 |
1,64E-09 |
4,26E+10 |
|
80 |
1,88E-09 |
4,25E+10 |
|
90 |
2,12E-09 |
4,24E+10 |
|
100 |
2,36E-09 |
4,23E+10 |
Таблица 3.1.2.5. Вольт-амперная характеристика образца нитрида алюминия при освещенности (образец №3).
|
U, B |
I, А |
R, Om |
|
0 |
0,00E+00 |
|
|
5 |
8,64E-11 |
5,78E+10 |
|
10 |
1,88E-10 |
5,31E+10 |
|
20 |
4,09E-10 |
4,88E+10 |
|
30 |
6,38E-10 |
4,7E+10 |
|
40 |
8,72E-10 |
4,58E+10 |
|
50 |
1,12E-09 |
4,46E+10 |
|
60 |
1,37E-09 |
4,37E+10 |
|
70 |
1,59E-09 |
4,4E+10 |
|
80 |
1,83E-09 |
4,37E+10 |
|
90 |
2,07E-09 |
4,34E+10 |
|
100 |
2,30E-09 |
4,35E+10 |
Таблица 3.1.2.6. Вольт-амперная характеристика образца нитрида алюминия при освещенности (образец №1) (противоположная полярность приложенного напряжения).
|
U, B |
I, А |
R, Om |
|
0 |
0,00E+00 |
|
|
5 |
9,34E-11 |
5,35E+10 |
|
10 |
2,02E-10 |
4,96E+10 |
|
20 |
4,38E-10 |
4,57E+10 |
|
30 |
6,89E-10 |
4,36E+10 |
|
40 |
9,45E-10 |
4,23E+10 |
|
50 |
1,23E-09 |
4,05E+10 |
|
60 |
1,50E-09 |
3,99E+10 |
|
70 |
1,75E-09 |
3,99E+10 |
|
80 |
2,01E-09 |
3,97E+10 |
|
90 |
2,27E-09 |
3,96E+10 |
|
100 |
2,53E-09 |
3,95E+10 |
Таблица 3.1.2.7. Результаты измерений вольт-амперных характеристик образцов нитрида алюминия при освещении.
|
Образцы |
Сопротивление Ом |
Удельная проводимость, ом-1 м-1 |
Кратность изменения сопротивления |
Концентра-ция неравновесных носителей, м-3 |
|
Образец №1 |
4.47 1010 |
0.26 10-4 |
104 |
0.116 1018 |
|
Образец №2 |
4.4 1010 |
0.55 10-4 |
1.4 103 |
0.24 1018 |
|
Образец №3 |
4.3 1013 |
0.243 10-4 |
1.58 103 |
0.1 1018 |
Полученные результаты позволяют судить о качестве контактов и воспроизводимости свойств материала.
Из графиков, представленных на рисунках 3.1.2.1 – 3.1.2.4. видно, что вольт-амперные характеристики образцов при смене полярности приложенного напряжения на противоположное практически совпадают, из чего можно сделать вывод о том, что фотоэлектрические свойства материала мало изменяются от образца к образцу, а алюминиевые контакты можно считать омическими.
Кратность изменения сопротивления для разных образцов находится в пределах от 1.4 103 до 104, что позволяет применять данный материал в качестве фоторезистора.

Рисунок 3.1.2.1. Вольт-амперная характеристика образца нитрида алюминия при освещенности (образец №1) при различных полярностях приложенного напряжения.

Рисунок 3.1.2.2. Вольт-амперная характеристика образца нитрида алюминия при освещенности (образец №2) при различных полярностях приложенного напряжения.

Рисунок 3.1.2.3. Вольт-амперная характеристика образца нитрида алюминия при освещенности (образец №3) при различных полярностях приложенного напряжения.


2
1
Рисунок 3.1.2.4. Вольт-амперные характеристики AlN. Темновая ВАХ (кривая 2) и ВАХ при освещенности (кривая 1). Мощность излучения для ВАХ при освещении – 21.4 мкВт.
3.2. Зависимость фототока от интенсивности падающего излучения.
Измерения зависимости фототока от интенсивности падающего излучения проводились с помощью фильтра БС-7, не пропускающего ультрафиолетовое излучение. Таким образом, влияние излучения видимой области спектра было исключено путем вычитания значений интенсивности и фототока, полученных при использовании фильтра из их интегральных значений.
Измерения проводились для одного образца при напряжении на нем – U=90 В.
Результаты измерений приведены в таблице 3.2. и на рисунке 3.2.
Зависимость фототока от интенсивности падающего излучения можно аппроксимировать следующим выражением:
,
где
I>ф>(А) – фототок; P (Вт) – мощность излучения; À и – параметры, определяемы эмпирическим путем. Из найденной зависимости можно определить эти параметры:
À=2.4 104;
Таблица 3.2. Результаты измерений зависимости фототока от интенсивности падающего излучения.
|
Интенсивность, мкВт |
Iф, А |
|
0 |
0 |
|
5,33E-09 |
9,1E-12 |
|
1,07E-08 |
1,69E-11 |
|
2,13E-08 |
3,12E-11 |
|
1,07E-07 |
1,31E-10 |
|
2,67E-07 |
2,96E-10 |
|
7,20E-07 |
7,17E-10 |

Рисунок 3.2. Зависимость фототока от интенсивности падающего излучения.
3.3. Спектральные характеристики фотопроводимости нитрида алюминия.
Измерение спектральных характеристик фотопроводимости нитрида алюминия проводились с помощью установки, описанной в главе 2. Напряжение на образце – U=90 В.
Измерения проводились без учета интенсивности, поскольку очень трудно определить мощность излучения, прошедшего через монохроматор в области малых длин волн при <0,25 мкм.
Чтобы привести кривую к нормальному виду, был использован калиброванный фотодиод и по нему были получены относительные значения количества падающих фотонов.
Фототок в области от 5.9 до 6.2 эВ трудно определим по причине большой погрешности при резком падении интенсивности света, вышедшего из монохроматора.
Результаты измерений приведены в таблице 3.3. и на рисунке 3.3.
Как видно из рисунка 3.3. фотопроводимость начинается при энергии фотонов 3.8 эВ. Поглощение имеет примесный характер. Максимум фотопроводимости приходится на промежуток энергий от 5.4 до 6.2 эВ. К сожалению, именно на промежутке от 5.9 до 6.2 эВ не удалось получить точных и достоверных значений фотопроводимости.
Таблица 3.3. Спектральная зависимость фотопроводимости нитрида алюминия.
|
Деления |
, анг. |
h, эВ |
Iф, пА |
Iф-Iт, пА |
, Cм |
max |
|
10,000 |
1985,924 |
6,244 |
24,280 |
24,120 |
2,680E-13 |
0,857 |
|
15,000 |
2013,286 |
6,159 |
26,480 |
26,320 |
2,924E-13 |
0,935 |
|
20,000 |
2040,648 |
6,077 |
27,600 |
27,440 |
3,049E-13 |
0,975 |
|
25,000 |
2068,010 |
5,996 |
28,220 |
28,060 |
3,118E-13 |
0,997 |
|
30,000 |
2095,372 |
5,918 |
28,300 |
28,140 |
3,127E-13 |
1,000 |
|
35,000 |
2122,734 |
5,842 |
28,000 |
27,840 |
3,093E-13 |
0,989 |
|
40,000 |
2150,096 |
5,767 |
27,900 |
27,740 |
3,082E-13 |
0,986 |
|
45,000 |
2177,458 |
5,695 |
27,500 |
27,340 |
3,038E-13 |
0,971 |
|
50,000 |
2204,820 |
5,624 |
27,200 |
27,040 |
3,004E-13 |
0,961 |
|
55,000 |
2232,182 |
5,555 |
26,770 |
26,610 |
2,957E-13 |
0,946 |
|
60,000 |
2259,544 |
5,488 |
25,870 |
25,710 |
2,857E-13 |
0,914 |
|
65,000 |
2286,906 |
5,422 |
24,820 |
24,660 |
2,740E-13 |
0,876 |
|
70,000 |
2314,268 |
5,358 |
23,750 |
23,590 |
2,621E-13 |
0,838 |
|
75,000 |
2341,630 |
5,295 |
22,190 |
22,030 |
2,448E-13 |
0,783 |
|
80,000 |
2368,992 |
5,234 |
20,520 |
20,360 |
2,262E-13 |
0,723 |
|
85,000 |
2396,354 |
5,175 |
18,200 |
18,040 |
2,004E-13 |
0,641 |
|
90,000 |
2423,716 |
5,116 |
16,400 |
16,240 |
1,804E-13 |
0,577 |
|
95,000 |
2451,078 |
5,059 |
14,500 |
14,340 |
1,593E-13 |
0,510 |
|
100,000 |
2478,440 |
5,003 |
12,680 |
12,520 |
1,391E-13 |
0,445 |
|
105,000 |
2505,802 |
4,949 |
11,000 |
10,840 |
1,204E-13 |
0,385 |
|
110,000 |
2533,164 |
4,895 |
9,110 |
8,950 |
9,944E-14 |
0,318 |
|
115,000 |
2560,526 |
4,843 |
8,000 |
7,840 |
8,711E-14 |
0,279 |
|
120,000 |
2587,888 |
4,792 |
7,110 |
6,950 |
7,722E-14 |
0,247 |
|
125,000 |
2615,250 |
4,741 |
5,880 |
5,720 |
6,356E-14 |
0,203 |
|
130,000 |
2642,612 |
4,692 |
4,860 |
4,700 |
5,222E-14 |
0,167 |
|
135,000 |
2669,974 |
4,644 |
3,980 |
3,820 |
4,244E-14 |
0,136 |
|
140,000 |
2697,336 |
4,597 |
3,300 |
3,140 |
3,489E-14 |
0,112 |
|
150,000 |
2752,060 |
4,506 |
2,210 |
2,050 |
2,278E-14 |
0,073 |
|
160,000 |
2806,784 |
4,418 |
1,510 |
1,350 |
1,500E-14 |
0,048 |
|
170,000 |
2861,508 |
4,333 |
1,070 |
0,910 |
1,011E-14 |
0,032 |
|
180,000 |
2916,232 |
4,252 |
0,768 |
0,608 |
6,756E-15 |
0,022 |
|
190,000 |
2970,956 |
4,174 |
0,574 |
0,414 |
4,600E-15 |
0,015 |
|
200,000 |
3025,680 |
4,098 |
0,469 |
0,309 |
3,433E-15 |
0,011 |
|
220,000 |
3135,128 |
3,955 |
0,398 |
0,238 |
2,644E-15 |
0,008 |
|
240,000 |
3244,576 |
3,822 |
0,373 |
0,213 |
2,367E-15 |
0,008 |

Рисунок 3.3. Спектральная зависимость фотопроводимости нитрида алюминия.
ГЛАВА 4 ЭКОНОМИЧЕСКОЕ ОБОСНОВАНИЕ ДИПЛОМНОГО ПРОЕКТА
4.1. ОБЩИЕ ПОЛОЖЕНИЯ
Развитие полупроводниковой оптоэлектроники требует новых исследований самых различных полупроводниковых материалов материала практически по всем направлениям. В настоящее время возникла потребность в полупроводниковых приемниках излучения, которые чувствительны только в ультрафиолетовой области спектра. Это связано с различными применениями данных приборов в биологии, медицине, военной технике и пр. Дипломная работа посвящена исследованию характеристик фотоприемников ультрафиолетового излучения на основе нитрида алюминия. Нитрид алюминия является превосходным материалом для экстремальной оптоэлектроники - открываются новые возможности при создании приборов, стойких к воздействию высокой температуры, радиации. Кроме того, в пользу нитрида алюминия и сравнение его с другими материалами по части механической прочности.
Целью данной дипломной работы является исследование фотоэлектрических свойств нитрида алюминия. Необходимо отметить, что настоящая работа представляет собой лишь начальную стадию изучения данного материала и в дальнейшем возможны некоторые корректировки выбора материалов для изготовления приборов экстремальной оптоэлектроники, требований к их качеству и т.п.
Дипломная работа относится к разряду научно-исследовательской и носит поисковый характер. Выполнение НИР весьма актуально в настоящий момент, так как создание приборов оптоэлектроники для работы в экстремальных условиях является на сегодняшний день задачей многих производителей электронных приборов во всем мире.
Поскольку данная работа носит научно-исследовательский характер, в технико-экономическом обосновании проекта можно ограничиться расчетом себестоимости НИР.
4.2. ОПРЕДЕЛЕНИЕ СТОИМОСТИ ПРОВЕДЕНИЯ НИР
Целью планирования сметной стоимости проведения НИР является экономически обоснованное определение величины затрат на ее выполнение независимо от источника финансирования. Стоимость разработки определяется по фактическим затратам.
В основе определения стоимости разработки лежит перечень выполненных работ и их трудоемкость, которые приведены в таблице 4.1.
Калькуляция себестоимости проведения НИР производится путем составления сметы, являющейся основным документом, на основе которого осуществляется финансирование, планирование и учет затрат.
Калькуляция расходов по статье “Материалы” приведена в таблице 4.2.
На основе трудоемкости выполнения работ по проведению НИР рассчитываются издержки на оплату труда ее исполнителей, являющиеся одной из основных статей калькуляции себестоимости разработки. Ввиду того, что работа инженера выполнялась дипломантом, издержки на оплату труда инженера учитывать не следует. Калькуляция расходов по статье “Заработная плата основных исполнителей” приведена в таблице 4.3.
Дополнительная заработная плата составляет 18% от основной заработной платы.
Отчисления на социальные нужды составляют 39% от суммы основной и дополнительной заработной платы основных исполнителей.
Таблица 4.1 Трудоемкость работ по проведению НИР
|
Этап проведения НИР |
Наименование работ |
Трудое чел- |
мкость, дни |
|
ст. Н.с. |
инженер |
||
|
Разработка технического задания |
Разработка технического задания |
2 |
2 |
|
Выбор направления исследования |
Подбор информации по теме Составление аналитического обзора состояния вопросов по теме Технико-экономическая оценка проведения НИР |
- - - |
6 8 5 |
|
Теоретические и экспериментальные исследования |
Изучение литературы по теме Разработка конструкции измерительной установки Проведение экспериментальных исследований Обработка полученных данных и их анализ |
- 2 - 5 |
15 4 10 15 |
|
Обобщение и оценка результатов |
Рассмотрение результатов проведенной НИР и выводы |
10 |
10 |
|
ИТОГО |
19 |
75 |
Таблица 4.2
Калькуляция расходов по статье “Материалы”
|
Материалы |
Единица измерения |
Количество |
Цена, тыс. руб. |
Сумма, тыс. Руб. |
|
Бумага писчая Бумага масштабно-координатная Дискеты ИТОГО |
пачка лист |
1 10 |
34 1 |
34 10 44 |
|
Транспортно-заготовительные расходы, 10% ВСЕГО |
4,4 48,4 |
Таблица 4.3
Расчет основной заработной платы исполнителей
|
Исполнитель |
Кол-во |
Месячная ставка, тыс. руб. |
Дневная ставка, тыс. руб. |
Трудоемкость чел - дней |
Средняя заработная плата, тыс. руб. |
|
ст. н.с. |
1 |
650 |
32.5 |
22 |
715 |
|
ИТОГО |
715 |
Образцы для исследований предоставлялись безвозмездно, поэтому они не входят в себестоимость проведения НИР.
Расходов на служебные командировки нет.
Накладные расходы, включая прочие прямые расходы, рассчитываются по ставке 33% от суммы основной и дополнительной заработной платы основных исполнителей.
На основании полученных данных в таблице 4.4 приведена калькуляция себестоимости проведения данной НИР.
Таблица 4.4 Калькуляция себестоимости проведения НИР
|
Статья затрат |
Сумма, тыс. Руб. |
|
1. Материалы 2. Специальное оборудование для научных работ
5. Отчисления на социальные нужды 6. Расходы на служебные командировки 7. Накладные расходы |
48,4 - 715 129 329 279 |
|
ИТОГО себестоимость |
1500,4 |
4.3. ВЫВОДЫ ПО ЭКОНОМИЧЕСКОМУ ОБОСНОВАНИЮ НИР
Результаты, полученные в ходе выполнения НИР показывают несомненную важность данной дипломной работы в исследовании фотоэлектрических свойств нитрида алюминия.
В силу того, что данная работа носит чисто исследовательский характер, не представляется возможным оценить ее экономический эффект, поэтому экономическое обоснование работы ограничено расчетом себестоимости НИР, которая составила 1500,4 тыс. руб.
ГЛАВА 5. БЕЗОПАСНОСТЬ ЖИЗНЕДЕЯТЕЛЬНОСТИ ПРИ
ВЫПОЛНЕНИИ ДИПЛОМНОГО ПРОЕКТА.
5.1 Общая характеристика рабочего помещения
Дипломная работа по исследованию фотоэлектрических свойств нитрида алюминия проводилась в помещении лаборатории соответствующем нормам ГОСТ 12.1.005-88 , которое на основании ПУЭ (I-1-13) относится к категории помещений без повышенной опасности. Помещение сухое ПУЭ (I-1-5). Температура в помещении поддерживается на уровне 20±5°С ; влажность 60 ± 10%); скорость движения воздуха 0,2 м/с ,без условий , перечисленных в ПЭУ 1.1.13: сырости или токопроводящей пыли , токопроводящих полов , высокой температуры , возможности одновременного соприкосновения с землей , металлоконструкциями здания , имеющими контакт с землей, с одной стороны и с металлическими корпусами электрооборудования с другой стороны.. Питающая сеть защищена автоматическими выключателями на ток не более 25 А.
5.2. Электробезопасность
Питание установки для исследования образцов, и других электроустановок осуществляется от 3-х фазной сети переменного тока с заземленной нейтралью напряжением 380/220 В и частотой 50 Гц. Используемая установка, согласно ПУЭ (I-1-3), относится к установкам до 1000 В. К работе на ней допускаются лица, имеющие группу электробезопасности не ниже III по правилам ПТЭ.
Питание приборов осуществляется через разделительный трансформатор. Для исключения наводок и обеспечения безопасной работы с приборами , корпуса последних заземлены гибким медным проводом сечением 3 мм2 по ПУЭ (I-7-10). Заземление осуществляется с помощью шины 3´40 мм2 ; присоединение заземляющих проводов к корпусу - болтовое, а к заземляющей шине - сварное по ПУЭ ( I -7 -74 ). Заземляющее устройство имеет общее сопротивление не более 4 0м согласно ПУЭ ( I -7 - 41).
5.3. Требования к освещению
Большая часть работы проводится в помещении лаборатории. Работа носит характер малой точности и для ее проведения освещенность ( при использовании люминесцентных ламп ) должна составлять 150 Лк ( СНиЛ-II-4-79).
Для работы с микроскопом освещенность на поверхности стола в зоне размещения рабочей зоны должна быть 300-500 Лк.
Следует ограничивать прямую блескость от источников освещения , при этом яркость светящихся поверхностей (окна , светильники и др.) , находящихся в поле зрения , должна быть не более 200 кл/кв.м.
Яркость светильников общего освещения в зоне углов излучения от 50 до 90 градусов с вертикалью в продольной и поперечной плоскостях должна составлять не более 200 кд/кв.м защитный угол светильников должен быть не менее 40 градусов.
Светильники местного освещения должны иметь не просвечивающий отражатель с защитным углом не менее 40 градусов.
Коэффициент пульсации не должен превышать 5% , что должно обеспечиваться применением газоразрядных ламп в светильниках общего и местного освещения с высокочастотными пускорегулирующими аппаратами (ВЧ ПРА) для любых светильников.
При отсутствии светильников с ВЧ ПРА лампы многоламповых светильников или рядом расположенные светильники общего освещения следует включать на разные фазы трехфазной сети.
5.4. Обеспечение пожарной безопасности
Помещение лаборатории , относится по пожарной безопасности к категории Д, перед закрытием обязательно осматривается ответственным за пожарную безопасность. Осмотр предусматривает:
1. Устранение возможных причин пожара.
2. Устранение причин, способствующих быстрому распространению огня.
3. Готовность средств пожаротушения к использованию. Для выполнения этих требований отключается вся аппаратура и электроустановки, обесточивается вся электросеть, кроме дежурного освещения. Помещение освобождается от мусора , отходов и т.п. Горючие жидкости убираются из помещений лаборатории в специальные кладовые или закрываются в металлические ящики. Проверяется возможность использования всех проходов, выходов, подходов к средствам пожаротушения, которые должны быть не менее 1 метра в ширине.
В случае возникновения пожара для его тушения в коридоре имеется пожарный кран и рукав необходимой длины. Для оповещения о пожаре имеется телефон и связь с кафедрой и другими лабораториями. В случае необходимости тушения пожара используется воздушно-пенные огнетушители ( 2 шт. ).
Все лица , работающие в лаборатории ознакомлены с правилами ТБ и прошли соответствующий инструктаж. Квалификационная группа по ТБ для работающих должна быть не ниже второй (II) согласно ПТЭ и ПТБ.
5.5. Техника безопасности при работе с видеотерминалами (ВДТ) и персональными ЭВМ (ПЭВМ)
Для обеспечения надежного считывания информации при соответствующей степени комфортности ее восприятия рабочее место и параметры ВДТ должны соответствовать современным эргономическим требованиям. Визуальные эргономические параметры ВДТ и пределы их изменения, в которых должны быть установлены оптимальные и допустимые диапазоны значений, приведены в таблице 5.1.
Таблица 5.1
-
Наименование параметров
Пределы значения параметров
Яркость знака (яркость фона), кд/м2 (измеренная в темноте)
не менее 100
Внешняя освещенность экрана, лк
100 - 250
Угловой размер знака, угл. мин
16 - 60
При работе с ВДТ для студентов и профессиональных пользователей необходимо обеспечивать значения визуальных параметров в пределах оптимального диапазона. Для профессиональных пользователей разрешается кратковременная работа при допустимых значениях визуальных параметров.
Конструкция ВДТ должна предусматривать наличие ручек регулировки яркости и контраста, обеспечивающие возможность регулировки этих параметров от минимальных до максимальных значений.
В технической документации на ВДТ должны быть установлены требования на визуальные параметры, соответствующие действующим на момент разработки или импорта ГОСТ и признанным в РФ международным стандартам.
В целях обеспечения требований, а также защиты от электромагнитных и электростатических полей допускается применение приэкранных фильтров, специальных экранов и других средств индивидуальной защиты, прошедших испытания в аккредитованных лабораториях и имеющих соответствующий гигиенический сертификат.
ВДТ должен соответствовать признанным в РФ международным стандартам качества и безопасности мониторов (MPR-II , TCO-92 ).
Размер точки не более 0.21мм
Контрастность не менее 0.8
Частота регенерации не менее 72 Гц
Экран должен иметь антибликовое покрытие.
Конструкция ВДТ и ПЭВМ должна обеспечивать мощность экспозиционной дозы рентгеновского излучения в любой точке на расстоянии 0,03 м от экрана и корпуса ВДТ при любых положениях регулировочных устройств не должна превышать 7,74х10 А/кг, что соответствует эквивалентной дозе, равной 0,1 мбар/час (100мкР/час).
Допустимые значения параметров неионизирующих электромагнитных излучений приведены в таблице 5.2.
Таблица 5.2.
-
Наименование параметров
(с 01/01/97)
Допустимое
значение
Напряженность э/м поля на расстоянии 50 см вокруг ВДТ по электрической составляющей должна быть не более:
- в диапазоне частот 5 Гц - 2 кГц
25 В/м
- в диапазоне частот 2- 400 кГц
2,5 В/м
Плотность магнитного потока должна быть не более:
- в диапазоне частот 5 Гц - 2 кГц
250 нТл
- в диапазоне частот 2- 400 кГц
25 нТл
Поверхностный электростатический потенциал не должен превышать
500 В
Конструкция клавиатуры должна предусматривать:
- исполнение в виде отдельного устройства с возможностью свободного перемещения;
- опорное приспособление, позволяющее изменять угол наклона поверхности клавиатуры в пределах от 5 до 15 градусов.
- освещённость клавиатуры не менее 400 лк.
Помещения с ВДТ и ПЭВМ должны иметь естественное и искусственное освещение.
Естественное освещение должно обеспечивать коэффициент естественной освещенности не ниже 1,5 %.
Площадь на одно рабочее место с ВДТ или ПЭВМ для взрослых пользователей должна составлять не менее 6,0 кв. м, а объемом - не менее 20,0 куб.м.
Производственные помещения, в которых для работы используется преимущественно ВДТ и ПЭВМ не должны граничить с помещениями, в которых уровни шума и вибрации превышают нормируемые значения (механические цеха, мастерские и т.п.)
Для внутренней отделки интерьера помещений с ВДТ и ПЭВМ должны использоваться диффузно - отражающие материалы с коэффициентом отражения для потолка - 0,7-0,8; для стен - 0,5-0,6; для пола - 0,3-0,5.
При выполнении основной работы на ВДТ и ПЭВМ, во всех учебных и дошкольных помещениях с ВДТ и ПЭВМ уровень шума на рабочем месте не должен превышать 50 дБА.
Снизить уровень шума в помещениях с ВДТ и ПЭВМ можно использованием звукопоглощающих материалов с максимальными коэффициентами звукопоглощения в области частот 63-8000 Гц для отделки помещений (разрешенных органами и учреждениями Госсанэпиднадзора России), подтвержденных специальными акустическими расчетами.
Следует ограничивать неравномерность распределения яркости в поле зрения пользователя ВДТ и ПЭВМ, при этом соотношение между рабочими поверхностями не должно превышать 3:1 - 5:1 , а между рабочими поверхностями и поверхностями стен и оборудования 10:1.
Яркость светильников общего освещения в зоне углов излучения от 50 до 90 градусов с вертикалью в продольной и поперечной плоскостях должна составлять не более 200 кд/кв. м, защитный угол светильников должен быть не менее 40 градусов.
Коэффициент пульсации не должен превышать 5% , что должно обеспечиваться применением газоразрядных ламп в светильниках общего и местного освещения с высокочастотными пускорегулирующими аппаратами (ВЧ ПРА) для любых светильников.
При конструировании оборудования и организации рабочего места пользователя ВДТ и ПЭВМ следует обеспечить соответствие конструкции всех элементов рабочего места и их взаимного расположения эргономическим требованиям с учетом характера выполняемой пользователем деятельности, комплексности технических средств, форм организации труда и основного рабочего положения пользователя.
Экран видеомонитора должен находиться от глаз пользователя на оптимальном расстоянии 600-700 мм, но не ближе 500 мм с учетом размеров алфавитно-цифровых знаков и символов.
Помещения с ВДТ и ПЭВМ должны быть оснащены аптечкой первой помощи и углекислотными огнетушителями.
Высота рабочей поверхности стола для взрослых пользователей должна регулироваться в пределах 680-800 мм; при отсутствии такой возможности высота рабочей поверхности стола должна составлять 725 мм.
Модульными размерами рабочей поверхности стола для ВДТ и ПЭВМ, на основании которых должны рассчитываться конструктивные размеры, следует считать: ширину 800 , 1000 , 1200 и 1400 мм, глубину 800 и 1000 мм при нерегулируемой высоте равной 725 мм.
Рабочий стул (кресло) должен быть подъемно - поворотным и регулируемым по высоте и углам наклона сиденья и спинки, а также - расстоянию спинки от переднего края сиденья.
Клавиатуру следует располагать на поверхности стола на расстоянии 100-300 мм от края, обращенного к пользователю или на специальной, регулируемой по высоте рабочей поверхности, отделенной от основной столешницы.
Продолжительность непрерывной работы с ВДТ без регламентного перерыва не должна превышать 2 часа, а в ночную смену - 60 минут.
Для работы используется компьютер IBM PC , выполненный по первому классу защиты (изделия, которые в дополнение к основной изолинии имеют зажим или контакт вилки сетевого шнура для подсоединения доступных для прикосновения металлических частей к занулению). Питание осуществляется от сети 220 В , 50 Гц с глухозаземленной нейтралью, таким образом, компьютер относится к электроустановкам до 1 кВт с глухозаземленной нейтралью (ПЭУ 1.7.2). Работы ведутся в нормальном помещении (ПЭУ 1.1.6) , питающая сеть защищена автоматическими выключателями на ток не более 25 А. К нормальным помещениям относятся сухие (влажностью не более 60 %) , без условий, перечисленных в ПЭУ 1.1.13: сырости или токопроводящей пыли, токопроводящих полов, высокой температуры, возможности одновременного соприкосновения с металлоконструкциями здания, имеющими контакт с землей, с одной стороны и с металлическими корпусами электрооборудования с другой стороны.
В дипломном проекте категория работы с ПВЭМ соответствовала классу III группа Б (до 40000 тыс. Знаков в 8-ми часовую смену с перерывами общей продолжительностью 70 минут).
5.6. Ультрафиолетовое излучение
Ультрафиолетовое излучение представляет собой электромагнитное излучение с длиной волны = 1 — 400 нм.
По способу генерации относится к тепловому. излучению, и по хар-ру воздействия на вещества – к ионизирующим излучениям.
Диапазон разбивается на 3 области :
УФ — А (400 — 315 нм)
УФ — В (315 — 280 нм)
УФ — С (280 — 200 нм)
УФ — А приводит к флюоресценции.
УФ — В вызывает изменения в составе крови, кожи, воздействует на нервную систему.
УФ — С действует на клетки. Вызывает коагуляцию белков.
Действуя на слизистую оболочку глаз, приводит к электроофтамии. Может вызвать помутнее хрусталика.
Источники УФ излучения:
лазерные установки;
лампы газоразрядные, ртутные;
ртутные выпрямители.
С учетом оптико-физиологических свойств глаза, а также областей УФ излучений (волновые) установлены: допустимая плотность потока энергии, которой обеспечивают защиту поверхностей кожи и органов зрения. УФ-А не более 10; УФ-В не более 0,005; УФ-С не более 0,001 [Вт/м2]
Меры защиты
Экранирование источника УФИ.
Экранирование рабочих.
Специальная окраска помещений (серый, желтый,...)
Рациональное расположение раб. мест.
Средства индивидуальной защиты
ткани: хлопок, лен
специальные мази для защиты кожи
очки с содержанием свинца
Приборы контроля: радиометры, дозиметры.
ЗАКЛЮЧЕНИЕ
По результатам проведенной работы можно сделать следующие выводы:
Создана экспериментальная установка для исследования фотоэлектрических свойств нитрида алюминия.
Получены значения темнового сопротивления материала и сопротивления материала при освещении. Коэффициент умножения фототока при этом находится в пределах от 103 до 104. Получены значения темновой удельной проводимости AlN и проводимости при освещении, а также концентрация неравновесных носителей заряда. Оценены качество образцов и контактов.
Построены спектральные характеристики фотопроводимости AlN. Найден диапазон энергий, где фотопроводимость максимальна.
Получена зависимость фототока от интенсивности падающего излучения. Рассчитана эмпирическая формула для расчета интенсивности на основе имеющихся данных о фототоке.
Проведена оценка стоимости НИР.
СПИСОК ИСПОЛЬЗОВАННОЙ ЛИТЕРАТУРЫ
Michailin V.V., Oranovskii V.E., Pacesova S., Pastrnak J., Salamatov A.S.: Physica Status Solidi (b) 58 (1973) K51.
Perry P.B., Rutz R.F.: Appl. Phys. Lett. 33 (1978) 319
Jones D., Lettington A.H.: Solid State Commun. 11 (1972) 701
Francis R.W., Worrell W.L.: J. Electrochem. Soc. 123 (1976) 430
Pastrnak J., Roskovcova L.,: Physica Status Solidi 9 (1964) 331
Collins A.T., Lightowlers E.C., Dean P.J.: Phys Rev. 158 (1967) 833
Yamashita H., Fukui K., Misawa S., Yoshida S.: J. Appl. Phys. 50 (1979) 896
Roskovcova L., Pastrnak J.: Czech. J. Phys. B 30 (1980) 586
Edwards J., Kawabe K., Stevens G., Tredgold R.H.: Sol. St. Commun. 3 (1965) 96
Cox G.A., Cummins D.O., Kawabe K., Tredgold R.H.: J. Phys. Chem. Solids 28 (1967) 543
Akasaki L., Hashimoto M.: Solid State Commun. 5 (1967) 851
Справочник по электротехническим материалам. Том 3. Л. «Энергия», 1988.
Добрынин А.В., Казаков Н.П., Найда Г.А., Подденежный Е.Н. и др. Нитрид алюминия в электронной технике. Ж. «Зарубежная электронная техника», №4 1989.
Носов О.Н. Оптоэлектроника. М. «Высшая школа». 1976.
ОГЛАВЛЕНИЕ
Введение 1
ГЛАВА 1. СВОЙСТВА НИТРИДА АЛЮМИНИЯ 2
1.1. Оптические свойства AlN. 3
1.2. Зонная структура AlN. 16
1.3. Электрические свойства AlN. 18
ГЛАВА 2. Получение нитрида алюминия и методика экспериментов. 22
2.1. Получение пленок AlN. 22
2.2. Измерение вольт-амперных характеристик. 25
2.3. Измерение спектральных характеристик. 28
2.4. Измерение зависимости фотопроводимости от интенсивности падающего излучения. 30
ГЛАВА 3. ОБРАБОТКА РЕЗУЛЬТАТОВ ИЗМЕРЕНИЙ 33
3.1. Вольт-амперные характеристики. 33
3.1.1. Темновая вольт-амперная характеристика 33
3.1.2. Вольт-амперные характеристики нитрида алюминия при освещенности 37
3.2. Зависимость фототока от интенсивности падающего излучения. 47
3.3. Спектральные характеристики фотопроводимости нитрида алюминия. 50
ГЛАВА 4 ЭКОНОМИЧЕСКОЕ ОБОСНОВАНИЕ ДИПЛОМНОГО ПРОЕКТА 54
4.1. ОБЩИЕ ПОЛОЖЕНИЯ 54
4.2. ОПРЕДЕЛЕНИЕ СТОИМОСТИ ПРОВЕДЕНИЯ НИР 54
4.3. ВЫВОДЫ ПО ЭКОНОМИЧЕСКОМУ ОБОСНОВАНИЮ НИР 56
ГЛАВА 5. БЕЗОПАСНОСТЬ ЖИЗНЕДЕЯТЕЛЬНОСТИ ПРИ 57
ВЫПОЛНЕНИИ ДИПЛОМНОГО ПРОЕКТА. 57
5.1 Общая характеристика рабочего помещения 57
5.2. Электробезопасность 58
5.3. Требования к освещению 58
5.4. Обеспечение пожарной безопасности 60
5.5. Техника безопасности при работе с видеотерминалами (ВДТ) и персональными ЭВМ (ПЭВМ) 61
5.6. Ультрафиолетовое излучение 67
ЗАКЛЮЧЕНИЕ 69
СПИСОК ИСПОЛЬЗОВАННОЙ ЛИТЕРАТУРЫ 70
