Электрокинетические явления при фильтрации жидкости в пористой среде
Министерство общего и профессионального образования РФ
Башкирский государственный университет
Физический факультет
Кафедра прикладной физики
КУРСОВАЯ РАБОТА
Тема: «Электрокинетические явления и их роль при фильтрации углеводородной жидкости в пористой среде»
Выполнил: студент III курса
группы ФГД Магадеев А.В.
Научный руководитель:
Академик РАЕН, член-корр.
АН РБ, доктор физ. - мат. наук,
проф. Саяхов Ф.Л.
Уфа-1999
Оглавление
Физика электрокинетических явлений 3
Потенциал и ток течения фильтрации жидкости в пористой среде. Методы их экспериментального исследования 7
3. Электрокинетические явления при воздействии внешнего
электрического поля 9
4. Электрокинетические явления в нефтедобыче 15
ЛИТЕРАТУРА 17
Физика электрокинетических явлений
Электрокинетические явления определяют многие особенности фильтрации жидкостей через пористые среды. Эти особенности, очевидно, связаны с электрофизическими свойствами, как пористой среды, так и насыщающей жидкости. Эти явления связаны с наличием ионно-электростатических полей и границ поверхностей в растворах электролитов (двойной электрический слой). Распределение ионов в электролите у заряженной поверхности пористой среды имеет диффузный характер, т.е. противоионы не располагаются в каком-то одном слое, за пределами которого электрическое поле отсутствует, а находиться у поверхности в виде “ионной атмосферы”, возникающей вследствие теплового движения ионов и молекул жидкости. Концентрация ионов, наибольшая вблизи адсорбированного слоя, убывает с расстоянием от твердой поверхности до тех пор, пока не сравняется со средней их концентрацией в растворе. Область между диффузной частью двойного слоя и поверхностью твердого тела называют плотной частью двойного электрического слоя (слой Гельмгольца) на рисунке 1 схематически показано распределение потенциала в двойном электрическом слое (при отсутствии специфической, т.е. не электростатической адсорбции). Толщина плотной части d двойного электрического слоя приблизительно равна радиусу ионов, составляющих слой.
Р
ис. 1:
Распределение потенциала в двойном
электрическом слое
ζ
d
- потенциал между поверхностью твердого тела и электролитом, ζ - потенциал диффузной части двойного слояТолщина диффузной части λ двойного слоя в очень разбавленных растворах составляет несколько сотен нанометров.
При относительном движении твердой и жидкой фазы скольжение происходит не у самой твердой поверхности, а на некотором расстоянии, имеющем размеры, близкие к молекулярным.
Интенсивность электрокинетических процессов характеризуются не всем скачком потенциала между твердой фазой и жидкостью, а значит его между частью жидкости, неразрывно связанной с твердой фазой, и остальным раствором (электрокинетический потенциал или ζ – потенциал). Наличие двойного электрического слоя на границах разделов способствует возникновению электрокинетических явлений (электроосмоса, электрофореза, потенциала протекания и др.). Все они имеют общий механизм возникновения связанный с относительным движением твердой фазы. При движении электролита в пористой среде образуется электрическое поле (потенциал протекания). Если на пористую среду будет действовать электрическое поле, то под влиянием ионов происходит движение раствора электролита в связи с тем, что направленный поток избыточных ионов диффузного слоя увлекает за собой массу жидкости в пористой среде под действием трения и молекулярного сцепления. Этот процесс называется электроосмосом. При действии электрического поля на смесь дисперсных частиц происходит движение дисперсной фазы. Это называется электрофорезом. В таком случае частицы раздробленной твердой или жидкой фазы переносятся к катоду или аноду в массе неподвижной дисперсной среды.
По природе электрофорез зеркальное отображение электроосмоса, и поэтому эти явления описываются уравнениями имеющими одинаковую структуру. Количественно зависимость скорости электроосмоса от параметров электрического поля и свойств пористой среды и жидкостей описывается формулой Гельмгольца-Смолуховского:
(1.1)
где υ - расход жидкости под действием электроосмоса;
S – суммарная площадь поперечного сечения капиллярных каналов пористой среды;
ζ – падение потенциала в подвижной части двойного слоя (дзета-потенциал);
D – диэлектрическая проницаемость;
h = E/L – градиент потенциала;
Е. – потенциал, приложенный к пористой среде длинной L;
μ – вязкость жидкости.
Учитывая, что сопротивление жидкости
, (1.2) а
(1.3)
(1.4)
где χ –удельная электропроводимость жидкости;
I – сила тока, можно написать
(1.5)
Формулу (1.1) можно представить по формуле аналогичной закону Дарси.
(1.6)
Здесь F – площадь образца, m – пористость образца;
R>э> – электроосмотический коэффициент проницаемости.
По закону Дарси расход жидкости
(1.7)
При совпадении направления фильтрации с результатом проявления электроосмоса суммарный расход жидкости
(1.8)
или
(1.8а)
Для оценки степени участия в потоке электроосмических процессов в зависимости приложенного потенциала можно также использовать соотношение
(1.9)
Принципиальная возможность повышение скорости фильтрации за счет электроосмоса доказано экспериментально. Однако многие вопросы приложения электрокинетических явлений в нефтепромысловой практике недостаточно изучены.
Как следует, из уравнения Гельмгольца-Смолуховского, интенсивность электроосмоса зависит в значительной мере от ζ – потенциала, который обладает характерными свойствами, зависящими от строения диффузного слоя. Особый интерес для промысловой практики представляет зависимость значения ζ – потенциала от концентрации и свойств электролитов. Сопровождается уменьшением толщины диффузного слоя и снижением электрокинетического потенциала. При некоторой концентрации электролита скорость электрокинетических процессов становиться равной нулю.
Электрокинетический потенциал может при этом не только быть равным нулю, но и приобретать противоположный знак. Это явление наблюдается при значительной адсорбции ионов на поверхности когда общий заряд ионов в плотном слое может оказаться больше заряда поверхности твердого тела.
Потенциал и ток течения фильтрации жидкости в пористой среде. Методы их экспериментального исследования
Проницаемость пористой среды определялась для радиальной фильтрации по формуле
(2.1)
где η – вязкость жидкости,
Q – расход жидкости,
D – наружный диаметр керна,
d – внутренний диаметр керна,
h – высота керна,
∆p – перепад давления между входом и выходом пористой среды.
Как следует из теории Гельмгольца-Смолуховского, потенциал протекания описывается формулой
, (2.2)
где ε – диэлектрическая проницаемость жидкости,
∆p – перепад давления,
ζ – электрический потенциал,
δ- удельная электропроводимость,
η – вязкость,
а ток течения
(2.3)
где Q – расход жидкости в единицу времени.
Сравнивая формулы (2.2) и (2.3) можно получить:
(2.4)
Как видно из этих формул, электрокинетические явления в насыщенных пористых средах можно изучать, измеряя потенциал или ток протекания. Для воды измеряется потенциал протекания, а для трансформаторного масла – ток течения.
Уменьшение потенциала ведет к уменьшению электрокинетических сил, противодействующих движению, а, следовательно, расход постепенно увеличивается. Одновременно с этим происходит увеличение вязкости жидкости по квадратичному закону, в соответствии с формулой (2.2) происходит еще большее уменьшение потенциала протекания. Увеличение вязкости ведет к уменьшению расхода.
Однако, по мере увеличения напряженности поля, происходит утолщение двойного электрического слоя и диффузионной части за счет энергии внешнего электрического поля, к увеличению ζ – потенциала, а, следовательно, к увеличению потенциала протекания. Для трансформаторного масла наоборот. Таким образом, можно сделать вывод, что изменение напряженности внешнего электрического поля, перпендикулярного потоку можно управлять расходом жидкости и потенциалом, или током течения, а, следовательно, и свойствами двойного электрического слоя.
3. электрокинетические явления при воздействии внешнего электрического поля
При воздействии электрических полей на двойной электрический слой, показывает, что при движении жидкости вблизи межфазной поверхности в электрическом поле, возникает ряд явлений, из которых можно отметить некоторые моменты. В электролите внешнее электрическое поле вызывает движение ионов. В двойном слое существует местное преобладание ионов одного знака. Вследствие этого под действием внешнего электрического поля движение ионов происходит в одном направлении, что вызывает механическое перемещение жидкости. Сила воздействия электрического поля на двойной электрический слой описывается соотношением:
(3.1)
где ρ>e >– плотность заряда в диффузном слое;
E – напряженность электрического поля.
Профиль скорости при наличии электрического поля существенно отличается от профиля скорости при отсутствии движущихся сил в двойном электрическом слое.
При движении жидкости у границы раздела фаз в двойном слое возникает перенос зарядов - ток переноса. Этот ток компенсируется возвратным током проводимости. Взаимодействие тока с равномерным магнитным полем вызывает дополнительное движение жидкости вдоль направления движения.
При наложении скрещенных электрического и магнитного полей дополнительно возникает движение, обусловленное взаимодействием токов.
З
ависимость
явлений переноса вблизи поверхности
раздела фаз от свойств двойного слоя,
с одной стороны, и возможность в известных
пределах управлять движением и свойствами
двойного слоя, с другой стороны –
позволяют управлять процессами обмена
между фазами и, в частности, интенсифицировать
их. Большой эффект в интенсификации
процесса следует ожидать при использовании
двух жидких фаз. Действием электрического
поля и магнитного поля можно заставить
межфазную поверхность двигаться в
желаемом направлении со значительной
скоростью. Движение межфазной поверхности
и прилегающих слоев приводит к интенсивному
перемешиванию жидкости в каждой из фаз,
что также способствует интенсификации
обмена.
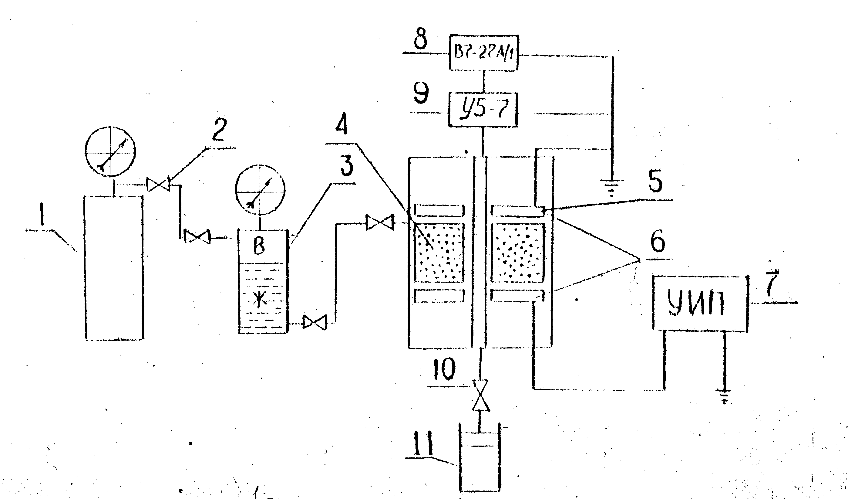
Рис. 2 Схема экспериментальной установки.
Комплекс экспериментов, связанных с исследованием электрокинетических явлений при фильтрации жидкости через пористую среду и воздействия электромагнитных полей на эти явления позволяет проводить разработанная экспериментальная установка (рис.1 – 2).
Установка включает в себя кернодержатель особой конструкции с пористой средой 4 и электродами 6, электрометрический усилитель 9 с цифровым вольтметром 8, баллон с воздухом 1, колонку 3 с исследуемой жидкостью, источник электрического поля 7, мерный цилиндр 11.
Г
лавным
узлом в экспериментальной установке
является кернодержатель специальной
конструкции, который включает в себя
(рис. 3): цилиндрический корпус 1, с
центральной трубкой 2, между которыми
установлен кольце образный образец
пористой среды 3, зажатый между
фторопластовыми шайбами 4 и герметизирующими
втулками 5. Необходимый упор осуществляется
крышками 6,
Рис.3 Кернодержатель для изучения электрокинетических явлений.
герметизация втулок производиться нефтестойкими кольцами 8, установленными в канавках, прижатыми сальниками 9. Для подачи жидкости в пористую среду служит кольцо 7, в котором имеются посадочные места для вентилей.
Для создания внешнего электрического поля в кольцевых выточках втулок установлены электроды 11, от которых отходят выводы 10 для подключения к источнику электрического поля, на корпусе и центральной трубке по окружности просверлена система отверстий, образующих своеобразную сетку, которые служат для равномерной подачи и выхода жидкости в пористой среде и эффективного отбора заряда из потока жидкости.
Размеры электродов 11 выбраны из соображений малости искажения линий напряженности электрического поля, и чтобы уменьшить вероятность пробоя, при больших напряжениях. Все это ведет к уменьшению возникающих нелинейных факторов.
Конструкция кернодержателя позволяет изменить высоту и толщину кольца образца пористой среды. Все это дает возможность исследовать электрокинетические явления в образцах пористых сред в большом интервале проницаемости. В качестве прибора, регистрирующего потенциал протекания и тока течения, используется электрометрический усилитель У5-7, обладающий большим входным сопротивлением и малыми токами утечки и позволяющий измерить постоянные и медленно меняющиеся токи положительно заряженных частиц от источников с большим внутренним сопротивлением, а также Э.Д.С.. Погрешность самого прибора составляет 4 % для Э.Д.С. и 6 % для токов.
Для повышения точности отсчета к выходу усилителя подключается вольтметр 8, типа В7-27. Источником электрического поля 7 служит универсальный источник питания УИП-1, позволяющий подавать стабилизированное напряжение на электроде, при малой величине пульсаций выходных напряжений. Для подачи жидкости в пористую среду использовалась 3-х литровая колонка высокого давления 3, которая заполнялась исследуемой жидкостью. Давление в колонке поддерживалось с помощью баллона 1. Вытекающая из кернодержателя жидкость собиралась в мерный цилиндр 11.
В качестве пористой среды в экспериментах использовался искусственный керн из огнеупорной керамики. Керн в виде кольца с тщательно прошлифованными торцами, зажимается между фторопластовыми шайбами с помощью герметизирующих втулок 5 и крышек 6. Вследствие достаточной эластичности фторопласта, керн вжимался в него, этим самым исключалось проскальзывание фильтрующей жидкости вдоль фторопластовой шайбы, которая одновременно служила для изоляции электродов от керна. Далее кернодержатель насыщался под вакуумом исследуемой жидкостью и подключался к установке. В качестве адсорбируемых жидкостей использовались дистиллированная вода и очищенное фильтрацией через селикагель и активированный сульфоуголь, трансформаторное масло.
Проницаемость пористой среды определялась для радиальной фильтрации по формуле
(3.2)
где η – вязкость жидкости,
Q – расход жидкости,
D – наружный диаметр керна,
d – внутренний диаметр керна,
h – высота керна,
∆p – перепад давления между входом и выходом пористой среды.
Как следует из теории Гельмгольца-Смолуховского, потенциал протекания описывается формулой
(3.3)
где ε – диэлектрическая проницаемость жидкости,
∆p – перепад давления,
ζ – электрический потенциал,
δ- удельная электропроводимость,
η – вязкость,
а ток течения
(3.4)
где Q – расход жидкости в единицу времени.
Сравнивая формулы (3.3) и (3.4) можно получить:
(3.5)
Как видно из этих формул, электрокинетические явления в насыщенных пористых средах можно изучать, измеряя потенциал или ток протекания. Для воды измеряется потенциал протекания, а для трансформаторного масла – ток течения.
Методика проведения экспериментов сводилась к измерению потенциала протекания или тока течения при различных расходах жидкости, зависящих от перепада давления, как без наложения, так и с наложением внешнего постоянного электрического поля.
В процессе эксперимента исследуемая жидкость из колонки 3 под давлением, создаваемым баллоном 1 поступила в кернодержатель и, пройдя через пористую среду, собиралась в мерном цилиндре 11.
При повышении напряжения на электродах, образуется электрическое поле, перпендикулярное потоку воды в пористой среде и которое, взаимодействуя с зарядами двойного электрического слоя в его диффузионной части, приводит к связыванию зарядов за счет электрических сил и, тем самым, приводит к уменьшению зарядов, выносимых потоком жидкости, и уменьшению потенциала протекания.
Уменьшение потенциала ведет к уменьшению электрокинетических сил, противодействующих движению, а, следовательно, расход постепенно увеличивается. Одновременно с этим происходит увеличение вязкости жидкости по квадратичному закону, в соответствии с формулой (3.3) происходит еще большее уменьшение потенциала протекания. Увеличение вязкости ведет к уменьшению расхода. Однако, по мере увеличения напряженности поля, происходит утолщение и диффузионной части за счет энергии внешнего электрического поля, к увеличению ζ – потенциала, а,
Подобная картина наблюдается и при исследовании тока течения и для трансформаторного масла. Разница заключается лишь в том, что ток течения описывается формулой (3.4) и увеличивается с перегибом кривой в области максимума расхода.
Таким образом, можно сделать вывод, что изменение напряженности внешнего электрического поля, перпендикулярного потоку можно управлять расходом жидкости и потенциалом, или током течения, а, следовательно, и свойствами двойного электрического слоя.
В данном разделе рассмотрена роль электрокинетических явлений при фильтрации жидкостей через пористые среды и влияние электромагнитных полей и различных факторов на эти явления. Разработанная экспериментальная установка позволила освоить методику исследования электрокинетических явлений в насыщенных пористых средах при наложении внешних электрических полей.
4.Электрокинетические явления
в нефтедобыче
Электрокинетические явления определяют многие особенности фильтрации жидкостей через пористые среды. Эти особенности, очевидно, связаны с электрофизическими свойствами, как пористой среды, так и насыщающей жидкости. Поэтому вопросы изучения роли электрокинетических явлений и возможности влияния на них внешними электрическими полями представляют большой интерес для нефтяной промышленности. При воздействии электрических полей на двойной электрический слой, показывает, что при движении жидкости вблизи межфазной поверхности в электрическом поле, возникает ряд явлений, из которых можно отметить некоторые моменты. В электролите внешнее электрическое поле вызывает движение ионов. В двойном слое существует местное преобладание ионов одного знака. Вследствие этого под действием внешнего электрического поля движение ионов происходит в одном направлении, что вызывает механическое перемещение жидкости. При движении жидкости у границы раздела фаз в двойном слое возникает перенос зарядов - ток переноса. Этот ток компенсируется возвратным током проводимости. Взаимодействие тока с равномерным магнитным полем вызывает дополнительное движение жидкости вдоль направления движения.
При наложении скрещенных электрического и магнитного полей дополнительно возникает движение, обусловленное взаимодействием токов. Зависимость явлений переноса вблизи поверхности раздела фаз от свойств двойного слоя, с одной стороны, и возможность в известных пределах управлять движением и свойствами двойного слоя, с другой стороны – позволяют управлять процессами обмена между фазами и, в частности, интенсифицировать их. Большой эффект в интенсификации процесса следует ожидать при использовании двух жидких фаз. Действием электрического поля и магнитного поля можно заставить межфазную поверхность двигаться в желаемом направлении со значительной скоростью. Движение межфазной поверхности и прилегающих слоев приводит к интенсивному перемешиванию жидкости в каждой из фаз, что также способствует интенсификации обмена. Этим самым мы можем сказать, что с помощью электрокинетических сил можно придать нефти не только направление, но и скорость течения.