Атомизаторы и источники возбуждения в аналитической химии
Сдано на химфаке ДГУ на ''5''
Источники возбуждения и атомизации в спектральном анализе
Атомизацию, как источник возбуждения, используют в атомно-адсорбционной спектроскопии. Существует много способов атомизации соединений , осуществляемых в большинстве случаев за счет тепловой энергии электричества или пламени. Для оптимального перехода в атомный пар необходим строгий контроль за температурой. Слишком высокая температура может быть так же неблагоприятна, как и слишком низкая, потому что часть атомов ионизируется и, следовательно, не поглощает при ожидаемых длинах волн. Но, с другой стороны, высокая температура способствует снижению влияния матрицы, поэтому следует найти компромисс между этими температурами.
В атомной эмиссионной спектроскопии используют более мощные источники возбуждения. Как известно свободный атом может принимать энергию от внешнего источника и возбуждаться; это означает, что один из его электронов переходит с основного на более высокий энергетический уровень. Возвращаясь в основное состояние, атом испускает фотон с энергией, соответствующей определенной частоте или длине волны. На практике существует несколько способов возбуждения, из которых наибольшее значение имеют электрические дуга и искра, пламя, электрогенеризованная плазма в газе-носителе. Разберем каждый из этих способов.
П
ламенная
атомизация. На рис.1 изображена горелка,
используемая в пламенной атомно-абсорбционной
спектроскопии (ААС). Горючий газ и
газ-окислитель подаются в смесительную
камеру, где они проходят через
Рис. 1. Горелка с предварительным смешением газов и безвихревым потоком для ААС.
ряд перегородок, обеспечивающих их полное смешение, и поступают в верхнюю часть горелки. Отверстие горелки имеет форму длинной узкой щели, что позволяет получить пламя в виде узкой полосы. Анализируемый раствор засасывается в смесительную камеру с помощью небольшой воздушной форсунки. При использовании такого распылителя получаются капельки разного размера, что может быть причиной плохой воспроизводимости. При прохождении через перегородки смесителя более крупные капли задерживаются, так что в пламя попадают более мелкие однородные по размеру капли.
Горелка с предварительным смешением газов не вполне безопасна в работе, потому что, если пламя попадет в смесительную камеру, произойдет сильный взрыв. Для того чтобы свести к минимуму вероятность проскакивания пламени в камеру, щель горелки нужно сделать как можно более узкой (с тем чтобы газы продувались сквозь нее с большой скоростью), а металлический обод вокруг щели как можно массивнее, так чтобы тепло легко отводилось. Но даже в этом случае, если не регулировать газовый поток должным образом, взрыв возможен. В продажных горелках предусмотрены меры безопасности при проскакивании пламени в камеру. При эксплуатации горелки всегда необходимо строго соблюдать правила техники безопасности.
В качестве окислительного и горючего газов в ААС чаще всего выбирают сжатый воздух и ацетилен. Максимально достигаемая температура составляет около 2200 °С. Если нужна более высокая температура, воздух можно заменить оксидом азота (N>2>O), -который разлагается с образованием смеси азота и кислорода в соотношении 2:1, тогда как для сжатого воздуха это соотношение равно 4:1; максимальная температура, которую можно получить при горении ацетилена, составляет почти 3000 °С. В горелках с предварительным смешением газов нельзя использовать чистый кислород, поскольку пламя распространяется так стремительно, что проскок в камеру неизбежен.
Пламя — удобный и воспроизводимый источник тепла, но в качестве рабочей кюветы этот источник далек от идеала, потому что два эндотермических процесса (испарение растворителя и последующая атомизация) должны пройти за столь короткий промежуток времени, что каким-то частицам удается пролететь сквозь пламя, не атомизируясь. Кроме того, пламя привносит значительные случайные флуктуации в эффективную длину оптического пути вследствие турбулентности, а это приводит к лишнему шуму при получении сигнала.

Электротермические
атомизаторы (ЭТА).
В основе ЭТА — миниатюрные графитовые
Рис.6. Электротермический атомизатор (ЭТА):
1—графитовая трубка, кювета; 2—графитовые шайбы для контакта; 3—контакт для кабеля от блока питания; 4—гайки; 5—патрубки, снабженные кварцевыми окнами; 6—стойки; 7—цилиндры, охлаждаемые водой; 8— штуцеры для подвода и слива воды; 9—штуцер для подачи аргона
трубки, нагреваемые в атмосфере инертного газа мощной электрической дугой (печь Кинга, графитовая кювета Львова) или электрическим током, пропускаемым через ее стенки (печи Кинга и Массмана), для испарения проб, подаваемых в виде раствора или порошка (рис.6). Разработаны различные варианты ЭТА с использованием графитовых, вольфрамовых, платиновых нитей или петель, стержней, лент, нагреваемых электрическим током. Во всех этих конструкциях анализируемый раствор с помощью пипетки-дозатора (10—100 мкл) вводят в графитовую трубку через отверстие в середине ее боковой стенки, либо наносят на поверхность нити или ленты.
В промышленных конструкциях ЭТА имеется специальный блок питания, позволяющий, по заранее заданной программе, в зависимости от методики, регулировать время и температуру нагрева трубки. На первой стадии печь нагревается до температуры, прикоторой удаляются растворитель и кристаллизационная вода (100—l20°C). Во второй стадии температура повышается настолько, чтобы можно было разрушить соли металлов с неорганическими или органическими анионами. На третьей стадии температура должна быть резко повышена. При этом образуемые на предыдущем этапе оксиды восстанавливаются до свободного металла , который переходит в парообразное состояние (процесс атомизации). Четвертая высокотемпературная стадия предназначена для очистки печи от остатков пробы путем выноса их инертным газом. После этого прибор готов для анализа новой порции анализируемого раствора. для предотвращения разрушения графитовых трубок при их нагреве и для ускорения выноса паров анализируемого материала через внутренние и внешние стенки трубки пропускают инертный газ. На стадии атомизации, когда необходимо повысить концентрацию свободных атомов, предусмотрено возможность автоматического отключения потока инертного газа.

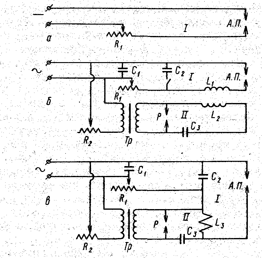
Искровой разряд. Генераторы
высоковольтной конденсированной искры.
Простейшая схема такого генератора
представлена на рис.2а.
Она состоит из трансформатора, повышающего
напряжение до 10—-18 тыс. В, реостата,
регулирующего силу тока в первичной
цени трансформатора, переменной емкости
на 0,00.1-0,02 мкФ, катушки самоиндукции и
аналитического промежутка.
Puc.2. Принципиальные cхемы генераторов высоковольтной искры
a—обычная схема; б—схема с электрическим управляемым разрядом в—схема с механическим синхронным прерывателем.
А.П.—аналитический промежуток: Тр—трансформатор; С—конденсатор; Р—разрядник; П—механический прерыватель; Д—дроссель;.L—катушка самоиндукции; R—реостат: Ri— сопротивление; Li— дополнительная индуктивность
Принцип действия такого генератора заключается в следующем. Ток от вторичной цепи трансформатора при возрастании напряжения от нуля в начале каждого полупериода заряжает конденсатор. Одновременно возрастает напряжение и на электродах. При достижении напряжёния на конденсаторе, достаточного для пробоя аналитического промежутка, происходит разряд. За один полупериод тока конденсатор заряжается и разряжается несколько раз. Разряд искры происходит в две стадий, которые вместе об-
разуют цуг. Первая стадия — разряд искры пробой аналитического промежутка со свечением газов атмосферы, в течение которой его сопротивление падает до десятков Ом, а напряжение — до нескольких десятков вольт, длительность ее составляет 10-8 с. Вторая стадия, длящаяся 10-4 с, — мощная дуга переменного тока низкого напряжения, сопровождающегося выбросам факелов из паров раскаленных материалов электродов. Температура факелов в их основании равна 8000—40000 К, а в хвосте 5000—6000 К.
Параметры искрового разряда зависят от состояния поверхности электродов, расстояния между ними, от нагрева, количества разрядов за полупериод. В процессе горения искры эти параметры изменяются, что приводит к погрешностям анализа. Поэтому для стабилизации работы и лучшего управления генератором в его схему вводят дополнительный разрядный промежуток, а аналитический промежуток шунтируют большим сопротивлением или индуктивностью (рис. 2,б).
При зарядке конденсатора повышается напряжение на дополнительном разрядном промежутке—разряднике. Когда наступит его пробой и короткое замыкание разрядом, то все напряжение сосредоточится на аналитическом промежутке, так как сопротивление или индуктивность не пропустят токи большой силы и частоты. Аналитический и разрядный промежутки выбирают такими, чтобы пробивное напряжение для аналитического промежутка было меньше, чем на разрядном. Поэтому разряд практически происходит на обоих промежутках одновременно. Когда запасенная конденсатором энергия израсходуется, разряд прекращается, конденсатор снова заряжается и весь процесс повторяется снова.
Благодаря дополнительному разрядному промежутку энергия разряда в аналитическом промежутке не зависит от состояния электродов, их размера, формы и качества обработки, как в обычной высоковольтной искре. Изменяя дополнительный разрядный промежуток, емкость, индуктивность, можно изменять энергию разряда, его длительность и получать таким образом различные условия возбуждения спектра.
На такой электрической схеме основаны промышленные генераторы ИГ-2; ИГ-З; ИВС-23 и ИВС-27.Стабильность работы и лучшую управляемость обычной схемы высоковольтной конденсированной искры можно подучить, если ввести в разрядный, контур механический прерыватель, вращаемый синхронным мотором (рис.2,в). Скорость вращения мотора должна быть такой, чтобы контакты прерывателя замыкали схему в каждый полупериод тока при одном и том же значении фазы. Разряд конденсатора на аналитическом промежутке происходит при установлений контакта в прерывателе. Для предохранения трансформатора от проникновения а него токов высокой частоты из разрядного контура в схему введены дросельные катушки.
Дуговые генераторы. Дуга постоянного тока. На рис.3 а, представлена принципиальная схема генератора дуги постоянного тока. Она состоит из аналитического промежутка (АП), реостата
и
клемм, подводящих ток от выпрямителя.
Вольтметр и амперметр в этой и других
схемах для лучшего восприятия материала
упускаются.
Рис.3. Принципиальные схемы дуговых генераторов: а—генератор дуги постоянного тока; б,в—генераторы активизированной дуги переменного тока с индуктивной (б) и автотрансформаторной (в) связью дугового (I)и высокочастотного (II) контуров. А.п.— аналитический промежуток; Р—разрядник; С—конденсаторы; L—-катушки; Тр—трансформаторы
Из-за высокого сопротивления воздуха в аналитическом промежутке при подаче на него напряжения дуга не загорится. Для поджига дуги аналитический промежуток следует активизировать. Это достигается кратковременным сведением электродов либо с помощью токов высокой частоты, как в генераторе активизированной дуги переменного тока. Зажигание дуги и поддерживание ее горения происходят за счет термоэлектронной эмиссии с электродов.
При анализе металлических сплавов анализируемый образец обычно подключают к отрицательному полюсу, катоду, а постоянный электрод - к аноду. При анализе горных пород и порошкообразных проб угольный электрод, в кратер которого обычно помещают пробу, включают анодом, так как его температура на несколько сот градусов выше катода.
Активизированная дуга переменного тока. Дуговой разряд переменного тока не может поддерживаться самостоятельно между металлическими электродами, так как направление тока меняется 100 раз в секунду (50 Гц). За такой промежуток времени металлические электроды успевают остыть, и термоэлектронная эмиссия при этом не происходит, а дуга гаснет и не загорается. Для восстановления дуги в начале каждого полупериода тока ее необходимо зажигать с помощью высокочастотного тока(рис.3,б).
Механизм действия высокочастотного контура генератора аналогичен высоковольтной конденсированной искре. Ток от вторичной цепи трансформатора заряжает конденсатор Сз, который затем разряжается на дополнительный разрядный промежуток Р. Возникающие при этом высокочастотные колебания с помощью катушек индуктивности L>1> и L>2> передаются в контур дуги переменного тока, ионизируя аналитический промежуток и способствуя поджигу и стабильному горению дуги.
Если в контуре дуги уменьшить индуктивность катушки L>1> и дополнительно включить емкость С>2>, то получится новый режим возбуждения спектров — режим низковольтной искры, способный возбуждать искровые линии элементов с высокими потенциалами
возбуждения. Связь дугового и высокочастотного контуров может быть осуществлена также и по автотрансформаторной схеме (рис.3в). Для этого катушки индуктивности L>1> и L>2> заменяют одной небольшой индуктивностью L>3> и включают емкость C>2>=l0 мкФ, которая обусловливает жесткий искровой режим. Высокочастотный режим возбуждения спектров получают путем закорачивания конденсатора С>4> и отключения питания аналитического промежутка током низкой частоты.
Все приведенные режимы реализуются в промышленных генераторах активизированной дуги переменного тока ДГ-2, ИВС-20, ИВС-28, ИВС-29. Фотоэлектрические установки типа квантометра комплектуются специальными генераторами с электронным управлением, например ГЭУ и УГЭ-4. Такие генераторы обеспечивают следующие режимы возбуждения спектра: дуга переменного тока, выпрямленная дуга различной полярности и скважности (соотношение времени горения дуги и паузы за полупериод тока) с силой тока от 1,5 до 20 А; дуга постоянного тока (от 1,5 до 20 А); низковольтная искра при напряжении 250—300В, высоковольтная искра при напряжении 7500—15000В; импульсный разряд большой мощности. Во всех режимах обеспечивается электронное управление разрядом и широкое варьирование параметров разрядного контура. Источник питания — сеть трехфазного тока 380 В, 50 Гц или однофазного тока 220В, 50 Гц.
Плазматроны. Плазматрон, или плазменная горелка, является сравнительно новым источником возбуждения в спектральном анализе. Интерес к нему обусловлен его универсальностью, высокой чувствительностью определения элементов (10-3—10-6 %), исключительной стабильностью работы, малым влиянием основы анализируемого материала и третьих компонентов, возможностью непрерывного анализа как жидких, так и порошкообразных проб.
П
ринцип
действия плазматрона состоит в том,
что при охлаждении поверхностного слоя
облака дугового разряда происходит
сжатие разрядного шнура дуги, в результате
чего увеличивается плотность тока в
ней. Это достигается помещением
графитовых или тугоплавких электродов
в камеру, в которую вводят струю инертного
газа в направлении касательных к камере.
Механизм работы плазматрона ясен из
рис.4.
Рис.4. Принципиальная схема дуговой плазменной горелки плазматрона.
В горящую дугу вводят аэрозоль анализируемого раствора. Вихреобразные струи инертного газа охлаждают снаружи облако разряда и выносят образуемую плазму через отверстие в катоде в виде светящейся струи длиной 10—-15 мм. По мере увеличения скорости потока через выходное отверстие возрастает электропроводность струй, что приводит к повышению плотности тока и увеличению температуры в шнуре разряда (термический пинч-эффект). При больших токах происходит еще дополнительное сжатие плазмы в результате действия сил магнитного давления (электрический пинч-эффект). Ток, текущий в том же направлении, что и газ заставляет ионы взаимно притягиваться, что приводят к дальнейшему повышению температуры магнитогидродинамическими силами.
Среднемассовая температура струи плазмы колеблется в пределах 6000—15000 K в зависимости от сил тока дуги, свойств и расхода охлаждающего газа и диаметра сопла. При температуре плазмы более 10 000 К в спектре преобладают искровые линии, соответствующие тем или иным состояниям ионизации атома.
Рис.5 Принципиальная схема Вч- плазматрона
Кроме описанного аэрозольного способа возможно введение анализируемого вещества в виде раствора или порошка в основание струи плазмы, минуя камеру, в которой горит дуга. В качестве охлаждающих газов чаще используют аргон и реже — смесь гелия с аргоном, азот. Возможно возбуждение плазмы высокочастотными(Вч)и сверхвысокочастотными (СВч) токами. Вч- и СВч- плазматроны дают возможность получить низкотемпературную плазму (3400-—10000 К) в любых газах и смесях. На рис.5 представлены схемы таких плазматронов. Струя газа и аэрозоля исследуемого раствора подается в кварцевую трубку, охлаждаемую водой или газом. Разряд возбуждается с помощью высокочастотного индуктора, состоящего из нескольких витков медной трубки или волновода (Свч).Возбуждение лазером. Мощный лазерный поток, сфокусированный на небольшой площади, может превратить в пар заметные количества даже труднолетучих соединений. Иногда для возбуждения пара с последующим испусканием излучения достаточно одной тепловой энергии, а иногда требуется дополнительно использовать электроразряд. С одной стороны, локализация процесса является его достоинством, поскольку позволяет исследовать очень малые поверхности ( до 50 мкм в диаметре), но , с другой стороны, она может стать недостатком, потому что анализ крупной пробы оказывается недостаточно представительным. К достоинствам лазерного способа возбуждения следует отнести возможность исследования проб с плохой электропроводностью.