Применение экспресс-анализаторов АН-7560, АН-7529 и АС-7932 в аналитической химии
Применение экспресс-анализаторов АН-7560,
АН-7529 и АС-7932 в аналитической химии.
Содержание.
Наименование раздела Стр
Введение.
I. Экспресс-анализаторы АН-7560 и АН-7529.
1. Описание.
2. Работа анализаторов.
3. Конструкция.
3.1. Измерительный блок.
3.2. Датчик.
4. Газовый тракт.
5. Указания по мерам безопасности при работе с анализатором.
6. Настройка анализатора.
7. Порядок работы анализатора.
7.1. Общие указания.
7.2. Проведение анализов.
8. Техническое обслуживание анализаторов.
II. Экспресс-анализатор АС-7932.
2. Описание.
2.1. Принцип действия анализатора.
2.1.1. Измерительный блок.
2.1.2. Датчик.
2.1.3. Электродная система
2.1.4. Газовый тракт.
3. Проверка и корректировка режимов работы анализатора.
3.1. Установка рабочей точки.
3.2. Регулировка "холостого счета".
3.3. Градуировка анализатора.
4. Техническое обслуживание анализатора.
III. Кулонометрический метод анализа.
IV. МВИ определение углерода в сырье.
V. МВИ определение серы в сырье.
Введение.
Аналитическая химия – наука прикладная и экспериментальная. Задачей аналитической химии определение содержания тех или иных веществ в исследуемой системе наиболее быстрыми, точными и рациональными методами.
Особенно интенсивное развитие физико-химических методов анализа и расширение областей применения их происходят в последнее время. Это связанно не только с особой сложностью задач, стоящих сейчас перед аналитической химией, но и с теми возможностями, которые для этого предоставляет современное приборостроение, электроника и автоматика. Принципиально каждое из свойств системы может быть использовано для её исследования и определения состава, если будет найден надёжный способ его измерения и сопоставления с химическими изменениями в системе. Это предопределяет дальнейшее развитие физико-химических методов анализа, появления всё новых и новых методов и их модификаций.
I. Экспресс-анализаторы АН-7560 и АН-7529.
1. Описание.
Анализаторы предназначены для экспрессного определения содержания углерода в стали и сплавах методом автоматического кулонометрического титрования по величине рН. Используются в химических лабораториях предприятий металлургической промышленности и других отраслях народного хозяйства, а также в лабораториях научно-исследовательских учреждений.

Рис. 1. Экспресс-анализаторы типов АН-7529 и АН-7560 на углерод.
Анализаторы рассчитаны на непрерывную круглосуточную эксплуатацию в условиях заводских лабораторий при температуре окружающего воздуха от 10 до 35°С, относительной влажности до 80%и соответствуют требованиям, предъявляемым к приборам группы 2 ГОСТ 22261-76.
Диапазоны измеряемых массовых долей углерода:
-АН-7529 от 0,03 до 4,00%;
-АН-7560 от 0,001 до 0,1%.
Сходимость показаний анализаторов, определяемая как средне квадратическое отклонение результатов анализа, для сталей с массовыми долями углерода до 1,5%не превышает значений, вычисляемых по формулам:
-для АН-7529 δ=±(0,005N +0,0025);
-для АН-7560 δ=±(0,005N +0,0005);
где δ-сходимость показаний анализаторов,%С;
N-среднее арифметическое значение показаний анализатора, полученное на n пробах (n≥10) одного и тогоже образца, % С.
Сходимость показаний анализатора АН-7529 при анализе чугунов с массовой долей углерода свыше 1,5% (дол 4%) не превышает 0,05%С.
Продолжительность одного анализа 1,5 мин в зависимости от навески. Индикация результатов анализа цифровая (в процентах углерода). Ввод значения массы навески пробы ручной или от автоматических весов. Питание - от сети переменного тока: напряжение 220 В, частота 50 Гц. Потребляемая мощность: экспресс-анализатора типа АН-7529 250 В-А; экспресс-анализатора типа АН-7560 150 В-А; устройства сжигания 3000 В-А. Расход кислорода 0,7 л/мин. Время прогрева измерительного блока 30 мин. Габаритные размеры (не более): измерительного блока 480х240х400 мм; блока газоподготовки 110х190х450 мм; датчика 300х700х300 мм; устройства сжигания 400х450х615 мм. Масса: измерительного блока 20 кг; блока газоподготовки 10 кг; датчика 20 кг; устройства сжигания 55 кг.
В комплект поставки входят: измерительный блок, датчик, блок газоподготовки, устройство сжигания, комплект запасных частей и принадлежностей, паспорт на анализатор.
Измерительный блок анализатора состоит из трех субблоков: аналогового, цифрового и выпрямительного. Датчик выполнен в виде стойки, на которой закреплены электролитическая ячейка с электродной системой рН-метра и генераторными электродами (анод и катод), привод мешалки и компенсатор "холостого счета". На датчике расположены также выключатели генераторного тока и двигателя мешалки.
Газовый тракт состоит из редуктора, устанавливаемого на кислородном баллоне (или магистрали), редуктора-фильтра, блока газоподготовки, трубки сжигания навески и трубки дожигания примесей кислорода (последняя только в АН-7560).
Устройство сжигания представляет собой трубчатую печь с регулятором температуры.
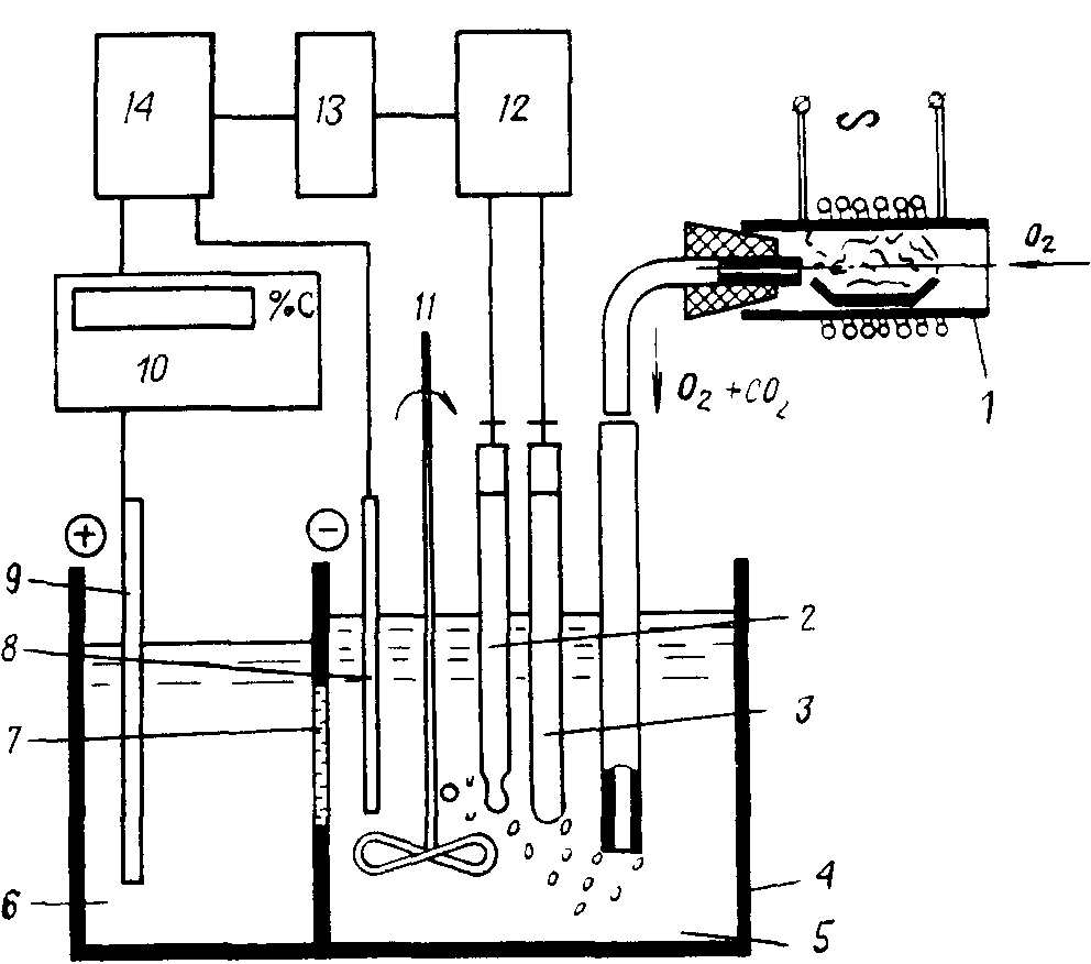
2 Работа анализаторов.

Рис.2. Элементарная схема экспресс-анализатора стали на углерод'.
1-трубчатая печь; 2-измерительный электрод, 3-вспомогательный электрод; 4-электролитическая ячейка, 5-поглотительный раствор; б-вспомогательный раствор, 7-проницаемая для тока перегородка; 8- катод, 9-анод; 10-интегратор тока (пересчетное и индикаторное устройство); 11-мешалка, 12-высокоомныи усилитель рН-метра; 13-преобразователь "U→Тц", 14-стабилизатор тока.
В анализаторах применён метод автоматического титрования по величине рН. Функциональная схема, поясняющая принцип работы анализаторов, приведена на рис.2. Навеска стали, помещённая в фарфоровую лодочку, сжигается в трубчатой печи (1) в потоке очищенного от примесей кислорода. Образовавшийся при сжигании содержавшегося в стали углерода углекислый газ уносится потоком кислорода в электролитическую ячейку (4) датчика и поглощается в ней раствором (5), вызывая его закисление.
Закисление раствора приводит к изменению э.д.с. электродной системы (2), (3) и соответствующему изменению выходного напряжения высокоомного усилителя рН-метра (12), которое затем преобразователем (13) преобразуется в импульсы напряжения с длительностью, пропорциональной значению этого напряжения. Импульсы напряжения стабилизатором тока (14) преобразуются в импульсы тока, протекающие по участку цепи: анод (9)-вспомогательный раствор (6)-токопроницаемая целлофановая перегородка (7)-поглотительный раствор (5)-катод (8), вызывают восстановление ионов водорода на катоде, нейтрализуя кислоту, образующуюся при поглощении углекислого газа. Количество электричества, потребовавшегося для нейтрализации, фиксируется пересчётным и индикаторным устройством (10), отградуированным в % массовой доли углерода.
В состав поглотительного раствора входят хлористый стронций и хлористый калий. При поглощении углекислого газа происходят следующие реакции:
СО>2>+Н>2>О=Н>2>СО>3>
Н>2>СО>3>+SrCl>2>=SrCO>3>+2HCl
HCl=H++Cl-
При протекании генераторного тока катионы водорода восстанавливаются:
2Н+2е - =Н>2>
На цинковом аноде при протекании тока образуются ионы цинка, взаимодействующие со вспомогательным электролитом, содержащим хлористый калий и ферроцианид калия:
Zn-2e-=Zn2+; 3Zn2++2Fe (CN)>6>4+→K>2>Zn>3>[ (CN)>6>]>2>
Образовавшаяся комплексная соль цинка выпадает в осадок.
3 Конструкция.
Анализатор выполнен в виде измерительного блока, датчика и газового тракта. Для работы анализатора необходимо также устройство сжигания, которое может поставляться в комплекте анализатора. Для автоматического ввода значения массы навески в комплекте может поставляться корректор массы.
3.1 Измерительный блок конструктивно выполнен в виде унифицированной конструкции АСЭТ УТК. Для доступа к монтажу передней панели, последняя выполнена откидывающейся. Фиксация панели осуществляется двумя винтами, расположенными под крышками боковых стенок блока. Радиатор крепится к тыльной части блока также винтами. Монтаж блока выполнен на печатных платах, входная высокоомная часть усилителя рН-метра выполнена в виде отдельного экранированного блока. Экран усилителя от корпуса блока изолирован.
Печатные платы установлены в разъёмах, соединяющихся друг с другом объёмным монтажом. На передней панели блока размещены:
Цифровой индикатор"%С";
Цифровой индикатор" Навеска, г";
Кнопки ручного набора массы навески;
Цифровой индикатор "Время, мин."; кнопка "Сброс";
Регулятор "Раб.точка" с лимбом;
Регулятор "Градуировка" с лимбом;
Кнопка проверки рабочей точки;
Программный переключатель установки времени анализа;
Выключатель сетевого питания и выключатель таймера.
3.2 Датчик выполнен в виде стойки, с двумя кронштейнами, на которых установлены:
Сосуд электролитической ячейки;
Электродная система рН-метра;
Мешалка;
Генераторные электроды;
Выключатели генераторного тока и двигателя мешалки;
Компенсатор холостого счёта.
3.3 Сосуд электролитической ячейки имеет два отсека, заполненные растворами и разделённые перегородкой. Правый отсек сосуда – катодный, левый – анодный. Отсеки электрически соединены с помощью токопроводящей плёнки, закрывающей отверстие между отсеками.
В качестве плёнки, проницаемой для электрического тока, применена гидратцеллюлозная плёнка (целлофан). Допускается использовать сорта целлофана, применяемые в пищевой и мясомолочной промышленности. Необходимо, чтобы применяемая плёнка впитывала воду, и при этом сохраняла достаточную механическую прочность. Важным критерием пригодности плёнки является соответствие величины тока титрования прибора номинальному значению (4А+0,2А для АН-7529 и 0,4А+0,02А для АН-7560) в течение всего срока работы плёнки (обычно плёнку меняют каждый раз при смене раствора). Плёнка крепится между двумя резиновыми накладками с помощью вкладыша, зажимаемого клиньями.
3.4 Электродная система рН-метра из стеклянного (измерительного) электрода и вспомогательного электрода.
Электродная система соединяется специальным антивибрационным кабелем со входом рН-метра, находящегося в измерительном блоке.
3.5 Мешалка, предназначенная для перемешивания поглотительного раствора, выполнена из нержавеющей стали, а её конструкция, состоящая из цилиндрической сетки с вращающимися внутри её проволочным ротором, обеспечивает эффективное поглощение углекислого газа раствором.
Мешалка приводится во вращение двигателем. Ось мешалки вращается в шарикоподшипнике, установленном на кронштейне крепления ячейки.
Вращение оси должно происходить по часовой стрелке (вид сверху), во избежание свинчивания мешалки.
На оси мешалки под крышкой ячейки установлена резиновая втулка, которая препятствует выходу брызг вместе с газом из сосуда вдоль оси наружу. При эксплуатации датчика нужно следить, чтобы эта резиновая втулка была прижата вверх с небольшим усилием, при котором зазор между резиновой втулкой и крышкой ячейки отсутствует, а трение между втулкой и платой не тормозит вращение мешалки.
3.6 Анод и катод, являющиеся генераторными электродами, конструктивно выполнены различно. В качестве анода используются сменные цинковые пластины толщиной 1÷3 мм марки ЦО или ЦР ГОСТ 3640-65. анод крепится винтом в левом отсеке сосуда электролитической ячейки.
Катод выполнен из нержавеющей стали в виде U-образной скобы с поперечными перемычками. Катод крепится к верхней крышке правого отсека сосуда ячейки симметрично относительно окна перегородки.
3.7 Тумблер "Мешалка" предназначен для включения и выключения двигателя мешалки, обеспечивающей перемешивание поглотительного раствора ячейки с целью увеличения эффективности поглощения углекислого газа, получающегося в результате сжигания проб анализируемых образцов.
Тумблер "Ток" предназначен для включения и выключения цепи тока генераторных электродов, обеспечивающего кулонометрическое титрование поглотительного раствора.
3.8 Компенсатор "Холостого счёта" предназначен для уменьшения интенсивности самопроизвольного счёта индикатора "%С" из-за наличия примесей в техническом кислороде.
Компенсатор состоит из 10 резисторов, коммутируемых переключателем "Компенсация". Компенсация обеспечивается подщелачиванием поглотительного раствора током, величина которого определяется положением переключателя "Компенсация" независимо от системы автоматического титрования.
4. Газовый тракт.

Рис.3.Газовый тракт анализатора АН-7529.
1-баллон; 2-редуктор; 3-редуктор-фильтр; блок газоподготовки (а – фильтр; б – редуктор-ограничитель; в – ротаметры; г – поглотитель); 5-дожигатель; 6-сожигательная трубка; 7-фильтр-поглотитель; 8-фильтр; 9-дроссель (капилляр); 10-сосуд ячейки; 11-склянка Дрекселя.

Рис.4.Газовый тракт анализатора АН-7560.
1-баллон; 2-редуктор; 3-редуктор-фильтр с манометром; 4-блок газоподготовки (А-фильтр, Б-редуктор-ограничитель, В-ротаметры, Г-поглотитель); 5-дожигательная трубка; 6-сожигательная трубка; 7-фильтр-поглотитель; 8-фильтр; 9-дроссель (капилляр); 10-сосуд ячейки; 11-склянка Дрекселя.
4.1 В состав газового тракта (рис.3 и 4) входят:
Редуктор кислородный;
Редуктор-фильтр с манометром;
Блок газоподготовки;
Фарфоровая трубка печи Ø 14 мм (дожигания) - только для АН=7560;
Фарфоровая трубка печи Ø 23 мм с затвором и пробкой;
Фильтр;
Фильт-поглотитель окислов серы;
Дроссель (капиллярный);
Поглотительный сосуд ячейки датчика;
Склянке Дрекселя;
Соединительные резиновые рукава и трубки.
4.2 В качестве редуктора, понижающего давление до 0,4±0,1 МПа (4±1 кгс/см2), применяется кислородный редуктор ДКП-1-65. давление на входе редуктора должно составлять не менее 0,6 МПа и не более 15,0 МПа.
Редуктор-фильтр с манометром типа РДФ-3 обеспечивает уменьшение давления кислорода до 0,04 МПа (0,4 кгс/см2) и его очистку.
4.3 Блок газоподготовки состоит из:
Фильтра;
Редуктора-ограничителя;
Ротаметров (2шт.);
Поглотителя;
Соединительных резиновых рукавов.
Схема соединения блока для анализаторов АН-7560 отличается от схемы для анализаторов АН-7529 наличия в первой линий дожигания. В этом случае очистка кислорода в поглотителе производится после дожигания, чем обеспечивается удаление примесей из технического кислорода.
Фильтр предназначен для очистки кислорода от технических примесей. Конструкция фильтра обеспечивает его лёгкую разборку для смены фильтрующего элемента.
Редуктор-ограничитель предназначен для дальнейшего понижения давления кислорода до величины примерно 0,0005 МПа (0,05 кгс/см2), обеспечивающей требуемый поток кислорода через печь-0,7 л/мин.
Ротаметры предназначены для измерения расхода кислорода в единицу времени. Ротаметры установлены на передней панели блока газоподготовки. Ротаметр 1 имеет верхний предел измерения 1 л/мин, а ротаметр 2-205 л/мин.
Поглотитель выполнен в виде цилиндра, заполненного аскаритом. Аскарит представляет собой волокнистый асбест, пропитанный едким натром. Проходя через слой аскарита кислород освобождается от углекислого газа. Очистка кислорода от углекислого газа необходима для того, чтобы не исказить результаты анализа.
Фарфоровая трубка Ø 26мм предназначена для сжигания внутри её навески стали или сплава. Трубка устанавливается в печи и фиксируется двумя пружинами, поставляемыми в комплекте анализатора.
Затвор предназначен для герметизации фарфоровой трубки, установленной в печи, после загрузки в неё лодочки с анализируемой пробой.
Затвор (рис.5) состоит из корпуса с закреплёнными на нём кронштейном (1) и штуцером (2) для ввода кислорода в печь, двух откидных крышек – герметизирующей (3) и запирающей (4), накидной гайки (5) с шайбой (6), резиновым кольцом (7). Пробка (рис.5), герметизирующая задний конец фарфоровой трубки, снабжена ребристым корпусом (10) и массивной гайкой (11), обеспечивающими хороший отвод тепла от резиновой пробки (12).
Фарфоровая трубка Ø14мм предназначена для дожигания примесей, имеющихся в техническом кислороде, которые могут повлиять на результаты анализов, производимых экспресс-анализатором АН-7560. Трубка устанавливается в нижнем отверстии печи и имеет на концах штуцеры для включения в газовый тракт.
4.4 Фильтр служит для очистки кислородно-газовой смеси, направляющей в электролитическую ячейку, от частиц пыли, образовавшихся при сгорании анализируемой пробы. Плохая очистка газового потока от пыли может привести к засорению дросселя и к загрязнению раствора в ячейке.
Фильтр (рис.6) состоит из основания (1), корпуса (2) с двумя штуцерами, крышки (3) и прокладки (4). Корпус, крышка и прокладка сжимаются винтом (5), заворачиваемым в гайку, закреплённую в основании.
4.5 Фильтр - поглотитель предназначен для очистки кислородно-газовой смеси от окислов серы. Фильтр-поглотитель представляет собой стеклянную трубку, наполненную гранулами гидроперита или другого вещества, способного активно поглощать окислы серы.

Рис.5.Затвор и пробка.
1-кронштейн; 2-штуцер; 3-крышка герметизирующая; 4-крышка запирающая; 5-гайка накидная; 6-шайба; 7,8-кольцо резиновое; 9-прокладка; 10-корпус пробки; 11-гайка; 12-пробка резиновая; 13-отводной штуцер.

Рис.6. Фильтр.
1-основание; 2-корпус; 3-крышка; 4-прокладка резиновая; 5-винт; 6-ватный тампон (заменяется 1-2 раза в неделю); 7-ватный тампон (заменяется через 50-100 анализов).
4.6 Дроссель, представляющий собой отрезок стеклянного капилляра, имеет диаметр внутреннего отверстия 0,5мм, обеспечивающий необходимый расход кислорода (0,7л/мин).
5. Указания по мерам безопасности при работе с анализатором.
5.1 К работе с анализаторами допускается обслуживающий персонал, изучивший техническое описание и инструкцию по эксплуатации анализаторов, изложенные в настоящем паспорте, а также действующие правила эксплуатации электроустановок.
5.2 Перед включением в сеть анализаторов измерительный блок, датчик и устройство сжигания должны быть заземлены медным проводом сечением 2-3мм2.
5.3 Не допускается попадание масла и других горючих веществ на элементы газового тракта анализаторов.
5.4 Корпус поглотителя в блоке газоподготовки, находящийся под давлением, должен быть защищён от случайных ударов.
5.5 Для исключения попадания частиц раствора, выносимых из датчика потоком кислорода в атмосферу лаборатории, выходной конец трубки следует размещать под вытяжкой или подключить к нему склянку Дрекселя, заполненную на 1/3 водой.
6. Настройка анализатора.
Настройка анализатора включает следующие операции, выполняемые последовательно:
Проверка и компенсация "холостого счёта";
Проверка и регулировка "рабочей точки";
Градуировка.
6.1 Проверка и компенсация "холостого счёта".
Причиной самопроизвольного счёта индикатора "%С" (холостой счёт) анализатора является, в основном, наличие примесей в техническом кислороде.
Проверку и компенсацию "холостого счета" производят перед проведением анализов, а так же по мере необходимости, когда окажется, что на каком либо этапе проведения анализов интенсивность "холостого счета" изменилась вследствие изменения качества кислорода, ухудшения поглощения и фильтрующих свойств узлов газового тракта.
"Холостой счет" за 1 минуту не должен превышать 1-3 дискретности для АН-7529 и 1-2 дискретности для АН-7560 при следующих условиях:
Измерительный блок прогрет в течение 30 минут;
Температура в печи 1250 -1400°С;
Затвор печи закрыт, утечки в газовом тракте отсутствуют;
Расход кислорода 0,012 дм3/с (0,7л/мин);
Лодочки в печи отсутствуют;
Тумблеры "ток" и "мешалка" на датчике включены;
На индикаторе "навеска, г" установлено значение 0,500.
При установке на индикаторе "навеска, г" значений 0,250 или 1,000 указанные нормы соответственно увеличиваются или уменьшаются в 2 раза.
Для уменьшения "холостого счета" в электрическую схему анализаторов введен компенсатор "холостого счета", а в газовом тракте анализатора АН-7560, кроме того, предусмотрена трубка дожигания.
Проверку и компенсацию "холостого счета" производят при указанных выше условиях в следующем порядке:
Устанавливают на индикаторе "навеска, г" значение 0,500;
Устанавливают переключатель компенсатора "холостого сета" на 0;
С помощью секундомера "холостой счет" за 1 минуту не должен превышать 1-3 дискретности для АН-7529 и 1-2 дискретности для АН-7560.
При компенсации "холостого счета" не допустима полная компенсация (до 0 уровня) и, тем более, перекомпенсация "холостого счета", так как при этом может происходить некоторое занижение результатов анализа.
При работе анализаторов от кислородных баллонов компенсации "холостого счета" производят каждый раз при установке нового баллона. Причиной увеличения "холостого счета" может так же быть снижение поглотительными свойствами аскорита и гидроперита от длительной эксплуатации. В этом случае следует заменить аскорит или гидропирит в поглотителях.
6.2 Проверка и установка рабочей точки.
При кулонометрическом титровании по величине рН удельный расход количества электричества ∆Q/∆рН определяется выбором рабочей точки. Поскольку характеристика титрования ∆Q=ƒ (рН) нелинейная, то каждому значению рН поглотительного раствора соответствует своё вполне определённое значение удельного расхода. В анализаторах рабочая точка выбирается из оптимальных условий, обеспечивающих достаточно малую продолжительность анализа и исключающих перетитровывание.
Номинальные исходные значения рН поглотительных растворов:
-для АН-7529-10,5 рН; -для АН-7560-10,2 рН,
которые обеспечиваются установкой соответствующей величины напряжения компенсации (регулировка "Раб.точка") и последующей автоматической отработки системы титрования.
Проверку рабочей точки анализаторов проводят 1-2 раза в смену. Предварительно должно быть проведено определение и компенсация "холостого счета".
Регулировку производят после 30 минутного прогревания анализатора в следующем порядке:
Проверяют отсутствие в печи лодочки и закрывают затвор в печи;
Проверяют расход кислорода (0,7 л/мин);
Включают тумблеры "Ток" и "Мешалка" на датчике, а также устанавливают лимб потенциометра "Раб.точка" примерно на деление "+40", при этом указатель индикатора "Выход рН-метра" отклоняется в право. После отработки системы автоматического титрования (указатель индикатора устанавливается на нуль) производят сброс показаний индикатора "%С" нажатием кнопки "Сброс" и устанавливают на индикаторе "Навеска, г" значение 0,500;
Нажимают, (не отпуская!) кнопку "Проверка". При этом указатель индикатора "Выход рН-метра" отклоняется вправо от нулевого (среднего) положения и включится система автоматического кулонометрического титрования. Между генераторными электродами датчика начнёт протекать ток.
Когда стрелка индикатора вернётся в исходное положение, отсчитывают показания индикатора "%С", которое при правильной регулировке чувствительности должно составлять 80-100 дискретностей (для АН-7529-0,080-0,100% С и для АН-7560-0,0080-0,0100% С)
Если показания индикатора "%С" будет выше указанного, то отпускают кнопку "Проверка" и ось потенциометра "Раб.точка" поворачивают примерно на 5 делений лимба в сторону нуля (против часовой стрелки). При этом указатель индикатора "Выход рН-метра" отклонится влево от исходного положения. Поддувают изо рта немного воздуха в поглотительный раствор с тем, чтобы указатель индикатора "Выход рН-метра" перешёл вправо от нуля. После отработки системы автоматического титрования он снова возвратится в исходное положение уже при новом значении рН поглотительного раствора.
После этого проверку регулировки повторяют. Ещё несколько раз поворачивают ось потенциометра каждый раз на 5 делений в ту же сторону и аналогично повторяют проверку.
В случае, если показания индикатора "%С" окажутся ниже, то ось потенциометра "Раб. точка" немного (на 1-3 деления лимба) поворачивают по часовой стрелке. При этом указатель индикатора "Выход рН-метра" отклонится вправо от исходного положения. После отработки системы автоматического титрования указатель индикатора установится в исходное положение, после чего производят проверку установки рабочей точки.
Обычно трёх-четырёх указанных выше операций оказывается достаточно для установки необходимого значения рН поглотительного раствора. После окончания регулировки проверяют, не изменилась ли интенсивность "холостого счета".
6.3 Градуировка анализатора.
Градуировку анализатора проводят для того, чтобы показания индикатора "%С" соответствовали процентному содержанию углерода в анализируемой пробе. Градуировку анализаторов осуществляют путём проведения нескольких анализов стандартного образца (СО), как правило, близкого по химическому составу к стали, образцы которой предстоит анализировать. Анализы проводят по методике настоящего паспорта.
Обычно градуировку производят один раз в смену, а также перед проведением ответственных анализов. В правильно отградуированном приборе показания индикатора "%С" по окончании анализа должны соответствовать суммарному содержанию углерода в СО и в лодочке с плавнем ("холостой пробе"). Если такого соответствия нет, то производят корректировку градуировки анализатора с помощью переменного резистора "Градуировка".
Для увеличения показаний ось потенциометра "Градуировка" поворачивают по часовой стрелке, а для уменьшения показаний – против часовой стрелки и затем повторяют анализ образца. Как правило, 2-3 анализов СО и подстроек оказывается достаточно для градуировки прибора.
7.Порядок работы с анализаторами.
7.1. Общие указания.
7.1.1. При отключении подачи кислорода обязательно открывайте затвор печи во избежание засасывания в газовый тракт поглотительного раствора из сосуда датчика.
7.1.2. На анализаторах АН-7529 и АН-7560 не производите анализов материалов, содержащих фтор и его соединения, которые попадая в поглотительный раствор, могут вывести из строя стеклянную мембрану измерительного электрода.
7.1.3. Для получения возможно большей точности анализа следует руководствоваться следующим:
После заливки свежих растворов в ячейку датчика или установки новых фарфоровых труб в печи, а также после замены других элементов газового тракта для насыщения тракта углекислым газом и стабилизации свойств поглотительного раствора необходимо включить тумблеры "Ток" и "Мешалка" на датчике и произвести сжигание нескольких проб углеродистой стали;
При проведении анализов не допускается истощение рабочих растворов ячейки. Перед проведением анализов для определения сходимости показаний анализаторов рекомендуется в ячейку заливать свежие растворы;
При обращениями с лодочками применять пинцет. Лодочки за несколько часов до анализа прокалить в потоке кислорода при рабочей температуре.
Массу навесок определять на аналитических весах с погрешностью взвешивания, не превышающей 0,2мг, или использовать корректор массы;
Для определения "холостой пробы" навеска плавня должна иметь тот же состав и примерно ту же массу, как и при последующих анализах проб, причём на индикаторе "Навеска, г" следует установить не значение плавня, а среднее значение навески анализируемого впоследствии образца.
Вдвигание лодочек в трубку печи и их извлечение производить крючком из толстой медной (не латунной) или малоуглеродистой стальной проволоки;
Анализы проводить после установления постоянной температуры растворов в ячейке;
При проведении анализа следить по ротаметру 1за постоянством расхода кислорода;
В конце каждого анализа контролировать стабильность "холостого счета";
При определении содержании углерода в образце из показаний индикатора "%С" необходимо вычитать значение "холостой пробы", измеренное за такое же время, как и продолжительность анализа;
Анализы (в особенности одинаковых анализов) следует проводить при одних и тех же условиях.
7.2 Проведение анализов.
7.2.1 Анализы на углерод проводят после полной подготовки анализатора к работе.
7.2.2 Анализы проводят в условиях, предусмотренных действующими ГОСТам или инструкциями на кулонометрический метод определения углерода для отдельных групп сталей и сплавов. При отсутствии указанных нормативных документов анализы на углерод проводят при следующих номинальных условиях:
Температура в рабочей зоне трубки печи 1250-1350°С;
Время прогрева измерительного блока – не менее 30 минут;
Навеска пробы 0,450-0,550г, для больших массовых долей навеску уменьшают и наоборот;
Плавень – окись меди 0,500±0,100г;
Расход кислорода 0,7±0,1л/мин.
7.2.3 Порядок проведения анализов.
Анализы проводят в следующем порядке:
Сжигают "холостые пробы" определяют средний результат;
Сжигают несколько проб СО с известным содержанием углерода;
После проведения сжигания всех навесок определяют результаты анализа. Для этого из образца с плавнем вычитают показания "холостой пробы".
8. Техническое обслуживание анализаторов.
Постоянная исправность и готовность анализаторов, а также точность результатов анализов обеспечивается систематическим проведением профилактических работ, выполняемых обслуживающим персоналом.
Таблица 1. Профилактические работы.
|
Наименование работ |
Периодичность выполнения |
|
Промывка стеклянного шарика измерительного электрода в 1% растворе HCl |
В начале смены |
|
Проверка отработки системы автоматического титрования |
В начале смены, по мере надобности |
|
Проверка рабочей точки анализатора |
В начале и в течение смены |
|
Градуировка анализатора по СО |
В начале смены, по мере надобности |
|
Проверка сходимости по СО |
По мере надобности |
|
Контроль по ротаметру 1 за расходом кислорода при закрытом затворе печи |
В течение смены |
|
Контроль величины титрующего тока при сжигании проб (по индикатору "Ток датчика") |
В течение смены |
|
Продувка от пыли газового тракта от устройства сжигания до фильтра |
В течение смены, по мере надобности, через каждые сутки |
|
Замена ватных тампонов в фильтре |
В начале смены, по мере надобности, в течение смены |
|
Контроль за чистотой внешней поверхности сосуда датчика |
В течение смены, по мере надобности |
|
Смена рабочих растворов и промывка водой сосуда датчика |
По мере надобности, 1 раз в 3 дня |
|
Прочистка газоподводящей трубки сосуда датчика |
В течение смены, по мере надобности |
|
Замена целлофановой перегородки в сосуде датчика |
При смене растворов 1 раз в 3 дня |
|
Замена цинкового анода |
По мере надобности |
|
Промывка сетки мешалки |
По мере надобности |
|
Смазка подшипников двигателя мешалки и оси мешалки смазкой ОКБ 122-7 |
По мере надобности, каждый месяц |
|
Промывка катода 1% HCl |
По мере надобности, каждую неделю |
|
Профилактика |
1 раз в месяц |
Состав растворов для каждого анализатора.
Поглотительный раствор АН 7560: стронций хлористый- 50гр; калий хлористый-50гр; вода до 1 литра. Вспомогательный раствор: ферроцианид калия- 50гр; хлористый калий -50гр; бура-2гр; вода до 1 литра.
Поглотительный раствор АН-7529: стронций хлористый-100гр; калий хлористый-100гр; борная кислота-2гр; вода до 1 литра. Вспомогательный раствор: ферроцианид калия-100гр; хлористый калий-100гр; борная кислота-2гр; вода до 1 литра.
II Экспресс-анализатор АС-7932.
2. Описание.
Экспресс-анализатор на серу АС-7932 предназначен для определения массовой доли серы в сталях, чугунах, а также в сплавах и других материалах при наличии методик на кулонометрический метод анализа. Применяется как для маркировочных, так и для экспресс-анализов на серу продукции и сырья металлургических и металлообрабатывающих предприятий, а также для проведения других анализов на серу в лабораториях предприятий и научно-исследовательских учреждений различных отраслей народного хозяйства.
Анализатор рассчитан на непрерывную круглосуточную эксплуатацию при температуре окружающего воздуха от 10 до 35С и относительной влажности до 80 и соответствует требованиям, предъявляемым приборам группы 2 ГОСТ 22261-82.

Рис.7. Экспресс-анализатор на серу АС-7932.
Диапазон измеряемых массовых долей серы от 0,001 до 0,2% S. Сходимость показаний (среднее квадратичное отклонение случайной составляющей основной относительной погрешности) не более:
2%- для массовой доли 0,2% S;
2,7%-для массовой доли 0,1% S;
7,4%-для массовой доли 0,01% S;
20%-для массовой доли 0,001% S.
Масса навески до 2 г. Ввод данных о массе навески ручной или автоматический (при наличии коллектора массы). Продолжительность анализа легко сжигаемых образцов стали 1-2 мин. Установка времени таймера для автоматической остановки до 9,9 мин. Расход кислорода 2,7-3,7 л/мин.
Питание от сети переменного однофазного тока: напряжение 220 В, частота 50 или 60 Гц. Потребляемая мощность 150 В-А (без устройства сжигания). Мощность, потребляемая устройством сжигания, 3 кВ-А. Габаритные размеры: измерительного блока 500х220х415 мм; датчика 250х500х300 мм; блока газоподготовки 150х200х450 мм; устройства сжигания 420х450х630 мм. Масса соответственно: 20; 5; 6; 60кг.
2.1. Принцип действия анализатора.
В анализаторе применён метод автоматического кулонометрического титрования по величине рН. Пробу металла 1 виде стружки или порошка сжигают с добавлением плавня (пятиокиси ванадия) в фарфоровой лодочке 2 в рабочей зоне печи 4 устройства сжигания при температуре 1350С в потоке очищенного от влаги кислорода. Образовавшиеся при сжигании серы, содержащейся в пробе, газообразные окислы, отводятся из печи через газоотборник. Благодаря наличию водоохлаждённого газоотборника происходит стабилизация соотношения SO>2> и SO>3> в газовой смеси, в результате чего сера окисляется преимущественно до сернистого газа (SO>2>). После очистки от пылевидных окислов в фильтре предварительной очистки 9 газовая смесь поступает через газоподводящую трубку 10 в поглотительный раствор 11, залитый в сосуд 12. при барботаже газовой смеси в поглотительном растворе происходит поглощение сернистого газа этим раствором, сопровождающееся закислением (уменьшением величины рН) последнего.
Происходящее при этом изменение э.д.с. индикаторной электродной системы, состоящей из измерительного 14 и вспомогательного 15 электродов, преобразуется рН-метром 13 в сигнал, управляющий импульсным преобразователем, который включает стабилизированный источник тока 16.
При протекании генераторного тока на катоде происходит разряд ионов водорода, концентрация этих ионов в растворе понижается (рН раствора повышается). Протекание генераторного тока происходит до того момента, когда рН поглотительного раствора станет равной исходной (рН3,3). Количество электричества, затраченное на титрование всего образовавшегося при сжигании сернистого газа, является, таким образом, мерой массовой доли серы в образце. Количество электричества измеряется интегратором тока 17. величина, пропорциональная этому количеству, индицируется на цифровом табло 18 измерительного блока. Коэффициент пересчёта в зависимости от массы навески, установленной вручную или автоматически от корректора массы, вводится с помощью делителя частоты, входящего в состав измерительного блока.
При поглощении сернистого газа поглотительным раствором, в состав которого входят перекись водорода и хлористый барий, происходят следующие реакции:
SO>2>+H>2>OH>2>SO>3>
H>2>SO>3>+H>2>O>2>H>2>SO>4>+H>2>O
H>2>SO>4>+BaCl>2>BaSO>4>+2HCl
Образовавшаяся молекула HCl диссоциирует на ионы:
2HCl2H++2Cl-
При этом на катоде происходит выделение газообразного водорода:
2Н++2еН>2>
на аноде:
2Cl—2eCl>2>
Образующийся хлор реагирует с перекисью водорода:
Cl>2>+H>2>O>2>2HCl+O>2>
2HCl2H++2Cl-
Анализатор выполнен в виде измерительного блока, датчика и газового тракта. Для работы анализатора необходимо также устройство сжигания, которое поставляется в комплекте анализатора.
2.1.1 Измерительный блок конструктивно выполнен в виде унифицированной конструкции АСЭТ УТК, на передней панели которого расположены три цифровых табло результата анализа, значения навески и таймера, а также кнопки установки навески и переключатель установки времени анализа. Цифровые табло выполнены на светодиодах. На передней панели расположены также органы настройки и регулировки, обеспечивающие установку рабочей точки титрования и калибровку по стандартным образцам. На тыльной части блока расположены разъемы для подключения датчика, электродной системы и корректора массы (автоматических весов). Для доступа к монтажу передней панели последняя выполнена откидывающейся. Фиксация панели осуществляется двумя винтами, расположенными под крышками боковых стенок блока. Радиатор также крепится винтами к тыльной части блока. Монтаж блока выполнен на печатных платах, входная высокоомная часть усилителя рН-метра выполнена в виде отдельного экранированного блока.

Рис.8. Функциональная схема анализатора.
2.1.2 Датчик состоит из стойки с основанием. К стойке крепится горизонтальная плита, к которой с помощью винтов прикреплён катодный отсек (поглотительный сосуд). Уплотнение сосуда на плите осуществляется резиновым кольцом. В тыльной части отсека установлен наклонно катод, вывод которого выполнен в виде штыря. В нижней части отсека размещено кольцо, внутри которого установлена керамическая перегородка, проницаемая для электрического тока.
Анодный отсек (сосуд со вспомогательным раствором) выполнен в виде цилиндра и устанавливается в отверстие плиты. В нижней части анодного отсека установлено кольцо и керамическая перегородка, аналогичные катодному отсеку.
Подвод тока к анодному отсеку осуществляется прижимным контактом. Под катодным и анодным отсеками устанавливается промежуточный сосуд, через наполненную полость которого образуется электролитическая цепь между анодным и катодным отсеками. Фиксация промежуточного сосуда осуществляется поворотным прижимным рычагом.
На стойке датчика крепится фильтр тонкой очистки с капилляром-дросселем, также установлены тумблер "Ток" для подключения тока, переключатель "Компенсация" холостого счёта и кнопка быстрого подкисления поглотительного раствора.

Рис.9. Датчик.
1-кнопка подкисления; 2-переключатель "холостого счёта"; 3-тумблер включения тока титрования; 4-электродная система; 5-винт; 6-анодный отсек; 7-прижимной контакт анода; 8-катодный отсек; 9-штеккер катода; 10-промежуточный сосуд; 11-прижимной рычаг.
2.1.3. Электродная система датчика обеспечивает измерение рН поглотительного раствора и состоит из измерительного и вспомогательного электродов. Измерительный электрод имеет на нижнем конце шарик из специального стекла, вспомогательный – электролитический ключ (резиновая пробка с фитилем). Специальным кабелем электроды соединяются с разъёмом Вход измерительного блока.
Внутреннее заполнение измерительного электрода выбрано с учётом компенсации температурного изменения э.д.с. в пределах рабочих температур. Измерительный и вспомогательный электроды фиксируются в корпусе электродной системы с помощью втулки и цоколя. Электродная система устанавливается на плите и крепится двумя винтами. При этом оба электрода оказываются погруженными в поглотительный раствор.
Р
ис.10.
Электродная система.
1-электрод вспомогательный; 2-электрод измерительный; 3,4-кольца; 5-цоколь; 6-контактная пружина; 7-контактные винты; 8-экран; 9-разъём коаксиального кабеля; 10-винт стопорный; 11-винт; 12-металлический фланец; 13-фланец; 14-гайка.
2.1.4. Газовый тракт анализатора включает в себя редуктор фильтр РДФ-3, подключаемый непосредственно к редуктору ДКП-1-65 через медную трубку или резиновый рукав, блок газоподготовки, затвор, трубка для сжигания пробы, газоотборное устройство, фильтр тонкой очистки.
В блоке газоподготовки расположены:
Редуктор-ограничитель, обеспечивающий снижение давления кислорода с 0,04 МПа до 0,01МПа (с 0,4 до 0,1 кгс/см2) и ограничение максимального расхода на уровне 2,5-3,0 л/мин;
Ротаметр, предназначенный для контроля расхода основного потока кислорода, установлен на передней панели блока газоподготовки;
Фильтр-поглотитель влаги, заполнен ангидроном. Поток кислорода направлен сверху вниз.
2.1.5 Газоотборник.
В его состав входят устройство фиксации трубы сжигания и водоохлаждаемая фурма, которая обеспечивает резкое охлаждение газообразных продуктов горения, что приводит к стабилизации соотношения SO>2> и SO>3>. тем самым исключает ошибки измерения.
Кроме того, в газоотборнике установлен фильтр грубой очистки, заполненный кварцем. Применение ваты в этом фильтре недопустимо из-за возможности её возгорания и заметного поглощения сернистого газа при повышенных температурах.

Рис.11. Газоотборник.
1-фильтр; 2-зажимное устройство; 3-труба сжигания; 4-водоохлаждаемая фурма.
2.1.6. Фарфоровая трубка 26мм предназначена для сжигания внутри её навески стали или сплава. Трубка устанавливается в печи и фиксируется в газоотборнике.
Затвор предназначен для герметизации фарфоровой трубки. Он состоит из корпуса с закреплёнными на нём кронштейном и штуцером для входа кислорода в печь, двух откидных крышек – герметизирующей и запирающей, накидной гайки с шайбой, резиновым кольцом.
2.1.7. Узел фильтра тонкой очистки конструктивно расположен на стойке датчика и выполняет следующие функции:
Окончательную очистку продуктов сжигания от пыли. В качестве фильтрующего элемента применён ватный тампон;
Нормирование расхода кислорода с помощью дросселя;
Объединение основного потока кислорода и потока поддува перед подачей их в поглотительный сосуд.
3. Проверка и корректировка режимов работы анализатора.
3.1. Установка рабочей точки.
3.1.1 Система автоматического титрования поддерживает заданную кислотность поглотительного раствора. Изменение заданной кислотности осуществляется регулировкой Раб. точка. Оптимальная кислотность-3,3 рН.
При кислотности раствора меньше 3,0 рН возможны инструментальные ошибки, кроме того, может иметь место неполное поглощение SO>2> и, как следствие, занижение результатов анализа.
При кислотности больше 3,5 рН начинает сказываться поглощение СО>2>, в результате которого в растворе образуются дополнительные ионы водорода:
СО>2>+Н>2>ОН>2>СО>3>
Н>2>СО>3>Н++НСО>3>-
Восстановление этих ионов на катоде обуславливает затрату дополнительного количества электричества в процессе титрования, что, в свою очередь, приводит к появлению ошибок измерения. Особенно заметно влияет СО>2> при анализе чугунов и высокоуглеродистых сталей.
3.1.2 Проверка правильности задания рабочей точки титрования:
убедиться, что стрелка индикатора Выход рН-метра находится на середине шкалы - система титрования находится в исходном состоянии; при наличии корректора массы отключить его от анализатора;
нажать кнопку Сброс;
установить навеску 0500;
нажать кнопку Проверка и держать её нажатой до тех пор, пока не закончится процесс титрования;
по окончании процесса титрования считать показания цифрового индикатора %S. Показания должны быть от 0,0090 до 0,0140 единиц.
если показания индикатора больше указанных выше, то необходимо изменить чувствительность, повернув вал потенциометра Раб. точка на небольшой угол в сторону отрицательных значений лимба; затем система титрования автоматически приведёт рН раствора к новому заданию;
если показания индикатора меньше указанных выше, то необходимо изменить чувствительность, повернув вал потенциометра Раб. точка на небольшой угол в сторону увеличения положительных значений, затем подкислить раствор, нажав кнопку подкисления на датчике настолько, чтобы стрелка индикатора Выход рН-метра сместилась правее середины шкалы; после этого система титрования автоматически приведёт рН раствора к новому заданию;
провести проверку правильности нового задания рабочей точки титрования.
3.2. Регулировка холостого счёта анализатора.
3.2.1. Холостой счёт анализатора представляет собой показание прибора, получаемое за время анализа при отсутствии лодочки с навеской в печи и, характеризует состояние измерительной системы анализатора.
Причинами холостого счёта могут быть:
поступление из газового тракта с кислородом следов SO>2>, обусловленных предшествующими анализами;
поступление в поглотительный раствор кислоты или щёлочи, накопленных ранее в пористой керамической перегородке;
электрические процессы в измерительной цепи.
3.2.2. Холостой счёт должен определятся за то же время, которое требуется для анализа материала. Порядок определения холостого счёта:
поставить переключатель Компенсация холостого счётана стойке датчика в положение0;
нажать кнопку Авт. таймера;
установить на задатчике таймера необходимое время;
убедиться, что система титрования находится в исходном состоянии – стрелка индикатора Выход рН-метра - в нулевом положении;
установить значение навески 0500;
нажать кнопку Сброс;
после остановки счёта снять показания цифрового индикатора %S.
Оптимальным является Холостой счёт порядка 1-2 единицы за 1,5мин, 2-3 единицы за 3мин и 3-4 единицы за 5мин.
3.2.3. Отсутствие холостого счёта может вызвать ошибки измерения за счёт защелачивания (стрелка индикатора Выход рН-метра находится левее нулевой отметки).
Большой холостой счёт может привести к ухудшению сходимости результатов измерений, а также к погрешностям градуировки, в особенности при определении малых массовых долей серы.
Для увеличения холостого счёта переключатель Компенсацияна стойке датчика нужно перевести в одно из положений, обозначенных знаком +. Для уменьшения холостого счёта переключатель нужно перевести в одно из положений, обозначенных знаком +.
3.3. Градуировка анализатора.
3.3.1. Градуировку анализатора производят для того, чтобы его показания соответствовали действительной процентной массовой доле серы в анализируемой пробе.
3.3.2. Градуировку осуществляют путём проведения нескольких анализов государственного стандартного образца (ГСО), как правило, близко по химическому составу к металлу, пробу которого предстоит анализировать.
3.3.3. В правильно отградуированном приборе показания индикатора %S по оканчании анализа должны соответствовать суммарному содержанию серы в стандартном образце и в лодочке с плавнем. Если такого соответствия нет, то производят корректировку с помощью потенциометра Градуировка.
Для увеличения показаний вал потенциометра Градуировка поворачивают по часовой стрелке, а для уменьшения показаний – против часовой стрелки и затем повторяют анализ образца. Как правило, 2-3 анализов стандартного образца и подстроек оказывается достаточно для градуировки прибора.
3.3.4. Обычно градуировку производят один раз в смену, а также перед проведением ответственных анализов. Правильность проведённой градуировки и стабильность результатов измерений проверяют тремя или более анализами с последующим определение сходимости показаний.
4. Техническое обслуживание анализатора.
4.1. В течение смены.
4.1.1. Анализатор позволяет выполнить в течение смены до 150 анализов.
Интенсивная работа анализатора соответствует стабилизации параметров и позволяет получать наилучшие результаты измерений.
Длительные перерывы в работе и неравномерная загрузка анализами в течение смены требуют дополнительных проверок и создают условия для появления ошибок.
4.1.2. В начале смены:
Сменить трубку сжигания в печи;
Прочистить металлическим стержнем фурму и продуть её, удалив осевшие в ней окислы металлов;
Извлечь узел ввода газа из конусного отверстия на плате датчика; с помощью воронки через указанное отверстие долить поглотительный раствор в катодный отсек до верхней метки и вновь установить узел ввода газа на место;
Долить вспомогательный раствор в анодный отсек до метки;
Проверить правильность установленного расхода кислорода;
Проверить рабочую точку титрования;
Произвести сжигание 2-3 произвольных навесок стандартного образца с содержанием серы 0,03-0,05.
Проверить холостой счёт анализатора;
Выполнить контрольный опыт;
Проверить правильность градуировки, выполнив 1-2 анализа стандартных образцов стали; при необходимости отградуировать прибор.
4.1.3. По мере уменьшения объема поглотительного раствора в катодном отсеке, происходящего вследствие интенсивного барботирования, а также перетекания раствора через пористую керамическую перегородку в промежуточный сосуд (когда уровень раствора в катодном отсеке приблизится к нижней метке), долить раствор.
4.2. Один раз в сутки.
Промыть и очистить катодный отсек от образовавшегося сернокислого бария;
Заменить растворы во всех отсеках датчика;
Протереть стеклянный шарик измерительного электрода датчика ватой, смоченной 0,1N раствором соляной кислоты;
Проверить сходимость показаний, выполнив 3-5 измерений со стандартными образцами стали.
4.3. Один раз в месяц.
Произвести отмывку катодного и анодного отсеков 10-20-ным раствором соляной кислоты;
В случае снижения расхода охлаждающей воды через систему охлаждения и фурму промыть систему 40-50-ным раствором уксусной кислоты для удаления из неё накипи и осадков;
Сменить засыпку (ангидрон) в фильтре блока газоподготовки;
Сменить кварцевую засыпку в фильтре газоотборника. Загрязнённую засыпку фильтра восстановить, промыв её в серной кислоте, тщательно отмыв проточной и затем дистиллированной водой и, наконец, высушив.
III. Кулонометрический анализ.
Кулонометрический анализ основывается на измерении количества электричества, затраченного на количественное осуществления донного электрохимического процесса в данной пробе.
Определение количества прошедшего через испытуемый раствор электричества и называется кулонометрией.
Кулонометрические определения проводятся в условиях, исключающих возможность протекания побочных процессов, чтобы выход по току применительно к осуществляемому электрохимическому составлял 100.
Кулонометрический метод может быть применён для определения не только металлов, но и целого ряда других сложных веществ при их количественном электровосстановлении на катоде или электроокислении на аноде.
Осадка на электроде при этом не получается, полученный продукт остаётся в электролите, и содержание исходного вещества в пробе, как указывалось, оценивается по количеству затраченного на его получение электричества. Это количество электричества определяется при помощи кулонометра.
Кулонометр представляет собой электролизер, включаемый в цепь последовательно с ячейкой для электролиза. Для кулонометра подбирают электрохимический процесс, протекающий со стопроцентным выходом по току и сопровождающийся выделением определённого вещества, количество которого можно легко и точно установить тем или иным способом.
Через оба последовательно соединённых электролизера – электроаналитическую ячейку и кулонометр – пройдёт, естественно, одно и то же количество электричества.
Очень интересен метод, получивший название кулонометрического титрования. От титрования в обычном понимании этого слова этот метод отличается тем, что здесь производится электролитическое генерирование титранта, причём в подавляющем большинстве случаев непосредственно в том же растворе, в котором находится и определяемое вещество. Электрогенерированный реагент вступает во взаимодействие с определяемым веществом и появление малейшего избытка его, свидетельствующего о конце титрования, мгновенно фиксируется специально предусмотренной для этого индикаторной системой. Необходимо, чтобы титрующее вещество реагировало с определяемым быстро и количественно, не взаимодействуя ни с каким другим из имеющихся в данной пробе.
Не говоря о многих прочих преимуществах этого метода, отсутствие необходимости приготовления стандартных растворов, сокращение количества употребляемых реактивов и посуды, универсальность применения однажды собранной установки очень облегчают аналитическую практику.
Так как реагент является здесь продуктом электролиза, то количество его, пошедшее на титрование определяемого вещества, а следовательно, и количество последнего, может быть определено по количеству затраченного за время титрования, вплоть до сигнала о завершении его, электричества. Необходимо, чтобы всё затраченное в процессе титрования электричество расходовалось исключительно на генерирование титранта. Возможность одновременного протекания каких-либо побочных процессов должна быть совершенно исключена. Генерирование титранта должно происходить, таким образом, при 100-ном выходе по току.
Генерирование титранта производят при контролируемом значении генераторного тока. Поддержание этого тока постоянным (это возможно при достаточном содержании в растворе вещества, продуктом электрохимического разложения которого является титрант) соответствует введению в раствор во времени определённых порций реагента, как это имеет место при обычном титровании.
Метод кулонометрического титрования часто называют кулонометрией при постоянной силе тока и относятся к числу косвенных кулонометрических определений, так как здесь в электрохимическом процессе участвует не само определяемое вещество, а некоторый промежуточный продукт, химически реагирующий затем с этим веществом.
В кулонометрическом титровании применяются различные способы определения эквивалентной точки. Могут быть применены и те же, что и в обычном титровании (например, цветные индикаторы). Однако высокая чувствительность и точность этих методов обусловливает применение и более чувствительных способов индикации, обеспечиваемых инструментальными методами анализа: амперометрией, потенциометрией, спектрофотомерией, фотоэлектроколориметрией.
Кривая кулонометрического титрования может быть вычерчена в координатах: сила тока в индикаторной цепи (по оси ординат) – время (по оси абсцисс). Ясно, что при постоянной силе тока в генераторной цепи время прямо пропорционально количеству добавляемого к титруемой пробе реагента. Эта величина обычно откладывается по оси абсцисс при объёмно-аналитических определениях. Форма кривой титрования будет зависеть от того, какая из окислительно-восстановительных пар – определяемая (кривая а) или генерируемая (кривая б), в качестве титранта – или обе они (кривая в) являются электрохимически обратимыми.
Для потенциометрической индикации конечной точки титрования применяется обычная в потенциометрии электродная пара, состоящая из платинового индикаторного и каломельного электрода сравнения.
При фотометрическом определении конца титрования производится слежение за изменением величины оптической плотности пробы. В этом случае отпадает необходимость в применении индикаторных электродов. Для измерения оптической плотности титруемого раствора пользуются фотоэлектроколориметрами или спектрофотометрами, в соответствующем отделении которых устанавливают кулонометрическую ячейку.
Кулонометрическим путём можно осуществлять бромометрическое, йодометрическое, пермаганатометрическое, титанометрическое, хромометрическое и другие виды титрований.
Подобно другим методам физико-химического анализа, кулонометрия применяется не только в аналитической химии, но и вообще в различных физико-химических исследованиях. Кинетика и механизм реакций, каталитические процессы, комплексообразование, химическое равновесие и т.д. являются теми областями, в которых применение кулонометрии оказывается весьма плодотворным.
Не говоря о многих прочих преимуществах этого метода, отсутствие необходимости приготовления стандартных растворов, сокращение количества употребляемых реактивов и посуды, универсальность применения однажды собранной установки очень облегчают аналитическую практику.
Так как реагент является здесь продуктом электролиза, то количество его, пошедшее на титрование определяемого вещества, а следовательно, и количество последнего, может быть определено по количеству затраченного за время титрования, вплоть до сигнала о завершении его, электричества. Необходимо, чтобы всё затраченное в процессе титрования электричество расходовалось исключительно на генерирование титранта. Возможность одновременного протекания каких-либо побочных процессов должна быть совершенно исключена. Генерирование титранта должно происходить, таким образом, при 100-ном выходе по току.
Генерирование титранта производят при контролируемом значении генераторного тока. Поддержание этого тока постоянным (это возможно при достаточном содержании в растворе вещества, продуктом электрохимического разложения которого является титрант) соответствует введению в раствор во времени определённых порций реагента, как это имеет место при обычном титровании.
Метод кулонометрического титрования часто называют кулонометрией при постоянной силе тока и относятся к числу косвенных кулонометрических определений, так как здесь в электрохимическом процессе участвует не само определяемое вещество, а некоторый промежуточный продукт, химически реагирующий затем с этим веществом.
В кулонометрическом титровании применяются различные способы определения эквивалентной точки. Могут быть применены и те же, что и в обычном титровании (например, цветные индикаторы). Однако высокая чувствительность и точность этих методов обусловливает применение и более чувствительных способов индикции, обеспечиваемых инструментальными методами анализа: амперометрией, потенциометрией, спектрофотометрией, фотоэлектроколориметрией.
Кривая кулонометрического титрования может быть вычерчена в координатах: сила тока в индикаторной цепи (по оси ординат) – время (по оси абсцисс). Ясно, что при постоянной силе тока в генераторной цепи время прямо пропорционально количеству добавляемого к титруемой пробе реагента. Эта величина обычно откладывается по оси абсцисс при объёмно-аналитических определениях. Форма кривой титрования будет зависеть от того, какая из окислительно-восстановительных пар – определяемая (кривая а) или генерируемая (кривая б), в качестве титранта – или обе они (кривая в) являются электрохимически обратимыми (рис.12).
Для потенциометрической индикации конечной точки титрования применяется обычная в потенциометрии электродная пара, состоящая из платинового индикаторного и каломельного электрода сравнения.
При фотометрическом определении конца титрования производится слежение за изменением величины оптической плотности пробы. В этом случае отпадает необходимость в применении индикаторных электродов. Для измерения оптической плотности титруемого раствора пользуются фотоэлектроколориметрами или спектрофотометрами, в соответствующем отделении которых устанавливают кулонометрическую ячейку.
Кулонометрическим путём можно осуществлять бромометрическое, йодометрическое, пермаганатометрическое, титанометрическое, хромометрическое и другие виды титрований.
Подобно другим методам физико-химического анализа, кулонометрия применяется не только в аналитической химии, но и вообще в различных физико-химических исследованиях. Кинетика и механизм реакций, каталитические процессы, комплексообразование, химическое равновесие и т.д. являются теми областями, в которых применение кулонометрии оказывается весьма плодотворным.














время время время
а) б) в)
Рис.12. Кривые кулонометрического титрования.
IV. Определение углерода в сырье.
Методика количественного химического анализа: окиси хрома, пятиокиси ниобия, ферросилиция, извести, хромовой и марганцевой руды, хромового, ильменитового и марганцеворудного концентратов и железорудных окатышей
Определение массовой доли углерода.
Кулонометрический метод.
Настоящая методика аттестована по результатам метрологической экспертизы в ОАО КЗФ и внесена в заводской реестр методик количественного химического анализа.
4.1. Назначение МВИ
4.1.1. Настоящий нормативный документ устанавливает методику выполнения количественного химического анализа (КХА) массовой доли углерода в окиси хрома по ГОСТ 2912-79, ТУ 645 РК5604173-005-2000, в руде хромовой по ТУ 645 РК 0186760-01-98, в концентрате хромовом по ТУ645 РК0186760-06-98, в марганцевой руде и концентрате марганцеворудном по ТУ 5.965-11491-92, в концентрате ильменитовом, железорудных окатышах по ТУ 0722-002-00186803-97, в пятиокиси ниобия по ГОСТ23920-79,ТУ 1763- 019-00545484-2000, в извести по ГОСТ 9179-77, в ферросилиции по ГОСТ 1415-93 кулонометрическим методом.
4.1.2. Диапазон измерений массовой доли углерода по методике КХА, в % :от 0,005 до 10,0
4.1.3. МВИ предназначена для контроля поступающего сырья, контроля технологических процессов и установления химического состава стандартных
образцов предприятия (СОП).
4.2. Требования к погрешности измерений. Погрешность результатов измерений по настоящей методике КХА не превышает регламентированных ГОСТ15848.4-70 и МУ МО 14-1-61-90 значений норм погрешности, указанных в таблице 2.
Таблица 2. Нормы погрешности измерений (абс. проценты)
|
Массовая доля углерода, %
|
Предел допускаемой погрешности (Р=0,95) |
Характеристика случайной составляющей погрешности СКО, G>k> |
|
От 0,005 до 0,010 |
0.004 |
0.0019 |
|
Св. 0,010 " 0,050 |
0.010 |
0.0043 |
|
" 0,050 " 0,100 |
0.019 |
0.0087 |
|
" 0,10 " 0,20 |
0.029 |
0.013 |
|
" 0,20 " 0,50 |
0.037 |
0.017 |
|
" 0,50 " 1,00 |
0.05 |
0.022 |
|
" 1,00 " 2,50 |
0.07 |
0.030 |
|
" 2,50 " 5,00 |
0.10 |
0.043 |
|
" 5,00 " 10.,0 |
0.13 |
0.061 |
4.3. Метод измерений
Метод автоматического кулонометрического титрования по величине рН основан на сжигании навески в трубчатой печи, при температуре 1350-1400С, в потоке очищенного от примесей кислорода. Образовавшийся при сжигании навески пробы углекислый газ уносится потоком кислорода в электролитическую ячейку датчика анализатора и поглощается в ней раствором, вызывая его закисление. Закисление раствора приводит к изменению э.д.с. электродной системы. Изменяется выходное напряжение усилителя рН-метра, которое затем преобразуется в импульсы напряжения с длительностью пропорциональной значению этого напряжения. Импульсы напряжения стабилизатора тока
преобразуются в импульсы тока, вызывают восстановление ионов водорода на катоде, нейтрализуя кислоту. Количество электричества, потребовавшееся для нейтрализации, фиксируется пересчетным устройством, отградуированным в процентах массовой доли углерода.
4.4. Требования к средствам измерений, вспомогательному оборудованию, материалам, растворам.
При выполнении измерений применяют следующие средства измерений и другие технические средства:
Стандартные образцы состава по ГОСТ 8.315, состав которых соответствует области применения данной методики, с аттестованным значением массовой доли углерода.
Набор ГСО сталей для калибровки анализаторов на все используемые диапазоны.
Экспресс - анализатор АН-7560 или АН-7529 со всеми принадлежностями или аналогичный
Устройство сжигания УС - 7077 или аналогичное.
Корректор массы КМ - 7573 или аналогичный.
Печь муфельная с температурой нагрева до 1000°С
Баллон с кислородом по ГОСТ5583,снабженный редукционным вентилем
Трубки огнеупорные муллито-кремнеземистые по ГОСТ 5.923, длиной 650-800 мм диаметром 18-22мм прокаленные по всей длине при рабочей температуре и пропускании через трубку кислорода до прекращения изменений показаний табло прибора.
Лодочки фарфоровые № 2 по ГОСТ 9147, перед применением прокаливают в потоке кислорода при температуре 1200±25°С.
Крючок из низкоуглеродистой жаропрочной проволоки диаметром 3-5мм длиной 500-600 мм.
Посуда мерная стеклянная лабораторная, цилиндры, мензурки, колбы по ГОСТ 1770.
Весы лабораторные общего назначения по ГОСТ 24104 2-го класса с абсолютной погрешностью при измерении массы не более 0,0002 г.
Промывная склянка Тищенко.
4.5.Материалы, реактивы, растворы:
Калий хлористый по ГОСТ 4234, не ниже ч.д.а., прокаленный при температуре 400-450С в течение 4 часов.
Стронций хлористый 6-водный по ГОСТ 4140, не ниже ч.д.а. прокаленный при температуре 400-450С в течение 4 часов.
Натрия тетраборат 10-водный по ГОСТ4199 не ниже ч.д.а.
Кислота борная по ГОСТ 9656, не ниже ч.д.а.
Вода дистиллированная по ГОСТ 6709.
Калий железистосинеродистый 3-водннй по ГОСТ 4207.
Кислота соляная по ГОСТ3118-77, раствор с молярной концентрацией 0,1моль/ дм3.
Меди (II) оксид в виде проволоки или порошка по ГОСТ 16539, прокаленная при температуре 700-750С в течение 3 - 4 часов.
Гидропирит таблетированный помещают в стеклянную трубку перед поглотительной ячейкой для дополнительной очистки кислородно-газовой смеси от окислов серы.
Аскарит ТУ6-09-4128-88.
Натрий хлористый по ГОСТ 4233, не ниже ч.д.а.
Железо хлорное по ГОСТ 4147, не ниже ч.д.а.
4.6. Раствор для промывной склянки Тищенко готовят следующим образом: 5г натрия хлористого и 7,5г хлорного железа помещают в мерную колбу на 100см3 растворяют в небольшом количестве дистиллированной воды, разбавляют водой до метки и хорошо перемешивают.
5. Операции по подготовке к выполнению измерений
5.1. Отбор проб и подготовка их к анализу.
Отбор проб производит ОТК завода. Подготовка проб производится по методике подготовки проб для химического анализа, утвержденной главным инженером завода.
5.2.Условия выполнения измерений:
5.2.1. Температура в рабочей зоне трубки печи устанавливается 1350-1400С.
5.2.2. Время прогрева измерительного блока не менее 30 минут.
5.2.3. Подготовка к работе и порядок работы с анализаторами АН-7929 и АН-7960 проводится согласно инструкции по эксплуатации анализатора.
Экспресс-анализатор АН-7560 используют при анализе материалов с массовой долей углерода до 0,1%, анализ проб с массовой долей углерода свыше 0,1% ведут на экспресс-анализаторе АН-7529.
5.2.4.Градуировку анализаторов проводят ежесменно по ГСО сталей, близким по содержанию углерода к анализируемым материалам.
5.2.5. С каждой партией проб проводят контрольный опыт на присутствие углерода в лодочках и плавне. Для этого проводят 2-3 сжигания лодочки с плавнем в условиях анализа. При этом на индикаторе "Навеска,г" следует установить среднее значение навески анализируемых впоследствии проб. Контрольный опыт считается выполненным, если цифровые показания табло «%С» за одну минуту изменяется на величину холостого счета прибора. Полученные результаты усредняются.
5.2.6. Плавень: 2г CuO.
5.2. Выполнение измерений.
Навеску лабораторной пробы, массой, указанной в таблице 3
Таблица 3
-
Массовая доля углерода, %
Навеска, г
От 0,005 до 1,0
0,5
“ 1,0 “ 2,0
0,25
“ 2,0 “ 4,0
0,2
“ 4,0 “ 10,0
0,1
помещают в прокаленную фарфоровую лодочку и прибавляют 2г плавня - меди (II) оксида. Лодочку с навеской и плавнем с помощью крючка, помещают в наиболее нагретую часть фарфоровой трубки, которую быстро закрывают металлическим затвором. Устанавливают показание индикаторного цифрового табло «%C» на «нуль» нажатием на кнопку «сброс» и сжигают пробу при температуре 1350-1400С. В процессе сжигания пробы на цифровом табло «%C» осуществляется непрерывный счёт показаний.
Анализ считают законченным, если цифровые показания табло «%C» за одну минуту изменяется на величину холостого счета прибора. Записывают результаты анализа по показаниям табло, открывают затвор и извлекают лодочку.
5.3 Обработка результатов измерений.
5.3.1. Вычисление результата измерений.
Массовая доля серы (Х) в процентах вычисляют по формуле:
Х = С - С>КО> ;
где - С - показание цифрового табло анализатора при сжигании анализируемой навески, в % углерода;
- С>КО->-показание цифрового табло анализатора при проведении контрольного опыта, % углерода.
5.3.2. За результат анализа пробы (результат измерений) принимают среднее арифметическое значение результатов параллельных измерений, которое вычисляют по формуле:
Х = Х>1> + Х>2>
2
6. Контроль погрешности результатов измерений.
6.1. Погрешность результата измерений не превысит предела при выполнении условий оперативного контроля сходимости и оперативного контроля точности.
6.1.1. Оперативный контроль сходимости.
Оперативный контроль сходимости проводят для каждого получаемого результата. Сходимость измерений признают удовлетворительной, если расхождение параллельных определений, полученных при анализе пробы, не превышает значения допускаемых расхождений d>2> (норматив оперативного контроля сходимости):
|Х>1> - Х>2> | d>2>
значения d>2> приведены в таблице 4.
6.1.2 . Оперативный контроль точности
Одновременно с проведением анализа проб в тех же условиях выполняют анализ стандартного образца (СО), химический состав которого не должен отличаться от анализируемой пробы настолько, чтобы потребовалось изменить методику анализа.
Примечание. При массовом анализе допускается проводить контроль точности один раз в смену.
Погрешность результатов анализа признают удовлетворительной, если отличие воспроизведенного в СО значения массовой доли определяемого элемента от аттестованного не превышает норматива контроля точности Кт:
| Хсо - Асо| Кт
Значения Кт приведены в таблице 4.
6.1.3. В случае превышения одного из нормативов проводят повторный анализ. Если и при повторном анализе требования к точности результатов не выполняются, результаты анализа признают неверными, измерения прекращают до выявления и устранения причин, вызвавших нарушение нормального хода анализа.
6.2. Контроль воспроизводимости
Расхождение между двумя результатами измерений, полученными в различных условиях (например, при внутрилабораторном контроле воспроизводимости, оценке допустимости расхождения результатов, полученных разными исполнителями, в разное время или в разных лабораториях), не должно превышать (при доверительной вероятности 0.95) значения норматива контроля воспроизводимости Д, приведенного в таблице 4.
6.3. Контроль погрешности измерений и нормативы контроля погрешности при проведении количественного химического анализа СО регламентируется НД, утвержденными в установленном порядке.
6.3.1.Нормативы контроля погрешности
Таблица 4. Абс. Проценты.
|
Массовая доля Углерода, % |
d>2> (Р=0.95) |
Кт (Р=0.85) |
Д (Р=0.95) |
|
От 0,005 до 0,010 |
0.004 |
0.003 |
0.005 |
|
Св. 0,01 " 0,05 |
0.010 |
0.006 |
0.012 |
|
" 0,05 " 0,10 |
0.020 |
0.013 |
0.024 |
|
" 0,10 " 0,20 |
0.03 |
0.02 |
0.04 |
|
" 0,20 " 0,50 |
0.04 |
0.03 |
0.05 |
|
" 0,50 " 1,00 |
0.05 |
0.03 |
0.06 |
|
" 1,00 " 2,50 |
0.07 |
0.04 |
0.08 |
|
" 2,50 " 5,00 |
0.10 |
0.06 |
0.12 |
|
" 5,00 " 10,0 |
0.14 |
0.09 |
0.17 |
7. Требования к квалификации оператора
Выполнение измерений может производить лаборант химического анализа, владеющий навыками работы с экспресс-анализаторами и прошедший специальный курс обучения.
V. Определение серы в сырье.
Методика количественного химического анализа: окиси хрома, пятиокиси ниобия, ферросилиция, марганцевой, хромовой руды, хромового, ильменитового, вольфрамового концентратов и железорудных окатышей.
Определение массовой доли серы.
Кулонометрический метод.
Настоящая методика аттестована по результатам метрологической экспертизы в ОАО КЗФ и внесена в заводской реестр методик количественного химического анализа.
5. Назначение МВИ
5.1. Настоящий нормативный документ устанавливает методику выполнения измерений (МВИ) массовой доли серы в окиси хрома, выпускаемой по ГОСТ 2912-79 и ТУ 645 РК5604173-005-2000, ильменитовым концентрате (обожжённом), хромовым концентрате по ТУ 645 РК 0186760-06-98, хромовой руде по ТУ 645 РК0186760-01-98, марганцевой руде ТУ 5.965-11491-92, пятиокиси ниобия по ГОСТ 23620-79, ТУ1763-019-00545484-2000, железорудных окатышах по ТУ 0722-002-00186803-97, вольфрамовом концентрате по ГОСТ213-83, ферросилиции по ГОСТ 1415-93 кулонометрическим методом.
5.2. Диапазон измерений массовой доли серы в процентах:
от 0,005 до 0,10
5.3. МВИ предназначена для контроля поступающего сырья и технологических процессов.
5.2 Требования к погрешности измерений.
Погрешность результатов измерений по настоящей МВИ не превышает регламентированных ГОСТ22772.7-96 и МУ МО 14-1-61-90 значений норм погрешности, указанных в таблице 5.
Таблица 5. Нормы погрешности измерений, абс.%.
|
Массовая доля серы,% |
Предел допускаемой погрешности (Р=0,95) |
Характеристика случайной составляющей погрешности СКО, G>k> |
|
От. 0,005 0,010 |
0,002 |
0,00087 |
|
Св. 0,01 0,02 |
0,003 |
0,0013 |
|
0,02 0,05 |
0,005 |
0,0022 |
|
0,05 0,10 |
0,008 |
0,0035 |
5.3. Метод измерений
Метод автоматического кулонометрического титрования по величине рН основан на сжигании навески в трубчатой печи в потоке очищенного от примесей кислорода при температуре 1350-1400С. Образовавшийся при сгорании навески пробы сернистый газ уносится потоком кислорода в электролитическую ячейку датчика анализатора, наполненную поглотительным раствором с определенным начальным значением величины рН, вызывая его закисление. Закисление раствора приводит к изменению э.д.с. электродной системы, что, в свою очередь, ведет к включению тока титрования. Количество электричества, необходимое для достижения первоначального значения величины рН поглотительного раствора, пропорционально массовой доле серы в пробе и фиксируется специальным кулонометром - интегратором тока, отображающим на табло прибора непосредственно массовую долю серы в процентах.
5.4. Требования к средствам измерений, вспомогательному оборудованию, материалам, растворам..
При выполнении измерений применяют следующие средства измерений и другие технические средства:
Стандартные образцы состава по ГОСТ 8.315, состав которых соответствует области применения данной методики, с аттестованным значением массовой доли серы.
Экспресс - анализатор АС-7932 или аналогичный.
Устройство сжигания УС - 7077 или аналогичное.
Корректор массы КМ - 7573 или аналогичный.
Печь муфельная с температурой нагрева до 800-900С .
Баллон с кислородом по ГОСТ 5583, снабженный редукционным вентилем.
Трубки огнеупорные муллито-кремнеземистые по ГОСТ 5.923, длиной 650-800 мм диаметром 18-22мм.
Лодочки фарфоровые № 2 по ГОСТ 9147 .
Крючок из низкоуглеродистой жаропрочной проволоки диаметром 3-5 мм, длиной 500-600 мм.
Посуда мерная стеклянная лабораторная: цилиндры, мензурки, колбы по ГОСТ 1770.
Весы лабораторные общего назначения по ГОСТ 24104 2- го класса с абсолютной погрешностью при измерении массы не более 0,0002 г.
Комплект стандартных образцов сталей, применяемых для градуировки анализатора.
5.5. Материалы, реактивы, растворы:
Калий хлористый по ГОСТ 4234, прокаленный при температуре 400-450С в течение 4 часов.
Барий хлористый 6-водный по ГОСТ4108, прокаленный при температуре 400-450С в течение 4 часов.
Кислота соляная по ГОСТ3118-77, раствор с молярной концентрацией 0,1 моль/ дм3.
Вода дистиллированная по ГОСТ 6709-72.
Окись меди в виде проволоки или порошка по ГОСТ 16539, прокаленная при температуре 700-750С в течение 3 - 4 часов.
Пятиокись ванадия по ТУ6-09-02-295-88.
Перекись водорода по ГОСТ10929-76,30%-ный раствор.
Аскарит ТУ6-09-4128-88.
Все применяемые реактивы должны иметь квалификацию не ниже ч.д.а.
5.6. Подготовка растворов.
5.6.1.Поглотительный раствор готовят следующим образом:
30г прокаленного бария хлористого и 70г прокаленного калия хлористого помещают в мерную колбу на 1 дм3, растворяют в дистиллированной воде, затем приливают15 см3 раствора соляной кислоты молярной концентрацией 0,1моль/ дм3, и 20 см3 30%-ного раствора перекиси водорода, раствор доливают дистиллированной водой до метки и перемешивают.
5.6.2.Вспомогательный раствор готовят следующим образом:
В мерную колбу вместимостью 1 дм3 наливают небольшое количество дистиллированной воды, растворяют в ней 200г прокаленного калия хлористого, приливают 300см3 30%-ного раствора перекиси водорода, раствор доливают дистиллированной водой до метки и перемешивают.
Поглотительный и вспомогательный растворы должны быть израсходованы в течение 5 суток.
5.6.3.Трубки огнеупорные муллито-кремнеземистые прокаливают по всей длине при температуре 1350 25С в токе кислорода.
5.6.4.Лодочки фарфоровые прокаливают при температуре 1200 25С непосредственно перед анализом.
5.6.5.Плавни: 0,2г пятиокиси ванадия или 2г окиси меди.
5.7.Операции по подготовке к выполнению измерений
5.7.1.Отбор проб и подготовка их к анализу.
Отбор проб производит ОТК завода. Подготовка проб производится по методике , утвержденной главным инженером завода.
5.8.Условия выполнения измерений:
5.8.1. Время прогрева измерительного блока не менее 30 минут.
5.8.2.Подготовка к работе и порядок работы с анализатором АС-7932 проводится согласно инструкции по эксплуатации анализатора.
5.8.3. С каждой партией проб проводят контрольный опыт на присутствие серы в лодочках и плавне. Для этого проводят 2-3 сжигания лодочки с плавнем в условиях анализа. При этом на индикаторе "Навеска,г" следует установить среднее значение навески анализируемых впоследствии проб. Контрольный опыт считается выполненным, если цифровые показания табло «%S » за 1 минуту изменяется на величину холостого счета прибора. Полученные результаты усредняются.
5.8.4. Градуировка анализатора по СО сталей проводят в начале каждой смены согласно инструкции по эксплуатации анализатора.
5.9.Выполнение измерений.
Навеску лабораторной пробы, массой 0,5г помещают в прокаленную фарфоровую лодочку, прибавляют плавень и перемешивают. Лодочку с навеской и плавнем с помощью крючка, помещают в наиболее нагретую часть фарфоровой трубки, которую быстро закрывают металлическим затвором. Устанавливают показание индикаторного цифрового табло «%S» на «нуль» нажатием на кнопку «сброс» и сжигают пробу при температуре 1350-1400С. В процессе сжигания пробы на цифровом табло осуществляется непрерывный счёт показаний..
Анализ считают законченным, если цифровые показания табло «%S» за одну минуту изменяется на величину холостого счета прибора. Записывают результаты анализа по показаниям табло, открывают затвор и извлекают лодочку.
6. Обработка результатов измерений.
6.1.Вычисление результата измерений:
Массовая доля серы (Х ) в процентах вычисляют по формуле:.
Х = S>1> – S>КО>, где
S>1> - показание цифрового табло анализатора, при сжигании навески, в %;
S>КО> - показание цифрового табло анализатора при проведении контрольного опыта на загрязнение реактивов, %.
6.2. За результат анализа пробы (результат измерений) принимают среднее арифметическое значение результатов параллельных измерений, которое вычисляют по формуле
: Х = Х>1 >+ Х>2>
2
6.3. Контроль погрешности результатов измерений.
Погрешность результата измерений не превысит предела при выполнении условий оперативного контроля сходимости и оперативного контроля точности.
6.3.1.Оперативный контроль сходимости.
Оперативный контроль сходимости проводят для каждого получаемого результата. Сходимость измерений признают удовлетворительной, если расхождения между результатами параллельных измерений, полученных при анализе пробы, не превышает значения допускаемых расхождений d>2> (норматив оперативного контроля сходимости):
| Х>1> - Х>2> | d>2>
значения d>2> приведены в таблице 6.
6.3.2. Оперативный контроль точности
Одновременно с проведением анализа проб в тех же условиях выполняют анализ стандартного образца (СО), химический состав которого не должен отличаться от анализируемой пробы настолько, чтобы потребовалось изменить методику анализа.
Примечание. При массовом анализе допускается проводить контроль точности один раз в смену.
Погрешность результатов анализа признают удовлетворительной, если отличие воспроизведенного в СО значения массовой доли определяемого элемента от аттестованного не превышает норматива контроля точности Кт:
|Хсо – Асо| Кт
Значения Кт приведены в таблице 6.
6.3.3. В случае превышения одного из нормативов проводят повторный анализ. Если и при повторном анализе требования к точности результатов не выполняются, результаты анализа признают неверными, измерения прекращают до выявления и устранения причин, вызвавших нарушение нормального хода анализа.
6.3.4.Контроль воспроизводимости
Расхождение между двумя результатами измерений, полученными в различных условиях (например, при внутрилабораторном контроле воспроизводимости, оценке допустимости расхождения результатов, полученных разными исполнителями, в разное время или в разных лабораториях), не должно превышать (при доверительной вероятности 0.95) значения норматива контроля воспроизводимости Д, приведенного в таблице6.
Таблица 6. Нормативы контроля погрешности (абс. проценты).
|
Массовая доля серы, % |
d>2> (Р=0.95) |
Кт (Р=0.85) |
Д (Р=0.95) |
|
От.0,005 “ 0,010 |
0,002 |
0,001 |
0,002 |
|
св. 0,010 “ 0,020 |
0,003 |
0,002 |
0,004 |
|
“ 0,020 “ 0,050 |
0,005 |
0,003 |
0,006 |
|
“ 0,05 “ 0,10 |
0,008 |
0,005 |
0,010 |
6.4. Требования к квалификации оператора
Выполнение измерений может производить лаборант химического анализа, владеющий навыками работы на экспресс-анализаторах и прошедший специальный курс обучения.