Методы очистки воды (работа 1)
Министерство образования Российской Федерации
Камский государственный политехнический институт
Реферат
по дисциплине «инженерные сети»
на тему:
МЕТОДЫ ОЧИСТКИ ВОДЫ
Выполнил: студент гр. 3305-У
Акатьев И.В.
Проверил: преподаватель
Безбородова И.Н.
Набережные Челны, 2003 г.
Проблема очистки воды охватывает вопросы физических, химических и биологических ее изменений в процессе обработки с целью сделать ее пригодной для питья, т. е. очистки и улучшения ее природных свойств.
Основными методами очистки воды для хозяйственно-питьевого водоснабжения являются осветление, обесцвечивание и обеззараживание.
Осветление воды путем осаждения взвешенных веществ. Эту функцию выполняют осветлители, отстойники и фильтры. В осветлителях и отстойниках вода движется с замедленной скоростью, вследствие чего происходит выпадение в осадок взвешенных частиц. В целях осаждения мельчайших коллоидных частиц, которые могут находиться во взвешенном состоянии неопределенно долгое время, к воде прибавляют раствор коагулянта (обычно сернокислый алюминий, железный купорос или хлорное железо). В результате реакции коагулянта с солями многовалентных металлов, содержащимися в воде, образуются хлопья, увлекающие при осаждении взвеси и коллоидные вещества.
Коагуляцией примесей воды называют процесс укрупнения мельчайших коллоидных и взвешенных частиц, происходящий вследствие их взаимного слипания под действием сил молекулярного притяжения.
Фильтрование — самый распространенный метод отделения твердых частиц от жидкости. При этом из раствора могут быть выделены не только диспергированные частицы, но и коллоиды.
В процессе фильтрования происходит задержание взвешенных веществ в порах фильтрующей среды и в биологической пленке, окружающей частицы фильтрующего материала. Вода освобождается от взвешенных частиц, хлопьев коагулянта и большей части бактерий.
Обесцвечивание воды, т. е. устранение или обесцвечивание различных окрашенных коллоидов или полностью растворенных веществ может быть достигнуто коагулированием, применением различных окислителей (хлор и его производные, озон, перманганат калия) и сорбентов (активный уголь, искусственные смолы).
Обеззараживание воды, или ее дезинфекция, заключается в полном освобождении воды от болезнетворных бактерий. Так как полного освобождения ни отстаивание, ни фильтрование не дают, с целью дезинфекции воды применяют хлорирование и другие способы, описанные ниже.
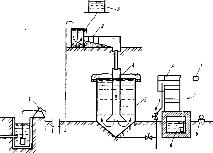
На примере типовой схемы очистной станции водопровода показан комплекс составляющих ее элементов (рис. 1.1).
Главнейшие из этих элементов следующие:
Насосная станция первого подъема, подающая воду на очистные сооружения.
Смеситель 2, обеспечивающий перемешивание раствора коагулянта, поступающего из реагентного хозяйства 3, с обрабатываемой водой. В практике применяют гидравлические и механические типы смесителей. На схеме показан дырчатый смеситель, представляющий собой лоток с дырчатыми перегородками, в котором происходит перемешивание воды с раствором коагулянта.

Рис. 1.1
Камера реакции 4, в которой завершается химическая реакция и образуются хлопья коагулянта. На схеме приводится камера реакции, помещаемая внутрь вертикального отстойника. Хлопьеобразование в ней завершается в течение 10...15 мин.
Отстойники 5, которые в зависимости от направления движения воды подразделяются на горизонтальные, вертикальные и радиальные. Горизонтальный отстойник в плане — прямоугольник. Глубина его 3...5 м. Вода движется через отстойник со скоростью, не превышающей 5 мм/с, а при коагулировании — 10 мм/с. В целях равномерного распределения потока в поперечном сечении отстойника предусматривается конструктивная деталь, обеспечивающая равномерное поступление воды в отстойник и отвод ее, например дырчатая стенка.
На станциях меньшей производительности применяют вертикальные отстойники, состоящие из двух цилиндров, вложенных один в другой. Диаметр внешнего цилиндра — не больше 12 м. Отношение диаметра к высоте отстойника (D/H) принимают в пределах 1,2...2. Вода поступает во внутренний цилиндр, в котором находится камера реакции, опускается вниз, затем осветляется, поднимаясь в вертикальном направлении вверх по среднему кольцевому пространству со скоростью 0,5...0,75 мм/с. Осветленная вода через отводящие желоба отводится трубой или по каналу на фильтр.
Радиальные отстойники диаметром от 5 до 60 м занимают среднее положение между горизонтальными и вертикальными отстойниками. Вода попадает в центральную часть отстойника и, постепенно уменьшая скорость, движется в радиальном направлении к лотку, расположенному вдоль периферийной части, из которого отводится.
Дно отстойника устраивают с уклоном к грязевому приямку или лотку, откуда выпавший осадок непрерывно или периодически удаляется насосом или самотеком сбрасывается в водосток.
Осветлители, конструкция которых в основном не отличается от конструкции вертикального отстойника, дают значительный эффект осветления, позволяя при этом снизить расход коагулянта и сократить размер сооружений. Осветляемая вода проходит в восходящем движении слой осадка высотой 2...2,5 м, находящегося во взвешенном состоянии (так называемая суспензионная сепарация).
В процессе работы осветлителя происходит укрупнение хлопьев коагулянта, задерживающих часть взвеси. В настоящее время осветлители широко применяют как в городских, так и в промышленных водопроводах. В некоторых случаях вертикальные отстойники переоборудуют на осветлители.
Фильтрование состоит в пропуске воды через фильтр 6, заполненный фильтрующим материалом (обычно кварцевым песком), уложенным слоями возрастающей сверху вниз крупности. Вода поступает на поверхность фильтра, движется сквозь слои фильтрующего материала и дренажным устройством отводится в резервуар чистой воды. В процессе работы фильтр заполнен водой до уровня 1...1.5 м над поверхностью фильтрующего материала.
Фильтры делаются открытыми безнапорными и закрытыми напорными. Напорные фильтры представляют собой закрытые стальные резервуары.
В применяемых в настоящее время скорых фильтрах скорость прохождения водой фильтрующего материала, или скорость фильтрации, равна 6...7 м/ч в отличие от громоздких медленных фильтров, применявшихся ранее, в которых скорость фильтрации была меньше в 50...60 раз.
В предложенных институтом Вод-гео двухслойных фильтрах поверх слоя кварцевого песка укладывают слой дробленого антрацита, что позволяет увеличить скорость фильтрации до 9... 10 м/ч и соответственно удлинить рабочий период фильтра.
Количество фильтров на очистной станции — не менее двух. Площадь одного фильтра от 10...20 м2 на малых и средних станциях, до 100 м2 и более — на больших.
После фильтров вода может поступать непосредственно потребителю.
Способы обеззараживания воды.
Среди оставшихся в воде после фильтрования бактерий могут быть болезнетворные. Уничтожение их может быть достигнуто: введением в воду сильных окислителей, способных убивать ферменты бактериальных клеток; нагреванием воды до температуры 80 °С (пастеризация) — 100 °С (стерилизация); облучением воды ультрафиолетовыми лучами; озонированием; воздействием ультразвуком; введением в воду серебра или других металлов, обладающих олигодинамическим действием на микроорганизмы. Практическое применение нашли 1, 3 и 4-й методы.
В качестве окислителей можно использовать хлор, йод, марганцево-кислый калий, перекись водорода, гипохлорит натрия и кальция. Чаще всего применяют жидкий хлор и хлорную известь. Газообразный хлор сжижают под давлением 0,6...0,8 Па и в жидком виде доставляют на водопроводную станцию в стальных баллонах весом 25 кг. Посредством особых приборов — хлораторов хлор дозируют и смешивают с водой. Полученная в установке для обеззараживания 7 хлорная вода (рис. 11.1) поступает в резервуар чистой воды 8. Обычная доза хлора 1,0...1,5 мг/л в случае предварительного хлорирования до очистных сооружений и 0,3...0,5 мг/л при хлорировании после фильтров. В малых установках применяют хлорную известь. Для устранения запаха хлора к обрабатываемой воде прибавляют одновременно с хлором в небольших количествах аммиак (аммонизация воды). Хлор, введенный в воду, образует хлорноватистую кислоту и соляную кислоту по уравнению С12 + Н2О = = НОС1 + НС1. Хлорноватистая кислота НОС1 — соединение нестойкое, диссоциирующее с образованием гипохлоритного иона ОС1. При этом окислительное действие на органические вещества, в том числе и бактерии, проявляют как хлорноватистая кислота, так и гипохлоритный ион. Соляная кислота соединяется с карбонатами, находящимися в воде.
Установка для дезодорации воды проектируется перед фильтрами. Привкусы и запахи природных вод бывают природного и искусственного происхождения, что обусловливает различие их химического состава и многообразие методов обработки воды для их локализации.
Для удаления из воды веществ, вызывающих нежелательные привкусы и запахи, применяют следующие методы ее обработки: аэрацию, окисление хлором, озоном, перманганатом калия и другими окислителями; сорбцию активным углем. Аэрация воды является наиболее простым способом ее дезодорации, основанным на летучести большинства веществ, обуславливающих привкусы и запахи. Аэрацию воды осуществляют на градирнях, в брызгальных бассейнах (см. гл. 12) до введения в нее окислителей во избежание их потерь.
Для удаления из воды запахов, обусловленных жизнедеятельностью микроорганизмов и водорослей, успешно применяют хлор и озон. В целях предотвращения появления хлорфенольного запаха при хлорировании воды рекомендуется применять: перхлорирование воды (для окисления фенолов), преаммонизацию (введение солей аммиака для связывания хлора) и комбинированную обработку воды совместно с марганцевокислым калием.
Активный уголь является наиболее универсальным средством для дезодорации воды.
ВЫБОР МЕСТА РАСПОЛОЖЕНИЯ ОЧИСТНЫХ СООРУЖЕНИЙ И ОПРЕДЕЛЕНИЕ ТРЕБУЕМЫХ ПЛОЩАДЕЙ
При устройстве хозяйственно-питьевого водоснабжения важное значение имеет вопрос о выборе места расположения водопроводных станций, включающих водозаборные и водоочистные сооружения, насосные станции и водоводы. Место расположения водозаборных сооружений должно выбираться возможно ближе к водопотребителю. При использовании поверхностного источника водозабор должен быть расположен выше обслуживаемого населенного пункта по течению реки, чтобы поверхностный сток и вышерасположенные населенные пункты не оказывали влияния на качество воды. При использовании подземного источника водоснабжения место расположения колодцев или каптажных сооружений назначают с учетом возможных источников загрязнения подземных вод, направления и скорости подземного потока.
Площадка для размещения водоочистной станции должна обеспечить не только возможность организации зоны санитарной охраны, но и иметь удобный рельеф и надежные подъезды к станции. Желательно, чтобы рельеф территории в границах водопроводной станции обеспечивал движение воды самотеком через все очистные сооружения с минимальным объемом земляных работ при минимальном заглублении сооружений в землю. При выборе площадки очистных сооружений необходимо учитывать уровень грунтовых вод, так как высокий уровень грунтовых вод на площадке размещения водоочистной станции может решающим образом повлиять на степень заглубления основных сооружений станции и вызвать значительное увеличение объема земляной подсыпки сооружений, располагаемых вне зданий.
При определении требуемой площади для размещения станции улучшения качества воды следует руководствоваться СНиПом, учитывающим не только производительность станции, что определяет габариты водоочистных сооружений, но и возможность дальнейшего ее расширения в соответствии с развитием водопотребления города (табл. 1.1). В этой связи важное значение имеет компоновка основных и вспомогательных сооружений станции, минимальная протяженность внутристанционных коммуникаций.
Размеры земельных участков станций очистки воды систем хозяйственно-питьевого водопровода
Таблица 1.1
-
Производительность станций очистки воды, тыс. м3/сут.
Размеры земельных участков, га
До 0,8
1
Более 0,8 до 12
2
» 12 » 32
3
» 32 » 80
4
» 80 » 125
5
» 125 » 250
7
» 250 » 450
10
» 400 » 800
14