ТЕОРЕТИЧЕСКИЙ АНАЛИЗ РАСПРЕДЕЛЕНИЯ ФУНКЦИЙ УПРАВЛЕНИЯ В ПОДРАЗДЕЛЕНИЯХ ОМОН И ВНУТРЕННИХ ВОЙСКАХ МВД РОССИИ (низшие структурные подразделения: отделение, взвод)
МВД РОССИИ
САНКТ-ПЕТЕРБУРГСКИЙ УНИВЕРСИТЕТ
АКАДЕМИЯ ПРАВА, ЭКОНОМИКИ
И БЕЗОПАСНОСТИ ЖИЗНЕДЕЯТЕЛЬНОСТИ
В.С. Артамонов, А.А.
Кабанов, Н.Н. Кузин,
Ю.В. Сметанин, А.Ф.
Тарасов, А.И. Примакин
Теоретический
анализ
распределения функций управления
в подразделениях омон
и внутренних
войсках мвд россии
(низшие
структурные подразделения:
отделение,
взвод)
Монография
САНКТ-ПЕТЕРБУРГ
2000
МВД РОССИИ
САНКТ-ПЕТЕРБУРГСКИЙ УНИВЕРСИТЕТ
АКАДЕМИЯ ПРАВА, ЭКОНОМИКИ
И БЕЗОПАСНОСТИ ЖИЗНЕДЕЯТЕЛЬНОСТИ
В.С. Артамонов, А.А.
Кабанов, Н.Н. Кузин,
Ю.В. Сметанин, А.Ф.
Тарасов, А.И. Примакин
Теоретический
анализ
распределения функций управления
в подразделениях омон
и внутренних
войсках мвд россии
(низшие
структурные подразделения:
отделение,
взвод)
Монография
САНКТ-ПЕТЕРБУРГ
2000
План 2000, поз.
Артамонов В.С., Кабанов А.А., Кузин Н.Н. и др.
Теоретический анализ распределения функций управления в подразделениях ОМОН и внутренних войсках МВД России (низшие структурные подразделения: отделение, взвод): Монография / Под общ. ред. В.П. Сальникова. СПб.: Санкт-Петербургский университет МВД России; Академия права, экономики и безопасности жизнедеятельности, 2000. 93 с
В монографии изложены теоретические проблемы распределения функций управления в подразделениях ОМОН и внутренних войсках МВД России в низших структурных подразделениях: в отделении и взводе, а также попытки их решения математическими методами. В работе построены теоретико-множественные и информационно-математические модели подразделений как объектов управления, сделаны теоретические и практические выводы для дальнейшей модернизации системы управления подразделениями указанной категории.
Книга предназначена для профессорско-преподавательского состава, а также научных работников, адъюнктов, слушателей и курсантов образовательных учреждений МВД России.
Рецензенты:
В.Г. Евграфов,
доктор технических наук, профессор,
заслуженный
деятель науки и техники
России
(Санкт-Петербургский университет
права и управления);
Г.И. Кожевников,
кандидат технических наук,
(Санкт-Петербургский военный институт
внутренних войск
МВД России)
Санкт-Петербургский университет
МВД России, 2000
Академия права, экономики
и безопасности жизнедеятельности, 2000
Под общей редакцией
Виктора
Петровича Сальникова,
доктора
юридических наук, профессора,
академика,
заслуженного деятеля науки
Российской
Федерации
Владимир Сергеевич
Артамонов,
доктор
военных наук, профессор, академик;
Андрей Александрович
Кабанов,
кандидат
юридических наук, доцент;
Николай Николаевич Кузин;
Юрий Владимирович
Сметанин,
доктор
технических наук, профессор;
Анатолий Федорович
Тарасов,
доктор
педагогических наук;
Алексей Иванович
Примакин,
кандидат
технических наук, доцент
Теоретический
анализ
распределения функций управления
в подразделениях омон
и внутренних
войсках мвд россии
(низшие
структурные подразделения:
отделение,
взвод)
Монография
Редактор Г.Г. Борисова
Технический редактор Е.А. Смирнова
ЛР № 021360 от 24 сентября 1999 г.
Подписано в печать и свет 04.12.2000 Формат 60841/>16>
Компьютерная верстка. Объем 5,8 п.л. Тираж 50 экз.
Бесплатно.
Отпечатано в Санкт-Петербургском университете МВД России
198075, Санкт-Петербург, ул. Летчика Пилютова, д. 1
ОГЛАВЛЕНИЕ
ВВЕДЕНИЕ 5
ГЛАВА 1. Системотехника и кибернетика – основные источники теоретического анализа функций управления 13
ГЛАВА 2. Некоторые
общие положения, касающиеся
функций
управления и участников управления
в
боевой обстановке 41
ГЛАВА
3. Теоретический
анализ распределения функций
управления
отделением и взводом ОМОН
и внутренних
войск МВД России в бою 61
ЗАКЛЮЧЕНИЕ 89
ЛИТЕРАТУРА 92
СПРАВОЧНЫЙ МАТЕРИАЛ 93
Ключевые слова: анализ, отделение, взвод, кибернетика, методика, модель, мероприятия, правонарушители, структурная схема, поток информации (информационный поток), обращения, управление, уровни управления, функционирование, системотехника, операторы управления, директивное воздействие, факторы воздействия.
Перечень
сокращений, условных обозначений,
символов, единиц и терминов
В работе использован понятийный математический аппарат теории множеств. Принятые обозначения внешне напоминают обозначения векторной алгебры, алгебры логики. Такой подход позволяет перейти в необходимый раздел математики при работе с соответствующими моделями.
, у, Ζ, U, V, W и другие переменные носят названия объекта, по своим свойствам являются комплексными многомерными переменными, но свободны от топологических векторных ограничений.
х у и ряд других взаимодействий определяются прямым (декартовым) произведением объектов.
В тексте используются логические символы:
→ – импликация;
∩ – конъюнкция, логическое умножение (И);
U – дизъюнкция, логическое сложение (ИЛИ);
– следование (в следствии);
( ) – логические скобки;
, – логическая запятая.
A:X→У – оператор А определен как отображение множества Х в множество У. Это соответствие между множествами Х и У, при котором для любого хЄX, соответствует точно один элемент уЄУ.
Р(А…) – предикат, выполняющий роль сложного квантора условий, стоящих в скобках.
Э, V – кванторы существования и общности.
Σ – сумма.
(А1 º А2) – условное обозначение операции композиции (º) двух операторов А1 и А2. В некоторых местах научного исследования, когда речь идет о функциональности операторов композиция записывается F(А1 º А2).
ВВЕДЕНИЕ
Каждое поколение руководителей любого плана действует, опираясь на опыт предшествующих поколений. Преемственный характер профессионализма и научного знания в области управления социальными процессами (социальными системами), в том числе и в среде органов внутренних дел, в условиях боевой обстановки, – чрезвычайно важное условие для выдвижения полезных идей и эффективного руководства.
Чтобы видеть дальше других, необходимо, по образному выражению Ньютона, «стоять на плечах гигантов» мысли прошлого.
На современном этапе, когда военная мысль уже достигает своего апогея, а для социального управления все «шире открываются двери в свет», можно предположить, что не только ученые прошлого, но и настоящего позволяют видеть дальше и все эффективней внедряют различные отрасли науки для обеспечения безопасности российской государственности, борьбы с преступностью и т.д.
Преобразующая сила науки заключается не только в том, что она правильно объясняет процессы и явления, происходящие в жизни, но – и это главное – указывает, как их использовать в практических целях, как управлять ими, как с их помощью решать возникающие проблемы.
В данном исследовании осуществлена попытка с помощью науки кибернетики провести анализ распределения функций управления ОМОН, СОБР, внутренних войск МВД России в боевой обстановке на уровне отделения и взвода.
Люди и специальная техника – вот главные слагаемые Министерства внутренних дел. Организационно и функционально они должны образовать единую систему.
В системе «человек – техника» необходимо обеспечить как оптимальное соотношение вооружения и личного состава, так и эффективное взаимодействие между группами людей различной специализации и различных служебных рангов1.
«Условия, при которых происходит общение индивидов…, представляют собой условия, относящиеся к их индивидуальности, и не являются чем-то внешним для них; это – условия, при которых эти определенные, существующие в определенных отношениях индивиды, только и могут производить свою материальную жизнь и то, что с ней связано; следовательно, они являются условиями самодеятельности этих индивидов и создаются они этой их самодеятельностью»1.
Техническая разнородность средств, необходимость совершенствования способов боевого применения и чрезвычайно высокие требования к сотрудникам органов внутренних дел и внутренних войск МВД порождают новые проблемы. Вот некоторые из них:
постановка перед создателями вооружений новых требований, вытекающих из оперативных задач МВД;
усиление специальной, боевой и технической подготовки кадров, овладение руководящим составом не только специальными, но и объединяющими знаниями, обеспечивающими тесное взаимодействие лиц различных специальностей и способность к управлению сложными системами вооружения;
разработка эффективных методов, систем и средств управления подразделениями ОМОН, СОБР и внутренних войск МВД России.
Решение этих и ряда других проблем требует комплексного, системного их исследования. Сущность системного подхода состоит в том, чтобы найти логически целостные, конструктивные способы описания и исследования объектов, природа которых противоречива и заведомо более сложна, чем используемые описания, и с пользой применить эти описания для создания, совершенствования и управления такими объектами.
Объектами данного исследования является коллектив (отделение, взвод) и его функции в боевой обстановке.
Методом исследования является системный подход, который в результате объединения методов системного анализа, исследования операций, психологии, социологии, а также опыта инженерной и общественно-административной деятельности выработал методы системотехники.
Системотехника создала математический аппарат, позволяющий решать не только инженерные, но также оперативные задачи, оптимизировать структуру организации и направления их деятельности.
Проводя данное исследование методом системотехники, можно предположить, что есть необходимость формализации и технологизации ряда человеческих функций, которые станут доступными для решения боевых задач на вычислительных машинах, компьютерах и другой технике.
Целью данного исследования является создание количественного метода описания задач (функций участников управления) отделения и взвода в боевой обстановке, а также изменение их структуры на полный период боевых действий (разведка, бой) в условиях увеличения информационного потока в ходе боя.
Для успешного проведения теоретического анализа в главах 1, 2, 3 разработаны системы (математические модели-чертежи) отделения и взвода. Под термином «разработка» условно объединяется комплекс необходимых действий от уяснения поставленной задачи на ведение боя старшим начальником до конца выполнения специальной операции по уничтожению бандитских формирований.
Первоначальный этап разработки систем характеризуется большой неопределенностью и ответственностью. Казалось бы, что в связи с этим особенно необходимо применение строгих методов обработки данных и оценки идей. К сожалению, в практике зачастую наблюдается обратное: ввиду неопределенности строгость считается недостижимой, поэтому вся или почти вся работа возлагается на интуицию, а математические методы начинают применять на заключительных этапах, когда неопределенность устранена волевым путем. Такой подход очевидно неправильный, так как ошибки первого этапа не только не исправляются в дальнейшем, но и как правило, не обнаруживаются.
С самого начала и до конца обработки данных должны сопутствовать количественные оценки.
В настоящем исследовании нет разработанных систем, представленных в системотехнике в самом широком смысле, но есть информационно-математические модели простейших подразделений (отделение, взвод) в боевой обстановке (простейшие системы), на которые также распространяются все вышеуказанные постулаты; так как модель есть система, имеющая некоторые идентичные свойства с оригиналом. «Оригиналом» в данном исследовании выступает бой (боевая обстановка) и управление им в подразделениях (отделение-взвод).
Говоря математическим языком, имеем следующее представление о создаваемой информационно-математической модели управления отделением (взводом) в бою: создаваемая модель должна представлять собой конечную цель боевых действий (комплексную боевую функцию); происходит множество воздействий на подразделение (коллектив), начиная от директивных указаний старшего начальника, действий противника, потока информации в ходе боя, времени, включая воздействие местности и погодных условий и т.д.
В настоящем исследовании рассматривается боевое подразделение, в котором нет специального отдела, штаба, координирующего центра, обеспечивающего управление подразделением в автономном режиме, т.е. генерирование управляющих воздействий и их конкретные реализации. Боевое подразделение рассматривается как система элементов-звеньев, моделирующих частные свойства подразделения, а структура системы отображает часть свойств в моделируемом объекте. Отдельные свойства боевого подразделения с позиций системного подхода существенно различны, поэтому их можно рассматривать как частично независимые. Но с учетом их системной целостности эти свойства находятся в субординационной связи между собой, что дает основание рассматривать боевое подразделение как иерархическую систему. Структуру математической модели боевого подразделения можно представить имеющей три уровня:
1 уровень – морально-психологическая готовность подразделения к ведению боевых действий.
2 уровень – боевая и тактико-специальная подготовка.
3 уровень – непосредственно ведение боевых действий и управление подразделениями.
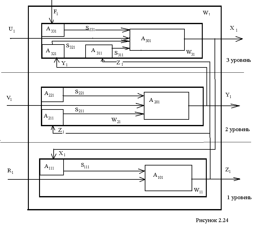
Каждый уровень моделирует определенные свойства воинского подразделения, а взаимосвязь уровней эффективно отражает системную целостность. В главе 1, на рисунке 1.24 приведена структурная схема теоретико-множественной модели боевого подразделения. В состав структурной схемы входят три звена – уровни иерархии, моделирующие свойства боевого подразделения.
Моделируемое боевое подразделение входит в состав непосредственно боевых подразделений Министерства внутренних дел России как составляющий элемент системы, которая по отношению к моделируемому подразделению является метасистемой.
Математическая модель (рис. 2.24, глава 2) – это трехуровневая система. Связь между уровнями осуществляется через операторы. Операторы первого уровня характеризуют необходимые закономерности формирования морального, психологического и физического состояния личного состава при обучении, тренировках, а также при выполнении служебно-боевых задач. Операторы второго уровня определяют эффективность использования вооружения в боевых условиях, а также влияние перекрестных связей на эффективность его использования, что в конечном итоге зависит от внешних воздействий, уровня боевой и тактико-специальной подготовки личного состава и условий выполнения служебно-боевых задач. Операторы третьего уровня характеризуют боеготовность личного состава и влияние на нее внешних и внутренних воздействий, а также сам ход боевых действий.
В дальнейшем данное исследование построено на теоретическом анализе распределения функций управления в подразделениях ОМОН, СОБР, ВВ МВД России именно на основе третьего уровня теоретико-множественной модели боевого подразделения, когда личный состав подготовлен к выполнению боевой задачи и имеет достаточное количество вооружения и техники. Третий, верхний уровень является общесистемным уровнем, поэтому управление характеристиками этого уровня скоординированы с требованиями метасистемы, в состав которой входит моделируемое подразделение.
Представленные на рисунках 2.24; 3.1; 3.12 математические модели свидетельствуют о различных вариантах схем рассматриваемых подразделений как объектов управления. С точки зрения управления можно отметить, что в соответствии с основными законами кибернетики основными задачами управления боевыми подразделениями являются задачи стабилизации и программного управления. Каждая задача определяется целью и критерием оптимальности. Для достижения оптимальных значений каждой составляющей критерия эффективности управления необходимо, чтобы управляющие воздействия были сформированы так, чтобы достижение оптимума каждой составляющей не ухудшало значений других составляющих. Это выдвигает дополнительные условия автономности управления отделением (взводом), которые относятся к управляющим элементам-командирам взводов (отделений), групп. В исследовании предполагается, что успешное выполнение боевых задач отделением (взводом) в условиях боевой обстановки, зависит от временной реорганизации отделений и создания на их основе небольших секций по три человека со своими командирами (старшими). То есть, тем самым увеличить количество профессионально подготовленных командиров (операторов), умеющих своевременно обрабатывать весь поток информации в ходе боя и принимать решения целесообразные и адекватные боевой обстановке.
В данном контексте под системами управления будем понимать подразделения по отношению к своему командиру и к командиру более высокого уровня. Таким образом, формулируя основное требование к рассматриваемым моделям (системам) отделению, и взводу можно сказать, что:
Управляемость – это способность перехода системы из одного заданного состояния в другое заданное состояние.
Задача управления рассматривается на структурном уровне и поэтому условие управляемости необходимо дополнить качественным требованием, которое реализуется через оценочную функцию, т.е. является критерием качества управления. Тогда условие управляемости дополняется принятием оценочной функции определенных значений. Все последующие требования к системам формируются, исходя из реализации управляемости.При управлении боем принятие решения командиром взвода (отделения) – это наиболее сложный и ответственный акт управления подразделением. Процесс выработки решения начинается, как правило, с уяснения поставленной задачи. При этом необходимо понять место и роль своего подразделения в проводимых боевых действиях, замысел вышестоящего командира, где сосредоточить основные усилия, какое влияние окажут средства старшего начальника, действия соседей при выполнении поставленной задачи и другие вопросы. После уяснения полученной задачи командир отделения (взвода) производит расчет времени, оценивает местность и т.д. В зависимости от характера и содержания полученной задачи и имеющихся условий количество, содержание расчетов и их направленность будут различны. К примеру, если подразделению предстоит вести поиск, то очевидно, что доминирующую роль в процессе оценки обстановки будут играть расчеты, связанные с вероятностью обнаружения бандитских формирований, возможностями по блокированию местности, временем поиска и другими факторами. Во всех случаях расчеты при принятии решения будут производиться в сжатые сроки, по нескольким вариантам.
В условиях боевой обстановки все расчеты командиру взвода (отделения) необходимо проводить немедленно. В зависимости от изменяющейся оперативной обстановки, также целесообразно принимать новые решения. Например, в полосе ведения поиска взводу необходимо развернуться в цепь протяженностью до 200 метров (при сплошном одностороннем поиске) в лесу.
При проведение поисковых мероприятий правый фланг группы поиска выходит на болото и наталкивается на вооруженное сопротивление преступников. Необходимо «молниеносное» принятие решения. Естественно возникает предположение: а правильно ли составлена штатная структура отделения (взвода) для боевой обстановки?
На основе разработанных математических моделей и расчетов, а также из полученных результатов в настоящем исследовании высказано предположение о том, что гораздо эффективнее на базе отделения (взвода) организовать «тройку» бойцов во главе с грамотными командирами для проведения боевых действий. Для мирного времени штатную структуру целесообразно сохранять. Заблуждение о том, что можно победить «шапкозакидательством», то есть бездумным применением подразделений, необоснованным ни какими расчетами, постепенно проходит и осознается обида за свою беспомощность в,казалосьбы,беспроигрышных ситуациях. Это вынуждает вновь и вновь возвращаться к основным положениям военной кибернетики, рассматривать любую ситуацию с позиций системного подхода и последовательно учитывать реальные боевые возможности перед и в процессе принятия управленческих решений. В данном исследовании в главах 1, 2, 3 построены информационные математические модели управления отделением и взводом в бою. При моделировании во внимание принимались следующие основные принципы моделирования:
Первый – оценка степени неопределенности проблемы, уровней знания и незнания.
Второй – систематизация неопределенности, выявление связи между неопределенностями с тем, чтобы исключить возможные противоречия в модели.
Третий – приведение всех неопределенностей к минимальному числу единых категорий неопределенности, главных для проблемы. По существу – это факторизация неопределенности.
Четвертый – построение факторной модели неопределенности, которая является информационным описанием проблемы. В модели установлено, как на цель проблемы (управление отделением и взводом в бою) влияют неопределенные факторы. В исследовании проблемы осуществлена попытка отразить ее количественную сторону, а там, где это не удается, определить логическую связь или, по крайне мере, ввести упорядоченность. При моделировании применены эвристические методы, т.е. моделирование частично построено на основании эвристических программ. Составляются такие программы на основании наблюдения за человеческой деятельностью. Например, мы хотим составить модель задержания группы вооруженных преступников. Характеристики вооружения и специальной техники известны, и их можно представить уравнениями. Поэтому эвристическая модель в данном исследовании строится путем наблюдения за действиями людей, обобщения результатов большого количества специальных операций, составления обобщенного описания действий для различных условий и, наконец, составления машинной программы, отражающей это описание. В исследовании уже приведен пример моделей управления отделением и взводом, т.е. конечный результат вышеизложенного. Далее на основе этих моделей проводится теоретический анализ распределения функций управления подразделениями ОМОН, СОБР и ВВ МВД России в бою и делаются соответствующие выводы.
ГЛАВА 1.
СИСТЕМОТЕХНИКА И КИБЕРНЕТИКА –
ОСНОВНЫЕ
ИСТОЧНИКИ ТЕОРЕТИЧЕСКОГО АНАЛИЗА
ФУНКЦИЙ УПРАВЛЕНИЯ
1.1.
Системный подход –
основная практическая
методология
В методах системного подхода понятие элемент является основополагающим. Это связано с тем, что, как правило, свойства элементов, их функционирование, условия образования и существование определяют систему. Отметим иерархическую структуру построения и функционирования элементов:
верхний уровень – системный определяет функционирование элемента в рамках системы. В военных системах – это воинский коллектив, объединённый в подразделения и входящий в качестве элемента в соединение, которое является для него суперсистемой. Например, отделения, входящие как элементы во взвод, взвода, входящие в состав роты;
средний уровень определяет внутреннее, внутрисистемное функционирование элемента. В военных элементах это профессиональное функционирование личного состава: умение
владеть оружием, воинской техникой (опыт, характеристики вооружения);нижний уровень определяет характеристики основы, на которой построен элемент. Для воинских систем – это параметры личного состава: физические кондиции, профессиональные, морально-нравственные и образовательные показатели.
Таким образом, можно считать, что и элемент социальной системы часто представляет собой достаточно сложную, иерархическую структуру. Сложность структуры и состав отдельных уровней различны, но, практически, характеристики элементов должны содержать три уровня: системный, функциональный и базисный. В систему элемент входит через системный уровень.
Понятие системы в настоящее время является наиболее противоречивым, особенно в прикладных дисциплинах: химическая, биологическая, экологическая, военная системы и ряд других.
С целью общности воспользуемся определением системы, принятым в современной математике и введённым немецким математиком Г. Кантором, понятием множества. Система – это множество объектов, элементов вместе с отношениями между ними и их свойством.
Отношения определяются связями, причем как структурой этих связей, так и их характером. Принято считать, что элемент является наименьшей единицей системы, но в некоторых случаях элементы могут быть достаточно большими объектами в зависимости от того, что принимается в основу деления. Особенно это характерно для силовых структур МВД, в которых объекты могут быть одновременно системой и элементом в зависимости от масштаба.
Система может состоять из подсистем, т.е. из частей системы, которые обладают определённой автономностью. Подсистемы связаны между собой определёнными отношениями: субординацией и координацией. В первом случае подсистемы организуют структуры из разных уровней иерархии. Во втором случае подсистемы находятся на одном уровне.
Силовая система состоит из двух подсистем; как система с управлением:
объекта управления, личного состава подразделения. Эта подсистема является нижним уровнем иерархии силовой системы; подсистемы управления,
субъекта управления, командования (командира) подразделения. Это подсистема верхнего уровня.
Эти подсистемы различны по объёму и сложности в зависимости от масштаба военной системы: от отделения, взвода до воинской части и соединения войск.
Структуру силовой (военной) системы определяют директивные документы: приказы, уставы, положения. Это – организационная структура, которая трансформируется на время выполнения оперативных заданий во временную функциональную структуру оперативного соединения, части. Последняя характеризуется большим числом связей. Части временной структуры, т. е. подсистемы выполняют функции, определённые планом проведения оперативных мероприятий.
Силовая система находится в контакте с внешней средой, в качестве которой могут рассматриваться противник, метеоусловия и т.д.
Системный подход применяется при формулировке задач, которые решают при конкретных условиях:
Цель, которая должна быть достигнута в решаемой задаче.
Критерий эффективности, с помощью которого оценивается полное решение или отдельные его этапы.
Ресурсы, используемые при решении, перечень и диапазон их изменения.
Ограничения, которые определяют диапазон параметров, характеризующих полученное решение.
При решении задачи системного анализа необходимо определить и исследовать свойства и характеристики большого объекта, который материально задан в виде комплекса данных, полученных путём непосредственного измерения.
Предполагается, что исследования ведутся активно и экспериментальные данные могут быть получены в различных условиях и диапазонах измерения. Следовательно, полученные результаты могут быть отнесены к соответствующим ситуациям. Все результаты должны в совокупности охватить всю необходимую область исследования. Поэтому цели и критерии, используемые в частных исследованиях, должны однозначно определять основные, глобальные цели и критерии. Одновременно должны выполняться ограничения на диапазон исследования и величины используемых ресурсов.
Например, предметом изучения являются воинские подразделения противника с точки зрения организации наших наступательных действий. Глобальная цель исследования может быть декомпозирована на ряд локальных целей как по времени, так в пространстве. Изучается расположение и диапазон пополнений войсковых подразделений, групп специального назначения и прочих. Все эти последовательные данные оцениваются с определённой степенью достоверности. Все разведывательные операции осуществляются при использовании штатных средств, но, если это необходимо, то используются средства разведки вышестоящих уровней военного управления. Принятый подход позволит получить в системном виде разведывательные данные и динамику изменения состояния и расположения объединений личного состава, боевой техники и огневых средств. Анализ элементов и структуры разведывательных данных и их временных изменений даёт возможность сделать выводы об ожидаемых действиях противника (бандитских формирований).
При использовании системного подхода в решении задачи синтеза большого объекта необходимо в рамках допустимых ресурсов и ограничений достичь заданной цели с оптимальной величиной критерия эффективности. В первую очередь системный подход применяется при синтезе силовой системы, т.е. при подготовке к выполнению определённых оперативных действий: наступательных или оборонительных операций.
Системный подход – это методология решения проблем, т.е. обоснованный подход к исследуемым проблемам при использовании существующих методов их решения. Это реализуется сочетанием математических и эвристических подходов при высокой квалификации исследователя. В настоящее время, вследствие интенсивного внедрения ЭВМ и специализированного программного обеспечения, в ряде отраслей прикладной науки системный подход используется в решении технических проблем, например, при разработке и конструировании автомобильной и авиационной техники. При этом используются только те математические методы, применение которых в рамках поставленных проблем максимально автоматизировано. За человеком остается только запретно-разрешающие функции, т.е. проблемы решаются автоматически, полученные решения оптимальные и, следовательно, единственные.
Для решения задач с использованием системного подхода рекомендуется применять следующую последовательность операций, которая остается неизменной как в задачах синтеза, так и в задачах анализа конкретных систем.
Задача синтеза – это построение системы из множеств разнородных элементов.
Задача анализа – декомпозиция большой системы на составляющие элементы.
Цели задач синтеза и анализа различны и определяются конкретными требованиями решаемой прикладной задачи. Это может быть синтез силовой системы с целью подготовки к операции или анализ осуществленной операции.
Формулирование конечной цели решения задачи с применением системного подхода, т.е. какие конечные результаты должны быть получены: детерминированные или вероятностные. При этом необходимо учитывать, что в последующих действиях конечная цель будет разделена, декомпозирована на промежуточные, которые в сочетании образуют дерево целей, в основании которого будет находиться глобальная цель. Этот этап является основополагающим, так как он определяет направления и этапы всех последующих действий. Например, правильно сформулированная цель действий силовой системы будет определять подготовку системы и в конечном итоге эффективность результатов ее деятельности. При решении задачи синтеза дерево целей формируется как система, структура и элементы которой определяются путём экспертных оценок с учётом имеющихся средств реализации локальных целей. При решении задачи анализа дерево целей формируется в соответствии с методологией исследования и опытом исследования подобных систем.
Декомпозиция задачи производится на подзадачи и далее на более мелкие подзадачи в соответствии с глобальной целью и системой локальных целей. Анализ системы решений подзадач осуществляется с позиции локальных целей и критериев и их соответствия глобальным критериям и целям. В данном случае цели выступают как ограничения. В результате этого этапа осуществляется постановка решения задачи как анализа, так и синтеза. Например, синтез силовой системы для выполнения наступательной или оборонительной операций или анализ разведывательных данных с целью исследования обороны противника (бандитских формирований).
3. Математическое моделирование и разработка программного обеспечения выполняются для решения локальных задач синтеза или анализа. Этот этап чисто технический, но в связи с тем, что не всегда существуют типовые математические модели и необходимое программное обеспечение, для решения рассматриваемых задач допускается применение итерационных процедур разработки и уточнения операции каждого этапа. Полученные модели и разработанные программы обкатываются на ЭВМ, и результаты оцениваются с позиций как чисто вычислительных на ЭВМ, так и с позиций методологии системного подхода. В частности, с точки зрения выполнения условий единства, т.е. сохранения целостных представлений об исследуемой или синтезируемой системах, которые могут быть нарушены при декомпозиции исходной задачи на локальные.
4. Решение рассматриваемой задачи, оценка корректности решений в допустимых областях возможных ресурсов и ограничений.
5. Оценка полученных решений и принятие альтернативных вариантов, исследование принятых вариантов. В ряде случаев, когда результаты исследований принятых вариантов не соответствуют глобальным целям и критериям, появляется необходимость организации итеративной процедуры путём возврата к четвёртому или третьему этапам. Осуществляется коррекция модели и решения других вариантов в допустимых областях используемых ресурсов и ограничений.
1.2. Теоретическая системотехника
В этом разделе силовой системотехники изучаются общие проблемы методологии, состава, функционирования, управления, оценки эффективности. Это то, что часто называют системным подходом, точнее его непосредственной реализацией. В теоретическую системотехнику входят ряд подразделов.
Описание систем
Основные понятия и определения систем: элементы, состав, структура, функции. Системы, подсистемы, метасистемы (суперсистемы). Классификация и свойства систем. Теория систем: назначение, методология, основные задачи.
Описание систем: топологическое, информационное, в том числе количественное. Декомпозиция систем.
Общее определение: система – это ограниченное множество элементов «m», на которых реализованы заранее заданные отношения «R» с определёнными свойствами (взаимодействиями).
Ситуационные отношения
Отношения внутри системы, метасистемы, классификация ситуаций. Простые, сложные и вырожденные ситуации. Стохастические, игровые и конфликтные ситуации. Описание и модели, их расположение. Эволюция военных систем.
Эффективность в системах
Понятие эффективности системы. Функциональные и физические критерии измерения эффективности. Показатели качества систем и метасистем. Эффективность подсистем и показатели качества. Потенциальная эффективность, изменение эффективности во времени, развитие и деградация систем. Целевые функции. Взаимосвязь систем с метасистемой. Возможные варианты отношений: субординация, доминирование и т.д. Возможные конфликты: на одном уровне, в иерархии.
Моделирование систем
Методика и средства моделирования систем. Общая методика моделирования, теоретическое моделирование. Вероятностное, сценарное моделирование, организация, интерпретация моделей военных систем. Значение экспериментов и их использование при моделировании. Использование моделей в различных отраслях науки и техники.
Оптимизация систем
Теоретическая основа оптимизации систем – раздел математики, математическое программирование. Состав задачи оптимизации силовых систем: критерии, ограничения, методы, программы. Возможные варианты: одно и многокритериальные задачи оптимизации. Оптимизация как один из путей поиска вариантов решений, многокритериальная оптимизация военных систем. Возможные свертки критериев в зависимости от условий принятия решений в организационном и функциональном управлении силовыми системами.
Принятие решений
Принятие решений: выбор альтернатив, оптимизация по Парето, функции полезности, выбора в управленческих вопросах. Принятие решений на основе исследования операций, состав метода: идентификация объектов, формирование критериев, моделей, решение задач в управлении силовыми системами. Конфликтные ситуации, компромиссные решения.
Управление в системотехнике
Взаимосвязь методов кибернетики и системного подхода. Виды управления: программное, централизованное и децентрализованное. Рефлексивное управление, его применение в военном деле в конфликтных ситуациях. Адаптивное управление. Управление в сложных многоуровневых силовых системах.
1.3. Оперативная системотехника
Описание группировок
Группировка сил и средств – это система, которая объединяет и связывает в единое целое входящие в неё элементы (подразделения). Свойства силовой группировки определяются следующими показателями:
оперативность, т. е. способность быстро реагировать на изменение обстановки (характеризуется временем реализации решений). Оперативность зависит от числа промежуточных элементов и скорости прохождения информации. В зависимости от цели создаются силовые группировки с различной оперативностью;
централизация определяется средним числом элементов связей от центра управления до каждой позиции по кратчайшему пути, отношением числа связей с периферийными элементами к общему числу связей. Чем выше показатель централизации, тем выше управляемость системы;
периферийность определяет топологические свойства группировки – дислокацию. Количественно определяется числом элементов, находящихся за определенной границей, внутри которой находится центр. Связи также рассматриваются как элементы. Обычно, чем выше периферийность, тем эффективнее группировка.
живучесть – способность сохранять свои свойства при разрушении части структуры. Показатель определяется отношением числа уничтоженных элементов к общему числу, при котором эффективность группировки не снизится ниже определенного порога;
объем группировки определяется количеством личного состава, боевой техники и инженерного обеспечения.
Описание боевых действий
Методы описаний. Игровое и конфликтное описание. Учёт периферийности. Динамика боевых действий. Упрощенные модели боевых действий. Включение в математическое описание качественных показателей. Исследование операций. Состав: модели противоборствующих сторон и модель их взаимодействия.
Принятие оперативных решений
Методика подготовки и принятия боевых решений. Технология принятия и реализации решений. Использование ЭВМ, АСУ в вооруженных силах: АСУ вооружением, общевойсковые АСУ. Принятие оперативных решений в ОМОН и внутренних войсках при выполнении служебно-боевых задач. Оно осуществляется в несколько этапов:
факторизация, выделение главных факторов, остальная информация временно или окончательно отбрасывается. Недостаток информации дополняется опытными данными (эксперты);
распознавание ситуации путём сопоставления факторов между собой и с факторами, которые были известны ранее, с целью идентификации ситуации;
выработка вариантов решений на основе прогнозирования ситуаций в соответствии с предвиденным ходом изменения факторов;
выработка вариантов решений на основе количественной их оценки с помощью соответствующих критериев;
заключительный этап – выбор из полученного множества решений наиболее оптимального.
Все перечисленные выше этапы повторяются, т. к. процесс принятия решения является итерационным.
1.4. Организационная системотехника
Задачей организационной системотехники является изучение поведения и деятельности людей в силовых системах.
Описание организаций
Методы описания силовых организаций, топологические и математические модели. Структура связи, отношения между элементами и подсистемами организации. Распределение функций. Критерии эффективности. Зависимость структуры силовых организаций от поставленных задач. Особенности ОМОН и внутренних войск при построении организации как силовых соединений, находящихся в постоянной оперативной и боевой готовности и выполняющих повседневные служебно-боевые задачи.
Социальная психология
Основы психологии милицейских и воинских коллективов. Социальные и морально-психологические факторы. Формирование отношений в коллективе. Лидерство и конфликты. Формирование коллектива. Функции управления и мотивация. Оценка эффективности.
Принятие организационных решений
Свойства организационного решения. Методы и свойства подготовки организационного решения. Коллективное обсуждение и принятие решения. Доведение решений до исполнителей и контроль за их выполнением. Распределение функций в принятии решений.
Планирование
Роль и содержание планирования. Структура планирования. Планирование основных видов деятельности: боевой подготовки, боевых действий, снабжения. Методы, средства, основные этапы планирования. Автоматизация планирования. Планирование в ОМОН и внутренних войсках.
Управление организацией
Сущность системного управления: иерархичность, многокритериальность, оптимальность. Оценка качеств управления. Синтез группировок с позиций организации оптимального управления АСУ современных вооруженных сил государства.
1.5. Основные
положения и методология
силовой
кибернетики в системе МВД
Кибернетика – наука об управлении, получении, передаче и обработке информации в кибернетических системах. Под кибернетическими системами (системами управления) понимают системы любой природы – технические, биологические, экономические, социальные, военные, административные.
Впервые, сто пятьдесят лет назад, французский физик и математик Ампер в своей обзорной работе «Очерки по философии наук», где была выполнена систематизация всех отраслей научных знаний, под номером 83 предложил поместить науку об управлении обществом. Ампер назвал ее кибернетикой, исходя из греческого термина «кибернетес», что означает понятие «рулевой», кормчий. В 1843 году был опубликован труд Б. Трентовского «Отношение философии к кибернетике как управлению народом». В дальнейшем, в 1948 году термин кибернетика был использован американским математиком Норбертом Винером, который опубликовал книгу «Кибернетика, или управление и связь в животном и машине».
Силовая кибернетическая система представляет собой сложный комплекс, в который входят: личный состав, штатное и приданное вооружение, боевая техника. Структурная организация определяется масштабом подразделения – это, как правило, линейная или линейно-штабная структуры. В некоторых подразделениях возможно функциональное дополнение, связанное с наличием в подразделениях технических или других специальных средств. Управление деятельностью подразделений, как силовой кибернетической системой, осуществляется командирами. Основным определяющим элементом силовой системы является личный состав, который выступает как системообразующий фактор. Командование является функциональным фактором, обеспечивающим целенаправленную деятельность силовой кибернетической системы. Очевидно, что силовая система относится к сложным системам, т. к. в ней основным и определяющим фактором, как и в любой социальной системе, является положение о неоднозначном и сложном поведении людей, формирующих личный состав системы. Административно-организационная структура силовых подразделений определяется уставом. Рассмотрим основное подразделение любой силовой системы – взвод. Принято считать во всем мире: «воюют солдаты»! Структурную схему мотострелкового взвода как кибернетической системы можно представить в следующем виде:

Рис.
1.1. Структурная схема мотострелкового
взвода
как кибернетического объекта
Условные обозначения:
Л>с1>, Л>с2>, Л>с3 >– личный состав отделений;
К>01>, К>02>, К>03> – командиры отделений;
К>в >– командир взвода;
Х>в>,
Х>1>,
Х>2>,
Х>3>
– комплексные величины, характеризующие
боеспособность, боевые действия взвода
и его отделений: Х>в>
= Х>1
>+
+
Х>2>
+ Х>3>;
m>1>, m>2>, m>3> – управляющие воздействия, распоряжения командиров отделений личному составу отделений Л>с1>, Л>с2>, Л>с3>;
U>1>, U>2>, U>3> – команды, директивные воздействия, указания командира взвода командирам отделений К>01>, К>02>, К>03>;
Z>1>, Z>2>, Z>3> – обратная связь, информация о состоянии личного состава отделений: текущая информация и сведения о эффективности выполнения конкретных распоряжений командиров;
S>1>, S>2>, S>3> – обратная связь, информация командиру взвода из отделений;
1>уо>, 2>ув>, 3>ур> – уровни управления: отделений – 1>уо>, взвода – 2>ув>, роты – 3>ур>;
К>р1>, К>р2>, К>р3> – координационные связи на первом уровне 1>уо >между отдельными командирами;
U>р> – директивные указания, команды из роты во взвод;
S>в> – обратная связь, информация о взводе, функционально собираемая командиром взвода.
Всего в структуре взвода как кибернетического объекта:
элементов 7: системообразующих – 3, функциональных – 4;
связей 14: системообразующих – 7, обратных – 7;
уровней управления 3: отделение, взвод, рота.
В структуре взвода как в кибернетической системе можно отметить следующие особенности, присущие сложной, высокоразвитой системе:
все элементы системы как системообразующие Л>с1>, Л>с2>, Л>с3>, так и функциональные К>01>, К>02>, К>03>, К>в >связаны между собой прямыми, системообразующими связями: U>р>, U>1>, U>2>, U>3>; m>1>, m>2>, m>3> и обратными, функциональными: S>1>, S>2>, S>3>, Z>1>, Z>2>, Z>3>, S>В>; количество обратных связей равно числу прямых связей, что свидетельствует о замкнутости управленческих циклов;
управление организовано по иерархическому принципу, т. к. содержит три уровня управления: 1>у> – уровень отделения, 2>н> – уровень взвода, 3>у> – уровень роты. На 1-м уровне 1>у> возможны координационные связи, частично показанные – К>р1>, К>р2>.
оптимальность функционирования взвода, как боевого подразделения зависит от эффективности работы системообразующих: Л>с1>, Л>с2>, Л>с3> и функциональных элементов К>01>, К>02>, К>03>, К>в>, что в конечном итоге оптимизирует прямые и обратные связи в структуре взвода как военной системы: m>1>, m>2>, m>3>, U>р>, U>1>, U>2>, U>3>, S>1>, S>2>, S>3>, Z>1>, Z>2>, Z>3>, S>В>.
Очевидно, что чем выше подготовленность элементов силовой системы, тем эффективнее она функционирует в рамках своей метасистемы – силового подразделения более высокого ранга. Основой функционирования силовой системы является оптимальное функционирование элементов нижнего уровня – отделений. Поэтому опорой личного состава вооруженных сил являются командиры первого нижнего уровня. Неслучайно в вооруженных силах зарубежных армий уделяется большое внимание в подготовке сержантского состава как основы профессиональной армии.
В МВД государства в качестве объектов управления выступают: строевое (боевое) подразделение отдельные службы, т. е. кибернетика состоит из двух видов: технической и социальной. Силовой объект управления является агрегированным объектом, поэтому и силовая (военная) кибернетика является агрегированной областью знаний.
Можно перечислить основные задачи, решаемые военной кибернетикой:
Управление обучением личного состава.
Управление в условиях повседневной деятельности.
Управление при выполнении штатных служебно-боевых действий в соответствии с конкретными планами и сложившейся ситуацией.
Организационно-административное управление: МВД, ГУВД, ГУКВВ, округа, воинские части.
Управление боевыми действиями при защите территории РФ (в том числе целостности РФ).
В технических службах МВД имеют место задачи:
Управление боевыми машинами – установками как техническими объектами.
Управление отдельными боевыми машинами на марше, в боевых условиях.
Управление боевой техникой в условиях боя во взаимодействии с другими родами войсковых соединений.
Задачи управления можно разделить на организационные, связанные с функционированием военной системы, и на системные, обеспечивающие непосредственное управление служебно-боевыми действиями.
1.6. Основные законы управления
Управление – это процесс воздействия на объект с целью достижения заданного состояния при выполнении установленных условий и ограничений. Основное требование к объекту управления – управляемость.
Процесс управления характеризуется целью и критерием управления. Как было отмечено ранее, эти характеристики устанавливаются в соответствии с требованиями метасистемы, субъектом управления или другим путем. Цель управления и критерий определяются видом задачи управления и метасистемой, т.е. метасистема воздействует на выбор вида критерия в каждой задаче. Это реализация условий иерархичности в соответствующих областях военного управления.
Реализация процессов управления связана с возможностью, ресурсами управляющего устройства. Ограниченность ресурсов или, в некоторых случаях, ограничения в условиях функционирования объекта управляемой системы устанавливают ограничения.
Ограничения могут быть позиционными и функциональными. Позиционные – это ограничения на допустимую величину управляющих воздействий или выходных величин М Р>доп> и Х Х>доп>. Функциональное ограничение определяется формулами, связывающими выходную величину Х или управляющее воздействие М с другими переменными времени.
Задача стабилизации
Из произвольного состояния объект управления необходимо перевести в заданное состояние, при этом критерий управления, характеризующий процесс управления должен быть оптимальным.

Рис. 1.2. Графики задачи стабилизации
Цель процесса управления при этом – стабилизация объекта в заданном состоянии. Такое управление иногда называют регулированием.
Критерий управления К>с> характеризует движение, траекторию объекта из произвольного в заданное состояние.
Это динамическая задача, так как процесс управления осуществляется во времени. Критерий управления может содержать время в качестве одной из величин, характеризующих переходный процесс. В некоторых объектах имеет место запаздывание, которое определяется временем прохождения F или управления Х через объект. >0> – время запаздывания. Это время необходимо учитывать при синтезе алгоритма управления объектом.
Очевидно,
что из двух графиков процессов управления
1 и 2 наиболее оптимальным является 1,
т.к. в этом процессе отклонения управляемой
величины от заданного значения Х>1
>и
время регулирования Т>р1
>меньше,
чем во втором процессе (кривая 2)
Т>р2>
> Т>р1>
и Х>2
>>
Х>1>;
К>1опт
>>
К>2опт>.
Кривая 3 характеризует процесс управления объекта с запаздыванием. Изменение выходной величины начинается по истечении времени запаздывания >0>, после начала возмущения >пр >практически все реальные объекты управления обладают запаздыванием, что усложняет синтез и реализацию алгоритма управления таким объектом.
Рассмотренный закон управления очень широко применяется при стабилизации самых разнообразных объектов.
Задача программного управления
Цель управления – перевести объект из одного известного состояния в другое, заданное.
Иногда такие задачи управления называют задачами с закрепленными концами.

Рис. 1.3. График задачи программного управления:
А – начальное состояние объекта; В – конечное заданное состояние объекта; АВ – оптимальная траектория движения объекта
Критерий управления К – оптимизация траекторий: времени перевода, необходимых ресурсов управления.
В силовых системах – это задачи управления марш-бросками и рейдами подразделений. В транспортных задачах – это оптимизация перевозок.
Кривая АВ может быть оптимальной по времени траекторий, если во время движения объекта.
Т>g> = К>оп > min, где Т>кон> – Т >нач >= Т>g>.
Такая система управления называется системой оптимальной по быстродействию.
Задача оптимизации
Необходимо определить управляющие воздействия или значение выходной величины Х, которые обеспечили бы экстремальные значения критерия оптимальности, т.е. при которых объект принимает необходимое экстремальное состояние. В этой задаче управления цель и критерий называют целевой функцией – К>ц>.
В некоторых задачах необходимо найти такие состояния объекта, которые соответствовали бы экстремуму 2-х и более критериев. Такие задачи называют многокритериальными. Ввиду того, что объект один, а состояний, которые он должен принять, несколько, то решают компромиссную задачу оптимизации и находят такое состояние объекта, которое удовлетворяло бы всем критериям частично. Это осуществляется путём формирования специального компромиссного критерия, в котором учитываются все критерии.
В силовых системах это – задача оптимизации огневого воздействия при поступлении, оптимизации процессов тренировок, обучения. Все решаемые задачи должны достичь решения как оптимальные – это основное требование практической реальности.
Реализация законов управления
Как правило, применение законов осуществляется в следующей последовательности:
1. Осуществляется решение задачи оптимизации, в результате которого определяется оптимальное состояние объекта, а также величины управляющих воздействий и необходимых ресурсов. Определяются оптимальные значения выходных величин, которые соответствуют оптимальному состоянию объекта и могут быть использованы при контроле в дальнейших процессах управления.
2. Решается задача программного управления, т. е. перевода управляемого объекта из текущего состояния в найденное оптимальное.
3. Стабилизация объекта в оптимальном состоянии. При этом в качестве основных значений выходных величин используются оптимальные значения, полученные в задаче оптимизации.
Цели управления в каждом случае соответствуют задаче. Критерии и ограничения определяются возможностями систем управления и управляющих объектов.
Состав систем управления
В кибернетическую систему, т.е. в систему управления, входят объект управления и управляющее устройство (в социальных системах – субъект управления), реализующее алгоритм управления, обеспечивающий эффективное функционирование систем управления.
Объект управления может быть различной природы: техническим, социальным, военным и другим по природе, но он должен обладать основным необходимым свойством – свойством управляемости. Управляемость – это свойство объекта, когда среди множества управляющих воздействий на объект имеется такое, которое позволяет достичь цели управления.
Управляющее устройство (субъект управления) – это автоматическое устройство или человек-оператор (офицер), осуществляющий воздействие на объект в процессе управления.
Процесс управления характеризуется целью и критерием эффективности управления, они задаются верхним (вышестоящим) уровнем управления, в который в качестве элемента нижнего уровня входит рассматриваемая система.
В некоторых случаях критерий и цель задаются субъектом управления в соответствии с необходимыми траекториями.

Рис. 1.4. Типовая система управления с замкнутым контуром
Up = f (X, Ug, F).
В состав системы входят:
ОУ – объект управления;
СУ – субъект управления (управляющее устройство);
ЭС – элемент сравнения, сравнивающее текущее значение параметра Х с директивным заданием Ug и учитывающий влияние возмущений F внешней среды.
1.7.
Принципы управления
– практические
методы реализации
СВУ – система управления верхнего уровня командования, метасистема, формирующее директивное задание Ug, в соответствии с текущей ситуацией и указаниями Uг системы управления верхних уровней иерархии;
F – возмущающее воздействие внешней среды, противника, разведданные;
Х – выходная комплексная величина, характеризующая состояние объекта ОУ;
М – управляющее воздействие на объект ОУ, изменяющее его состояние, т.е. Х;
Up – задающее воздействие на устройство управления УУ;
Ug, Uг – директивные воздействия, система управления верхнего уровня СВУ и других в соответствии иерархией управления.
Различают технические, экономические и социальные системы управления.
В технических системах объектами управления являются процессы в аппаратах, агрегатах, машинах. Иногда объектом может быть непосредственно сам аппарат, агрегат, машина.
В экономике объектом может быть процесс производства товара, финансовые операции, операции маркетинга и т.д.
В социальных системах объектом могут быть производственные и воинские коллективы на предприятиях, офисах или в силовых подразделениях. При государственном или административном управлении объектом управления является социальная общность – люди, проживающие в определённом административном районе.
В военных системах в качестве объекта управления ОУ выступает воинский коллектив в подразделениях, личный состав в части, и боевое подразделение в МВД.
СУ –командование подразделения;
СВУ, ЭС – командование штаба верхнего уровня непосредственно или функционально осуществляющее управление;
Х – комплексная величина, характеризующая боеспособность или, в процессе выполнения служебно-боевых действий, интенсивность боевых операций;
М – управление (управляющее воздействие) личным составом: при организационном управлении – тренировки, упражнения, выполнение требований устава, а при служебно-боевых действиях – управление этими действиями;
ОС – обратная связь – воздействие результатов функционирования на характер этого функционирования. Принцип обратной связи является важнейшим общим понятием кибернетики, он используется в кибернетических системах различной физической природы. В зависимости от действий различают положительную и отрицательную обратную связь. Чем больше эффект действия обратной связи, тем больше устойчивость и эффект действия кибернетической системы. Обратная связь – это реализация управляющих структур, работающих в замкнутом контуре, в которых воздействие управляющего устройства осуществляется в соответствие с результатом предыдущего воздействия.
Обратная связь – это основа кибернетических управляющих систем в технике, биологии, социологии и в том числе в военных системах. Без обратной связи не могли бы существовать большинство систем управления в перечисленных областях управления.
Принципы управления – это идеи управленческой деятельности, имеющие своей основой закономерности и концентрированный опыт, накопленный в области управления. Такое понятие – принцип управления – возникло в связи с тем, что большая часть задач управления в социальных системах, к которым относятся силовые системы, до настоящего времени мало формализована, и поэтому невозможно использовать для их решения математические методы кибернетики.
Прагматические методы, сформированные в результате субъективного и объективного анализа современной теории и практики управления социально-экономическими и силовыми системами, обобщаются в виде принципов управления. Эти принципы могут быть использованы непосредственно в процессе управленческой деятельности и при разработке соответствующих наставлений, уставов и инструкций для участников управления, а также при создании систем организационного управления.
Эти принципы управления социальными и силовыми системами учитывают особенности управления данными объектами, которые заключаются в том, что при управлении большое значение имеет человеческий фактор, составляющий основу систем управления как в социологии, так и в военном деле. Это менеджеры, чиновники, командиры – управленцы с одной стороны, трудовые коллективы, социальные группы и личный состав воинских подразделений – с другой стороны.
Реальные системы управления развиваются, совершенствуются, в них возрастает упорядоченность, оптимизируются отдельные элементы и структура системы в целом. Источником этого процесса являются внутренние противоречия (хаос), которые преодолеваются в процессе управления. Некоторые управленческие решения имеют своей целью совершенствование как системы управления, так и объекта управления, что, естественно приводит к положительной эволюции системы управления.
Оптимизация в системе управления приводит к эффективности (гарантированной) системы управления. Оптимизация обязательно приводит к уменьшению сложности, т.е. к новой структурной реализации управленческих решений и систем управления. Наиболее эффективным методом оптимизации является использование математических методов оптимизации – математического программирования. Полученные по данному методу решения – единственные и оптимальные, т. е. структура и функциональная реализация будут оптимальны. Этот вопрос частично рассматривается в разделе оптимизации управленческого цикла.
Принцип оптимизации особенно эффективен для организационного управления. Это связано с тем, что в этой области гораздо меньше правовых ограничений. Это оптимальные методики обучения, тренировок.
Другим обязательным принципом является принцип правовой защищенности, который определяет правовые рамки существования систем управления и принятия (формирования) объема и характера управленческих решений. Этот принцип особенно существенен для силовых структур государства, т.к. силовые системы существуют в рамках специальных нормативно-правовых ограничений, которые определяют все основные положения существования и принципы управления боевыми подразделениями государств:
цели и методы использования боевых подразделений;
организация силовых структур и формирование положений управления;
правовые ограничения на приказы и распоряжения командиров, т.е. на характер возможных управляющих воздействий.
В качестве правовых ограничений, формирующих правовое поле функционирования ОМОН и внутренних войск, выступают следующие государственные акты:
Конституция РФ.
Федеральный закон о воинской обязанности и военной службе.
Федеральный закон о внутренних войсках.
Федеральный закон о статусе военнослужащих.
Уставы и наставления.
Закон о милиции.
Эти правовые акты являются обязательными, и их нарушение рассматривается как уголовное преступление или правонарушение.
1.8. Организационные принципы
Рассмотренные выше принципы оптимальности и правовой защищенности являются общеполагающими, т.к. они устанавливают общие положения эффективности управления и правовых ограничений. Ниже будут рассмотрены принципы организационного управления в военных системах.
Принцип единоначалия и коллегиальности
Содержание этого принципа заключается в том, что командир наделяется всей полнотой распорядительной власти по отношению к подчинённым и несёт полную ответственность за все этапы деятельности. Командир может вынести часть вопросов, связанных со своей деятельностью на коллективное обсуждение с опытными специалистами. Реализация принятых решений является обязанностью и прерогативой командира.
Принцип немедленного замещения командира
В случае нарушения управления вследствие временного отсутствия командира или при выходе из строя необходимо осуществить немедленную его замену. Заместители командира должны быть в достаточной степени информированы об обстановке, чтобы иметь возможность немедленно принять управление на себя. Система управления должна быть постоянно готова к функционированию на основе взаимозаменяемости и дублирования личного состава и техники управления.
Принцип оперативности управления
Соблюдение этого принципа означает для командования способность и требование решать задачи управления подразделением в режиме временного упреждения противника (антиципации), быстро реагировать на изменение обстановки и своевременно влиять на ход выполнения служебно-боевых задач.
Для реализации требований данного принципа необходимо сочетать требования высокой боевой готовности личного состава подразделения и минимизации времени реализации командованием цикла управления, состоящего из отмеченных выше этапов управления.
Принцип
соответствия степени
детализации
информации
В зависимости от уровня управления и направления движения оперативной информации необходимо осуществлять ее обработку. Чем выше уровень управления, тем более крупными категориями и положениями в соответствии с масштабами работ должна быть представлена информация.
Директивная, командная информация при движении сверху вниз должна детализироваться, уясняться на каждом уровне управления.
Принцип
единства и согласования целей
и
критериев управления
Этот принцип реализуется тогда, когда из общего дерева целей вытекают конкретные локальные цели и критерии, которые не должны быть в противоречии между собой. Например, цели и задачи роты и взводов, батальона и рот. Необходимо рассматривать этот вопрос, исходя из положений согласования решений, целей и критериев управления в многоуровневых системах управления. Более подробно этот вопрос будет рассматриваться в дальнейшем.
Принцип децентрализации управления
При децентрализации необходимо возложить на командиров оперативное управление служебно-боевой деятельностью тогда, когда имеет место территориальная разобщенность подразделений. Децентрализация эффективна, если на низших уровнях можно принимать решения, не требующие координации и согласования с руководством.
При децентрализации командир делегирует часть своих полномочий заместителям, но при этом должен оставлять за собой право принять решения и осуществлять руководство. Реализацию принятых решений можно передать заместителям.
Принцип системности
Его реализация заключается в достаточно полном охвате всех важных сторон деятельности и управления силовой системой с детальной переработкой всех составляющих в их взаимосвязи и взаимодействии. Задача управления декомпозируется на отдельные составляющие. Решение осуществляется параллельно с согласованием отдельных этапов.
Принцип сохранения пропорциональности
В системе организационного управления это означает сохранение соотношения между создаваемыми и ликвидируемыми элементами. Особенно это актуально во временных структурах управления. К этому принципу примыкает так называемая норма управляемости, которая определяет количество объектов управления, замыкающихся на один субъект управления.
В первую очередь
этот принцип касается действий и решений
командиров при оперативном создании
временных военных структур в процессе
ликвидации нарушений общественного
порядка, расследования преступлений,
преследования нарушителей и т.д. В этих
случаях подразделение может временно
структурно организационно перестроить,
расформировать и одновременно с этим
мероприятием создать временную
оперативную структуру управления.
Выполнение перечисленных принципов управления повышает эффект практической деятельности. Их содержание соответствует объективным законам управления и должно соответствовать их научности. Вся сумма принципов управления отображает совокупность объективных законов управления. В последующем реализация этих принципов станет основными правилами управленческой деятельности.
Линейная структура
Для реализации основного положения командования в военных системах – единоначалия – рассматриваемая структура является основной.
Рассмотрим типовую структуру взвода.
На рисунке 1.5 показана данная структура.
В структуре три уровня, отношения между уровнями – субординационные. Условия этой связи должны быть установлены командиром.
Достоинства и недостатки:
оперативность принятия и реализации управленческих решений;
простота подбора командиров каждого уровня;
ограниченность в управленческих решениях при изменении обстановки;
область применения определяется численностью личного состава в 200–300 человек.
Подсистема управления 3-уровневая иерархическая.
Рис.1.5 Система управления взводом:
К>в> – командир взвода; К>01>, К>02>, К>03> – командиры отделений; Л>с1>, Л>с2>, Л>с3> – личный состав 1, 2, 3 отделений; U>p> – распоряжения, команды командира роты; Х>1в> – комплексный показатель эффекта действия взвода; А>1В> – условный оператор преобразования взводом распоряжения командира роты U>h >в комплексный показатель Х>1d>
1.9. Математическое
моделирование процессов управления
ОМОН, СОБР и внутренними войсками МВД
РФ
В настоящее время можно выделить три группы задач управления во внутренних войсках и ОМОН:
1. Управление личным составом, управление воинским коллективом, социально-экономическое управление.
2. Управление повседневной деятельностью подразделений в штатных условиях.
3. Управление служебно-боевыми действиями.
Перечисленные задачи управления могут быть решены на современном уровне при наличии математического обеспечения в виде математических методов решения, математических моделей объектов, их функционирования и синтеза оптимальных алгоритмов. Рассмотрим состав математических моделей и методов решения перечисленных задач управления.
Первая группа задач состоит из типовых задач управления социальными коллективами: организационное управление при формировании личного состава подразделений; обучение воинской профессии; функциональное управление воинским коллективом.
Административно-экономические
задачи управления в силовых системах
в настоящее время разработаны достаточно
хорошо. Примером может быть АСУ ВВ, в
которой рассматриваются все основные
задачи административно-экономического
управления внутренними войсками. Это
связано с тем, что в настоящее время
большинство систем управления в разных
отраслях науки, техники, экономики и
социальной сферы используют ЭВМ с
необходимым комплексом
программно-математического обеспечения.
Для решения перечисленных выше задач в настоящее время начинаются работы в области математического моделирования для создания математического обеспечения решения соответствующих задач управления. Для этой цели могут быть описания соответствующих процессов обучения, воспитания и т.д. в форме уравнений статики: алгебраических уравнений и временных трендов. В редких случаях это могут быть дифференциальные временные уравнения.
Вторая группа задач – это деятельность в штатных условиях службы, которая регламентируется уставами, служебными инструкциями, наставлениями. Также как и в предыдущем случае математические модели – это алгебраические уравнения и временные тренды, но более часто это дифференциальные временные уравнения. В этой группе задач динамических процессов гораздо больше по сравнению с первой группой, так как это могут быть учения, маневры, действия по охране государственных объектов. Все эти действия происходят во времени, поскольку имеют место перемещения личного состава, изменения интенсивности боевого соприкосновения с нарушителями.
Третья группа задач – это динамические задачи боевых действий с противником. Имеются в виду крупномасштабные действия, в которых участвуют большие воинские соединения. Это сложные математические модели, состоящие из нескольких групп уравнений, которые описывают действия своих войск, противника, условия их боевого взаимодействия. Так для описания одного большого подразделения на уровне полка такая модель состоит из нескольких десятков уравнений. Это математическое описание обеспечивает решение планируемой операции, а по результатам начального этапа боевых действий осуществляется повторное решение задачи управления для новых условий. Полученные решения используются в качестве руководящих указаний для продолжения операции. Такой подход позволяет осуществлять непосредственное оптимальное оперативное управление, т. к. полученные решения на ЭВМ являются единственными в смысле использованного критерия оптимальности. Интервал между отдельными решениями может быть достаточно мал, поэтому полученные решения, используемые в качестве указаний по управлению боем, будут высоко оперативными. Подобный подход используется в зарубежных армиях и обеспечивает высокую эффективность.
С целью общности рассматриваемой темы в дальнейшем будет рассмотрена теоретико-множественная модель силового (боевого) подразделения как объекта управления.
ГЛАВА 2.
НЕКОТОРЫЕ ОБЩИЕ ПОЛОЖЕНИЯ,
КАСАЮЩИЕСЯ
ФУНКЦИЙ УПРАВЛЕНИЯ И УЧАСТНИКОВ
УПРАВЛЕНИЯ В БОЕВОЙ ОБСТАНОВКЕ
Управленческая деятельность наряду с такими категориями как «личность», «коллектив» является центральной категорией как в психологической науке, так и в кибернетике. В самом общем смысле деятельность – это активность человека и коллектива, направленная на достижение сознательно поставленных целей, связанных с удовлетворением его потребностей, на выполнение требований к нему со стороны общества.
Структурно деятельность включает ряд элементов: действия, операции, боевая деятельность.
Действия – это единица деятельности, произвольная, преднамеренная, опосредованная активность, направленная на достижение осознанной цели. Так, деятельность воина в бою складывается из совокупности действий по достижению конкретных, частных целей: перебежка, переползание, ведение огня, метание гранат, схватка с врагом, достижение намеченного рубежа, поражение цели, врага.
Операции – способы выполнения действий, определяемые условиями наличной (внешней или внутренней) ситуации. Так, стрелок ведет огонь лежа, стоя, с колена, с ходу. Способ выполнения действия – ведение огня – это и есть операция.
Люди участвуют в разнообразных видах деятельности. Вооруженная защита от агрессии диктует необходимость такого вида общественно значимой деятельности, как боевая (воинская) деятельность.
Воинская деятельность в МВД – общественно необходимый, глубоко осознанный процесс выполнения военнослужащими внутренних войск и бойцами ОМОН задач по обеспечению вооруженной защиты страны от преступности и агрессии. По своей социальной сущности воинская деятельность представляет собой социально ориентированный процесс активного воздействия военнослужащих на противника с помощью всех средств вооруженной борьбы или принуждения его к прекращению сопротивления, либо в целях предупреждения агрессии.
Боевая деятельность во внутренних войсках МВД России и ОМОН сложна и многообразна. Сюда входят различные виды военно-профессиональной и специальной деятельности. Одни из них определяются видами оружия и боевой техники, другие выделяются на основе разделения функций по подготовке и ведению боя. Кроме того, выделяются виды воинской деятельности и по вертикали: командная, штабная, инженерно-техническая, военно-педагогическая и др.
Все воины внутренних войск и бойцы ОМОН МВД России включены в следующие виды воинской деятельности: боевую (ведение боя), военно-учебную, военно-служебную, общественную, хозяйственно-бытовую. Все они имеют свою специфику.
Основным, ведущим видом воинской деятельности является боевая. Ей подчинены все остальные виды. Она имеет место только в условиях войны или при проведении специальных операций, в бою. В данном исследовании боевая деятельность принимается как комплексная функция, состоящая из множества других функций, входящих в ее состав. Существенным признаком комплексной боевой функции выступает информационная направленность на реального противника, и осуществляется она в форме противоборства с ним с применением оружия и боевой и специальной техники.
Как известно, бой – это двухсторонняя планируемая вооруженная борьба. При этом каждая из сторон преследует крайне решительные цели: уничтожить противоборствующую сторону или заставить ее прекратить сопротивление. На современном этапе, в частности в кибернетике, это противоборство можно представить как противоборство двух информационных систем, каждая из которых выполняет комплексную боевую функцию. В данном случае успех противоборствующей стороны зависит от потока информации в бою, его своевременной и качественной обработки и дальнейшего принятия решений.
Идет соперничество в качестве обработки принимаемой информации. Деятельность воинов в бою в современных условиях зависит от качества и количества передаваемой им информации о противнике, своих соседях, погодных условиях, морально-психологическом состоянии своих подразделений и противника. И от того, насколько качественно этот информационный поток обрабатывается, зависит вероятность успеха.
Комплексная боевая функция осуществляется в форме конкретных действий по управлению боевой техникой и применением оружия по врагу в целях его разгрома, уничтожения, пленения, освобождения занятой врагом территории. Следовательно, комплексная боевая функция представляет собой совокупность функций, включающих в себя действия против врага по достижению целей вооруженной борьбы путем использования оружия и боевой техники, она может протекать в форме индивидуальных и коллективных (групповых) действий.
По характеру боевых действий комплексная боевая функция ƒ>б> отделения или взвода в основном выступает в виде функции наступления ƒ>н> или функции обороны ƒ>об>, то есть ƒ>б>=ƒ>н>; ƒ>б>=ƒ>об>
Функция ƒ>б> может также представлять собой совокупность этих двух функций:
ƒ>б>=ƒ>н>+ƒ>об>. (2.1)
В
(2.2)
боевой деятельности отделения и взвода наиболее полно проявляются все компоненты индивидуальных и коллективных действий, степень выучки, дисциплина, уровень руководства и личность руководителя. Это можно представить с помощью информационно-математической модели:
г

де
F>н>
– составляющая индивидуальных действий;
F>к>
– составляющая коллективных действий;
F>в>
– степень выучки; F>д>
– дисциплина; F>ур>
– уровень руководства; F>лр>
– личность руководителя.
То есть комплексная боевая функция ƒ>б> независимо от вида ее проявления ƒ>о> или ƒ>и> имеет шесть основных определяющих составляющих.
Информационно-математическую модель (2.2) можно представить в виде простого математического выражения:
ƒ>б>=F>и>+F>к>+F>в>+F>д>+F>ур>+F>лр>. > >(2.3)
Упростив выражение, получаем:
ƒ>б>= Σ F. (2.4)
Комплексная боевая функция ƒ>б> существенно отличается от всех других видов функций (деятельности). Это обусловлено спецификой ее предмета, средств, условий и результата.
Первой особенностью боевой функции ƒ>б> является то, что ее предмет (точка воздействия) – реальный противник.
ƒ>б> → (.) К, (2.5)
где К – точка воздействия.
Противник выступает как совокупность объектов: живая сила, оружие, техника, военные объекты, фортификационные сооружения. Главная действующая сила противника – солдаты, сержанты, офицеры. Вооруженные совершенным оружием и боевой техникой они являются врагами в бою. Это можно представить в отвлеченном векторном выражении:
_ _ _ _ _ _
К= F>жс>+ F>о>+ F>т>+ F>во>+ F>фс>,> >(2.6)
где F>жс> – составляющая живой силы;
F>о> – составляющая оружия;
F>т> – составляющая техники;
F>во> – составляющая военных объектов;
F>фс> – составляющая фортификационных сооружений.
О
собенность
комплексной боевой функции состоит
также и в том, что средства поражения
применяются по врагу. В свою очередь,
противник применяет свои средства,
считая противником подразделения ВВ и
ОМОН.
Следовательно:
_ _ _ _
ƒ>б >→ К, так же как и К → ƒ>б>,
_ _
то есть ƒ>б> ↔ К (2.7)
Боевая деятельность осуществляется в крайне неблагоприятных для человека условиях. Степень ее влияния на воина зависит от тех впечатлений, которые он получает в процессе непосредственного восприятия обстановки боя. В общевойсковом бою, а также при проведении специальных операций по ликвидации бандитских формирований бойцы ОМОН и солдаты внутренних войск будут обстреливаться из автоматического оружия разных калибров (от 5.56 мм до 12.7 мм пулеметов и 40 мм станковых гранатометов). Противник будет применять гранатометы, орудия и т.п. Наряду с обычными способами будут использоваться лазер, инфракрасные, акустические, телевизионные и другие средства наведения. С ростом мощности средств поражения, готовности их применения на поле боя и точности наведения возрастает опасность быть уничтоженными. Меняется и восприятие самой опасности. Так, отдельные артиллерийские разрывы и редкая стрельба из стрелкового оружия оказывают слабое психологическое воздействие. Плотный автоматический огонь противника, разрывы снарядов в расположении подразделения, разрушение инженерных сооружений, очаги пожаров, появление раненых и убитых значительно усиливают психологическое воздействие. Напряжение изматывает людей, вызывает беспокойство и страх. Сильное угнетающее воздействие в бою оказывают потери: гибель, ранение товарищей, командиров. Отсюда следует, что комплексная боевая функция может убывать при воздействии этих факторов:
ƒ>б> ↓= F>г> + F>р> +F>к> +F>о>, (2.8)
г
де
F>г>
– фактор гибели л/с отделения (взвода);
F>р>
– фактор ранений л/с отделения (взвода);
F>к>
– фактор гибели командира отделения
(взвода); F>о>
– фактор интенсивности обстрела
отделения (взвода) противником.
Исходя из данной формулы (2.8), можно предположить, что, если факторы F>г>, F>р>, F>к;>, F>о> – максимальны, а составляющие F>и>, F>к>, F>в>, F>д>, F>ур>, F>лр> (2.2) минимальны, то
ƒ>б> → 0, а К → 1 (2.9)
и наоборот, если F>жс>, F>о>, F>т>, F>во>, F>фс >(2.6); F>т>, F>р>, F>к>, F>о> минимальны, а F>и>;F>к>;F>в>;F>д>;F>ур>;F>лр> максимальны, то
К (противник) → 0; а ƒ>б> → 1, (2.10)
то есть при условии:
ƒ>б>
= ∑ F>max>
=> ƒ>б >> К (2.11)
К = ∑ F>min >(1 > 0)
отделение или взвод имеет все шансы на успех. Но, если
ƒ>б>
= Σ F>min>
=> ƒ>б> < К, (2.12)
К = Σ F>max >(0 < 1)
шансы на успех у подразделений минимальны или отсутствуют.
Большие трудности возникают у л/с при боевой деятельности ночью. Восприятие обстановки со зрительного переносится на слуховое. Резко меняется пространственное восприятие. Источники звука и света кажутся ближе, чем днем.
Нарушается зрительная связь с товарищами, с командирами. Усиливается подверженность влиянию мнимых опасностей. Чаще возникает вероятность ослепления вспышками. Безусловно, трудности ночного боя испытывает и противник. Для хорошо подготовленных воинов ночь служит союзницей. Она облегчает скрытость маневра, внезапность действий, скрывает истинные силы и намерения нападающей стороны. Оценить шансы на успех подразделений ночью можно, прибегнув к формулам (2.11) и (2.12).
Исходя из всего вышеизложенного, не трудно понять, как огромен поток информации, идущий к командиру отделения (взвода), да и ко всему отделению в целом. По каждому вышеперечисленному фактору о противнике (К) существует множество обращений к командиру отделения (взвода) со стороны л/с в процессе боя. В свою очередь, в процессе управления командир подразделения непрерывно решает задачи и постоянно отдает распоряжения в резко меняющейся обстановке современного боя. То есть значение составляющих F>лр> и F>ур> должно быть велико (из 2.2).
Но, если посмотреть на проблему управления боем с точки зрения информационной системы, принимая символично командира отделения (взвода) за информационные операторы, есть предположение, что достаточно увеличить количество этих операторов для более качественной обработки информации и принятия решения. Можно также предположить, что успех отделения (взвода) в бою может зависеть от уменьшения численности л/с действующих групп на количество обращений в потоке информации и принимаемых решений. Эти предположения рассмотрены в главах 2 и 3 настоящего исследования.
Р
езультаты боевой деятельности могут
не совпадать с целями и поставленными
задачами. В бою возможны поражение,
частичное выполнение задачи, большие
потери. Это можно представить в виде
модели:
г
де
К – предмет (противник);
С – средства;
У – условия;
Р – результат, должен стремиться к 1 (100 %).
Исходя из принятых условий (2.11) и (2.12), если

ƒ>б>
= Σ F>max>
К = Σ F>min> => Р → 1. (2.14)
ƒ>б> > К
Если
ƒ>б> = Σ F>min>
К = Σ F>max> => Р → 0. (2.15)
ƒ>б> < К
Пренебрегая в обоих случаях К, можно сделать вывод, что результат боя (Р) напрямую зависит от комплексной боевой функции ƒ>б> и чем больше возрастает комплексная боевая функция, тем выше положительный результат боя и, наоборот, чем ниже комплексная боевая функция, тем ниже результат:
ƒ>б>↑ => Р↑; ƒ>б>↓ => Р↓. (2.16)
Не трудно определить, что именно комплексную боевую функцию F>б> придется поддерживать операторам в бою и следить за тем, чтобы она постоянно стремилась к 1.
Из принятого выражения (2.16) можно увидеть, что ƒ>б> может меняться ↑↓ в ходе боя в течение определенного времени в постоянно меняющейся обстановке. Чтобы разобраться, каким же образом необходимо поддерживать ƒ>б> на должном уровне (ƒ>б> → 1; Р → 1) в период боя, необходимо рассмотреть, кто, как и каким образом будет управлять боем, т.е. фактически воздействовать на ƒ>б>.
Для этого рассмотрим наиболее важные понятия науки управления:
Система управления.
Информация.
Обратная связь.
Механизм управления.
Система управления – это совокупность элементов, образующих единую и целостную общность, включающую в себя процессы управления, субъекты управления (управляющую систему) и средства управления (каналы прямой и обратной связи). Управление немыслимо без информации. Информацию можно рассматривать как определенную форму отражения, которая возникает на основе процессов управления и обслуживает эти процессы.
Информация – это не только знания. Ее могут нести и различные материальные процессы, явления, если они включаются в сферу деятельности человека или любой другой системы управления. Деятельная, активная сторона информационного процесса в системе управления находит выражение в обратной связи – направленном воздействии стороны, получившей ту или иную информацию, на источник этой информации, причем такое воздействие прямо зависит от ее содержания. Между субъектом управления и объектом имеется постоянная информационная обратная связь.
Важной категорией теории управления является понятие механизма управления. Оно обозначает те практические меры, посредством которых органы управления воздействуют на любую систему социального порядка для достижения поставленных целей.
В данном теоретическом анализе функций управления в подразделениях внутренних войск МВД России исследуются и анализируются такие подразделения, как отделение и взвод. Основываясь на общую систему управления в бою необходимо отметить, что основополагающим фактором в процессе управления отделением и взводом являются оператор (командир), полученная информация, скорость и эффективность ее обработки, а также количество обращений, приходящих к оператору и исходящих от него после обработки информации. Для того чтобы определить количество необходимых обращений к командиру отделения на БМП, рассмотрим составляющие комплексной боевой функции F>б>, приведенные в таблице 1:
Таблица 1
|
№ |
Знак функции |
Наименование
|
Кол-во источников обращения |
Частота обращ. КО к л/с, обращ./час |
Частота обращ. л/с к КО, обращ./час |
|
1 |
2 |
3 |
4 |
5 |
6 |
|
ƒ>б> |
Комплексная боевая функция |
10 |
2 |
||
|
1 |
ƒ>1> |
Знание боевой задачи взвода и своей задачи |
10 |
2 |
|
|
2 |
ƒ>2> |
Знание боевых возможностей техники |
10 |
1 |
1 |
|
3 |
ƒ>3> |
Знание объема и особенностей оборудования фортсооружений |
10 |
1 |
1 |
|
4 |
ƒ>4> |
Ведение наблюдения, своевременное обнаружение противника, доклад командиру |
10 |
1 |
|
|
5 |
ƒ>5> |
Смелость и решительность в наступлении, стойкость и упорство в обороне |
10 |
2 |
|
|
6 |
ƒ>6> |
Уничтожение противника всеми способами и средствами |
10 |
4 |
4 |
|
7 |
ƒ>7> |
Умелое использование местности |
10 |
1 |
1 |
|
8 |
ƒ>8> |
Умение опознавать воздушного противника |
10 |
1 |
1 |
|
1 |
2 |
3 |
4 |
5 |
6 |
|
9 |
ƒ>9> |
Защита командира в бою (помощь) |
10 |
1 |
|
|
10 |
ƒ>10> |
Соблюдение расхода боеприпасов |
10 |
2 |
2 |
|
11 |
ƒ>11> |
Восстановление повреждений БМП |
10 |
1 |
1 |
Наводчик-оператор БМП |
|||||
|
12 |
ƒ>12> |
Знание вооружения БМП |
1 |
3 |
3 |
|
13 |
ƒ>13> |
Осуществление пуска ПТУР и ведение местного огня |
1 |
40 |
20 |
|
14 |
ƒ>14> |
Систематическая проверка вооружения и прицельных приспособлений |
1 |
2 |
2 |
|
15 |
ƒ>15> |
Осмотр, подготовка и укладка боеприпасов |
1 |
2 |
2 |
|
16 |
ƒ>16> |
Наблюдение за полем боя |
1 |
30 |
|
|
17 |
ƒ>17> |
Обнаружение и уничтожение целей по команде КО |
1 |
15 |
15 |
|
18 |
ƒ>18> |
Поддержка отделения огнем БМП при действиях отделения в пешем порядке |
1 |
30 |
30 |
|
19 |
ƒ>19> |
Умение работать на радиостанциях |
1 |
4 |
4 |
|
20 |
ƒ>20> |
Умение выводить БМП из-под огня противника в ближайшее укрытие |
1 |
2 |
2 |
|
21 |
ƒ>21> |
Оказание помощи механику-водителю в проведении ремонта БМП |
1 |
1 |
|
|
22 |
ƒ>22> |
Умение заменить КО в случае его гибели |
1 |
1 |
|
|
23 |
ƒ>23> |
Поддержание в готовности противотанкового ракетного комплекса |
1 |
2 |
3 |
|
24 |
ƒ>24> |
Осуществление пуска ПТУР и меткий огонь |
1 |
4 |
4 |
|
25 |
ƒ>25> |
Наблюдение за полем боя |
1 |
30 |
|
|
26 |
ƒ>26> |
Обнаружение целей |
1 |
4 |
4 |
|
27 |
ƒ>27> |
Уничтожение целей по команде КО или самостоятельно |
1 |
4 |
|
|
28 |
ƒ>28> |
Систематическая проверка состояния ракет и механизмов |
1 |
1 |
1 |
|
1 |
2 |
3 |
4 |
5 |
6 |
|
29 |
ƒ>29> |
Оборудование и подготовка окопа (площадки) для пуска ракет |
1 |
||
|
30 |
ƒ>30> |
Знание обязанностей КО |
1 |
1 |
1 |
Механик-водитель БМП |
|||||
|
31 |
ƒ>31> |
Знание устройства и правил эксплуатации БМП |
1 |
1 |
|
|
32 |
ƒ>32> |
Применение навесного оборудования |
1 |
1 |
|
|
33 |
ƒ>33> |
Умение заряжать и вести огонь из пулемета машины |
1 |
10 |
|
|
34 |
ƒ>34> |
Соблюдение установленной дистанции и скорости движения |
1 |
1 |
|
|
35 |
ƒ>35> |
Соблюдение места в боевом порядке взвода |
1 |
1 |
|
|
36 |
ƒ>36> |
Преодоление заграждений, препятствий и водных преград |
1 |
1 |
|
|
37 |
ƒ>37> |
Обеспечение наилучших условий для огня при движении |
1 |
4 |
|
|
38 |
ƒ>38> |
Ведение наблюдения |
1 |
10 |
|
|
39 |
ƒ>39> |
Корректировка огня |
1 |
1 |
|
|
40 |
ƒ>40> |
Соблюдение правил и норм расхода ГСМ |
1 |
1 |
|
|
41 |
ƒ>41> |
Доклад КО об израсходовании 50% и 75% заправки |
1 |
1 |
|
|
42 |
ƒ>42> |
Доклад КО об обнаружении неисправности БМП |
1 |
1 |
|
|
43 |
ƒ>43> |
Умение работать на радиостанциях |
1 |
1 |
|
|
Гранатометчик, помощник гранатометчика, пулеметчик и автоматчик |
|||||
|
44 |
ƒ>44> |
Знание своего оружия, содержание его в исправном состоянии |
7 |
1 |
|
|
45 |
ƒ>45> |
Ведение меткого огня |
7 |
30 |
|
|
46 |
ƒ>46> |
Наблюдение за результатами огня |
7 |
20 |
|
|
47 |
ƒ>47> |
Умелая корректировка огня |
7 |
4 |
|
|
48 |
ƒ>48> |
Наблюдение за полем боя |
7 |
4 |
|
|
49 |
ƒ>49> |
Доклад КО об обнаружении целей и уничтожение их по команде и самостоятельно |
7 |
2 |
4 |
|
1 |
2 |
3 |
4 |
5 |
6 |
|
50 |
ƒ>50> |
Оказание помощи наводчику-оператору в подготовке и укладке боеприпасов |
7 |
1 |
|
|
51 |
ƒ>51> |
При вынужденном отрыве от своего отделения уметь немедленно присоединиться к другому отделению |
7 |
||
Командир отделения |
|||||
|
52 |
ƒ>52> |
Обеспечение подготовки отделения к бою |
1 |
10 |
|
|
53 |
ƒ>53> |
Знание обстановки |
1 |
2 |
|
|
54 |
ƒ>54> |
Своевременное принятие решений |
1 |
1 |
|
|
55 |
ƒ>55> |
Постановка задач подчиненным |
1 |
10 |
|
|
56 |
ƒ>56> |
Контроль за выполнением задач |
1 |
10 |
|
|
57 |
ƒ>57> |
Наблюдение за ходом боя |
1 |
10 |
|
|
58 |
ƒ>58> |
Ведение разведки противника |
1 |
1 |
|
|
59 |
ƒ>59> |
Умелое использование всех огневых средств |
1 |
10 |
|
|
60 |
∑ ƒ>i> |
Итоговое число обращений |
329 |
768 |
Частота обращения командира отделения к подчиненным и наоборот является приблизительным подсчетом по фотографии боя (процесс, схожий с фотографией рабочего дня), но даже из него видно, что отделение ВВ МВД РФ на БМП в составе 10 человек имеет число обращений, приблизительно равное 1097.
Из таблицы следует, что комплексная боевая функция (ƒ>б>) состоит приблизительно из 59 функций (ƒ>i>):
ƒ>б> = ∑ ƒ>1>+ƒ>2>+...+ƒ>59>. (2.17)
Из таблицы также следует, что каждая функция имеет свое количество обращений, например: ƒ>44> = 7; ƒ>49> = 42 и т.д.
Переведя вышеизложенное на язык математики, имеем:
ƒ>б> = ∑ ƒ>i> =1097.
То есть, согласно практическому подсчету по типу фотографии рабочего дня, отделение в бою имеет:
ƒ>б> = 1097 (обращений/час) (2.18)
Возьмем для дальнейшего расчета среднестатистическую длительность боя с применением стрелкового оружия как для отделения, так и для взвода, равную пяти часам.
t>боя> = 5 ч.
ƒ>б > = 1097·t>боя >= 5485.
В дальнейшем мы будем придерживаться именно этой величины, имея в виду, что число обращений К>i> для отделения в бою будет равным:
К>i> = 5485. (2.19)
Аналогично, пользуясь «фотографией боя», приведем таблицу функций взвода для определения числа обращений. Рассмотрим составляющие комплексной боевой функции взвода для определения числа обращений. Рассмотрим составляющие комплексной боевой функции взвода ,приведенные в таблице 2. Таблица 2
|
№ |
Знак функции |
Наименование |
Кол-во источников обращения |
Частота обращ. КВ к л/с (КО), обращ./час |
Частота обращ. л/с (КО) к КВ, обращ./час |
|
1 |
2 |
3 |
4 |
5 |
6 |
|
ƒ>б> |
Комплексная боевая функция |
||||
Командир взвода |
|||||
|
1 |
ƒ>1> |
Получение боевой задачи |
1 |
3 |
3 |
|
2 |
ƒ>2> |
Уяснение задачи |
1 |
3 |
|
|
3 |
ƒ>3> |
Оценка обстановки |
1 |
3 |
3 |
|
4 |
ƒ>4> |
Принятие решения |
1 |
3 |
3 |
|
5 |
ƒ>5> |
Проведение рекогносцировки |
1 |
3 |
3 |
|
6 |
ƒ>6> |
Издание боевого приказа |
1 |
1 |
1 |
|
7 |
ƒ>7> |
Организация взаимодействия |
1 |
5 |
3 |
|
8 |
ƒ>8> |
Организация боевого обеспечения |
1 |
2 |
|
|
9 |
ƒ>9> |
Организация управления отделениями |
1 |
3 |
|
|
10 |
ƒ>10> |
Управление боем по радио, голосом и сигналами |
1 |
20 |
|
Личный состав взвода |
|||||
|
11 |
ƒ>11> |
Правильное понимание своей задачи |
3 |
1 |
1 |
|
12 |
ƒ>12> |
Отличная боевая выучка отделений |
3 |
1 |
1 |
|
1 |
2 |
3 |
4 |
5 |
6 |
|
13 |
ƒ>13> |
Дисциплина и бдительность |
3 |
1 |
1 |
|
14 |
ƒ>14> |
Укомплектованность и обеспеченность отделения всем необходимым для ведения боя |
3 |
1 |
1 |
|
15 |
ƒ>15> |
Постоянная готовность оружия и боевой техники к немедленному применению |
3 |
1 |
1 |
|
16 |
ƒ>16> |
Умелое управление и осуществление мероприятий по обеспечению боевых действий |
3 |
1 |
1 |
|
17 |
ƒ>17> |
Своевременное обнаружение противника и уничтожение его огнем |
30 |
1 |
1 |
|
18 |
ƒ>18> |
Ведение бесперебойного и прицельного огня |
30 |
1 |
1 |
|
19 |
ƒ>19> |
Разведка целей |
3 |
1 |
1 |
|
20 |
ƒ>20> |
Правильное использование всех огневых средств в соответствии с их боевыми возможностями |
3 |
1 |
1 |
|
21 |
ƒ>21> |
Меткость огня |
30 |
1 |
1 |
|
22 |
ƒ>22> |
Внезапность применения огня |
30 |
1 |
1 |
|
23 |
ƒ>23> |
Ведение огня с предельной точностью и максимальной интенсивностью |
30 |
1 |
1 |
|
24 |
ƒ>24> |
Управление огнем в бою |
3 |
3 |
|
|
25 |
ƒ>25> |
Активность, решительность, непрерывность и внезапность действий |
30 |
1 |
|
|
26 |
ƒ>26> |
Всестороннее знание противника |
3 |
1 |
|
|
27 |
ƒ>27> |
Захват и удержание инициативы |
3 |
3 |
3 |
|
28 |
ƒ>28> |
Быстрое использование результатов огня своего оружия |
30 |
3 |
1 |
|
29 |
ƒ>29> |
Умелое преодоление и обход заграждений, районов разрушений, пожаров, затоплений |
30 |
1 |
|
|
30 |
ƒ>30> |
Своевременное пополнение израсходованных боеприпасов, горючего и других материальных средств |
30 |
1 |
|
|
31 |
ƒ>31> |
Умелое сочетание огня с движением |
30 |
1 |
|
|
1 |
2 |
3 |
4 |
5 |
6 |
|
32 |
ƒ>32> |
Широкое применение маневра (охват, обход, отход) |
3 |
3 |
|
|
33 |
ƒ>33> |
Ведение сосредоточенного огня (маневр огнем) |
3 |
3 |
3 |
|
34 |
ƒ>34> |
Постоянное и четкое взаимодействие между отделениями |
3 |
3 |
3 |
|
35 |
ƒ>35> |
Знание способа выполнения задачи |
5 |
1 |
|
|
36 |
ƒ>36> |
Знание задач соседних подразделений, ориентиров, сигналов оповещения, управления, взаимодействия |
5 |
1 |
|
|
37 |
ƒ>37> |
Поддержание взаимодействия в течение всего боя |
5 |
1 |
|
|
38 |
ƒ>38> |
Умелое ведение боя ночью и в других условиях ограниченной видимости |
30 |
1 |
|
Снайпер |
|||||
|
39 |
ƒ>39> |
Знание своего оружия |
1 |
10 |
10 |
|
40 |
ƒ>40> |
Ведение меткого огня |
1 |
10 |
|
|
41 |
ƒ>41> |
Умелое наблюдение за полем боя |
1 |
10 |
|
|
42 |
ƒ>42> |
Выявление и оценка целей |
1 |
2 |
10 |
|
43 |
ƒ>43> |
Уничтожение наиболее важных целей (офицеры, снайперы, наблюдатели, расчеты огневых средств) |
1 |
10 |
10 |
|
44 |
ƒ>44> |
Умелое использование маскировки |
1 |
10 |
|
|
45 |
ƒ>45> |
Умелое оборудование позиций вблизи расположения противника |
1 |
2 |
|
Стрелок-санитар |
|||||
|
46 |
ƒ>46> |
Знание и умелое использование медицинского оснащения |
1 |
2 |
2 |
|
47 |
ƒ>47> |
Наблюдение за появлением раненых на поле боя и доклад КО (КВ) |
1 |
2 |
2 |
|
48 |
ƒ>48> |
Оказание первой медицинской помощи тяжелораненым |
1 |
2 |
2 |
|
49 |
ƒ>49> |
Укрытие раненых |
1 |
4 |
|
|
∑ƒ>j> |
Итоговое число обращений |
401 |
479 |
Аналогично, частота обращений командира взвода к подчиненным и наоборот, является приблизительным подсчетом.
Из таблицы следует, что комплексная боевая функция взвода (ƒ>б>) состоит приблизительно из 49 функций ƒ>j> с учетом функций трех отделений (ƒ>i>)
ƒ>б > = ∑ ƒ>1>+ ƒ>2>+...+ƒ>49> + [∑ ƒ>1>+ ƒ>2>+...+ ƒ>59>]·3 (2.20)


ƒ>j> ƒ>i>
Из таблицы следует, что каждая функция имеет свое количество обращений, например: ƒ>14 >=6; ƒ>47> =4 и т.д.
Упростив выражение (2.20), получим:
ƒ>б> = [∑ ƒ>i>]·3 + ∑ƒ>j>,> >(2.21)
Для подсчета числа обращений отметим, что:
ƒ>i> =К>i>; ƒ>j> = К>j>,
где K>i> – число обращений, которое имеет комплексная боевая функция отделения;
K>j >- дополнительное число обращений, которое имеет комплексная боевая функция взвода.
Итоговое число обращений, которое имеется в бою во взводе, слагается из числа обращений трех отделений в бою и дополнительного числа обращений, которое имеет комплексная боевая функция взвода:
К = 3К>i >+ К>j>. > >(2.22)
Подставив из таблиц 1 и 2 данные в выражение (2.22), получим общее число обращений комплексной боевой функции взвода:
К = 35485+8805 = 16455+4400 = 20855.
Для удобства дальнейших расчетов будем пренебрегать дополнительным числом обращений К>j>, имея в виду, что общее число обращений взвода будет состоять из числа обращений трех отделений:
К = 3К>i> => К = 16455.
Итак, согласно результатам проведенного анализа и фотографии боя по типу фотографии рабочего дня мы можем предположить, что практическое число обращений отделения и взвода в бою составляет:
(2.23)
К = 5485 (отделение);К = 16455 (взвод).
2.1.
Некоторые общие положения моделирования
функций управления и участников
управления
боевых подразделений
(отделение, взвод)
В данном разделе рассматривается воинское подразделение, в котором нет специального отдела – штаба, координирующего центра, обеспечивающего управление подразделением в автономном режиме, т.е. генерирование управляющих воздействий и их конкретную реализацию. При составлении теоретико-множественной модели воинского (боевого) подразделения необходимо перейти к декомпозиции, т.е. так ее расчленить, чтобы каждая проблема (подсистема) была функционально самостоятельна (по крайней мере настолько, чтобы выявить внешние характеристики, которые можно изучать) и чтобы число связей с другими подпроблемами было не очень велико. Воинское (боевое) подразделение можно рассмотреть как систему элементов-звеньев, моделирующих частные свойства подразделения, а структура системы отражает связь свойств в моделируемом объекте. Отдельные свойства воинского подразделения с позиций системного подхода существенно различны, поэтому их можно рассматривать как частично независимые. Но с учетом их системной целостности эти свойства находятся в субординационной связи между собой, что дает основание рассматривать воинское (боевое) подразделение как иерархическую систему.
Структуру математической модели воинского (боевого) подразделения можно представить имеющей три уровня. Каждый уровень моделирует определенные свойства боевого подразделения, а взаимосвязь уровней отражает системную целостность. На рисунке 2.24 представлена структурная схема математической модели. В состав структурной схемы входят три звена-уровни иерархии боевого подразделения W>11>; W>21>; W>31,> которые находятся во взаимной иерархической связи с помощью операторов связи A>kl1> (k = 1, 2, 3; l = 0, 1, 2, 3). Операторы через внутренние переменные S>km1> (k = 1, 2, 3; m = 1, 2, 3), связывают отдельные уровни модели в единую систему, а с помощью выходных величин X>1>; Y>1>; Z>1> и входных воздействий U>1>; V>1>; R>1> – с внешней средой и системой управления, которые оказывают воздействие на моделируемый объект. Моделируемое боевое подразделение входит в состав более крупного подразделения как составляющий элемент большой системы, которая по отношению к моделируемому подразделению W>1> является метасистемой Ф>с>:
Ф>с> = {W>1>1 Є I>c>}, (2.25)
где I>c> – индексирующее множество, по которому организовано подразделение верхнего уровня, т.е. топология построения структуры подразделения.
Как правило, при системном анализе рассматриваемую структуру моделируемого подразделения W>1> можно представить состоящей из двух частей: общесистемной и локальной. Общесистемная составляющая W>31> входит в модель верхнего уровня метасистемы Ф>с1>, а локальная составляющая, образованная первым и вторым W>11>; W>21> уровнями, входит в модель нижнего уровня метасистемы Ф>с2>:
Ф>с> = Ф>с1> U Ф>с2>.
С
ледовательно,
модель метасистемы Ф>с>
– это объединение моделей верхнего и
нижнего уровней, т.е. иерархическая
двухуровневая система.
Рис. 2.24
Создавая модель низших боевых подразделений именно в боевой обстановке (в бою), можно предположить, что локальной составляющей в данном случае можно пренебречь. То есть при дальнейшем анализе подразделений (отделение, взвод), имеется в виду, что все исполнители и участники управления морально, психологически и физически подготовлены к ведению боя, а также обучены и умеют эффективно использовать вооружение и специальную технику. Другими словами, при создании модели отделения, изображенной на рисунке 3.1, использовались параметры только третьего уровня.
Третий уровень – верхний уровень – является общесистемным уровнем, поэтому управление характеристиками этого уровня должно быть скоординировано с требованиями метасистемы. Как элементы верхнего уровня иерархии данный уровень диктует условия функционирования, т.е. управление нижними уровнями W>21>; W>11>, которые образуют локальную составляющую элемента W>1> метасистемы. Задачи управления данным уровнем можно сформулировать так:
Координационная оптимизация выходной величины Х>1> операторов А>301>, А>311>, А>321>, А>331> с учетом требования метасистемы W>0>.
Стабилизация выходной величины Х>1>, операторов А>301>, А>311>, А>321>, А>331> в условиях действия внешнего возмущения F>1>.
Далее все задачи
управления можно рассматривать как
системные. Системные задачи обеспечивают
эффективное функционирование метасистемы
(подразделения на ступень выше), в состав
которой входит моделируемое подразделение.
К ним относятся задачи оптимизации
выходных величин и операторов
3-го
уровня, решение которых должно
осуществляться с учетом доминирования
и координации метасистемы со всеми
тремя уровнями.
В соответствии с принятым теоретико-множественным подходом к моделированию, запишем модель 3 уровня в понятийном аппарате теории множеств. Операторы будут определяться как отображение входных переменных в выходные, в нашем случае входных воздействий в выходные величины. Если входных воздействий несколько, то воздействия и представляются как декартово (прямое) произведение (суперпозиция). Такой подход дает возможность перейти к аналитическим математическим моделям через векторную алгебру.
Т
ретий
уровень W>31>
A>301>: U>1>•S>311>•S>321>•S>331> → X>1>
A>321>: Z>1> → S>311>
A>321>: Y>1> → S>321> (2.26)
A>331>: F>1 >→ S>331>
Исключив промежуточные переменные S>311>, S>321>, S>331>, получаем:
Х>1>=А>301> (U>1>; А>311> (Z>1>); А>321> (Y>1>); А>331> (F>1>)) (2.27)
Пренебрегая локальной составляющей, имея в виду, что личный состав отделения (взвода) полностью готов к бою, т.е. все терминалы первого и второго уровня равны единице:
X>1> = A>301> (U>1>;A>331> (F>1>)) (2.28)
Исходя из вышеизложенного и учитывая, что третий уровень W>31> доминирует над вторым и первым:
W>31> >>> W>21>>W>11> (2.29)
Можно предположить, что требования к задачам оптимизации выходных величин и операторов уровней можно представить как условие координированного решения задачи оптимизации третьего уровня Ψ>31> с условиями решения задачи оптимизации метасистемы Ψ>с>, доминирующей в этом совместном условии:
(ЭА>301>opt) (ЭR>1>opt) (ЭV>1>opt) (ЭU>1>opt) [P (A>301>opt; R>1>opt; V>1>opt; U>1>opt; Ψ>31> (A>301>opt; R>1>opt; V>1>opt; U>1>opt)) ΛP(A>301>opt; R>1>opt; V>1>opt; U>1>opt; Ψ>c> (A>301>opt; R>1>opt; V>1>opt; U>1>opt))] (2.30)
Пренебрегая локальной составляющей, имеем:
(ЭA>301>opt) (ЭU>1>opt) [P (A>301>opt; U>1>opt; Ψ>31> (A>301>opt; U>1>opt)) ΛP (A>301>optU>1>opt; Ψ>c> (A>301>opt; U>1>opt))] (2.31)
Оптимальное решение имеет в общем случае вид:
L>1>opt=R>1>opt ◦ V>1>opt ◦ U>1>opt,
так как элементы локальной составляющей равны единице, имеем:
L>1>opt=U>1>opt. (2.32)
Если условие решения задач (2.31) выполняется, то оптимальное решение для случая максимизации будет лежать на границе решений:
L>1>max=Supl>1>opt (2.33)
Если условие (2.31) не выполняется, то решение не будет оптимальным и находится внутри области допустимых решений. Условие совместности (2.31) записано в предикатной форме, где Р (...) – предикат. В данном параграфе представлены результаты моделирования боевых подразделений, в которых отсутствует штаб, выполняющий функцию обеспечения обратной связи, т.е. речь идет о моделировании взвода или отделения как объекта управления. Показано, что задачи управления – это автономные задачи стабилизации выходных величин отдельных уровней и взаимосвязанные задачи оптимизации уровней с учетом иерархии, структуры объекта управления и доминирования верхних уровней.
ГЛАВА 3.
ТЕОРЕТИЧЕСКИЙ АНАЛИЗ
РАСПРЕДЕЛЕНИЯ
ФУНКЦИЙ УПРАВЛЕНИЯ ОТДЕЛЕНИЕМ
И
ВЗВОДОМ ОМОН И ВНУТРЕННИХ ВОЙСК
МВД
РОССИИ В БОЮ
3.1. Функции управления
Управленческая деятельность заключается в реализации последовательности операций, мероприятий, проводимых командованием совместно с системой управления, которые реализуются во времени в виде автономных этапов.
Проводимые операции, мероприятия являются частью оптимального алгоритма управления воинским подразделением как объектом управления. Реализация мероприятий по управлению возлагается на командование и систему управления, которая может быть штатной или созданной специально для проведения, как правило, широкомасштабных воинских операций.
Мероприятия по управлению в кибернетике называют управляющими воздействиями, они осуществляются во времени в определенной последовательности, которая называется управленческим циклом.
Участники управления в соответствии с алгоритмом управления распределяют между собой реализацию мероприятий по управлению, т.е. функции управления и время их реализации (этап цикла управления). Функции управления, как было отмечено в главе 2 – это сложные многооперационные действия, которые можно представить как многооперационные операторы, осуществляющие все этапы управленческой деятельности: переработки первичной информации, формирования алгоритмов управления, принятия решений и т.д. В системе ОМОН и внутренних войск МВД России, как и в любой другой военной системе, достаточно небольшой перечень решаемых задач управления в мирное время; но довольно большой – в случае сложной оперативной обстановки, очень большой объем необходимой управленческой информации. Причем время для переработки информации в боевой обстановке ограничено, что требует использования в системах управления высококвалифицированных офицеров. Если для отделения на БМП принять предположительно среднее время боя с применением стрелкового оружия и огневых средств машины, равное пяти часам, то интенсивность получения информации за этот промежуток времени в системе управляющему, командиру отделения можно определить по формуле Грейкунаса:
K = n[2n-1+ (n-1)], (3.1)
где К – число обращений, т.е. интенсивность поступления информации;
n – число подчиненных.
Приняв в идеале экипаж машины – десять человек, расчеты по формуле дают возможность определить интенсивность поступления информации.
Таблица 3.1
|
n |
3 |
4 |
5 |
10 |
15 |
|
K |
18 |
44 |
100 |
5210 |
245970 |
Очевидно, что неумеренное увеличение числа подчиненных может привести к ситуации, когда при большом числе непосредственных исполнителей и минимуме участников управления управление в системе будет затруднено, а подчас и невозможно в резко меняющейся обстановке современного боя.
Для сравнения сопоставим данные из приведенной таблицы 3.1 с данными «фотографии боя» из главы 2 и мы увидим:
K>i> = 5485 (из таблицы 1) фактически;
K = 5210 (из таблицы 3.1) по расчету.
То есть расчетные данные числа обращений отделения из десяти человек в бою немногим отличаются от фактических. Пренебрегая небольшим расхождением, данные расчета по формуле Грейкунаса подтверждают наше предположение о числе обращений:
К К>i>.
В дальнейшем число обращений для отделения будет принимать расчетное, т.е. К = 5210 (из таблицы 3.1). Также видна тенденция снижения числа обращений с уменьшением числа исполнителей комплексной боевой функции ƒ>б>.
В настоящее время принято в качестве нормы от трех до семи исполнителей. В Вооруженных силах принята норма управления три, по этой норме строится организационная структура армии и внутренних войск. Следует предположить, что если эта рекомендуемая норма превышается, есть необходимость провести реорганизацию подразделения, создать временную структуру, когда число непосредственных исполнителей уменьшается. Например, если для отделения из 10 человек оперативная обстановка (5210 – интенсивность поступления информации командиру отделения) не дает возможности справиться с поставленной задачей, то, очевидно, есть возможность организовать на базе отделения три группы по три человека. В этом случае не снижается огневая мощь, а интенсивность поступления информации снижается до 18. То есть можно предположить, что необходимо часть полномочий командира отделения делегировать командирам групп.
Очевидно, что эффективность управления возрастает за счет увеличения оперативности и качества принимаемых решений. Это связано с уменьшением интенсивности информации, увеличением у командира отделения времени на принятие решений.
Рассмотрим содержание управленческого цикла. Началом цикла принято считать момент распоряжения или приказа на подготовку и проведение конкретной специальной операции, окончание – в момент времени, когда операция выполнена.
Управленческий цикл состоит из пяти элементов:
Формирование задачи управления: цель, критерий эффективности, ограничения и условия реализации задачи.
Практические решения по реализации определяются оперативными условиями, располагаемыми ресурсами, ресурсами противника, внешними условиями. Это видно из рассуждений в главе 2 (формулы и модели 1, 2, 3, 4, 5, 6, 7, 8, 9)/
Планирование мероприятий по реализации: алгоритм действий участников, введение огневых средств, техники, личного состава (основного и из резерва). Установление временного графика действий.
Организационная подготовка по выполнению запланированных действий. Создание структуры, системы подразделений и участников запланированной операции, распределение обязанностей и функций между ними (глава 2, таблицы 1, 2, формулы 11, 12, 14, 15, 16).
Оперативное управление и контроль над ходом выполнения управленческих решений.
Перечисленные этапы должны обязательно сохраняться в различных ситуациях, меняется только объем и содержание в зависимости от решаемой задачи.
3.2. Формирование функций управления отделением
Р
ассмотрим
функциональную структуру системы
управления личным составом отделения.
На рисунке 3.1 представлена чертеж-схема:
Рис. 3.1. Функциональная схема управления отделением:
КО – командир отделения, управляющая подсистема, командование отделения;
ЛС – личный состав отделения, объект управления;
Х – комплексный показатель, характеризующий боеспособность или интенсивность ведения боевых действий л/с;
М – управляющее воздействие прямых командиров на личный состав;
F – внешнее неуправляемое воздействие противника, метеоусловий, местности, внешней среды;
S>p> – директивное воздействие командования взвода, верхнего уровня;
S>ok> – координирующее воздействие соседних соединений;
К>э> – оператор эффективности действий л/с, интенсивность обработки управляющего воздействия М;
К>F> – оператор воздействия внешнего неуправляющего воздействия F;
К>у> – оператор обработки директивного воздействия S>р>.
К>ух> – оператор обратной связи, контроля за действиями л/с.
К>ок> – оператор обработки воздействия S>ок>.
К>уF> – оператор обработки внешнего воздействия F, данных разведки.
В дальнейшем под операторами будем понимать алгоритмы действий, которые необходимо выполнить при появлении соответствующей информации воздействий. Далее, при математическом моделировании воспользуемся терминологией общей теории систем и определим два вида операций:
Последовательно-каскадное включение (обозначение – ○).
Параллельное включение (обозначение – +).
Эти операции можно рассматривать как расширение алгебраических операций умножения и сложения.
Математическую модель объекта управления – личного состава в принятых обозначениях можно записать:
Х = К>э>◦М + К>F>◦F. (3.2)
Модель управляющей подсистемы КО:
М = К>у>◦S>р>+К>ух>◦Х+К>уF>◦F+К>ок>◦S>ок>. (3.3)
Подставив выражение для М из (3.3) в уравнение (2.2), получим:
Х = (К>э>◦К>у>)S>p >+ (К>э>◦К>ух>)Х + (К>э>◦К>ок>)S>ok >+ (К>э>◦К>уF>)F + К>F>◦F.
Преобразуем полученное выражение к виду, удобному для анализа рассматриваемой системы управления:





К>э>◦К>у>
К>э>◦К>уF>+К>F>
К>э>◦К>ок>
Х

(3.4)
= S>p> + F + S>ok>.1 - К>э>◦К>ух> 1-К>э>◦К>ух> 1- К>э>◦К>ух>


1
2 3
Рассмотрим возможные варианты задач управления в зависимости от оперативной обстановки, которая определяется внешними воздействиями: S>р>; S>ок>; F.
Изменение директивного воздействия командования верхнего уровня S>р>.
Система управления должна обработать это воздействие следующим образом в соответствии с целью управления:
Х→S>р>, это возможно, когда:
К>э>◦К>у>
=
1.
1-К>э>◦К>у>
После преобразования получаем:
К>э>◦ (К>у >+ К>ух>) = 1,
в результате
К>э >= 1; К>у>+К>ух >= 1. (3.5)
В соответствии с условием, что максимальное значение оператора может быть не более единицы, условие (2.5) требует для реализации максимизации не менее двух операторов управления.
2. Изменение координирующего воздействия S>ок>.
Система управления должна обрабатывать Х→S>ок>, что требует выполнения условия:
К>э>◦К>ок>
=
1,
1-К>э>◦К>ух>
которое после преобразования имеет вид:
К>э>◦ (К>ок >+ К>ух>) = 1.
Условие реализации обработки данного воздействия имеет вид:
К>э >= 1; К>ох >+ К>ух >= 1. (3.6)
3. Изменение внешнего возмущения F.
Условие реализации F→Х→0
К>э>◦К>уF>+К>F>
→ 0.
1-К>э>◦К>ух>
Для этого случая должно соблюдаться условие:
1 - К>э>◦К>ух >≠ 0,
в свою очередь это приводит к следующему условию, что при последовательно-каскадном включении операторов эффективности действий личного состава К>э> и оператора обратной связи К>ух>:
К>э>◦К>ух >≠ 1. (3.7)
Это условие физически невозможно, так как К>э >= 1; К>ух >< 1.
Условие: параллельное включение последовательно-каскадного включения операторов эффективности действий личного состава К>э>, оператора обработки внешнего воздействия К>уF>, и оператора воздействия внешнего неуправляемого воздействия F- К>F> будет равно нулю; запишем в виде выражения:
К>э>◦К>уF >+ К>F >= 0. (3.8)
При выполнении предыдущего условия К>э >= 1 и условия (3.8) приходим к окончательному виду:
К>уF>= - К>F>. (3.9)
Анализируя условия (3.5) и (3.9) оптимального управления отделением при всех возможных внешних воздействиях, можно отметить:
1. Условие К>э>=1 можно трактовать как максимально высокую обученность личного состава для ведения боевых действий, т.е. объект управления должен характеризоваться максимально возможным коэффициентом усиления по каналу управляющего воздействия.
2. Условия К>у>+К>ух >= 1; К>ок>-К>ух >= 1; К>ух >< 1 свидетельствуют о том, что оператор обратной связи должен быть положительным, но меньше единицы, т.е. максимального значения. Это означает, что обратная связь должна быть положительной, но не более определенной величины. В процессе управления значения операторов управления могут меняться, но в пределах условий (3.5) и (3.9).
3. Условие компенсации внешних возмущений К>уF>=-К>F> будет реализовано только при наличии достоверных и достаточно полных сведений о противнике F.
4. Функциональная реализация операторов управления К>у>; К>ух>; К>ох >должна быть осуществлена двумя-тремя командирами, т.к. объем информации, перерабатываемой в процессе управления современным боем, должен быть достаточно большим.
Для того чтобы правильно подтвердить вывод, заключенный в п. 4, составим эпюры информационных полей, образованных операторами К>у> – оператор обработки директивного воздействия S>р>; К>ух> – оператор обратной связи, контроля за действиями ЛС; К>ок> – оператор обработки воздействия S>ок> в процессе обработки информации.
Р
ис.
3.2
Из данной эпюры мы видим, что условия из п. 2 соблюдены, объем информации достаточно большой и если признать абстрактную единицу равной числу обращений (т.е. 1 = К; К = 5210), то весь объем информационного поля или весь поток информации в течение всего боя одному командиру отделения просто не под силу.
Для наглядности составим график зависимости количества личного состава отделения от числа обращений (рис. 3.3).
О
чевидно,
что при уменьшении числа исполнителей
управления резко сокращается число
обращений, в этом случае командиру
отделения под силу справиться с тем
потоком информации, который является
достаточно большим, но это не означает
сокращение численности л/с. Наоборот,
мы имеем опять все основания предполагать,
что на базе отделения из 10 человек в
боевой обстановке необходимо иметь три
группы солдат по три человека в каждой
(рис. 3.4).
Р
ис.
3.3. График зависимости количества личного
состава
от числа обращений.
Рис. 3.4
Условно назовем эти группы А, В, С, и управлять этими группами должны наиболее подготовленные военнослужащие. Следовательно, функциональная реализация операторов управления должна осуществляться тремя командирами, только в этом случае информационное поле (поток информации) будет целиком обработано.
Для успешной реализации управления необходим командир-управленец, координатор, обеспечивающий оптимальное распределение функций управления операторов управления между участниками. В качестве оператора должен быть, если обстановка позволяет, командир взвода или наиболее опытный и квалифицированный младший командир.
По аналогии с рассмотренной системой управления могут быть представлены системы управления взводом, ротой. Подразделения более высокого уровня имеют в составе системы управления штаб, что существенно меняет условия распределения функций управления.
3.3.
Интенсивность информационных потоков
в боевых подразделениях
Боевое подразделение совместно с системой управления – командованием представляет собой сложную информационную систему, структуру которой определяет организационная (функциональная) структура – система управления подразделением. Элементы информационной структуры: источники информации, определяющие состояние своего подразделения, источники информации о противнике (нарушителе), распоряжения командования. Потребители информации: командиры, которые перерабатывают информацию (операторы управления) в директивную, управляющую, которая в свою очередь направляется в отделения в виде команды личному составу. Во взводах переработанная информация направляется в качестве директивной информации командирам-управленцам нижнего уровня. Циркулирующая в системе управления информация характеризуется плотностью потока информации, т.е. математическим ожиданием числа в единицу времени дискретных объектов информации.
Иногда плотность потока называют интенсивностью. Интенсивность информационных потоков в боевых системах различают в зависимости от внешних условий. В нормальных условиях службы при отсутствии действий противника или нарушителей (преступников) интенсивность информационных потоков низка и зависит для командиров-управленцев от числа подчиненных. В этом случае номинальная интенсивность может быть высчитана по уже известной формуле Грейкунаса (3.1). Это связано с тем, что информация генерируется в самой системе управления путем пассивного взаимодействия с внешней средой. При выполнении служебно-боевых задач или при участии в боевых действиях самостоятельно или совместно с подразделениями Министерства обороны интенсивность информационных потоков возрастает. Простейшей оценкой объема информации может быть формула Грейкунаса, т.к. полученное с ее помощью число обращений к командиру отнесено к восьми часов рабочего времени, а при условиях боевого взаимодействия может существенно возрасти при сохранении влияния на интенсивность числа подчиненных.
Потоки информации потребителями преобразуются в новую конкретную составляющую – управляющее воздействие на личный состав, который реализует его в конкретных действиях.
Цель функционирования рассматриваемой информационной системы – это преобразование потоков информации в условиях переменной интенсивности. В первую очередь речь идет о преобразовании информации командирами-управленцами, т.е. преобразование информации операторами: К>ух>; К>у>;К>ок>; К>уF> в системе управления личным составом в отделении; во взводе: К>кх>; К>R>; К>RF>; К>ВК>. Анализ изложенного позволяет идентифицировать другую информационную систему как кибернетическую систему массового обслуживания и применить методы и приемы массового обслуживания для ее теоретико-аналитического исследования. Эта теория в настоящее время достаточно хорошо разработана и поэтому полученные с использованием данной теории научные результаты можно считать корректными и в наших исследованиях социальных объектов, к которым относятся подразделения СОБР, ОМОН и ВВ МВД России. Эффективность действия подразделения в боевых условиях полностью определяется эффективностью переработки информации командирами и ее реализации личным составом под руководством младших командиров. Время переработки оперативной информации определяется квалификацией командиров и количеством командиров-управленцев, реализующих соответствующие функциональные обязанности.
Очевидно, что чем выше квалификация командиров и больше число командиров, реализующих функцию переработки информации, тем быстрее и квалифицированнее она будет переработана, тем более эффективно будет действовать система управления и, следовательно, подразделение будет выполнять боевую задачу более оптимально. В тех случаях, когда информация перерабатывается не сразу, организуется очередь. Время пребывания в очереди может оказаться таковым, что данная информация перестанет быть актуальной и не сможет использоваться для целей управления. В боевых условиях такая потеря информации может привести к отрицательному результату в решении поставленной задачи. Особенно этот фактор актуален при ведении наступательных и встречных боевых действий, как показал опыт войны в Чеченской республике, когда время на переработку и принятие решений минимально. Рассмотрим формирование интенсивности информационных потоков в отделении и взводе, а в дальнейшем характеристики системы управления подразделением как системы массового обслуживания, в которой дискретный объем информации (заявка – в терминах теории систем массового обслуживания) покидает систему, если время ее нахождения больше некоторой величины t>ож>. Как было отмечено, это время, которое определяет временной момент актуальности информации, и поэтому заявка должна покинуть систему независимо, где она находится в очереди или перерабатывается.
В настоящее время интенсивность информации в системах управления социальными коллективами, к которым относится личный состав боевого подразделения, определяется количеством подчиненных. Информационный поток между подчиненными и начальником определяется зависимостью А.В. Грейкунаса (3.1), которая дает возможность рассчитать число обращений подчиненных к начальнику за рабочий день по формуле:
К = n [2n-1+ (n-1)]. (3.1)
По данной формуле рассчитывается информационный поток для операторов: К>ух> для отделения, К>вх> для взвода. Расчеты по формуле (3.1) можно осуществить и для других операторов, если источники информации жестко структурированы в систему.
Эта формула конкретна для условий повседневной деятельности подразделения, без решения служебных или боевых задач. Но и в оперативной обстановке решения боевой задачи, интенсивность возрастает пропорционально данным, полученным по формуле (3.1). В таблице 3.10 представлены данные расчетов по формуле (3.1) для рабочего дня (7 часов) и в пересчете на минуту.
Таблица 3.10
|
n |
2 |
3 |
4 |
5 |
6 |
7 |
8 |
9 |
10 |
|
K |
6 |
18 |
44 |
100 |
222 |
490 |
1080 |
2212 |
5210 |
|
Λ>мин> |
0,014 |
0,05 |
0,1 |
0,24 |
0,53 |
1,16 |
2,6 |
5,25 |
12,4 |
Предварительный анализ данных таблицы дает основание полагать, что полная переработка информации при командовании подразделением более 5 (пяти) человек невозможна чисто физически. Это объясняется тем, что при интенсивности информации 0,53 в минуту для обработки информации требуется менее 0,53 минуты. Необходимо ускорить переработку информации путем автоматизации управления подразделением, а не автоматизацией обработки информации. Это станет возможным путем внедрения автоматизированной системы управления служебно-боевыми действиями, которые базировались бы на непосредственном диспетчерском управлении действиями подразделения, а не на опосредованных методах, применяемых в настоящее время.
Другой путь увеличения скорости обработки информации –увеличение числа командного состава, особенно это относится к младшим командирам в отделениях и взводах. Современная мировая тенденция – это внедрение АСУ на современных принципах управления и увеличение числа командного состава (в подразделениях взвод, отделение) при высокой профессиональной подготовке.
3.4. Системы
управления боевыми подразделениями
МВД России
Рассмотрим системы управления боевыми подразделениями как системы массового обслуживания. Для данных систем характерны следующие особенности функционирования: в системе имеется только один аппарат (в нашем случае – один оператор управления), который способен обслужить (обработать) только одно требование, заявку (объем дискретной информации) или сообщение. Новое сообщение (если оно не отменяет предыдущее распоряжением старшего начальника), застав оператор управления занятым, становится в очередь и находится в ней до того момента времени, пока оператор не освободится. Возможны несколько параллельно работающих операторов, что чрезвычайно редко для системы управления, особенно нижних уровней иерархии управления.
Поток поступающих сообщений пуассоновский, его плотность λ имеет конечную величину. Время обработки сообщений t>обр> случайная величина, которая подчиняется показательному закону распределения с параметром
1
µ
= .
t>обр>
В работах по теории и прикладным задачам массового обслуживания приведены условия пользования, гипотезы показательного условия распределения времени обработки сообщений:
1
≤ m ≤ 20; 0,1 ≤ α ≤ 30; 0,3 ≤ β ≤ 10
(3.11)
t>обр >
α
= λ t>обр>;
β =
t>ож>
где t>обр>;t>ож> – математическое ожидание времени переработки и ожидание в очереди сообщений;
m – число каналов обслуживания.
В соответствии с полученными структурными схемами функционирования систем управления и статистическими данными систем управления можно отметить численные значения параметров для отделения: m = 4, т.к. командир отделения должен обработать информацию, источниками которой являются: Х, F, S>р>, S>ок>, т.е. выполнять функции всех четырех операторов управления К>ух>, К>у>, К>ок>, К>уF> (рис. 3.1) m = 4.
_ _
t>обр> - 2 минуты, t>ож> – 5 минут, т.е.
β = 2:5; β = 0,4; α = 12,52 = 25;
λ= 12,5 1/мин.
Очевидно, что гипотезу о показательном распределении времени обработки сообщений в условиях аналитико-расчетного исследования системы управления можно использовать и для взвода: m = 9, т.к. источниками информации являются Х, F из каждого отделения при условии трех отделений во взводе, информация о взаимодействии с соседями (левый и правый фланги) S>вк>, а также директивная информация руководства S>g>.
_ _
t>обр> = 10 мин; t>ож >= 15 мин, т.е.
β = 10/15 = 0,66; α = 2,610 = 26
λ=2,6 1/мин.
Очевидно, что данная гипотеза может быть использована и для взвода.
3.5.
Теоретический анализ распределения
функций
управления во взводе ОМОН и
ВВ МВД России
1. Формирование функций управления взводом
П

одобно
тому, как был рассмотрен подобный вопрос
в 3.2, рассмотрим функциональную структуру
управления личным составом взвода. На
рисунке 3.12 представлена схема структуры.
Р






ис.
3.12. Схема функциональной структуры
управления
личным составом взвода
Условные обозначения:
КВ – командир взвода, управляющая система верхнего уровня. Представлена операциями: К>р>; К>рF>; К>рх>; К>вк>;
КО = {3} – командир отделения, управляющая система нижнего уровня. Представлена операторами: К>у>={3}; K>yx>={3}; K>ok>={3}; K>yf>={3};
В рассматриваемом случае и во всех остальных принято обозначение количества элементов системы управления в виде множества {b}, где «b» – число элементов данного вида;
ЛС ={ 3} – личный состав отделения;
Х = {В} – комплексный показатель, характеризующий боеспособность отделения. Боеспособность взвода определяется: Х>в >= Х>1>+Х>2>+ Х>3>;
М = {3} – управляющее воздействие командиров отделений КО на личный состав ЛС;
F = {3}-внешне неуправляемое воздействие противника, внешней среды на личный состав отделений;
S>g >= {1}-директивное воздействие верхнего уровня: роты, батальона;
S>bk >= {2} – координирующее воздействие соседних подразделений роты;
K>pF> – оператор обработки внешнего воздействия;
K>p> – оператор обработки директивного воздействия S>g>;
K>bk> – оператор обработки координирующего воздействия S>bk>;
K>px> – оператор обратной связи, контроля за действиями ЛС.
Все остальные обозначения аналогичны обозначением в функциональной схеме отделения.
В рассматриваемом варианте математических моделей используется терминология общей теории систем и принятые два вида операций последовательного и параллельного включения.
Математическую модель объекта управления личным составом взвода можно записать в виде:
Х = К>э>◦М + К>уF>◦F (X = {3};M = {3};K>ув >= {3};F = {3}). (3.12)
Математическую модель управляющими подсистемами КО = {3} запишем:
М = К>у>◦S>р >+ К>ух>◦Х + К>уF>◦F + К>ок>◦S>ок>. (3.14)
(К>у >= {1}; К>ух >= {3}; М = {3})
Давая выражению (3.2) математическое определение, запишем: комплексный показатель, характеризующий боеспособность подразделения, равен сумме операций, композиций оператора К>э> и управляющего воздействия командиров отделений; оператора К>уF> и внешнего неуправляемого воздействия противника, метеоусловий, местности и внешней среды.
Математическую модель подсистемы управления верхнего уровня КВ запишем:
S>p >= K>p>◦S>q >+ K>px>◦X + K>pF>◦F + K>bk>◦S>bk>. (3.15)
(S>p >= {1}; S>q >= {1}; K>px >= {1}; K>pF >= {1})
Исключив из выражений (3.2-3.4) промежуточные переменные S>р> и М, получим уравнение системы управления:
Х (1 - К>э>◦К>у>◦К>р>-К>э>◦К>ух>) =
= К>э>◦К>у>◦К>р>◦S>q >+ (К>э>◦К>у>◦К>рF >+ К>э>◦К>уF >+К>F>)◦F +
+ К>э>◦К>у>◦К>вк>◦S>вк >+ К>э>◦К>ок>◦S>ок>. (3.16)
Преобразуем полученное уравнение к виду, удобному для дальнейшего анализа свойств системы управления:
К>э>◦К>у>◦К>р>
Х =
◦S>q>
+
(1+К>э>◦К>у>◦К>рх> – К>э>◦К>ух>)
(К>э>◦К>эу>◦К>рF >+ К>э>◦К>уF>+К>F>) К>э>◦К>у>◦К>вк>

+
◦ F +
◦ S>вк
>+
(1+К>э>◦К>у>◦К>рх>- К>э>◦К>ух>) (1+К>э>◦К>у>◦К>рх>- К>э>◦К>ух>)
К>э>◦К>ок>
+
◦ S>ок>.
(3.17)
(1+К>э>◦К>у>◦К>рх>- К>э>◦К>ух>)
2. Варианты задач управления взводом
Рассмотрим варианты задач управления взводом в зависимости от внешних воздействий: S>q>; F; S>вк>.
1. Изменение директивного воздействия командования верхнего уровня: роты, батальона, при изменении величины Х>в>:
а) S>р>→Х>р>, Х>в >= Х>1 >+ Х>2 >+ Х>3>;
б
)
Х>в>=√а
r
Считаем, что ЛС и КО отделений как объекты управления включены параллельно; поэтому полученные результаты анализа можно распространить на операторы всех отделений.
К>э>◦К>у>◦К>р>
→ 1.
(3.18)
1-К>э>◦К>у>◦К>рх>-К>э>К>ух>
Преобразуем условие (3.7) к виду:
Кэ◦ [Ку◦ (Кр + Крх) + Кух] = 1. (3.19)
Анализируя выражение (3.7), с учетом реализации условия (а) получаем:
К>э >= 1; К>у >= 1; К>р >= 1. (3.20)
Для реализации условия (б) необходимо, чтобы К>ух >≤ 1, т.е. условие реализации обратной связи; совместная реализация условий (а) и (б) после подстановки условий реализации в (3.19), получаем К>рх >≤ -1.
Последнее условие определяет режим функционирования отрицательной обратной связи:
К>рх >= -К>ух>. (3.21)
Данное условие стабилизирует устойчивость рассматриваемой системы управления, т.к. она содержит обратные связи: три внутренние в отделениях К>ух >= {3} и одна внешняя через оператор взвода К>рх>.
2. Изменение координирующего воздействия S>вк> при изменении величины Х>в>.
а) S>вк>→Х>в>;Х>в>=Х>1>+Х>2>+Х>3>;
в
)
Х>в>=√а
r.
Считаем, что результаты анализа можно распространить на операторы всех отделений. Исходное соотношение – третье слагаемое выражения (3.6):
К>э>◦К>вк>
→1.
(3.22)
(1 - К>э>◦К>у>◦К>рх> - К>э>◦К)
После преобразования получаем выражение, удобное для анализа:
К>э>◦ [К>вк >+ К>у>◦К>рх >+ К>ух>] = 1. (3.23)
Условие реализации (а) приводит к соотношениям:
К>у >= 1; К>э >= 1; К>вк >= 1. (3.24)
Условие реализации (б) приводит к соотношениям:
К>ух >= 1; К>ух >= -К>рх>. (3.25)
Последнее условие является условием стабилизации устойчивости управления.
3. Изменение внешнего возмущения F при изменении величины Х>в>:
а
)
F→Х>в>→0;
Х>в>=Х>1>+Х>2>+Х>3>;
б) Х>в>=√а r.
Исходное соотношение – второе слагаемое выражения (3.6)
К>э>◦К>у>◦К>рF >+ К>э>◦К>уF >+ К>F>
→ 0.
(3.26)
(1 - К>э>◦К>у>◦К>рх >- К>э>◦К>ух>)
Для реализации условий (а) необходимо, чтобы в (3.15) числитель был равен 0 (нулю), т.е.
(К>э>◦К>у>◦К>рF >+ К>э>◦К>у >+ К>F>) = 0. (3.27)
К>э >≠ 0; К>у >≠ 0; К>F >≠ 0 по определению, исходя из реализации системы управления и определяющая соответствующими условиями К>э >= К>у >= 1.
Следовательно, условие (а) определяется:
К>рF >+ К>F >= 0; К>рF >= -К>F> (3.28)
Условие реализации (б) определяется так же, как и в предыдущих случаях:
К>ух >= 1; К>ух >= -К>рх>.
Задача управления объектом – взводом – не рассматривается, т.к. она является задачей управления верхнего уровня.
Анализируя полученные результаты исследований функций управления взводом, можно отметить:
а) управление реализацией командного воздействия S>q> зависит от интенсивности функционирования операторов управления К>у >= К>р >= 1; К>э> при максимальной организованности, профессиональной подготовке личного состава;
б) управление взводом при координирующем воздействии S>вк> также требует максимальной интенсивности функционирования операторов управления К>у >= К>вк >= 1 при К>э >= 1;
в) управление взводом при внешнем воздействии F также требует тех же условий максимизации операторов управления К>у >= К>р >= 1 и условия К>э >= 1;
г) условие К>ух >= -К>рх >является требованием к управлению обратной связью в отделениях взводным командованием. Это обеспечивает максимальную эффективность действий личного состава при высокой устойчивости системы управления;
д) полученные результаты являются основой для дальнейших исследований и практической реализации построения структур систем управления при модернизации строевых подразделений ОВД и ВВ МВД России.
3.6. Практический
опыт управления
боевыми подразделениями
в Великобритании
Развиваясь параллельными курсами, боевые подразделения МВД России и силы специальных операций (ССО) Великобритании имеют ряд существенных различий.
Если в МВД России боевые подразделения сформированы и применяются в соответствии со старыми принципами комплектации, формирования и управления, то ССО Великобритании применяются по-иному. За последние 15 лет ССО Великобритании несколько раз принимали участие в различных войнах и вооруженных конфликтах: Южная Атлантика (1982), Персидский залив (1990-1991), Босния (1994-1995). В ходе этих войн и конфликтов, которые велись в совершенно непохожих друг на друга регионах мира, командование ССО имело возможность на практике проверить возможности нового типа управления, тактические приемы и способы использования оружия и снаряжения, отработанные ранее на занятиях и учениях.
Кроме того, постоянным «полигоном» все это время фактически являлась Северная Ирландия, где подразделения ССО участвовали в борьбе с терроризмом.
Приведем примеры нескольких фотографий боя силами ССО. Так, 8 мая 1987 года группа спецназовцев, получив предварительные данные о готовящемся нападении, устроила засаду в помещении полицейского участка в г. Лаугхолл, скрытно заняв позиции в самом здании и на путях подхода к нему. Они сумели уничтожить восемь боевиков Ирландской республиканской армии без какого-либо ущерба для себя.
В ходе проведения боевых действий за пределами Соединенного Королевства подразделения ССО выполняли различные разведывательные задачи, наводили авиацию на выявленные цели противника, проводили корректировку огня артиллерии, отслеживали результаты авиационных и артиллерийских ударов.
Патруль – основная тактическая единица ССО при выполнении всего круга задач, которые на них возлагаются. Состав патруля зависит от выполняемой задачи, условий местности и многих других факторов, которые уже были рассмотрены в предыдущих главах.
Так, например, при ведении боевых действий в джунглях Борнео (1963-1966) патруль состоял из трех человек и при необходимости мог сформироваться в полнокровное отделение из восьми человек. При проведении антитеррористических операций из числа отделения формируются патрульные пары по два человека. При любом виде формирования патруль полноценно управляем, способен вникать в быстро меняющуюся обстановку, командир патруля – специально подготовленный профессионал для ведения боя и управления «двойкой» или «тройкой».
При проведении специальных мероприятий в тылу противника создается специальный отряд численностью 2-3 взвода, заранее распределенный на патрули по 2-3 человека. Патрульная группа (8-12 чел.) подчиняется командиру отделения.
Примером этого может послужить операция по уничтожению самолетов ВВС Аргентины во время Фолклендского конфликта на острове Пеббл 14-15 мая 1982 года. За 4 дня до начала операции на соседний остров (Западные Фолкленды) с помощью вертолетов были высажены два патруля по четыре человека каждый для проведения разведки места базирования самолетов. Переправившись через пролив на разборных каноэ, патрули оборудовали наблюдательные посты (НП) на удалении 1800 м от аэродрома и провели его разведку. Утром 14 мая на противоположном конце острова Пеббл тремя вертолетами «Си Кинг» были высажены два взвода из состава роты «Д» 22-го полка ССО.
Они были
вооружены винтовками М-16 с подствольными
гранатометами М-203, одноразовыми
гранатометами М-72 американского
производства, ручными пулеметами GPMG и
двумя
81-мм минометами. Каждый спецназовец
нес на себе 2 мины к миномету, а также
заряды взрывчатых веществ. Совершив
переход к месту проведения операции,
отряд по приказу командира взвода
разделился на две группы и занял исходные
позиции. Одна группа (20 человек) должна
была уничтожить самолеты на стоянках.
Другая прикрывала эти действия, заняв
рубеж на направлении вероятного прибытия
подкрепления из ближайшего аргентинского
гарнизона. Перед началом боевых действий
группы разделились на «четверки», по
пять патрулей в каждой группе для ведения
боевых действий под общим командованием
командира взвода. Операция проходила
с использованием минометного огня, в
темное время суток. Для лучшей ориентации
велась стрельба осветительными минами
и снарядами.
В результате операции все 11 аргентинских самолетов были уничтожены. Потери англичан – двое раненых. Всего в операции участвовало 45 человек.
После вывода в тыл противника главная задача патруля (для всех участников управления):
1. Как можно быстрее покинуть место высадки.
Скорость передвижения в лесу (джунглях) составляет V ≥ 1,5 км/ч (в Арктике на лыжах V ≥ 4 км/ч).
2. При внезапной встрече с противником или попадании в засаду патруль не должен вступать в затяжной бой: t>боя >→ min.
3. Главная задача – ошеломить противника шквальным огнем из всех видов оружия, выйти из-под обстрела и скрыться, т.е., если пользоваться условием (2.5), можно записать:
F>бmax>↑→ (.)К при t → min;
В свою очередь противник также ведет бой и воздействует на подразделение ССО всеми огневыми средствами, в этом случае:

4. Прибыв в район выполнения задачи, патруль организует наблюдательный пост (НП) для ведения разведки:
F>б>=F>разв>.
Виды НП могут быть следующими:
а) для двух человек –«top to tail». На этом этапе рюкзаки со снаряжением лежат в ногах напарника. Два других члена патруля отдыхают в другом месте, анализируют информацию или передают ее в центр, т.е. интенсивность функционирования операторов управления К>у >= К>р >= 1; К>э> при максимальной организованности, максимальной подготовке личного состава;
б) для четырех человек – «валет» и «звезда», отдыхающие также анализируют информацию или передают ее в центр.
5. Меры скрытности. Военнослужащим ССО запрещено после доклада командиру патруля или передачи данных в центр сохранять какие-либо записи о результатах разведки. Все черновые материалы должны уничтожаться. Не разрешается делать какие-либо отметки на карте, в том числе наносить выявленные объекты противника. Не рекомендуется также показывать что-либо на карте пальцем, т.к. грязные или жирные пальцы оставляют следы, и в случае попадания карты к противнику это может привести к раскрытию содержания деятельности патруля. В этом мы видим яркое подтверждение п. 2 результатов исследований функций управления взводом. К>у >= К>вк >= 1; при К>э >= 1.
Чтобы подтвердить точность тех же результатов исследования в п. 3, рассмотрим еще один пример практических действий тех же ССО Великобритании. Патруль Б-20 (Bravo-two-zero) из состава роты «В» 22 полка ССО в составе 8 человек под командованием сержанта Энди Макнаба (псевдоним) был высажен на территории Западного Ирака. Задача – ведение разведки в районе северного шоссе с целью обнаружения мобильных ракетных установок «СКАД». Каждый член патруля нес рюкзак весом до 95 кг (F) с имуществом и снаряжением. Прибыв в район выполнения задачи, организовав базу и наблюдательный пост, патруль приступил к выполнению задачи. Однако случилось непредвиденное: место расположения базы было обнаружено пасшим коз мальчиком, который сообщил об этом иракским военным. Отразив нападение противника, командир патруля принял решение бросить тяжелые рюкзаки и уходить от преследования. Разделившись на заранее сформированные пары (!) и назначив основной и запасной пункт сбора, патруль начал отходить. На случай невозможности выйти на пункт сбора спецназовцам была дана команда самостоятельно выходить на территорию Сирии.
Иракцы организовали плотное преследование. Положение англичан усугубилось плохой погодой (F): дождь со снегом, сильный ветер, отрицательная температура воздуха. В результате один военнослужащий ССО был убит в столкновении с противником, двое умерли от переохлаждения, четверо, включая командира, попали в плен. Лишь одному человеку из «двойки» удалось спастись. Капрал Крис Райан, пройдя за 8 суток около 300 км по пустыне, сумел выйти на территорию Сирии. Личный состав других патрулей ССО выполнял аналогичную задачу в районе центрального шоссе. Однако из-за плохих метеоусловий он не смог эвакуироваться из района выполнения задачи по воздуху и был вынужден выходить в расположение своих войск пешком, пройдя по пустыне с оружием и снаряжением 220 км без потерь.
Это яркое подтверждение п.3 результатов исследования функций управления взводом при внешнем воздействии F также требует тех же условий максимизации операторов управления в боевой обстановке К>у >= К>р >= 1 и условия К>э >= 1.
Для подтверждения данных п. 4 результатов исследования функций управления взводом приведем еще один пример тактики боевого применения ССО Великобритании.
Личный состав мобильного отряда (взвода) был разделен на патрули-«тройки». В состав мобильного отряда входили 12 машин и 2-3 мотоцикла. В каждой машине находилось три человека: командир, водитель и стрелок-оператор огневой установки. В качестве огневой установки примерно на половине машин установлен ПТУР «Милан», а на остальных 12,7-мм пулеметы «Браунинг» или автоматические гранатометы МК-19.
При выполнении задачи отряд выдвигался в составе колонны машин, имея впереди охранение из легкой разведывательной машины или пары мотоциклов. По прибытии в район выполнения задачи организовывалась база, откуда высылались разведдозоры на машинах «Land Rover» для осмотра участков местности с целью обнаружения ракет «СКАД», сбора информации о них и в случае необходимости – уничтожения.
В месте расположения базы командир отряда (взвода) отдавал распоряжение выстроить машины по кругу и накрыть маскировочной сеткой. Личный состав, не занятый выполнением каких-либо задач, находился внутри этого круга: отдыхал, приводил в порядок оружие и снаряжение. Парные дозоры для охраны базы выставлялись на удалении 250-300 метров. Их количество зависело от условий местности и близости противника. В базе организовывалось постоянное дежурство для управления и поддержания связи с РД и охранением (!).
Осмотрев таким образом один район, вся колонна перемещалась в новый, где процедура повторялась (рис. 3.18).
t
>ос>
– время обратной связи
Рис. 3. 18
При обнаружении пусковых установок ракет командир отряда или РД (!) определял их координаты с помощью прибора спутниковой навигационной системы GPS и передавал в центр управления ССО (это условие изложено в п. 4). При нанесении авиационных ударов по выявленным целям пусковые установки иногда подсвечивались с помощью лазерного целеуказателя. После нанесения авиационного удара проводилась разведка его результатов, и при необходимости оставшиеся пусковые установки уничтожались из ПТУР «Милан». Если обнаруживалось подразделение ракет «СКАД» на марше, то РД сопровождали его, двигаясь параллельным курсом на некотором удалении. Дождавшись прибытия авиации, они проводили корректировку нанесения удара.
3 февраля 1991 года РД в составе трех машин обнаружил иракскую колонну с пусковыми установками ракет (всего 14 машин) в районе г. Ар-Рутбах. Доложив по связи командованию об обнаружении ракет «СКАД», РД следовал параллельным маршрутом, постоянно ведя наблюдение за колонной. Примерно через 10 минут появились два F-15 и нанесли ракетный удар по иракской колонне. После того, как рассеялся дым и улеглась пыль, командир РД обнаружил, что две пусковые установки остались целы, и доложил об этом в центр по радио. Получив сообщение, что сейчас в этом районе нет авиации, которая смогла бы повторить удар, он принял решение самостоятельно атаковать оставшиеся пусковые установки из ПТУР «Милан», что и было успешно проделано. В завязавшемся после этого бое с подоспевшим иракским подкреплением одна машина ССО была подбита. Прибывшие на помощь F-15 нанесли удар по иракцам. Воспользовавшись наступившими сумерками (F), британские спецназовцы на оставшихся машинах ушли от преследования. Данный пример ярко подтверждает п.4 результата анализа функций управления.
Мы можем
лишь предположить, какой огромный поток
информации пришлось переработать
командирам всех патрулей и
командиру
отряда (взвода) лично. Естественно,
уровень их подготовки очень высок,
техника укомплектована бортовыми
компьютерами, командиры патрулей и
дозоров пользуются обратной связью и
т.д. И мы действительно можем утверждать,
что условие К>ух
>=
-К>рх>
является требованием к управлению
обратной связью в отделениях взводным
командованием. Это действительно
обеспечивает максимальную эффективность
действий личного состава при высокой
устойчивости системы управления.
На сегодняшний день в структурных подразделениях МВД России существует реальная тенденция на основе полученных результатов исследования во взводе (отделении) реализовать построение структур системы управления при модернизации ОВД и ВВ МВД.
ЗАКЛЮЧЕНИЕ
Гарантируя естественные права и свободы личности, государство призвано с этой целью обеспечивать преобразование экономических и социальных структур в обществе, а учитывая рост правонарушений и в частности преступности, а также возросшее количество внутренних вооруженных конфликтов, особенно заботиться о разработке и проведении мер по их предотвращении.
Таким образом, современное Российское государство призвано не в меньшей, а возможно, что даже и в большей, чем ранее, степени осуществлять свою социализаторскую функцию в обществе. Боевое подразделение, без сомнения, является социальным коллективом. В данной работе авторский коллектив предпринял попытку доказать целесообразность реструктуризации низовых подразделений только для ведения боевых действий и управления ими на базе кибернетики и системотехники.
Моделируя низовые подразделения, отделение и взвод, мы опирались также и на практический опыт боевых действий в Чеченской республике. Двое из авторов: А.А.Кабанов и Н.Н.Кузин, являются очевидцами и участниками боевых действий при проведении специальных операций по ликвидации и уничтожению бандитских формирований. Таблицы 1 и 2 в главе 2 были рассчитаны ими теоретически, но исходя из практических знаний, приобретенных в боевых условиях. Результаты математических расчетов, которые производились параллельно, сравнивались с практическими и в основном подтвердили наши предположения и выводы.
Хотелось бы в заключение окончательно сформулировать основные выводы теоретического анализа распределения функций управления в подразделениях ОМОН и внутренних войсках МВД России:
Данные К (числа обращений) фактически из таблицы 1 и 2 (глава 2) приблизительно равны расчетным.
Управленческий цикл в бою состоит из пяти элементов:
Формирование задачи управления: цель, критерий, эффективность, ограничения и условия реализации задачи.
Практические решения по реализации определяются оперативными условиями, располагаемыми ресурсами, ресурсами противника, внешними условиями (формулы и модели 1, 2, 3, 4, 5, 6, 7, 8, 9; глава 2).
Планирование мероприятий по реализации: алгоритм действий участников, введение огневых средств, техники, личного состава (основного и из резерва). Установление временного графика действий.
Организационная подготовка по выполнению запланированных действий. Создание структуры, системы подразделений и участников запланированной операции, распределение обязанностей и функций между ними (таблица 1 и 2; формулы 11, 12, 14, 15, 16).
Оперативное управление и контроль за ходом выполнения управленческих решений.
Уменьшая число исполнителей управления, резко сокращается число обращений, в этом случае командиру отделения (взвода) под силу справиться с тем потоком информации, который является достаточно большим, делегировав часть своих полномочий специально подготовленным подчиненным. Но это не означает сокращение численности личного состава. Наоборот, мы имеем все основания предполагать, что на базе отделения из десяти человек в боевой обстановке необходимо иметь три группы бойцов (солдат) по три человека в каждой (из восьми человек – четыре «двойки» бойцов (солдат)).
Управление реализацией командного воздействия S>g> зависит от интенсивности функционирования операторов управления: К>у >= К>р >= 1; К>э> при максимальной организованности, профессиональной подготовке личного состава.
Управление взводом при координирующем воздействии S>вк >также требует максимальной интенсивности функционирования операторов управления: К>у >= К>вк> = 1 при К>э >= 1.
Управление взводом при внешнем воздействии F также требует тех же условий максимизации операторов управления
К>у >= К>р >= 1 и условия К>э >= 1.Условие К>ух >= -К>рх> является требованием к управлению обратной связью в отделениях взводным командованием. Это обеспечивает максимальную эффективность действий личного состава при высокой устойчивости системы управления.
Полученные результаты являются основой для дальнейших исследований и практических реализаций построения структур систем управления при модернизации строевых подразделений ОВД и ВВ МВД России.
С учетом указанных выводов и новых задач должен быть осуществлен процесс преобразования низовых структур боевых подразделений МВД России, специализирующихся на выполнении боевых задач и ведении боевых действий, а также управляемых в быстроменяющейся обстановке и скоротечных условиях боя. Следует уточнить, что в борьбе с преступностью и сепаратизмом, особенно с их организованными структурами в деятельности по преобразованию силовых социальных структур в целях повышения эффективности их функционирования, цели государства, сотрудников ОВД, военнослужащих внутренних войск и цели нашего авторского коллектива совпадают, ибо в конечном счете обеспечение безопасности и нормальной жизнедеятельности общества есть в то же время и обеспечение безопасности государства Российского.
ЛИТЕРАТУРА
Дружинин В.В., Конторов Д.С. Вопросы военной системотехники. М.: Воениздат, 1976.
Сметанин Ю.В., Бугель Н.В. и др. Военная кибернетика и общая теория систем в современном естествознании. СПб.: Санкт-Петербургский университет МВД России, 2000.
Маркс К., Энгельс Ф. Собр. соч. Т. 3.
Мушкет И.И., Хохлов Е.Б. Полицейское право России: проблемы теории. СПб.: Санкт-Петербургский университет, 1998.
Солдат удачи. 2000. № 2 (65). С. 22-24.
Съедин С.И., Абдурахманов Р.А. Психологические последствия боевой обстановки. М., 1992.
Военная психология и педагогика / Под ред. В.Ф. Кулакова. М., 1998.
Козьмин А.Ф. Методологические проблемы управления войсками. Л., 1985.

Справочный материал
Санкт-Петербургский университет МВД России образован в соответствии с Постановлением Правительства РФ № 611 от 18 июня 1998 года и является самым крупным вузом не только в системе образовательных учреждений МВД России, но и среди юридических вузов страны.
Университет осуществляет подготовку, переподготовку и повышение квалификации специалистов для органов внутренних дел, Государственной противопожарной службы, финансово-экономических и контрольно-ревизионных подразделений МВД России, других министерств и ведомств, а также обучение студентов по 17 различным специальностям с выдачей выпускникам документа государственного образца.
Ежегодно слушателями и курсантами Университета становятся несколько тысяч человек, имеющих среднее, среднее специальное и высшее образование. Обучение более 30 тысяч курсантов и слушателей ведется на 9 факультетах в Санкт-Петербурге, 4 территориальных факультетах заочного обучения в городах Великом Новгороде, Мурманске, Петрозаводске, Пскове.
В Университете обучаются офицеры, имеющие практический опыт работы и лица, впервые поступившие на службу в МВД России.
Учебный процесс обеспечивают 1150 преподавателей, работающих на 62 кафедрах, в том числе 34 академика, около 200 докторов наук, более 400 кандидатов наук, свыше 150 профессоров и 250 доцентов, среди них известные ученые-юристы, историки, философы, педагоги и психологи.
С Университетом сотрудничают различные правоохранительные органы и образовательные учреждения Великобритании, Венгрии, Германии, Италии, Китая, Португалии, Румынии, США, Франции, Финляндии, Швеции и Швейцарии.
Санкт-Петербургский университет МВД России – это головная научная организация по разработке проблем совершенствования кадровой и воспитательной работы с личным составом органов внутренних дел и внутренних войск, которая выполняет функции научного центра в системе МВД России по координации научно-исследовательской деятельности, информации, стандартизации, оценке научной новизны исследований, проводимых в этой области.
Проблема качественной подготовки руководящих и научно-педагогических кадров решается через адъюнктуру и институт соискательства. На сегодняшний день в Университете функционируют 5 диссертационных советов, из них 3 по защите докторских диссертаций по 8 научным специальностям. С 1993 по 1999 гг. в диссертационных советах было защищено 420 работ. Только в 1999 году прошли успешную защиту 114 кандидатских и 12 докторских диссертаций. В настоящее время сотрудники Университета ведут более 300 диссертационных изысканий.
Существующие условия позволяют успешно вести научные исследования прикладного характера по профилю вуза и в то же время, выдерживая тематику научных направлений, осуществлять широкую научно-исследовательскую поисковую деятельность в области теории и истории права и государства, конституционного и административного права, муниципального права, уголовного права и процесса, оперативно-розыскной деятельности и криминологии, пожарной безопасности, отечественной истории, педагогики и юридической психологии.
Результаты научных исследований находят свое воплощение в издаваемой Университетом научной литературе. Наиболее значительными работами, выпущенными в свет в 1999 гг., являются серии: «Классики русской философии права», «Классики истории и философии права», «Мир культуры, истории и философии», «Мир медицины», «Учебники для вузов. Специальная литература», «Наркомания: социальная опасность», «Наркомания в армии (социологический анализ)», «Национальная безопасность России: конституционное обеспечение» (автор и руководитель проектов В.П.Сальников). В 1998-1999 годах профессорско-преподавательским составом Университета было подготовлено и издано более 200 учебно-методических пособий и учебников. Среди них уникальные в своем роде учебники «Криминология» (коллектив авторов, под ред. В.Н.Бурлакова, В.П.Сальникова, С.В.Степашина), «Философия» (И.И.Кальной, В.П.Сальников, Х.С.Гуцериев), «Реалистическая философия» (под общ. и науч. ред. В.Л.Обухова и В.П.Сальникова), «Философия» (для юридических вузов) / Под ред. В.П.Сальникова, В.П.Федорова, Г.Н.Хона, «Основы оперативно-розыскной деятельности» (под ред. С.В.Степашина) и др.
Научные исследования проводятся по заявкам кафедр и факультетов, заказам МВД России и его главных управлений, ГУВД Санкт-Петербурга и Ленинградской области, а также законодательных и исполнительных органов власти.
Ученые вуза приняли участие в разработке ряда проектов законодательных актов, а также Целевой программы развития правоохранительной деятельности в Санкт-Петербурге на 1999-2003 гг., которая получила высокую оценку властей города. По заказу Межпарламентской ассамблеи стран СНГ ученые Университета ведут подготовку унифицированного законодательства в области оперативно-розыскной деятельности органов внутренних дел и борьбы с наркоманией, организованной преступностью и др.
Все научные исследования проходят апробацию на симпозиумах, научных и научно-практических конференциях и семинарах различного уровня - вузовского, межвузовского, всероссийского и международного. Только в 1999 г. на базе Университета были проведены такие крупные научно-практические конференции, как: «Компьютерная преступность: состояние, тенденции и превентивные меры ее профилактики», «Современная социология и философия права: Россия – Восток – Запад», «Право и экология», «Актуальные проблемы безопасности информационного пространства», «Ювенальная юстиция и профилактика правонарушений», на которых рассматривался широкий спектр проблем деятельности органов внутренних дел современной России.
Начальником Санкт-Петербургского университета МВД России является заслуженный деятель науки РФ, доктор юридических наук, профессор, академик, генерал-лейтенант милиции Сальников Виктор Петрович.
Россия, 198075, Санкт-Петербург, ул. Летчика Пилютова, д.1,
тел.: 144-70-42, факс: 144-70-42,144-24-39,
E-mail yimc@spb.mvd.ru, ,
www.univermvd.ru
1 Дружинин В.В., Конторов Д.С. Вопросы военной системотехники. М.: Воениздат, 1976. С. 4.
1 Маркс К., Энгельс Ф. Собр. соч. Т. 3. С. 72.