Разработка технологии производства сгущенного молока с сахаром
Содержание пояснительной записки
Введение 2
1. Литературный обзор. Вывод литературного обзора 3
2. Цели и задачи исследования 30
3. Методика исследования 31
4. Экспериментальная часть 45
4.1. Приборы и посуда 45
4.2 Разработка вакуум-выпарной установки 46
4.3 Схема проведения исследований 47
4.4 Эксперимент 1 50
4.5 Эксперимент 2 60
5. Обсуждение результатов 69
6. Экономическая эффективность 77
Выводы 79
Приложения 83
Библиографический список 85
Введение
В последние 10 лет в России активно развиваются новые направления производства, связанные с выработкой продуктов со сложным жировым составом. В состав таких продуктов наряду с молочным жиром входят растительные масла и продукты их модификаций. Большой интерес к производству продуктов со сложным жировым составом обусловлен формированием новых взглядов на рациональное питание, развитием современных технологий, дефицитом качественного молочного сырья и высокой его стоимостью, ростом конкуренции со стороны импортной продукции.
Структура потребления явно смещается в сторону масел со сложным жировым составом. Это не только продукт с хорошим соотношением цена – качество, но и удовлетворяющие определённые потребности потребителя по жирности и составу жиров, в том числе и как продукты здорового питания.
Использование сухого молока в качестве сырья позволит решить такие проблемы как сезонный дефицит молока и позволит снизить себестоимость продукта за счет того, что существует возможность восстановления сухого молока до более высокого содержания сухих веществ, чем в обычном молоке.
1 Литературный обзор
1.1Российский рынок молочных консервов
1.1.1 Производство молочных консервов
Производство молочных консервов в России непрерывно растет. Стойкие и транспортабельные, они дают возможность потреблять молоко в тех регионах, в которых отсутствует молочное скотоводство. Для туристов и экипажей кораблей эти продукты просто незаменимы.
Все более широкое применение они находят в домашнем применении. В дальнейшем потребление молочных консервов будет увеличиваться, так как расширяется их ассортимент [13].
За 2003 г. производство молочных консервов в целом по России выросло на 7,1% по сравнению с предыдущим 2002 г. и составило 581,0 туб [1].
Можно выделить округа, где произошло увеличение выработки молочных консервов по отношению к прошлому году: Центральный – объем производства вырос на 12%; Южный – на 31%; Сибирский – на 2%.
Однако на фоне общего роста производства молочных консервов существуют округа, где объем их выпуска за данный период снизился. К ним относятся: Северо-Западный, Приволжский, Уральский.
В табл. 1 представлено соотношение объемов производства молочных консервов за 2003 г. по отношению к предыдущему году в разрезе федеральных округов[1].
Таблица 1.1. Производство молочных консервов за 2003,2002гг [1].

|
Федеральный округ |
Производство молочных консервов, туб |
Изменение, % |
|
|
2003 г. |
2002 г. |
||
|
Россия (всего) |
581,0 |
542,4 |
107,1 |
|
Центральный |
343,9 |
307,0 |
112,0 |
|
Северо-Западный |
23,1 |
28,7 |
80,5 |
|
Южный |
46,2 |
35,3 |
131,0 |
|
Приволжский |
19,9 |
23,3 |
85,5 |
|
Уральский |
71,8 |
73,5 |
97,7 |
|
Сибирский |
76,1 |
74,6 |
102,0 |
На рис.1.1 показана доля основных федеральных округов – производителей молочных консервов за 2003 год.
рис.1.1.
Доля основных экономических районов –
производителей
молочных консервов за 2003 г.
Анализ данных представленного рисунка устанавливает, что на долю Центрального, Сибирского и Уральского федеральных округов приходится 84,5% от общероссийского производства молочных консервов.
Долгое время многие специалисты считали данный рынок недостаточно перспективным, т.к. по оценкам некоторых экспертов, значительная доля (до 40%) приходилась на заказ со стороны силовых структур государства [3]. На сегодняшний день к одним из основных потребителей сгущенного молока относят различных производителей других пищевых продуктов. Его используют в кондитерской промышленности для производства ириса, молочных (типа «Коровки»), сбивных, помадных и ликёрных конфет, ассорти, начинок для конфет; в производстве мороженого; в хлебопекарной промышленности – для производства тортов, пирожных, рулетов, кремов [27].
Что же касается непосредственно населения, то по данным исследования, проверенного компанией «Эрконпродукт», сгущённое молоко как особый вид сладкого продукта потребляют около 45% россиян с периодичностью от одного до нескольких раз в месяц в зависимости от исследуемой местности.
Средняя российская цена на сгущённое молоко за банку массой 400 г в 2003 г. колебалась в пределах 12 – 17 руб. (по данным системы ММЦ) [3].
По оценкам различных экспертов 50 – 70% рынка сгущённого молока заняты консервами, изготовленными не по ГОСТу, а в соответствии с ТУ – с добавлением в продукт растительных жиров.
Основных причин в производстве сгущённого молока с растительными жирами две.
Первая – недостаток молочного сырья. Другая существенная причина – использование растительных ингредиентов ведёт к снижению себестоимости, что составляет по оценкам экспертов, не менее 35 – 40% [3].
1.1.1.2 Производство сухого цельного молока
Производство сухого цельного молока в 2003 г. в целом по России составило 76,7 тыс.т, это меньше на 5,3%, чем в предыдущем 2002 г [1]. Однако в Центральном и Уральском округах произошло увеличение производства сухого цельного молока на 7,4% и на 7,2% соответственно. В остальных наблюдается снижение объёмов производства.
В таблице 2 представлено соотношение объёмов производства сухого цельного молока за 2003 г. по отношению к 2002 г. в разрезе федеральных округов [1].
Таблица 1.2. Производство сухого цельного молока за 2003, 2002 гг [1].
|
Федеральный округ |
Производство сухого цельного молока, тыс.т |
Изменение, % |
|
|
2003 г. |
2002 г. |
||
|
Россия, всего |
76,7 |
80,9 |
94,7 |
Центральный |
27,6 |
25,7 |
107,4 |
|
Северо-Западный |
4,2 |
6,1 |
68,7 |
|
Южный |
3,4 |
3,7 |
92,0 |
|
Приволжский |
17,4 |
18,8 |
92,3 |
|
Уральский |
4,4 |
4,1 |
107,2 |
|
Сибирский |
19,7 |
22,6 |
87,2 |
|
Дальневосточный |
- |
- |
- |
На рис.1.2 показана доля основных федеральных округов производителей сухого цельного молока в 2003 г.
рис.1.2.
Доля основных экономических районов
– производителей сухого цельного молока
Видно, что производство сухого цельного молока в Центральном, Сибирском и Приволжском округах составляет 84,4% от всего производства сухого цельного молока в России за 2003 год.
На 15.11.2003 г. оптово-отпускная цена на сухое цельное молоко по России и Сибирскому региону составляли от 39,6 д. 81,0 руб./кг и от 48,0 до 58,0 руб./кг соответственно. Розничная цена сухого цельного молока по России и Сибирскому региону колебалась в пределах от 50,0 до 125,0 руб./кг и от 50,0 до 90,0 руб./кг соответственно [2]. В Сибирском округе максимальное значение цен на сухое цельное молоко значительно ниже максимальных значений по России, а розничная цена сухого цельного молока вообще минимальна по России.
1.1.1.3 Производство сухого обезжиренного молока.
За 2003 г. в России было произведено 97,3 тыс.т сухого обезжиренного молока – это на 7,2% ниже чем в 2002 г.
Однако в таких регионах как Северо-Западный и Уральский производство сухого обезжиренного молока увеличилось на 22,9% и 12,9% соответственно, в остальных округах наблюдалось снижение объёмов производства. В таблице 3 представлены соотношения объёмов производства сухого обезжиренного молока за 2003 г. и 2002 г.
Таблица 1.3. Производство сухого
обезжиренного молока за 2003,
2002 гг[1].
|
Федеральный округ |
Производство СОМ, тыс.т |
Изменение, % |
|
|
2003 г. |
2002 г. |
||
|
Россия, всего |
97,3 |
104,8 |
92,8 |
Центральный |
30,3 |
32,0 |
93,8 |
|
Северо-Западный |
5,3 |
4,3 |
122,9 |
|
Южный |
9,5 |
10,9 |
87,5 |
|
Приволжский |
32,4 |
34,5 |
93,9 |
|
Уральский |
3,7 |
3,3 |
112,9 |
|
Сибирский |
16,3 |
19,7 |
82,9 |
|
Дальневосточный |
0,03 |
0,2 |
15,4 |
На рис.1.3 представлена доля основных федеральных округов – производителей СОМ в 2003 г.

рис.1.3. Доля основных экономических районов – производителей
сухого обезжиренного молока
На долю Центрального, Приволжского и Сибирского округов приходится 80,8% производства от всего производства СОМ в России.
По данным Минсельхоза России [2] на 15.11.2003 г. цены на СОМ составляли: Оптово-отпускные цены (с НДС) 28,30 и 65,0 руб./кг минимальная и максимальная соответственно и розничные цены (с НДС) 45,0 и 72,0 min и max соответственно – по России.
Для Западно-Сибирского региона оптово-отпускные цены 36,0 (min) и 56,0 (max), а также розничные цены 55,0 (min) и (max).
1.1.2 Комбинированное и модифицированное сгущённое молоко с сахаром
Резкое ухудшение экологической обстановки во всём мире, связанное с техническим прогрессом, а также недостаток или избыток отдельных компонентов пищи привели к появлению новых и резкому увеличению числа известных болезней, связанных с неправильным питанием.
Для сохранения здоровья человека продукты питания должны обеспечивать улучшение обмена веществ, повышение сопротивляемости организма к неблагоприятным воздействиям внешней среды. В связи с этим актуальной является разработка специализированных продуктов сбалансированного состава, обладающих лечебно-профилактическим действием с учётом физиологических потребностей различных возрастных групп населения.
Создание продуктов «здорового» питания, имеющих сбалансированный состав, может быть реализовано за счёт их многокомпонентности, в частности путём комбинирования сырья животного растительного происхождения [20].
Использование сухого молочного сырья и растительных жиров при производстве сгущённого молока с сахаром также решает такие проблемы, как дефицит молочного сырья и снижение себестоимости продукта.
Сухое молоко, жиры и специальные смеси, используемые в качестве ингредиентов при производстве рекомбинированных молочных консервов, должны быть хорошего качества и обладать необходимыми функциональными характеристиками, обеспечивающими готовый продукт определёнными свойствами.
Сухое молоко выбирают с учётом его состава, физических и химических и микробиологических характеристик. Наиболее важной характеристикой СОМ является его способность придавать продукту нужную вязкость. Важно знать условия производства, поскольку и тепловая обработка и гомогенизация могут повлиять на вязкость вырабатываемого сгущённого молока с сахаром.
Сгущенные молочные консервы вырабатывают по традиционной технологии в соответствии с ГОСТом 2903-78 и по различным ТУ.
Традиционная технология сгущенного молока с сахаром.
Сгущенные молочные консервы вырабатывают двух видов: с сахаром и без него (стерилизованные).
Сгущенные молочные консервы с сахаром. Имеют однородную по всей массе консистенцию без ощутимых органолептически кристаллов лактозы, белый с кремовым оттенком цвет (для нежирных консервов допускается голубоватый оттенок, а для консервов с наполнителем —темно-коричневый). Эти консервы обладают сладким вкусом с выраженным оттенком пастеризованного молока или сливок, а консервы с наполнителями — хорошо выраженными вкусом и запахом натурального кофе или какао. В настоящее время изготовляют большой ассортимент сгущенных консервов с сахаром, нежирных и с массовой долей влаги от 26 до 30 %, сухих веществ от 26 до 36, жира от 5 до 19 и сахарозы от 37 до 44 %, кислотностью от 37 до 60 Т. В готовых консервах общее количество бактерий в 1 г допускается не более 50 000 (для молока сгущенного с сахаром, нежирного и пахты) и 35 000 (для сгущенных консервов с сахаром, кофе и какао), бактерии группы кишечной палочки в 0,1 г продукта и патогенные микроорганизмы не допускаются.
Предприятия отрасли выпускают следующие виды консервов: цельное сгущенное молоко с сахаром, сгущенные сливки с сахаром; нежирное сгущенное молоко с сахаром; сгущенную пахту с сахаром; натуральный кофе со сгущенным молоком и сахаром, какао со сгущенным молоком и сахаром, какао со сгущенными сливками и сахаром и другие с различными оригинальными названиями.
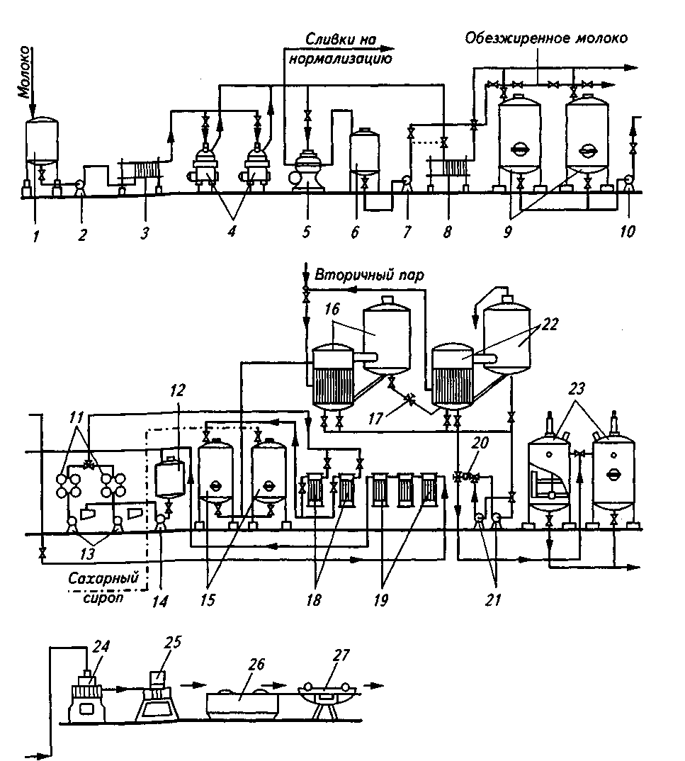
Сгущенные молочные консервы с сахаром вырабатывают по одной технологической схеме (рис. 1.4). Режимные параметры зависят от конкретного вида консервов.
Технологический процесс производства сгущенных консервов с сахаром состоит из следующих основных операций: приемка и подготовка сырья и компонентов, нормализация, пастеризация, гомогенизация, приготовление и добавление сахарного сиропа, сгущение, охлаждение сгущенного продукта, фасование, упаковывание (закатывание) и хранение.
Приемку молочного сырья и его подготовку (очистку, охлаждение и резервирование) проводят так же, как и при выработке других молочных продуктов. Компоненты готового продукта по рецептуре подготавливают согласно действующей документации. После подготовки молоко нормализуют с учетом содержания в готовом продукте жира, сухого молочного остатка, сухого обезжиренного молочного остатка (СОМО) и соотношения жира и СОМО (Ж>пр>/СОМО>лр>). Это соотношение сравнивают с соотношением в перерабатываемой партии молока (Ж>М>/СОМО>М>). Если Ж>М>/СОМО>М> >Ж>пр>/СОМО>пр>, то для нормализации исходного молока используют обезжиренное молоко; если Ж>М>/СОМО>Ы> < Ж>пр>/ СОМО>пр>, то молоко нормализуют сливками; если Ж>и>/СОМО>м> = Ж>П>р/СОМО>пр>, то молоко не нормализуют.
Нормализованную молочную смесь пастеризуют при температуре 85—95 или 105—112°С без выдержки. Для нежирных консервов обезжиренное молоко и пахту пастеризуют при 75—77°С с выдержкой 10 мин и при 85—90°С без выдержки. В нормализованное молоко перед пастеризацией можно вносить 25%-ный водный раствор соли-стабилизатора в количестве 0,008—0,01 % массы
молока. После пастеризации молоко рекомендуется охладить до 70—75°С и направить на сгущение. Выдержка молока при температуре пастеризации обеспечивает получение готового продукта повышенной вязкости.
Перед сгущением допускается гомогенизация молока. Ее применяют в зимнее время, а также для консервов вязкостью менее 2,5 Па • с. Гомогенизацию проводят при температуре 60—65 °С и рабочем давлении 8—10МПа, а для сгущенных консервов с кофе — при 75—80 °С и 10—12 МПа.
Сахарный сироп готовят путем растворения необходимого количества сахара в питьевой воде температурой 60—70 "С. После смешивания сахара с водой смесь доводят до кипения и очищают. Сахарные сиропы рекомендуется готовить с концентрацией сахара 65—70 %. С целью предотвращения расщепления (инверсии) сахарозы, а также засахаривания и загустения сироп нельзя выдерживать более 20 мин от начала кипения до начала его смешивания с молоком. Температура сиропа при смешивании должна быть 90—95 °С.
Сахарный сироп может поступать в вакуум-аппарат установки в смеси с молоком или поэтапно: сироп — молоко — сироп. Перед поступлением в выпарной аппарат молочную смесь с сахарным сиропом, молоко или сироп фильтруют.

Рис. 1.4. Технологическая схема выработки сгущенных молочных консервов с сахаром:
/ — приемная емкость; 2, 7, 10, 13, 14, 21 — насосы; 3 — пластинчатый нагреватель; 4—сепара-торы-молокоочистители; 5— сепаратор-сливкоотделитель; 6— емкость для обезжиренного молока; 8— пластинчатый охладитель; 9, 12, 15— емкости; 11 — трубчатые пастеризаторы; 16, 22—'вакуум-аппараты; 17, 20— регуляторы уровня; 18— трубчатые охладители; 19 — трубчатые подогреватели; 23 — вакуум-охладитель; 24— наполнитель; 25— закаточная машина; 26— моечно-сушильны'й агрегат; 27— этикетировочная машина
Сгущение (варку) проводят при температуре кипения: в однокорпусной установке 55—58 °С в середине процесса и 60—63 °С в конце процесса, в двухкорпусной установке 70—80 °С в первом корпусе и 50—52 °С во втором корпусе. Продолжительность сгущения продукта в вакуум-аппарате должна быть минимальной. Для установления готовности продукта отбирают его пробу, охлаждают до 18—20 °С и определяют плотность, массовую долю сухого вещества и органолептические показатели. Плотность сгущенного цельного молока с сахаром при 50 °С равна 1280—1320 кг/м3. Массовая доля сухих веществ в готовом продукте по рефрактометру при 20 °С составляет 73,8—74 %. Консистенция пробы продукта при 50 °С должна быть слабовязкой. Продукт должен легко стекать со шпателя или ареометра при извлечении его из цилиндра, в котором определяли плотность пробы. Сгущенный продукт из вакуум-выпарной установки направляют на охлаждение. Для этой цели применяют охладители-кристаллизаторы и вакуумные охладители. Продукт охлаждают до температуры 18—20 °С в течение 40—60 мин.
При охлаждении сгущенного молока с сахаром начинается кристаллизация лактозы. Этот процесс неуправляем, и результатом его является образование крупных кристаллов. Для получения продукта высокого качества необходимо, чтобы размеры кристаллов лактозы не превышали 10 мкм. Если образуются кристаллы большего размера, то консистенция сгущенного продукта становится мучнистой и даже песчанистой. Для интенсификации кристаллизации и образования мелких кристаллов лактозы в сгущенный продукт вносят затравку — сухую мелко-кристаллическую лактозу с размером кристаллов 2—3 мкм. Количество затравки соответствует 0,2 % массы продукта. Лактозу перед внесением прогревают при 105 ± 2 °С не менее 1 ч. После внесения лактозы в сгущенное молоко увеличивается число зародышей кристаллизации, которые способствуют образованию мелких кристаллов. В качестве затравки можно использовать сгущенное молоко предыдущей выработки. Его количество должно составлять не менее 10 %. Температура кристаллизации лактозы 25-35 °С.
О правильно проведенной кристаллизации лактозы судят по ее размерам. Согласно ГОСТ 2903 однородность консистенции продукта определяют по средним размерам и распределению кристаллов по группам, а их количество — подсчетом под микроскопом с применением окуляров-микрометров. Величину кристалла измеряют по длине грани. Все кристаллы делят на 4 группы. По средней величине кристаллов в каждой группе и их количеству вычисляют средний размер кристаллов в сгущенном молоке с сахаром. При определении размеров кристаллов молочного сахара измеряют не менее 100 кристаллов. В зависимости от размеров кристаллов молочного сахара выделяют следующую консистенцию продукта: до 10 мкм — консистенция, однородная по всей массе; от 11 до 15 — мучнистая; от 16 до 25 — песчанистая; более 25 — хрустящая на зубах.
Из охлажденного сгущенного молока отбирают также пробы для определения физико-механических и биохимических показателей. Если эти показатели соответствуют нормативной документации, то продукт направляют на фасование и закатывание. Готовый продукт фасуют и закатывают в жестяные банки № 1, 7, 13, металлические тубы № 13, а также фанерно-штампованные или деревянные заливные бочки и металлические фляги.
Если продукт не соответствует по содержанию воды и жира требованиям ГОСТа и технических условий, его нормализуют (стандартизируют) после сгущения водой обезжиренным молоком или сливками. Вода должна быть кипяченой и очищенной. Ее количество можно определить по формуле
М* = (Л/прСпр/Стр) - М>пр>, (1)
где А/в, Л/пр — масса добавляемой воды и продукта, кг; С>пр>, Сф — массовая доля сухих веществ в нормализуемом продукте и требуемая массовая доля сухих веществ в готовом продукте, %.
Количество обезжиренного молока, которое необходимо для нормализации готового продукта, определяют по формуле
М>0> = М>пр>[(Ж>пр>/О>пр>) - С>пр>]/[С>0> - (Ж>0>/0>пр>)], (2)
где М>0> —- масса добавляемого обезжиренного молока, кг; Ж>пр>, Ж>0> — массовая доля жира в продукте и обезжиренном молоке, %; О>пр> — отношение массовых долей
жира и СОМО, которое должно быть в готовом продукте; С>0> — массовая доля сухих веществ в обезжиренном молоке, %.
Количество сливок, которое необходимо добавить при нормализации сгущенного продукта,
М>сл> = М>пр>(С>сл>О>пр> - Ж>пр>)/(Ж>сл> — С>сл>Ж>пр>), (3)
где А/>сл> — масса добавляемых сливок, кг; С>сл> — массовая доля СОМО в сливках, %.
Обезжиренное молоко и сливки, добавляемые в сгущенный продукт, пастеризуют при той же температуре, что и молоко, используемое для сгущения. Температура воды, обезжиренного молока и сливок, используемых для нормализации, должна быть равна температуре нормализуемого сгущенного молока. Если сгущенное молоко с сахаром содержит воды больше, чем предусмотрено нормативной документацией, то разрешается смешивать его с продуктом более низкой влажности другой варки.
Технологии сгущенного молока с сахаром изготавливаемые по ТУ
1) Разработкой технологии и рецептуры рекомбинированного сгущённого молока с сахаром в 1997 г. занималась Датская фирма APV. В качестве сырья в опытах использовали 90,2% сухого обезжиренного молока среднетемпературной сушки, 8,1% безводного молочного жира, 45,6% кристаллического сахара (сахароза из сахарной свеклы) и 26,1% воды. Партия продукта весом 494 кг включала 100 кг СОМ, 40 кг безводного молочного жира, 225 кг сахара и 129 кг воды.
Была установлена линия производительностью 500 кг/ч, в неё входило следующее оборудование: турбомиксер, насосы, танк-балансер, гомогенизирующий пластинчатый теплообменник – охладитель, дозирующее устройство для затравки лактозы и теплообменник со скребковой поверхностью.
В ходе опытов использовали
следующие режимы: смешивание и
гомогенизация – при 60оС;
пастеризация – при 90оС;
время выдержки – 20 сек.; температура
при выходе после деаэрации – 85оС;
температура при выходе из пластинчатого
теплообменника – 50оС;
затравка лактозой – при 50оС;
температура при выходе из теплообменника
со скребковой поверхностью –
24оС-
26оС; давление
гомогенизации – 50 бар [23].
Деаэрацию рекомбинированного сгущённого молока проводили при стандартном перемешивании. Продукт совершенно не содержал воздуха. Средний размер кристаллов составлял менее 10 мкм.
Однако автор не указывает особенности технологии производства продукта, в частности о восстановлении сухого обезжиренного молока - режимов этого процесса, а также оптимального содержание сухих веществ в восстановленном молоке.
Осуществлялись также попытки производства рекомбинированного сгущённого молока путём перемешивания и деаэрации под вакуумом. В результате получился продукт, близкий к выработанному без перемешивания под вакуумом. Единственным его отличием была более низкая вязкость по сравнению с нормальной. Она продолжала оставаться такой и при хранении.
Опыты, проведённые в марте 1997 г., показали, что рекомбинированное сгущённое молоко с сахаром можно вырабатывать без затрат на высокие, дорогостоящие, потребляющие большое количество энергии охладители мгновенного действия.
С другой стороны, опыты говорят о том, что перемешивание под вакуумом без дальнейшей деаэрации рекомендовать нельзя.
Изучали также влияние гомогенизации при разном давлении (50,25 и 15 бар.) на вязкость готового продукта. Установлена чётко прослеживаемая тенденция: чем ниже давление гомогенизации, тем меньше вязкость. Рекомендуется одноступенчатая гомогенизация при давлении 25 - 50 бар.
Опыты, проведённые фирмой APV, дают возможность рекомендовать для полного удаления свободного воздуха из смеси для рекомбинированного сгущённого молока с сахаром, использовать деаэратор, работающий при температуре пастеризации, окончательное охлаждение до температуры розлива (24оС – 26оС) проводить с помощью теплообменника со скребковой поверхностью, влажную затравку лактозы осуществлять непрерывно при температуре ниже 4оС.
2) ГУ ВНИИ молочной промышленности по заказу компании «Союзснаб» была разработана технология производства сгущённого молока с сахаром «Лидер». Согласно предлагаемой технологии производства продукта используется только натуральное обезжиренное молоко, растительный жир и сахар. Основные показатели состава сгущённого молока с сахаром «Лидер», нормируемые техническими условиями, полностью соответствуют показателям состава продукта, вырабатываемого по ГОСТ 2903-78. Поэтому сгущённое молоко с сахаром «Лидер» также технологично при переработке, как и сгущённое молоко с сахаром по ГОСТ 2903-78.
Выбор растительного масла производился ГУ ВНИМИ молочной промышленности совместно с ГНУ ВНИИ жиров, ГУ НИИ проблем хранения, ГУ ВНИИ кондитерской промышленности, ГУ ВНИИ холодильной промышленности. Были проведены хроматографические исследования жирнокислотного состава более 10 видов жиров растительного происхождения. Основными критериями при оценке жиров были приняты: натуральность жира, отсутствие в нём трансизомеров, результаты жирнокислотного анализа, физические свойства исследуемого жира.
На основании комплексной оценки жиров, а также качества выработанных на их основе сгущённого молока с сахаром и кондитерских изделий с использованием этого сгущённого молока с сахаром наилучшим признано рафинированное, дезодорированное пальмовое масло «Золотой стандарт» производства компании Intevconfinental Speciatti Fats (Малайзия).
Применение сгущённого молока с сахаром «Лидер» способствует получению кондитерских изделий с желаемой термостойкостью. Использование рафинированного дезодорированного пальмового масла в производстве сгущённого молока с сахаром обеспечивает получение кондитерских изделий с заданными структурно-механическими свойствами, а также способствует увеличению срока их хранения.
3) Ниже представлена общая технология производства сгущенного молока из сухого молока по ТУ разработанная фирмой ООНПК «Прогрессивные Технологии»[22]. В зависимости от производительности, использования сырья, фасовки, цикличности и других параметров технология подготовки компонентов, их тепловая или механическая обработка может меняться.
1.
Приемка и подготовка сырья
Основными
компонентами при производстве сгущенного
молока данным способом являются: сухое
обезжиренное молоко, жиры животного
или растительного происхождения,
сахарный песок, вода, лактоза.
2.
Наведение смеси, нормализация
В
емкости с рубашкой и перемешивающим
устройством производят наведение смеси.
Рассчитанную массу сухого молока
растворяют в питьевой воде при t 40-45С.
После растворения молоко пропускают
через сетчатый фильтр с целью освобождения
от комочков. После этого смесь охлаждают
до t= 5-8°С
и выдерживают при этой t 2-3 часа с целью
набухания белков, устранения "водяного"
привкуса, улучшения консистенции
восстановленного молока. Требуемое
количество сахара вносится в твердом
виде. Предварительно растопленные до
консистенции сметаны жиры вносят в
емкость. Смесь тщательно вымешивается.
В итоге получаем смесь, соответствующую
по массовой доле сухих веществ, влаги
и жиру - готовому продукту. Данные
операции производятся с использованием
емкостных теплообменных аппаратов и
диспергаторов.
3.
Пастеризация
Пастеризация
смеси производится в этой же емкости
при t=90-95˚С
4.
Охлаждение молока. Кристаллизация
лактозы
Смесь
фильтруется и насосом подается в
кристаллизатор с вакуумным насосом,
где производится интенсивное вымешивание
смеси, внесение затравки (лактозы 0,02%)
для образования центров кристаллизации,
кристаллизация лактозы при быстром
охлаждении сгущенного молока.
5.
Фасовка и хранение
Готовый
продукт направляется в промежуточную
емкость. Далее - фасовка, хранение.
Требования к сырью:
Сухое обезжиренное молоко
Лучше использовать СОМ полученное на распылительной сушильной установке, т.к. его качество и степень растворимости значительно выше, чем у СОМ полученного на пленочной сушильной установке.Требования к жирам
Для нормализации смеси по жиру можно использовать молочные жиры или жиры растительного происхождения, заменители молочного жира.Требования к воде
Питьевая вода должна быть безопасной в эпидемиологическом и радиационном отношении, безвредной по химическому составу и должна иметь благоприятные органолептические свойства.
Для
получения 1 т сгущенного молока требуется
1 т нормализованной смеси, в состав
которой входит:
Сухое обезжиренное
молоко 205 кг
Жир 85 кг
Сахар 440 кг
Вода
270 кг
1.1.3. Растительные масла и жировые системы, применяемые в пищевой
промышленности
В настоящее время практически все ведущие европейские предприятия для расширения ассортимента, улучшения качества и получения недорогих, полезных продуктов питания используют растительные жиры и масла.В последние годы были сделаны фундаментальные находки, изменившие взгляды на здоровое питание. Роль жиров в организме человека очень значима – это важнейший строительный материал для клеточных мембран. В то же время ни один из природных жиров не является идеальным по своему жирнокислотному составу и свойствам. В связи с этим существуют реальная потребность и необходимость создания функциональных жировых продуктов с заданным оптимальным сочетанием жирных кислот. В рационе россиян присутствует недостаточное количество растительных масел, которые являются основным источником эссенциальных жирных кислот – линолевой, линоленовой и арахадановой [19]. Сегодня важнейшей задачей является реализация социально-значимой программы «Здоровое население». Используя в пищевой промышленности жировые системы на основе растительных масел можно решить проблему направленного и сбалансированного питания. С целью нормализации липидного обмена, широкое распространение которого способствует возникновению таких заболеваний как атеросклероз, ишемическая болезнь, ожирение, гепатит и др [19]. Для этого специалистами создаются жировые системы на основе растительных масел и жиров, которые используются для производства продуктов сбалансированного состава.На российском рынке представлены различные виды как традиционных растительных масел (соевое, подсолнечное, рапсовое, кукурузное и др.), так и масла тропических и субтропических растений (пальмовое, кокосовое, пальмоядровое и др.). Каждый вид масла характеризуется специфическим для него жирнокислотным и триглицеридным составом, йодным числом, числом омыления, температурой плавления и отвердования, твёрдостью и т.д [19]. В настоящее время во всем мире используются различные жировые системы в производстве масла, сметаны, сыра, мороженого и сгущённого молока, кондитерских, пекарных и хлебобулочных изделий [19]. В молочной промышленности используют жировые системы, приближённые к молочному жиру по следующим показателям: жирнокислотному составу, физико-химическим и структурно-механическим свойствам.
Увеличенное содержания в них полиненасыщенных жирных кислот, а также отсутствие холестерина резко увеичивает пищевую ценность молочных продуктов. При этом технологические свойства этих жировых систем позволяют вести технологические процессы получения молочных продуктов без изменения технологии на том же оборудовании [18].
Российский рынок жировых систем представлен следующими заменителями молочного жира:
- жир, выпускаемый под торговой маркой «Акобленд» МИКС шведской фирмы «Карлсхамнс», представляет собой композицию гидронизированного и дезодорированного растительного масла;
- растительный жир «Полавар» датской фирмы «Орхус Олье» – это гидрогенизированное пальмоядровое масло;
- жир «Деликон-1» фирмы ЗАО «ЗМЖ» – дезодорированный растительный жир;
- заменитель молочного жира Московского завода топлёного масла (МЗТМ) – масло топлёное «Российское золотое» – представляет собой высокожирную смесь молочных и пищевых растительных жиров;
- жир «Союз – 5/2Л», поставляемый корпорацией «Союз»;
- заменители молочного жира «Эколакт» группы компании «Эфко»;
- растительные жиры и их смеси, выпускаемые компанией «ЕвроОЙЛ» под торговыми марками «Альтависто» и «Евро».
Ниже представлены характеристики некоторых заменителей молочного жира и растительных масел.
1.1.3.1 Заменитель молочного жира «Союз-5/2Л»[16]
Таблица 1.4. Параметры жира «Союз-5/2Л»
Состав |
Смесь натуральных фракционированных раститель-ных масел и жиров, лецитин, ароматизатор, краситель (β-каротин) |
|
Применение |
Производство масла комбинированного, сметаны, маргарина, сгущённого молока, плавленых сыров |
|
Свободные жирные кислоты (макс.),% |
0,08 |
|
Влажность (макс), % |
0,05 |
|
Трансизомеры жирн.и-ь |
Отсутствуют |
|
Нерастворимые вещества |
Отсутствуют |
|
Перикисное число |
0,5 мг/кг |
|
Температура плавления |
35оС |
|
Вкус |
Мягкий |
|
Массовая доля жира, % |
99,9 |
|
Сроки и условия хранения |
1 год при t не выше 5оС |
В 2000 году корпорацией, специально дал российского рынка, был создан заменитель молочного жира «Союз-5/2», который используется более, чем на 200 российских предприятиях. В первом квартале 2001 года, с учётом рекомендаций ВНИИ жиров и пожеланий российских производителей, заменитель молочного жира «Союз-5/2» был усовершенствован. Теперь он поставляется с маркировкой «ЛЮКС» («Союз-5/2Л») и обладает улучшенными органолептическими свойствами:
- «Союз-5/2Л» не содержит трансизомеров жирных кислот;
- тщательно подобран состав данной жировой системы – кривая плавления максимально приближена к кривой плавления молочного жира (рис.1.5).

Рис. 1.5. Содержание твердого жира в заменителе молочного жира «СОЮЗ-5/2Л» в зависимости от температуры.
Как известно, молочный жир имеет уникальные характеристики плавления: оставаясь совершенно твёрдым при низкой температуре, он полностью расплавляется при температуре тела, что исключительно важно для вкусовых ощущений во время потребления продукта, содержащего молочный жир. Заменитель молочного жира «Союз-5/2Л» обладает аналогичными молочному жиру свойствами плавления и может заменять его, сохраняя при этом традиционное качество готового продукта.
Необходимо отметить, что параметр показателя твёрдости молочного жира имеет склонность к сезонным колебаниям, а у растительных жиров, в частности, у заменителя молочного жира «Союз-5/2Л» этот показатель стабилен в течение года.
Современный мягкий ароматизатор придаёт готовому продукту натуральный сливочный вкус, а новый эмульгатор позволяет достичь однородной консистенции готового продукта.
Заменитель молочного жира «Союз-5/2Л» обладает значительной устойчивостью к окислению и прогорклости, что увеличивает хранимоспособность молочных продуктов.
Перед началом поточного производства заменителя молочного жира «Союз-5/2Л» были проведены пробные выработки на 23 молочных предприятиях Северо-Западного и Центрального регионов России ранее уже работавших на заменителе молочного жира «Союз-5/2».
1.1.3.2 Заменитель молочного жира «Деликон-1» [17]
Предлагается 4 марки жира «Деликон-1»
Таблица 4.5. Характеристка жира «Деликон-1»
|
Показатели |
Деликон-1М |
Деликон-1Т |
Деликон-1МЛ |
Деликон-1ТЛ |
|
Массовая доля жира, % |
99,8 |
99,8 |
99,8 |
99,8 |
|
Массовая доля влаги и летучих веществ, % не более |
0,1 |
0,1 |
0,1 |
0,1 |
|
Кислотное число, мг, КОН/г не более |
0,2 |
0,2 |
0,2 |
0,2 |
|
Температура плавления, оС |
26-28 |
26-28 |
26-28 |
26-28 |
|
Твёрдость по Каминскому, г/см |
70-110 |
110-200 |
70-110 |
110-200 |
|
Перекисное чис-ло, не более |
1 |
1 |
1 |
1 |
|
Наличие пище-вых добавок |
- |
- |
В-каротин эмульгатор ароматизатор |
В-каротин эмульгатор ароматизатор |
Все жиры группы «Деликон-1» стабилизированы антиоксидантами Е320, Е321.
1.1.3.3 Растительный жир «Полавар» [12].
Жирокислотный состав, %:
лауриновая кислота - 57,9
миристиновая кислота - 12,9
пальмитиновая кислота - 5,9
стеариновая кислота - 5,4
олеиновая кислота - 9,1
Содержание жира, %:
число омыления - 245 – 255
йодное число - 16 – 19
температура плавления, оС - 27 – 29оС
Содержание твёрдой фазы , %
при 20оС - 44 – 49
25оС - 14 – 19
30оС - 2 – 6
35оС - 0 – 2
1.1.3.4 Пальмовое масло [18]
Таблица 1.6. Характеристика пальмового масла
Показатели |
Значения |
|
Температура плавления, оС |
39 – 42 |
|
Застывания |
19 – 24 |
|
Твёрдость при 15оС, г/см |
80 – 90 |
|
Состав жирных кислот триглицеридов, % |
|
|
С 4 : 0 |
- |
|
С 6 : 0 |
- |
|
С 8 : 0 |
- |
|
С 10 : 0 |
- |
|
С 10 : 1 |
- |
|
С 12 : 0 |
0,2 – 0,3 |
|
С 12 : 1 |
- |
|
С 14 : 0 |
1,0 – 1,2 |
|
С 14 : 1 |
- |
|
С 16 : 0 |
43,0 – 45,1 |
|
С 16 : 1 |
0,1 – 0,2 |
|
С 18 : 0 |
3,5 – 4,6 |
|
С 18 : 1 |
37,7 – 41,2 |
|
С 18 : 2 |
10,6 – 11,0 |
|
С 18 : 3 |
0,2 – 0,3 |
|
С 20 : 0 |
0,3 – 0,4 |
|
С 22 : 1; С 20 : 2; С 22 : 0; С 22 : 1 |
- |
Пальмовое масло состоит из триглицеридов высокомолекулярных жирных кислот ряда С16 – С18, молочный жир имеет широкий спектр низко-, средне- и высокомолекулярных жирных кислот от С4 до С18. При этом в составе пальмового масла находится до 10% тринасыщенных триглицеридов пальмитиновой кислоты, что обуславливает его высокую температуру плавления – до 42оС. Молочный жир имеет очень разнообразный усреднённый триглицеридный состав, что определяет более низкую температуру его плавления (28 – 34оС). Естественно, что частичное использование пальмового масла взамен молочного жира приводит к тугоплавкости молочных продуктов, потере пластичности и снижению потребительских и пищевых свойств. Известное положение о сбалансированности полиненасыщенных и насыщенных жирных кислот в составе триглицеридов также говорит не в пользу использования пальмового масла в качестве полноценного заменителя молочного жира.
1.1.3.5 Масло топлёное «Российское золотое» [21].
Таблица 1.7. Характеристика масла «Российское золотое»
Показатели |
Значения |
|
Внешний вид |
желтый зернистый |
|
Температура плавления |
36оС – 37оС |
|
Содержание жира |
98,5 % |
|
Срок хранения |
от 3 до 10 месяцев |
Продукт представляет собой высокожирную (98,5%) смесь молочных и пищевых, растительных жиров. Содержит термоустойчивый комплекс из 12 витаминов (А, Д3, Е, В1, В2, В6, В12, пантотенат кальция, РР фолиевая кислота, аскорбат натрия, биотин) производства фирмы Хофман & Лярош.
Продукт идеально подходит для сбалансированного питания, повышает действие ферментов в организме, способствует усвоению белка и содержит минимальное количество холестерина.
Топлёное масло «Российское золотое» является уникальным заменителем молочного жира и основным заменителем, ответственным за конечный вкус и питательную ценность, созданных с его помощью продуктов.
Продукт имеет ярко выраженный сливочный аромат и позволяет получать готовую продукцию с различными характеристиками и потребительскими показателями. Высокое качество продукта отмечено золотой медалью и дипломом на международной выставке – ярмарке «Праздник масла и сыра 2003 г.» в номенации «Лучшая продукция масложировой, маслодельной и сыродельной отрасли».
Высокая пищевая ценность, хорошая усвояемость важная физиологическая роль в организме человека обеспечивают высокоэффективное применение масла «Российское золотое» для создания на его основе широкого ассортимента комбинированных молочных продуктов. Идеально подходит для производства сливочного масла, сметаны, творога, йогуртов, сгущённого молока, твёрдых и плавленых сыров, мороженого, нормализации молока.
1.1.3.6 Соевое масло
Таблица 1.8. Характеристика соевого масла [12]
Показатель |
Значение |
|
Число омыления |
189 – 195 |
|
Йодное число |
120 – 140 |
|
Число Рейхерта – Мейссля |
0,50 – 0,80 |
|
Число Поленске |
0,8 – 1,1 |
|
Температура оС |
|
|
Плавления |
- |
|
Отвердевания |
-15... -18 |
|
Показатель преломления |
1,4740 – 1,4780 |
Соевое масло отличается уникальным химическим составом. В отличие от подсолнечного и кукурузного масла в нём содержится до 10% особой жирной кислоты (α-–линолевой), которая в организме превращается в биологически активное соединение, оказывающее многообразные эффекты – уменьшают спазмы сосудов, снижают повышенное артериальное давление, препятствуют тромбообразованию и др . [4].
1.1.3.6 Растительные жиры «Эколакт»
Заменители молочного жира группы «Эколакт», разработанные с учётом сезонных изменений температур: для летнего и зимнего периодов. Данный продукт используется для частичной замены молочного жира, в производстве комбинированных масел, сливок, кисломолочных продуктов, сыра, сметаны, сгущённого молока, мороженого и т.д. Летний вариант заменителя молочного жира сохраняет форму, имеет более высокую температуру плавления, что позволяет решить проблему термоустойчивости готового продукта в летний период.
По оценке специалистов ВНИИ маслоделия и сыроделия, растительные жиры «Эколакт» максимально приближены к молочному жиру по органолептическим, физико-химическим и структурно-реологическим свойствам. Производители, применяющие заменители молочного жира, знают, что этот продукт позволяет решить проблему сезонной зависимости от сырьевых источников, увеличить сроки хранения продукции и снизить её себестоимость. Заменители молочного жира «Эколакт» обладают и рядом дополнительных преимуществ – технологичность в использовании и возможность применения традиционного оборудования [24].
1.1.3.7 Заменитель молочного жира «АКОБЛЕНД».
«АКОБЛЕНД» имеет нежный устойчивый вкус, который основывается на тщательном отборе сырья и соответствующей высокотехнологичной системе очистки масел. Технология производства даёт возможность практически полностью исключить из конечного продукта трансизомеры жирных кислот. «АКОБЛЕНД» обладает аналогичными молочному жиру свойствами плавления и может заменять его, сохраняя при этом качество готового продукта. Обладает значительной устойчивостью к окислению и прогорклости, что увеличивает хранимоспособность комбинированных молочных продуктов. Используется для изготовления масла, сметаны, сыров, майонезов, сгущённого молока и др.
1.1.3.8 Характеристики некоторых растительных масел в сравнении с молочным жиром [12].
Таблица 1.9. Характеристики растительных масел
Жир и |
Число |
Йодное |
Число |
Число |
Температура, оС |
Показатель |
|
|
Масло |
омыле- |
число |
Рейхерта- |
Поленске |
плавле- |
отверде- |
прелолмле- |
|
ния |
Мейссля |
ния |
вания |
ния |
|||
|
Жир молока |
220-234 |
28-45 |
20-32 |
1,9-5,0 |
28-33 |
18-23 |
1,4530 -1,4560 |
|
Растительное масло подсол-нечное |
186-194 |
125-145 |
до 0,60 |
0,5 – 1,8 |
- |
-16...-19 |
1,4740 –1,4780 |
|
Хлопковое |
189-199 |
101-116 |
0,20–1,00 |
0,2-0,7 |
- |
0...-6 |
1,4780 – 1,4700 |
|
Кукуруз-ное |
187-190 |
111-133 |
0,00-2,50 |
до 0,6 |
- |
-10...-20 |
1,4710 – 1,4740 |
|
Соевое |
189-195 |
120-140 |
0,50-0,80 |
0,8-1,1 |
- |
-15...-18 |
1,4740 – 1,470 |
|
Кокосовое |
251-264 |
8-12 |
4,00-8,00 |
12,0-18,0 |
20-26 |
14-26 |
1,4480 – 1,4600 |
1.1.3.9 Подсолнечное масло
Растительные масла обладают многими полезными свойствами, которые делают их потребление более предпочтительным, чем животные жиры. Подсолнечное масло содержит витамины групп А,D,Е, К. Витамин Е (токоферолы) стимулируют мышечную деятельность и функцию половых желёз. Витамин D (кальциферолы) влияют на минеральный обмен веществ и особенно необходимы в молодом возрасте, когда идёт интенсивный рост организма. Недостаток витамина D приводит к рахиту. Витамин А (ретинол) обеспечивает приспособление глаз к свету различной интенсивности. Недостаточность ретинола проявляется склонностью кожи к шелушению, сухостью и ломкостью волос. Витамин К (филлохиноны)- стимулирует свёртываемость крови.
В пожилом возрасте употребление животных жиров, из-за повышенного содержания в них насыщенных жирных кислот и холестерина, может привести к ожирению и атеросклерозу. В состав растительного масла входят линолиевая и линоленовая полиненасыщенные жирные кислоты, не синтезируемые в организме. Потребность в них для человека выше, чем витаминах. Полиненасыщенные жирные кислоты участвуют в качестве обязательного компонента в образовании клеточных мембран и оболочек нервных волокон. Полиненасыщенные жирные кислоты обладают свойством выводить холестерин, оказывают нормализующее действие на стенки кровеносных сосудов и могут рассматриваться в числе средств профилактики атеросклероза, инфаркта миокарда и других заболеваний сердечно-сосудистой системы. Поэтому каждый день необходимо употреблять не менее 20-30 граммов растительного масла - одного из и поставщиков незаменимых для жизнедеятельности организма человека веществ.
Высококачественный заменитель молочного жира по консистенции при 20-35оС должен быть близок к молочному жиру, т.е. содержать при этих температурах примерно равное количество твёрдой фазы.
Температуры плавления и твёрдость
заменителя могут быть несколько выше,
чем у молочного жира, а массовая доля
твёрдой фазы при 5– 5оС
- на
5–10% ниже. В этом случае заменитель
превосходит молочный жир по пластичности
при низких температурах и в то же время
обладает достаточной твёрдостью для
недвижимости формования получаемого
продукта.
В целом исходные требования к заменителю молочного жира приведены ниже [12].
Массовая доля, %
насыщенных жирных кислот С>16>-С>22> 27-35
насыщенных жирных кислот С>12>-С>14> 15-20
линолевой кислоты 18-30
Твёрдость при 15оС, г/см 100-150
Массовая доля твёрдой фазы, % при температуре, оС:
5 30-33
15 19-25
20 14-18
30 4-7
35 1-3
Используя различные жиры для частичной замены молочного жира в продукте, мы преследуем следующие цели: сохранение пищевой ценности молочных продуктов и их органолептических показателей с возможной коррекцией негативных свойств молочного жира (таких, как высокое содержание холестерина, недостаточная стойкость в хранении, дефицит полиненасыщенных жирных кислот).
Важной характеристикой для заменителя молочного жира является технологический процесс обработки растительных масел, являющихся компонентами для жировой системы.
На следующий день наиболее отвечает требованиям современной науки процесс статической переэтерификации, который не приводит к разрушению линолевой кислоты и изомеризации жирных кислот, в отличие от гидрогенизации, что важно для получения жиров диетического назначения. В результате переэтерификации происходит перераспределение жирных кислот без изменения степени насыщения жира и конфигурации двойных связей, приводящих к образованию трансизомеров.
В представленных выше характеристиках заменителей молочного жира только производители жира «Союз» указывают на отсутствие трансизомеров жирных кислот, у остальных жировых систем этот показатель остаётся неосвещённым.
Молочный жир имеет уникальные характеристики плавления: оставаясь совершенно твёрдым при низкой температуре, он полностью расплавляется при температуре тела, что исключительно важно для вкусовых ощущений во время потребления продукта, содержащего молочный жир. Заменитель молочного жира должен обладать аналогичными молочному жиру свойствами плавления. Температура плавления молочного жира колеблется 28-33оС.
У всех представленных заменителей молочного жира температура плавления близка к температуре плавления молочного жира и значит они удовлетворяют этому показателю.
Вывод литературного обзора
Таким образом, на основании изложенного, можно сделать вывод о целесообразности и необходимости разработки и внедрения в производство технологии рекомбинированного сгущённого молока с сахаров с комбинированной жировой фазой.
В Сибирском регионе производится значительная доля сухого цельного и обезжиренного молока России, а цены на данный вид сырья являются сравнительно низкими по сравнению с общероссийским показателем. Доступность сырья создаёт благоприятные условия для производства рекомбинированных продуктов в Сибирском регионе.
В качестве заменителя молочного жира желательно использовать жировые системы с органолептическими и пищевыми показателями, приближёнными к молочному жиру «Союз», «Акобленд», «Деликон-1». Кроме этого на российском рынке в данное время представлен широкий ассортимент растительных масел (соевое, пальмовое, подсолнечное и др.), которые также можно использовать для производства комбинированных продуктов.
Использование в качестве сырья сухого цельного молока, сухого обезжиренного молока, растительных жиров в производстве сгущенного молока с сахаром позволяет решить такие проблемы как дефицит и высокая стоимость молока в России, также позволяет снизить себестоимость продукта и тем самым сделать его более доступным покупателю; применение растительных жиров делает возможным создание продукта здорового питания, что в настоящее время является наиболее актуальной задачей.
2 Цели и задачи исследования
Целью нашей работы является:
Разработка технологии производства сгущенного молока с сахаром с использованием в качестве сырья сухого обезжиренного молока и растительного жира.
Основными задачами видим:
Выяснение оптимального содержания сухих веществ в восстановленном молоке.
Выбор вида растительного жира для замены молочного жира
Исследование процесса гомогенизации при различном содержании сухих веществ в восстановленном молоке и использовании различных жиров
Исследование процесса пастеризации при повышенном содержании сухих веществ в восстановленном молоке
3 Методика исследования
3.1 Определение кислотности молочных консервов.
Цельное и нежирное с сахаром, стерилизованное сгущенное молоко разводят в 2,5 раза (.100..г..в мерной колбе на 250 мл), а сгущенные сливки с сахаром — в 5 раз (50 г в колбе на 250 мл). Определение проводят как в молоке. Количество миллилитров 0,1 н. щелочи, пошедшей для нейтрализации 10 мл разведенного сгущенного молока, умноженное на 25, и сгущенных сливок, умноженное на 50, дает кислотность в градусах Тернера в 100 г неразведенных молочных консервов.
Для установления кислотности сухого молока, сливок с сахаром и без сахара, детских молочных продуктов и других молочных консервов отвешивают в стакан на 100—150- мл с точностью до 0,01 г следующие количества: 1,25 г сухого цельного молока и сухой простокваши, 0,90 г сухого обезжиренного молока, 1,60 г сухих сливок без сахара, 2,25 г сухих сливок с сахаром, 1,2 г сухого молока для детей грудного возраста, 1,05 г сухого, полужирного молока.
В стакан с продуктом приливают постепенно 10 мл горячей воды (60—65°С), тщательно растирая комочки стеклянной палочкой. По получении однородной массы раствор охлаждают и прибавляют еще 20 мл воды (20°С), 3 капли раствора фенолфталеина (реактив 12) и титруют как при определении кислотности молока.
3.2 Определение влаги в сгущенном молоке с сахаром
Пробу сгущенного молока при установлении готовности варки отбирают непосредственно из вакуум-аппарата. После быстрого перемешивания каплю сгущенного
молока наносят на призму рефрактометра РЛ-2. Показания рефрактометра отсчитывают при 20° С по правой шкале, которая для цельного сгущенного молока соответствует проценту сухого остатка. Для определения процентного содержания влаги полученную цифру вычитают из 100.
Если содержание воды в продукте измеряют после его охлаждения, то перед рефрактометрированием кристаллы лактозы переводят в раствор. Около 30 г хорошо перемешанного сгущенного молока помещают в широкую короткую пробирку с резиновой пробкой и вставленным
в нее термометром. Закрыв пробирку пробкой так, чтобы термометр был погружен в сгущенное молоко, опускают ее в воду при температуре 75° С до нижнего уровня пробки. Когда температура в сгущенном молоке поднимется до 70° С, выдерживают его при этой температуре 30 мин.
Во время нагревания пробирку периодически перевертывают для перемешивания сгущенного молока. Пробки во избежание выскакивания привязывают ниткой к пробирке. По истечении 30 мин пробирки со сгущенным молоком вынимают из горячей воды и помещают в воду температурой 18—19° С, где их оставляют в покое, не встряхивая, пока сгущенное молоко не достигнет температуры 20°С (3—5 мин). Далее поступают как при определении готовности варки. Процентное содержание влаги рассчитывают, вычитая полученную цифру из 100. При определении содержания влаги в обезжиренном сгущенном молоке с сахаром рефрактометрическим методом к полученной величине влаги прибавляют 2,5%.
3.3 Определение жирности.
Сгущенные молочные консервы. 100 г пробы сгущенного молока с сахаром, кофе и какао со сгущенным молоком, стерилизованного молока или 50 г сгущенных сливок с сахаром, отвешенных в стакан емкостью 250—300 мл, растворяют в воде температурой около 60°С при помешивании стеклянной палочкой до полной однородности раствора. Раствор переливают через воронку в мерную колбу на 250 мл, ополаскивая стакан водой, которую сливают в ту же колбу. Охладив раствор до 20° С, доливают водой (20° С) до метки и, закрыв пробкой, перемешивают. Если на поверхности обнаруживаются капельки жира, то определение проводят, отвешивая неразведенный продукт в жиромер.
В жиромер отмеривают 10 мл серной кислоты — для сгущенных молочных консервов с сахаром плотностью 1,78—1,80 (реактив 40), для сгущенного стерилизованного молока плотностью 1,81—1,82. Пипеткой на 10,77 мл вносят разведенные сгущенные молочные консервы, 1 мл изоамилового спирта (реактив 26) и, закрыв жиромер пробкой, энергично встряхивают содержимое жиромера 10—20 сек, перевертывая в процессе встряхивания 2—3 раза.
Разведенное какао со сгущенным молоком после перемешивания оставляют на 1 — 2 мин в покое, затем отмеривают пипеткой, не захватывая осадок.
Дальше определение проводят как в молоке, применяя при исследовании жира в сгущенном молоке и в сгущенных сливках двукратное центрифугирование; в сгущенном стерилизованном молоке и кофе и какао со сгущенным молоком — трехкратное центрифугирование по 5 мин с нагреванием перед каждым центрифугированием и перед отсчетом по 5 мин в водяной бане при 65±2°С. Кроме того, при определении жира в кофе и какао со сгущенным молоком, перед вторым центрифугированием после выдержки в водяной бане жиромер сильно встряхивают и для полного перемешивания содержимого двукратно перевертывают его.
Содержание жира в сгущенном молоке с сахаром, в кофе и какао со сгущенным молоком и сгущенном стерилизованном молоке находят, умножая показание жиро-мера на коэффициент 2,57, и в сливках—>на 5,14. Отсчет показания жиромера делают с точностью до половины наименьшего деления жиромера. Между параллельными показаниями жиромера разница не должна превышать 0,05.Сухие молочные продукты (кроме сухого масла). Для сухих молочных продуктов без сахара применяют серную кислоту плотностью 1,81—1,82, с сахаром— плотностью 1,80—1,81 (реактив 40).
В жиромер отмеривают 10 мл кислоты. В небольшой стаканчик отвешивают 1,5 г сухих молочных продуктов, приливают 4 мл горячей воды (70—75°С). Тщательно перемешав стеклянной палочкой, однородную массу переносят без потерь в жиромер, ополаскивая стаканчик водой порциями по 3 мл столько раз, чтобы уровень жидкости в жиромере был ниже основания горла на 4— 6 мм. Дальше определение ведут как при определении в молоке с нагреванием в бане перед каждым центрифугированием и перед отсчетом, применяя двукратное центрифугирование. Вычисляют содержание жира в процентах, умножая показание жиромера на 7,333 или, пользуясь приложением IV. Расхождение в параллельных определениях не должно превышать 0,05 показания жиромера.
3.4 Определение количества и величины жировых шариков молока и молочных продуктов
Перед микроскопированием стеклянную пластинку и покровное стекло камеры Тома или Горяева глубиной 0,1 мм тщательно промывают водой с мылом (на куске бумажной ткани), несколько раз прополаскивают водой и промокают мягкой материей для просушки.
Исследуемое молоко хорошо перемешивают и 1 мл отмеряют в мерную колбу емкостью 250 мл, доводят водой до метки и тщательно взбалтывают. Не давая жировым шарикам отстаиваться, небольшое количество разбавленного молока переносят платиновой иглой с петлей в центр камеры и накрывают покровным стеклом. На покровное стекло слегка нажимают по краям и двигают до появления спектральных колец в том месте поверхности, где оно соприкасается со стеклянной пластинкой. Камеру помещают на столик микроскопа и устанавливают так, чтобы отчетливо видеть изображение основной сетки камеры и контуры жировых шариков.
Сетка камеры (рис. 3) представляет собой квадрат,

Рис. 3.1 Сетка счетной камеры.
разделенный на 16 мелких квадратов, ограниченных рамками из трех параллельных линий. Каждый мелкий квадрат разделен на 16 квадратиков. В поле зрения микроскопа должны быть видны квадратики. Площадь квадратика равняется 1/400 мм2, глубина камеры 0,1 мм. Объем 16 квадраков
0,1*16/400 = 0,004 мм2 или 0,000004 мл.
Считать шарики и измерять их величину удобно в микроскопах при тубусе в 160 мм, объективе 40 и окуляре 15 (увеличение 600 раз). Установив микроскоп, подсчитывают количество жировых шариков в 5—6 квадратиках, находят среднее для каждого квадратика и умножают его на 16 (количество квадратиков). Для получения точных результатов необходимо сделать разбавление молока, по крайней мере, в двух мерных колбах и из каждой взять по три петли в камеру, произведя отсчеты в шести препаратах. Средний объем шарика
V = f*1,1/400000*B, (4)
где f — содержание жира в молоке, %; B — количество жировых шариков в 1 мл молока; 1,1—множитель, полученный от деления плотности молока на плотность молочного жира (для перевода весовых процентов в объемные).
Средний диаметр шарика вычисляют из среднего объема по формуле
d = 3((6*1,1*f)/(100000*B*)) = 36*V/. (5)
Жировые шарики по величине можно разбить на группы. Для этого накладывают окулярную линейку на сетку камеры и подсчитывают количество шариков с диаметром меньше 1 мкм, от 1 до 3 мкм, от 3 до 6 мкм и т. д. Для точности измерения диаметра жировых шариков их можно сфотографировать вместе с сеткой в плоской камере, наставив на микроскоп микрофотокамеру. Снимок получается увеличенным, поэтому легко измерить диаметр шарика, накладывая транспортир известного масштаба на фотографию.
По полученным данным можно вычислить объем жира, содержащегося во всех шариках, объем шарика средней величины и средний диаметр шарика. Умножая объем шарика жира на количество всех имеющихся подобных шариков, получают объем жира во всех шариках этого размера. Таким образом, рассчитывают объем жира шариков каждого размера отдельно, складывают полученные числа и узнают объем всего жира в измеренном объеме молока. Диаметр каждого шарика измеряют микрометрической окулярной линейкой.
3.5 Определение количества и величины кристаллов молочного сахара (по Л. Чекулаевой)
Исследуют неразбавленное сгущенное молоко без подогрева, чтобы не растворялись кристаллы лактозы.
В окуляр вставляют измерительную линейку, расстояние между черточками которой измеряют объект микрометром. Для микроскопирования захватывают иглой небольшую каплю тщательно перемешанного сгущенного молока, переносят в счетную камеру Тома или Горяева глубиной в 0,1 мм при увеличениях в 100 и 600 раз, накрывают покрывным стеклом и прижимают до появления спектральных колец.
Затем производят подсчет. По величине кристаллы разбивают на четыре группы: I — размером до 10 мкм, не обнаруживаемые на вкус; II — от 11 до 15 мкм придают мучнистость сгущенному молоку; III — от 16 до 25 мкм обусловливают песчанистость; IV — от 25 мкм и больше вызывают порок сгущенного молока — хруст на зубах.
Всего делают 100 измерений кристаллов и разбивают их на 4 группы. Величину кристалла измеряют по длинной грани, а не по диагонали; ширина перпендикулярна грани длины. При разбивке на группы измеряют несколько кристаллов и делают подсчет. При переводе кристаллов на объем отмечают ширину кристалла и его форму. Кристаллы молочного сахара чаще встречаются в форме пинокоидов и ромбоидов. По средней величине кристалла в каждой группе и количеству их высчитывают средний размер кристаллов молочного сахара в сгущенном молоке. Подсчет лучше производить при увеличении в 100 раз, так как, если кристаллов немного и величина их не менее 1 мкм, то их легко сосчитать во всей камере (глубиной 0,1 мм).
Таблица 3.1 Зависимость возможного количества кристаллов лактозы в 1 мм3 продукта от среднего размера кристаллов
|
Средний размер кристаллов,мкм |
Возможное количество кристаллов лактозы в 1 мм3 продукта |
|
6 |
770 000 |
|
7 |
500 000 |
|
8 |
270 000 |
|
9 |
220 000 |
|
10 |
175 000 |
|
12 |
98 000 |
|
15 |
50 000 |
|
20 |
21 000 |
|
30 |
7 000 |
|
40 |
2 600 |
При увеличении в 600 раз производят подсчет с окулярной сеткой. Если окулярной сетки нет, то отсчет производят во всем поле зрения, предварительно измерив-диаметр поля зрения объектмикрометром. Величину кристаллов измеряют окулярмикрометром. По среднему размеру кристаллов находят количество кристаллов лактозы в 1 мм3 продукта, т. е. ожидаемую массовость кристаллизации (табл. 3.1).
При определении без счетной камеры на обычных предметных стеклах наносят одинаковые по величине капли сгущенного молока петлей диаметром 1 мм. В этом случае измерить количество кристаллов сахара не удается, можно провести лишь качественное отличие различных проб сгущенного молока.
3.6 Применение влагомера Чижовой (ВЧ). Прибор ВЧ состоит из двух обогреваемых электронагревателем массивных плит прямоугольной или круглой формы . Плиты скреплены на шарнирах, верхняя плита откидная. Расстояние между плитами устанавливают специальным приспособлением на желаемую величину, но оно не должно превышать 2 мм. Электронагреватели имеют два диапазона подогрева: сильный, обеспечивающий нагрев пластин до 160°С в течение 20—25 мин, и слабый для поддержания необходимой температуры в процессе высушивания.
Продукты для определения содержания сухого остатка (влаги) высушивают в бумажных пакетах из ротаторной или газетной бумаги. При работе на круглом приборе лист бумаги размером 16x16 см складывают по диагонали, загибая углы и края открытых двух сторон примерно на 1,5 см. При работе на прямоугольном приборе лис
ты бумаги размером 20x14 см складывают пополам и загибают края трех открытых сторон на 1,5 см . Навеску в бумажном пакете вкладывают в лист пергамента несколько большего размера, чем бумажный; края пергамента не загибают. Пакеты по два высушивают в приборе'в течение 3—5 мин при той температуре, при которой будут производить определение. После охлаждения в эксикаторе в течение 2—3 мин пакеты взвешивают. Приготовляют заранее нужное количество пакетов и на загнутых бортиках записывают массу.
Прибор ВЧ включают на сильный нагрев. По достижении требуемой температуры прибор переключают на слабый нагрев, при котором высушивают образцы. При закладке и выемке пакетов с исследуемым продуктом верхний блок прибора не следует поднимать выше чем под углом 45°. Вскрыв подготовленный пакет, вносят в него около 4—5 г исследуемого продукта (табл. 3.2), быстро распределяя его возможно равномернее по всей поверхности пакета. Затем его закрывают, загнув бортики, быстро взвешивают и помещают в прибор.
Таблица 3.2 Режимы высушивания
|
Продукты |
Бумажный пакет |
Массы пробы, г |
Температура Нагревания нижней плиты, °С |
Продолжительность высушивания, мин |
|
Сгущенное молоко с сахаром |
Однослойный вложенный в пергамент |
5 |
160-162 |
5 |
|
Сухое молоко цельное обезжиренное |
Однослойный без пергамента |
4 4 |
140-142 140-142 |
2 3 |
Пакет заделывают и высушивают между плитами. После высушивания переносят в эксикатор на 3—5 мин и взвешивают на тех же весах.
Содержание сухого остатка молока вычисляют по формуле:
C=(g>1>-g>0>)100/g-g>0 > % , (6)
где g>0>-масса пакета, г; g>1>- пакет с продуктом после высушивания, г; g- пакет с продуктом до высушивания, г.
3.7 Определение растворимости
Сухое молоко, сухие сливки и другие сухие молочные продукты. В центрифужную пробирку, градуированную в суженной части, отвешивают сухие молочные продукты в тех же количествах, как при определении кислотности . Прибавляют 4—5 мл воды (65—70° С), растирая стеклянной палочкой до получения однородной консистенции без комочков.
Палочку вынимают и небольшими порциями воды ополаскивают, удаляя остатки молочных продуктов, доливают воду до 10 мл.
Закрыв пробирки пробками, перемешивают содержимое. Затем пробирки помещают в водяную баню (65— 70° С), где выдерживают 5 мин. Сильно встряхивают в течение 1 мин и 5 мин центрифугируют при скорости вращения 1000—1200 об/мин. После этого измеряют объем осадка с точностью до половины деления градуировочной части пробирки. Отсчет удобно производить, перевернув осторожно пробирку, быстро отметить деление, на котором находится граница осадка. Если поверхность осадка скошена, то за границу считают среднюю линию между нижней и верхней точками поверхности осадка. Растворимость выражают в величине объема осадка. Рекомендуется проводить два параллельных определения.
3.8 Органолептическая оценка
3.8.1 ТРЕБОВАНИЯ К ОРГАНОЛЕПТИЧЕСКИМ СВОЙСТВАМ СГУЩЕННЫХ МОЛОЧНЫХ КОНСЕРВОВ
В соответствии с НТД все виды сгущенных молочных консервов регламентируются по их органолептическим свойствам (внешний вид, цвет, структура и консистенция, запах, вкус и аромат).
Сгущенные молоко, жир 0,5...8,5%
Внешний вид
Однородная, глянцевитая масса с ровной, чистой поверхностью поверхностью
Цвет
Белый с кремовым оттенком равномерный по массе. Для нежирных консервов допускается слабо-голубой оттенок, для консервов с наполнителями - темно-коричневый
Структура и консистенция
Однородная, без наличия ощутимых кристаллов лактозы. Допускается слабомучнистая
Запах, вкус и аромат
Чистые, с выраженными запахом и вкусом пастеризованного молока или сливок. Вкус сладкий. Допускается слабый кормовой вкус. Для консервов с наполнителями – хорошо выраженный запах, вкус и аромат наполнителя. Для нежирных консервов – недостаточно выраженные запах, вкус и аромат.
Сухое молоко, жир 1...25 %
Цвет
Белый со слабо-кремовым оттенком, для СОМ пленочной сушки — кремовый, для кисломолочных продуктов — от светло-кремового до кремового, для СЦМ быстрорастворимого и сливок — белый с кремовым оттенком и высокожирных сливок — светло-желтый, равномерные по массе. В молоке первого сорта допускается наличие пригорелых частиц
Структура и консистенция
Мелкий сухой порошок или порошок, состоящий из отдельных агломерированных частиц. В молоке 1 -го сорта допускается наличие пригорелых частиц. В кисломолочных продуктах допускается незначительное количество комочков, легко рассыпающихся при механическом воздействии, для сливок 1-го сорта — комковато-рыхлая структура. Высокожирные сливки — малосыпучий порошок, для 1-го сорта допускается крупитчатость. СОМ пленочной сушки — сухой порошок из измельченных пленок
Запах, вкус и аромат
Свойственные свежим пастеризованным молоку или сливкам. В молоке 1 -го сорта допускается вкус перепастеризации, слабокормовой вкус. В СОМ пленочной сушки — запах и вкус, свойственные перепастеризованному обезжиренному молоку. Для высокожирных сливок — слегка сладковатый вкус, свойственный сухим сливкам. В сливках 1-го сорта допускается салистый и слабокормовой, а в кисломолочных продуктах — слабовыраженный кислый вкус
3.8.2 МЕТОДЫ ПРОВЕДЕНИЯ ОРГАНОЛЕПТИЧЕСКОГО АНАЛИЗА МОЛОКА И МОЛОЧНЫХ ПРОДУКТОВ
Органолептический (сенсорный) анализ — это органолептическая оценка свойств пищевого продукта, основанная на применении методов и условий, гарантирующих точность и воспроизводимость результатов. Его проводят дегустаторы, отобранные по специальной методике на проверку чувствительности, признанные способными проводить органолептическую оценку пищевых продуктов и систематически тренируемые на специальных образцах и тестах. Оценщик (испытатель) — это специалист, участвующий в органолептическом испытании после оценки органов чувств на аномалию, эксперт — это дегустатор, имеющий большой опыт работы с данными видами продуктов, которому дано право проводить органолептическую оценку индивидуально или в составе дегустационной комиссии.
Органолептические методы оценки позволяют сделать достаточно точное заключение о качестве продукта. Они не требуют дорогостоящего оборудования, приборов, реактивов, просты, дешевы и быстры. В ряде случаев Органолептический анализ —это единственно возможный метод, позволяющий отличить высококачественный продукт от ординарного, фальсифицированный — от натурального, выявить ранние признаки его порчи. Однако результаты органолептической оценки в определенной степени субъективны и зависят от квалификации дегустатора, порядка и условий дегустации, а также от системы оценки качества, результаты которой должны быть объективно воспроизводимы и могут быть обработаны математически. Органолептическую оценку пищевых продуктов проводит комиссия дегустаторов.
В целом контроль качества молока и молочных продуктов основан на сочетании органолептических и других неорганолептических методов. Например, микробиологический контроль наряду с органолептическим применяют для оценки свежести продуктов. Корреляцию между органолептическими и другими показателями изучают для того, чтобы обосновать применение того или иного неорганолептического метода для характеристики цвета, вкуса, запаха, структуры и консистенции продукта.
3.8.3 СГУЩЕННЫЕ МОЛОЧНЫЕ КОНСЕРВЫ
При органолептической оценке сгущенных молочных консервов большое внимание уделяют внешнему виду и состоянию внутренней поверхности потребительской упаковки и транспортной тары. У металлических банок отмечают деформацию корпуса, крышек и донышек, ржавые пятна и дефекты продольных и закаточных швов; у алюминиевых туб —повреждение эмалиевого покрытия, помятость, потечность (ГОСТ 29245*). Герметичность металлических банок определяют погружением их в горячую воду (предварительно освободив их от этикеток, промыв теплой водой и протерев).
Банки помещают в один ряд в кипящую воду так, чтобы после погружения банок ее температура была не ниже 85 °С. Количество воды должно быть не менее чем в 4 раза больше массы брутто банок и слой воды над банками — не менее 25 мм. Банки держат в горячей воде в течение 5...7 мин в вертикальном положении, установленными на донышки, а затем такое же время — на крышки. Появление пузырьков воздуха в каком-либо месте банки указывает на ее негерметичность.
До вскрытия транспортной тары металлические банки массой нетто 1 кг и более, фляги и бочки переворачивают вверх дном, оставляют в таком положении на 1 сут, а затем перемешивают мешалкой. Продукт в потребительской упаковке вскрывают и перемешивают шпателем в течение 1...2 мин.
Внутреннюю поверхность металлических банок осматривают после освобождения банок от продукта, промывания их водой и протирания досуха. При осмотре отмечают степень распространения темных пятен и цвета побежалости, наличие и степень распространения ржавых пятен, наличие и размер наплывов припоя внутри банок.
Органолептические свойства определяют в неразведенном или в восстановленном виде в зависимости от способа употребления
* ГОСТ 29245 «Консервы молочные. Методы определения физических и органолептических показателей».
3.8.4 СУХИЕ МОЛОЧНЫЕ ПРОДУКТЫ
При органолептическом анализе сухих молочных продуктов уделяют внимание внешнему виду транспортной тары или потребительской упаковки. При осмотре крафт-мешков отмечают наличие рваных мест, нарушение прошивки; у деревянных бочек — повреждения, поломку, помятости, состояние клепок, обручей и др. (ГОСТ 29245).
Органолептические свойства сухих молочных продуктов определяют в неразведенном или в восстановленном виде в зависимости от определяемого свойства и способа употребления в пищу. Для восстановления сухих молочных продуктов берут навеску массой от 9 до 75 г в зависимости от вида продукта и разводят дистиллированной водой аналогично молочным консервам, тщательно растирая комочки. Полученную смесь оставляют на 10...15 мин для набухания белков. Температура анализируемых образцов должна быть 15...20°С. Органолептическую оценку восстановленных молочных продуктов как из сухих, так и из сгущенных молочных консервов проводят аналогично пастеризованным молоку и сливкам.
Внешний вид, цвет, структура и консистенция. После вскрытия тары (или упаковки) осматривают поверхность продукта, отмечая наличие или отсутствие уплотненной корочки. Продукт перемешивают и определяют цвет, структуру, консистенцию, наличие уплотненных нерассыпающихся комочков при легком постукивании и посторонних частиц. При перемешивании обращают внимание на наличие или отсутствие уплотнения продукта, признаков слеживания.
Для определения цвета сухих молочных продуктов (с размером частиц до 1 мм) образец помещают в чистую сухую емкость на глубину не менее 2 мм и чистым сухим бесцветным стеклом (толщиной около 1 мм) спрессовывают, производя легкие вращательные движения. Для очень тонких порошков давление на образец исключено. Стол для тестирования помещают около окна таким образом, чтобы свет достигал поверхности стола с левой стороны от оценщика и падал в основном под углом 45° к горизонтальной поверхности. Сверху образца, на противоположной стороне от оценщика, размещают навес из черной ткани. Рядом с образцом располагают стандарт. Источник света может быть расположен и выше образца, но при этом угол зрения должен находиться на уровне 45° от горизонтали. В этом случае черную ткань размещают вертикально, рядом с образцом, на противоположной стороне от оценщика (стандарт МОС 11037).
Запах, вкус и аромат. Эти свойства анализируют сразу после оценки консистенции. При этом особое внимание обращают на наличие прогорклого и салистого вкусов.
Органолептическую оценку молочных консервов (сгущенных и сухих) в заводских лабораториях и для научно-исследовательских работ рекомендуется проводить по 15-балловой шкале. При этом максимальная оценка по каждому органолептическо-му признаку (внешний вид и цвет; запах, вкус и аромат; структура и консистенция), предусмотренному НТД на тот или иной продукт, составляет 5 баллов, что соответствует требованиям НТД; 4 балла —есть слабые отклонения, 3 —выраженные отклонения от требований НТД; 2 и 1 балл — брак в зависимости от степени выраженности порока. Общая максимальная оценка составляет 15 баллов. Каждый органолептический признак является критерием оценки.
4 Экспериментальная часть
4.1 Приборы и посуда |
|
|
1. |
Весы технические ВЛТК-500 |
|
2. |
Микроскоп биологический МБИ-3 |
|
3. |
Осветитель к микроскопу |
|
4. |
Окуляр – микрометр |
|
5. |
Палочки стеклянные |
|
6. |
Пипетки вместимостью 10, 10,77 см3 |
|
7. |
Рефрактометр РЛ-2 |
|
8. |
Стекла предметные |
|
9. |
Стекла покровные по ГОСТ 6672-75 |
|
10. |
Стаканы химические 400 мл |
|
11. |
Колбы химические 100, 250 мл |
|
12. |
Термометры жидкостные с диапазоном измерения 0– 100оС и ценой деления 1оС по ГОСТ 27544-87 |
|
13. |
Вакуум – насос |
|
14. |
Вакуметр с диапазоном измерения 0 – 1 кгс/см2 и ценой деления 0,5 кгс/см2 по ГОСТ 8625-59 |
|
15. |
Конденсатор |
|
16. |
Трубки для подведения и отвода воды из конденсатора |
|
17. |
Водяная баня |
|
18. |
Электрическая плитка |
|
19. |
Гомогенизатор лабораторный с набором стаканов на 100, 200 мл |
|
20. |
Штативы |
|
21. |
Титровальная установка |
|
22. |
Влагометр Чижовой |
|
23. |
Центрифуга ЦЛК-1 |
|
24. |
Жиромеры молочные |
|
25. |
Стеклянная ёмкость для сбора конденсата |
4.2 Разработка вакуумно-выпарной установки






3 4 10 5
9
















2
2










8





6
10





1
7
с
гущаемый
продукт
п
ар
к
онденсат
х
олодная
вода
т
еплая
вода
Рис 4.1 Схема вакуум-выпарной установки
1 – вакуум-насос, 2 - краны для регулирования вакуума в системе,
3 – вакуметр, 4 – сборник конденсата, 5 – конденсатор, 6 – водяная
баня, 7 – электрическая плитка, 8 – колба, 9 – градусники,
10 – штатив.
В колбе 8 находится продукт, который подвергается сгущению. Снаружи колбу омывает горячая вода (t ≈ 70-75оС).
В системе с помощью вакуум-насоса создаётся вакуум, который обеспечивает кипение продукта в колбе. Образующиеся пары по трубке поступают в конденсатор 5, где пар конденсируется и образованный конденсат стекает по трубке в ёмкость 4.
Вакуум в системе необходим для снижения температуры кипения продукта, что позволяет снизить температурное воздействие на структуру и состав продукта.
С помощью кранов 2 в системе можно регулировать разряжение. С помощью градусников 9 измерять температуру воды в бане и температуру кипения продукта.
4.3 Схема проведения исследований
|
Разработка технологии |
Выбор оптимального |
Органолептическая |
|||
|
сгущённого молока с |
содержания сухих |
Оценка, удобство |
|||
|
сахаром с использова- |
→ |
веществ в восстанов- |
→ |
растворения, размер |
|
|
нием в качестве сырья |
Ленном молоке |
жировых шариков и |
|||
|
Сухого обезжиренного |
→ |
кристаллов лактозы |
|||
|
молока и раститель- |
|||||
|
ного жира |
→ |
Выбор растительного |
→ |
Органолептическая оценка, |
|
|
Жира |
Размер жировых шариков |
||||
|
Подготовка и внесение |
На основании анализа |
||||
|
→ |
растительного жира |
→ |
технологического |
||
|
в продукт |
процесса |
||||
|
→ |
Диспергирование |
Размер жировых шариков, |
|||
|
растительного жира |
Отстой жира |
||||
|
→ |
Выбор способа внесения |
→ |
На основании анализа |
||
|
сахара в продукт |
технологического процесса |
||||
|
Содержание сухих веществ, |
|||||
|
Размер жировых шариков, |
|||||
|
→ |
Качество готового |
→ |
Размер кристаллов лакто- |
||
|
Продукта |
зы органолептическая оцен- |
||||
|
Ка отстой жира, кислот- |
|||||
|
ность, вязкость |
|||||
|
→ |
Использование затравки |
→ |
Размер кристаллов лактозы |
||
|
На основании анализа технологического процесса, органолептическая оценка, размер жировых шариков |
|
Проведение пастеризации при повышенном содержании сухих веществ |
4.4 Эксперимент 1
Гомогенизация образцов восстановленного сухого обезжиренного молока до 9%, 20%, 30%, 40%, 50%, 60%, 70% содержания сухих веществ с добавлением растительного жира.
Гомогенизация – это обработка грубых суспензий и эмульсий с целью получения однорядных высокодисперсных систем, практически не расслаивающихся в процессе хранения.
Основной признак гомогенизации – значительное уменьшение размеров жировых шариков, следовательно, увеличение их количества и общей поверхности жира.
Большое значение имеет правильный выбор температурного режима гомогенизации. В.Д.Сурков и В.В.Вайткус установили, что гомогенизация при температурах 60-65оС даёт при более низких температурах (40-55оС) приводит к чрезмерному агрегированию, увеличению отстоя сливок и повышению вязкости. Увеличение температуры благоприятно сказывается на качестве гомогенизации вследствие снижения вязкости дисперсной фазы, что облегчает процесс гомогенизации. Однако не рекомендуется гомогенизировать молоко при температурах выше 70оС.
В процессе гомогенизации резко увеличивается поверхность жировых шариков и изменяется структура защитной белковой оболочки, которая не может предохранить жир от действия липазы. Начиная же с 57,5оС липаза инертна [29].
На основании вышесказанного мы выбрали режим гомогенизации с температурой 60оС.
Эффективность гомогенизации устанавливали, определяя размеры жировых шариков при помощи микроскопа.
Эмульгирование растительного жира в восстановленном сухом обезжиренном молоке производили с помощью лабораторного эмульсора, при следующем режиме t = 60оС, 3000 об/мин. , τ = 3 мин.
Задачи эксперимента:
Выявить оптимальное содержание сухих веществ в восстановленном молоке при оптимальном размере жировых шариков и оптимальном растворении СОМ. Выявить влияние сахарного сиропа и влияния вида используемого жира на процесс гомогенизации.
Опыт 1
Гомогенизация образцов восстановленного СОМ до 9%, 20%, 30%, 40%, 50%, 60%, 70% сухих веществ с добавлением жира «Союз».
28 мая 2004 г.
Сырьё
- сухое обезжиренное молоко
содержание влаги 4%
кислотность 22ºТ
жирность 0,2%
растворимость 0,1 см3
- заменитель молочного жира «Союз»
- вода питьевая.
а) Расчёты
Определение количества сухого обезжиренного молока для приготовления образцов производим по формуле:
mСОМ = mв.м . Св.м/ССОМ, (7)
где mСОМ - масса сухого обезжиренного молока, г
mв.м - масса восстановленного молока, г
Св.м - содержание сухих веществ в сухом обезжиренном молоке,%
1) Образец с содержанием сухих веществ 9%
mСОМ = 150 . 9/ 96 = 14 г
Количество воды, необходимое для растворения находим по формуле:
В = mв.м - mСОМ, (8)
где В - количество воды, мл
В = 150 - 14 = 136 мл
2) Образец 20%
mСОМ = 150 . 20/96 = 31,2 г
В = 150 – 31,2 = 118,8 мл
3) Образец 30%
mСОМ = 150 . 30/96 = 46,9 г
В = 150 – 46,9 = 103,1 мл
4) Образец 40%
mСОМ = 150 . 40/96 = 62,5 г
В = 150 – 62,5 = 87,5 мл
5) Образец 50%
mСОМ = 150 . 50/96 = 78,1 г
В = 150 – 78,1 = 71,2 мл
6) Образец 60%
mСОМ = 150 . 60/96 = 93,75 г
В = 150 – 93,75 = 56,25 мл
7) Образец 70%
mСОМ = 150 . 70/96 = 109,4 г
В = 150 – 109,4 = 40,6 мл
Определение количества жира, вносимого в образцы
- определение содержания жира в приготовленных образцах. Производим по формуле:
mж = mСОМ . ЖСОМ /100, (9)
где mж - количество жира в образце, г
ЖСОМ - содержание жира в СОМ, %
1) Образец 9%
mж = 14 . 0,2 / 100 = 0,028 г
2) Образец 20%
mж = 31,2 . 0,2 / 100 = 0,062 г
3) Образец 30%
mж = 46,9 . 0,2 / 100 = 0,0938 г
4) Образец 40%
mж = 62,5 . 0,2 / 100 = 0,125 г
5) Образец 50%
mж = 78,1 . 0,2 / 100 = 0,1562 г
6) Образец 60%
mж = 93,75 . 0,2 / 100 = 0,188 г
7) Образец 70%
mж = 109,4 . 0,2 / 100 = 0,22 г
- определение необходимого содержания жира в образцах с добавлением жира «Союз». Для этого составим пропорцию:
при 74% сухих веществ - 8,8% жира в готовом продукте
1) при 9% - Х% жира
Х = 1,07%
2) при 20%
Х = 2,4%
3) при 20%
Х = 3,57%
4) при 40%
Х = 4,76%
5) при 50%
Х = 5,95%
6) при 60%
Х = 7,1%
7) при 70%
Х = 8,3%
Массу жира находим по формуле:
mж2 = mв.м . Ж в.м / 100, (10)
где mж2 - необходимое количество жира в образцах, г
Ж в.м - содержание жира в образцах при внесении жира «Союз»,%
1) 9% mж2 = 150 . 1,07 / 100 = 1,605 г
2) 20% mж2 = 150 . 2,4 / 100 = 3,6 г
3) 30% mж2 = 150 . 3,57 / 100 = 5,36 г
4) 40% mж2 = 150 . 4,76 / 100 = 7,14 г
5) 50% mж2 = 150 . 5,95 / 100 = 8,03 г
6) 60% mж2 = 150 . 7,1 / 100 = 10,65 г
7) 70% mж2 = 150 . 8,3 / 100 = 12,45 г
- определение массы жира «Союз» производим по формуле:
mж3 = mж2 - mж , (11)
где mж3 - масса вносимого растительного жира, г
1) 9% mж3 = 1,605 – 0,028 = 1,04 г
2) 20% mж3 = 3,6 – 0,062 = 3,54 г
3) 30% mж3 = 5,36 – 0,0938 = 5,3 г
4) 40% mж3 = 7,14 – 0,125 = 7,02 г
5) 50% mж3 = 8,93 – 0,1562 = 8,77 г
6) 60% mж3 = 10,65 – 0,188 = 10,46 г
7) 70% mж3 = 12,45 – 0,22 = 12,23 г
Данные расчётов заносим в таблицу:
Таблица. 4.1 Рецептура приготовления образцов (на 150 г)
Содержание сухих |
mСОМ, г |
В, мл |
mж3,г |
|
веществ (в образце,%) |
|||
|
9 |
14 |
136 |
1,04 |
|
20 |
31,2 |
118,8 |
3,54 |
|
30 |
46,9 |
103,1 |
5,3 |
|
40 |
62,5 |
87,5 |
7,02 |
|
50 |
78,1 |
71,2 |
8,77 |
|
60 |
93,75 |
56,25 |
10,46 |
|
70 |
109,4 |
40,6 |
12,27 |
б) Растворение СОМ
проводим согласно режимам, указанным в прил. 1
в) Внесение расплавленного жира «Союз» в образцы и перемешивание
г) Гомогенизация образцов
режим гомогенизации t = 60°С, 3000 об/мин, τ = 3 мин.
д) Микроскопирование
Результаты микроскопирования представлены ниже:
|
Содержание сухих веществ в образце, % |
Средний диаметр жировых шариков, мкм |
|
9 |
2,7 |
|
20 |
2,5 |
|
30 |
1,6 |
|
40 |
2,8 |
|
50 |
3 |
Графическая зависимость представлена в прил. 2.
Образцы с содержанием сухих веществ 60 и 70% отбросили по невозможности проведения растворения.
Опыт 2
Гомогенизация образцов восстановленного СОМ до 9%, 20%. 30%, 40%, 50%, 60% содержания сухих веществ с добавлением жира «Союз» и сахара.
29 апреля 2004 года
Сырьё:
- сухое обезжиренное молоко (см. опыт 1)
- жир «Союз»
- вода питьевая
- сахар – песок
а) Расчёты
Определение количества сухого молока и количества воды (см. опыт 1).
Определение количества сахара и воды для приготовления сиропа.
Количество сахара определяем по формуле:
mсах = (mмол.см . Жсм . САХпр) / (100 . Жпр) , (12)
где mсах - количество сахара, г
mмол.см - масса молочной смеси, г
Жсм - содержание жира в смеси, %
Жпр - содержание жира в продукте, %
САХпр - массовая доля содержания сахарозы,%
Количество воды определяем по формуле:
mводы = (mсах (Ссах – Ссир) ) / Ссир , (13)
где mводы - количество воды, мл
Ссах - содержание сухих веществ в сахаре, %
Ссир - содержание сухих веществ в сиропе, %
Определение количества жира «Союз» производим по формулам (9), (10), (11).
Результаты расчётов представлены в таблице.
Таблица.4.2 Рецептура приготовления образцов
Содержание |
mСОМ, г |
В, мл |
mсах ,г |
mводы, мл |
mж3,г |
|
Сухих веществ, % |
|||||
|
9 |
14 |
13,6 |
12,2 |
4,2 |
1,037 |
|
20 |
31,2 |
118,8 |
27,4 |
9,4 |
3,54 |
|
30 |
46,9 |
103,1 |
40,8 |
14 |
5,3 |
|
40 |
62,5 |
87,5 |
54,3 |
18,7 |
7,02 |
|
50 |
78,1 |
71,2 |
67,9 |
23,4 |
8,77 |
|
60 |
93,75 |
56,25 |
81,42 |
28,06 |
10,335 |
б) Растворение СОМ (см. опыт 1).
в) Внесение расплавленного жира «Союз»
г) Приготовление сиропа
В колбу на 250 мл вносили необходимое количество сахара и необходимое количество воды, предварительно нагретую до 80°С. Доводили до кипения и варили до прозрачности сиропа.
Внесение сиропа производили в восстановленное молоко при комнатной температуре.
д) Гомогенизация
Режим гомогенизации t = 60°С, 3000 об/мин, , τ = 3 мин.
е) Микроскопирование
Результаты микроскопирования
|
Содержание сухих веществ в образце, % |
Средний диаметр жировых шариков, мкм |
|
9 |
2,4 |
|
20 |
2,3 |
|
30 |
1,63 |
|
40 |
1,2 |
|
50 |
1,36 |
|
60 |
2,5 |
Графическая зависимость представлена в прил.2.
Опыт 3
Гомогенизация образцов восстановленного СОМ до 9%, 20%. 30%, 40%, 50%, 60% содержания сухих веществ с добавлением жира «Союз» и сахара.
(повторение опыта 2)
Результаты микроскопирования
|
Содержание сухих веществ в образце, % |
Средний диаметр жировых шариков, мкм |
|
9 |
1,8 |
|
20 |
1,62 |
|
30 |
1,55 |
|
40 |
1,25 |
|
50 |
1,4 |
|
60 |
2,0 |
Графическая зависимость представлена в прил.2.
Опыт подтвердился.
Опыт 4
Гомогенизация восстановленного СОМ до 9%, 20%. 30%, 40%, 50%, 60% содержания сухих веществ с подсолнечным маслом и сахаром, и сгущение проб с 40% и 50% сухих веществ
14 мая 2004 года
Сырьё:
- сухое обезжиренное молоко (см. опыт 1)
- подсолнечное рафинированное масло «Милора»
- вода питьевая
- сахар – песок
а) Расчёты (см. опыт 2)
б) Растворение СОМ (см. опыт 2).
в) Внесение подсолнечного масла в образцы и тщательное перемешивание
г) Гомогенизация (см. опыт 2)
д) Микроскопирование
Результаты микроскопирования
|
Содержание сухих веществ в образце, % |
Средний диаметр жировых шариков, мкм |
|
9 |
2,3 |
|
20 |
1,6 |
|
30 |
1,54 |
|
40 |
1,5 |
|
50 |
1,6 |
|
60 |
2,6 |
Графическая зависимость представлена в прил.2.
е) Сгущение проб с 40% и 50% содержанием сухих веществ в восстановленном молоке
- с содержанием сухих веществ 40%
Начало 11:50 Конец 13:20
t воды = 71°С
t кипения продукта = 51°С
Р = 0,9 кг / см2
- с содержанием сухих веществ 50%
Начало 15:30 Конец 16:20
t воды = 51°С
t кипения продукта = 44°С
Р = 1 кг / см2
ж) Фасование в стеклянные баночки, охлаждение проходило самопроизвольно. Хранение при t = 5°С.
Характеристика готового продукта
1. Сгущенное молоко из восстановленного до 40% сухих веществ.
Содержание сухих веществ - 72%
Размер кристаллов лактозы - 1-3 мкм
Диаметр жировых шариков - 1,6 мкм
Кислотность - 110 ºТ
Содержание жира - 8,6 %
Органолептические показатели соответствуют норме, с привкусом подсолнечного масла.
2. Сгущенное молоко из восстановленного до 50% сухих веществ.
Содержание сухих веществ - 72%
Размер кристаллов лактозы - 6-12 мкм
Диаметр жировых шариков - 1,7 мкм
Кислотность - 121 ºТ
Содержание жира - 8,6 %
Органолептические показатели – вкус восстановленного молока и выраженный вкус подсолнечного масла. Консистенция неоднородная крупинчатая. Повышенная вязкость, со шпателя стекает комьями.
При проведении опытов пришли к выводу. Нужно растворять СОМ до содержания сухих веществ 40-50%. При растворении СОМ выше 50% ухудшается сам процесс растворения.
Как показал опыт 4, что содержание сухих веществ выше 40% отражается и на органолептических показателях в худшую сторону (неоднородная консистенция, повышенная вязкость, привкус восстановленного молока).
Поэтому последующие исследования для уточнения технологии проводили при растворении СОМ до 30-40% сухих веществ.
4.5 Эксперимент 2
Выработка опытных и контрольных образцов сгущенного молока с сахаром с использованием в качестве сырья сухого обезжиренного молока и растительного жира.
Задачи эксперимента:
Выявить влияние используемого жира на качество готового продукта и технологические операции.
Опыт 1
Выработка сгущенного молока с сахаром из СОМ восстановленного до 40% сухих веществ:
- с подсолнечным маслом
- с молочным жиром
- с жиром «Союз».
18 мая 2004 г.
Сырьё:
- сухое обезжиренное молоко
содержание влаги 4%
кислотность 22 ºТ
жирность 0,2%
растворимость 0,1 см
- подсолнечное рафинированное масло «Милора»
- молочный жир
- жир «Союз»
- питьевая вода
- сахар – песок
- сухая мелкокристаллическая лактоза.
а) Расчёты (см. эксп. 1 опыт 2)
б) Приготовление образцов восстановленного СОМ до 40% сухих веществ с подсолнечным маслом, с молочным жиром, с жиром «Союз»:
- растворение (прил. 1)
- внесение жиров
- приготовление и внесение сиропа
- гомогенизация
в) Сгущение образцов
- с подсолнечным маслом
Начало 14:21 Конец 15:40
t воды = 70°С
t кипения продукта = 56°С
Р = 0,9 кг / см2
- с молочным жиром
Начало 11:50 Конец 13:05
t воды = 74°С
t кипения продукта = 52°С
Р = 0,95 кг / см2
- с жиром «Союз»
Начало 13:43 Конец 14:54
t воды = 71°С
t кипения продукта = 48°С
Р = 0,9 кг / см2
г) Охлаждение и кристаллизация.
Охлаждение проводили до 35°С, вносили затравку и в течение 20 мин при данной температуре перемешивали, далее вели охлаждение до 20°С. Охлаждение проводили также при перемешивании.
д) Фасование и хранение.
Фасование проводили в стеклянные баночки, хранили при t = 5°С.
Характеристика готового продукта.
Таблица.4.3 Параметры готового продукта
|
Параметры |
Образцы сгущенного молока |
||
|
с подсолнечным |
с молочным |
с жиром |
|
|
Маслом |
жиром |
«Союз» |
|
|
- содержание сухих веществ, % |
74 |
75 |
74 |
|
-Содержание жира |
8,8 |
8,9 |
8,8 |
|
- размер кристаллов лактозы, мкм |
3-18 |
6-9 |
3-6 |
|
- диаметр жировых шариков, мкм |
2,4 |
1,85 |
1,45 |
|
- кислотность, ºТ |
109 |
83 |
94 |
|
- органолептические показатели |
нормальные слабый вкус подсолнечного масла |
нормальные |
нормальные |
Опыт 2
Выработка контрольного образца сгущённого молока с сахаром из сухого цельного молока, восстановленного до 40% сухих веществ
19 мая 2004 г.
Сырьё:
- сухое цельное молоко
содержание влаги 3,5%
кислотность 17,7 ºТ
жирность 25%
растворимость 0,05 см
- сахар - песок
- питьевая вода
а) Расчёты
Определение количества сухого цельного молока по формуле (7):
mс.ц.м. = 150 . 40 /96,5 = 62,5 г
Количество воды по формуле (8):
В = 150 – 62,5 = 87,5
Определение жирности смеси производят по формуле:
Жсм = mс.ц.м . Жс.ц.м / m в.м , (14)
где Жсм - жирность восстановленного молока, %
mс.ц.м - жирность сухого цельного молока, %
Жсм - 62,5 . 25/150 = 10,42%
Количество сахара и воды необходимые для варки сиропа находим по формулам (12) и (13):
mсах = 150 . 10,42 . 44,6 / 100 . 8,8 = 79,2 г
mводы = 79,2 (99,5 – 74) / 74 = 27,3 мл
б) Восстановление сухого цельного молока до содержания сухих веществ, 40%, режимы восстановления в прил.1.
в) Приготовление сахарного сиропа и внесение в восстановленное молоко при комнатной температуре.
г) Сгущение
Начало 15:30 Конец 16:55
t воды = 73°С
t кипения продукта = 52°С
Р = 0,9 кг / см2
д) Охлаждение при постоянном перемешивании до 35°С, внесение затравки и перемешивание при данной температуре 20 мин, далее охлаждение до 20°С.
е) Фасование в стеклянные баночки и хранение при t = 5°С.
Характеристика готового продукта
Содержание сухих веществ, % 72
Размер кристаллов, мкм 6-9
Диаметр жировых шариков, мкм 1,2
Кислотность, ºТ 55
Органолептические показатели соответствуют норме
Содержание жира,% 8,6
Опыт 3
Выработка сгущённого молока с сахаром из СОМ, восстановленного до 40% сухих веществ
- с подсолнечным маслом
- с молочным жиром
- с жиром «Союз»
(Повтор опыта 2)
24 мая 2004 г.
а) Расчёты (см. эксп. 2 опыт 2)
б) Приготовление образцов (см. эксп. 2 опыт 2)
в) Сгущение образцов
- с подсолнечным маслом
Начало 13:50 Конец 15:10
t воды = 70°С
t кипения продукта = 57°С
Р = 0,85 кг / см2
- с молочным жиром
Начало 11:53 Конец 13:30
t воды = 77°С
t кипения продукта = 52°С
Р = 0,9 кг / см2
- с жиром «Союз»
Начало 15:35 Конец 16:35
t воды = 74°С
t кипения продукта = 62°С
Р = 0,85 кг / см2г)
г) Охлаждение и кристаллизация (см. эксп. 2 оп. 2).
д) Фасование и хранение (см. эксп. 2 оп. 2).
Характеристика готового продукта.
Таблица.4.4 Параметры готового продукта
|
Параметры |
Образцы сгущенного молока |
||
|
с подсолнечным |
С молочным |
с жиром |
|
|
маслом |
жиром |
«Союз» |
|
|
- содержание сухих веществ, % |
74 |
73 |
73 |
|
- содержание жира,% |
8,8 |
8,7 |
8,7 |
|
- размер кристаллов лактозы, мкм |
6 |
6-9 |
3-6 |
|
- диаметр жировых шариков, мкм |
1,8 |
1,2 |
1,6 |
|
- кислотность, ºТ |
96 |
86 |
80 |
|
- органолептические показатели |
нормальные слабый вкус подсолнечного масла |
нормальные |
нормальные |
Опыт подтвердился.
Выработка опытных и контрольных образцов проводилась без пастеризации. Дальнейшие исследования проводили по режиму пастеризации.
Опыт 4
Выработка сгущённого молока с сахаром из СОМ, восстановленного до 30% и 40% сухих веществ, с добавлением жира «Союз». В данном опыте применяли режим пастеризации.
Пастеризация
Основная цель пастеризации – уничтожение вегетативных форм микроорганизмов, находящихся в молоке. Эффективность действия пастеризации зависит от двух основных параметров: температуры, до которой нагревают молоко и выдержки его при данной температуре. В зависимости от этого различают пастеризацию молока с выдержкой и без выдержки [28].
При выборе производственных режимов пастеризации наряду с необходимостью подавления микрофлоры учитывают и особенности технологии того или иного молочного продукта [32].
При выработке сгущённого молока с сахаром мы применяли кратковременную пастеризацию при 95оС без выдержки с последующим немедленным охлаждением до 60ОС.
31 мая 2004 г.
Сырьё:
- сухое обезжиренное молоко
содержание влаги
кислотность
жирность
растворимость
- сахар - песок
- питьевая вода
- жир «Союз»
а) Расчёты (см. экпс. 1, оп.2)
б) Растворение СОМ до 30% и 40% сухих веществ, режимы растворения в прил.1.
в) Внесение расплавленного жира.
г) Приготовление и внесение сиропа
д) Гомогенизация
Режим гомогенизации t = 60°С, 3000 об/мин, τ = 3 мин.
е) Пастеризация смеси при t = 95°С, без выдержки и охлаждения до t = 60°С.
ж) Сгущение
- образец восстановленный до 30% сухих веществ
Начало 16:10 Конец 17:40
t воды = 70°С
t кипения продукта = 49°С
Р = 0,9 кг / см2
- образец, восстановленный до 40% сухих веществ
Начало 15:48 Конец 17:10
t воды = 73°С
t кипения продукта = 51°С
Р = 0,9 кг / см2
з) Охлаждение при постоянном перемешивании до 35°С, внесение затравки и перемешивание при данной температуре 20 мин, далее охлаждение до 20°С.
и) Фасование в стеклянные баночки и хранение при t = 5°С.
Характеристика готового продукта
Таблица 4.5 Параметры готового продукта
|
Показатели |
Образцы, восстановленные до сухих веществ |
|
|
30% |
40% |
|
|
- содержание сухих веществ, % |
72 |
72 |
|
- содержание жира,% |
В,6 |
8,6 |
|
- размер кристаллов лактозы, мкм |
6 |
6 |
|
- диаметр жировых шариков, мкм |
2 |
2,2 |
|
- кислотность, |
83 |
83 |
|
- органолептические показатели |
Нормальные |
Нормальные |
При проведении опытов пришли к выводу, что содержание сухих веществ не влияет на процесс пастеризации.
В пастеризованных образцах размер жировых шариков больше при 40% сухих веществ, чем при 30%.
Сравнивая образцы сгущённого молока с сахаром непастеризованные и пастеризованные можно сказать, что в результате пастеризации размер жировых шариков увеличивается.
5 Обсуждение результатов
5.1 Исследование гомогенизации
а) влияние содержания сухих веществ в восстановленном молоке.
Полученные в результате опытов по исследованию гомогенизации (эксперимент 1) данные представлены в табл.5.1.
Таблица 5.1 Средний диаметр жировых шариков, мкм
|
Опыт |
Содержание сухих веществ, % |
|||||
|
9 |
20 |
30 |
40 |
50 |
60 |
|
|
Гомогенизация с жиром «Союз» |
2,7 |
2,5 |
1,6 |
2,8 |
3 |
- |
|
Гомогенизация с жиром «Союз», с сахаром |
2,4 |
2,3 |
1,63 |
1,2 |
1,36 |
2,5 |
|
Гомогенизация с жиром «Союз», с сахаром (повтор) |
1,8 |
1,62 |
1,55 |
1,25 |
1,4 |
2,0 |
|
Гомогенизация с подсолнеч-ным маслом, с сахаром |
2,3 |
1,6 |
1,54 |
1,5 |
1,6 |
2,6 |
С увеличением содержания сухих веществ в образцах размер жировых шариков постепенно уменьшается и становится минимальным при 30% сухих веществ в опыте без сахара и при 40% в опыте с сахаром. Далее размер жировых шариков увеличивается. Данные эксперимента говорят о том, что наилучшие результаты гомогенизации были получены при 30% (без сиропа) и при 40% (с сиропом) содержании сухих веществ в восстановленном молоке.
Полученные по гомогенизации закономерности были идентичны в последующих опытах при выработке продуктов.
В зависимости от содержания сухих веществ в восстановленном молоке размер жировых шариков также менялся в продукте.
Это показано следующей графической зависимостью:
Рис. 5.1. Средний диаметр жировых шариков в зависимости
от содержания сухих веществ в восстановленном молоке
В интервале с 30% до 40% наблюдалось уменьшение диаметра жировых шариков. Наименьший диаметр жировых шариков при 40%. В интервале с 40% до 50% наблюдалось увеличение размеров жировых шариков.
В продукте, выработанном из восстановленного сухого обезжиренного молока до 40% сухих веществ диаметр жировых шариков минимальный.
б) влияние сиропа
В опыте без использования сахара размеры жировых шариков несколько выше, чем в опыте с сахаром. Минимальные значения диаметров жировых шариков в опыте без внесения сахарного сиропа наблюдалось при 30% содержания сухих веществ в восстановленном молоке и при 40% в опыте с внесением сиропа ( табл.5.1).
Внесение в гомогенизируемую смесь сиропа благоприятно воздействует на гомогенизацию.
Внесение сиропа не только способствует получению в результате гомогенизации жировых шариков меньшего размера, но и оказывает благоприятное воздействие на проведение самого процесса гомогенизации при повышенном содержании сухих веществ. Сахарный сироп, внесенный в восстановленное молоко с повышенным содержанием сухих веществ, снижает вязкость смеси и тем самым облегчает проведение технологической операции.
в) влияние вида жира
При использовании жира «Союз» размеры жировых шариков несколько меньше, чем при использовании подсолнечного масла (табл.5.1).
Использование жира «Союз» предпочтительнее чем подсолнечного масла.
5.2. Влияние содержания сухих веществ в восстановленном молоке.
а) на проведение технологических операций: растворение, сгущение.
- растворение
С увеличением содержания сухих веществ растворение сухого молока проходит труднее.
Из проделанных опытов можно сказать, что рекомендуется растворять до 40%, поскольку начиная с 50% сухих веществ растворение уже значительно затрудняется, у 60%-го образца в опыте с использованием сиропа после растворения остаются комочки, а в опыте без внесения сиропа растворение невозможно, в образце с 70% сухих веществ растворение также невозможно.
- сгущение
|
Содержание сухих веществ в образце, % |
Содержание сухих веществ в сгущённом молоке, % |
Продолжительность сгущения, мин. |
|
30 |
72 |
90 |
|
40 |
72 |
80 |
|
50 |
72 |
50 |
Чем выше содержание сухих веществ в восстановленном молоке, тем продолжительность сгущения меньше.
б) на качество продукта
- органолептическая оценка
При проведении опытов (эксп.1, оп.4) для выработки продукта использовались концентрации сухих веществ в восстановленном молоке 40% и 50%, результаты приведены в табл.5.2.
Таблица 5.2. Балловая оценка органолептических свойств сгущенного молока с сахаром
|
Образец |
Внешний |
Оцен- |
Запах, |
Оцен- |
Структура, |
Оцен- |
Итого |
|
(содержание |
вид и |
ка, |
вкус, |
ка, |
консистен- |
ка, |
|
|
сухих веществ, |
цвет |
баллы |
ароматы |
баллы |
ция |
баллы |
|
|
%, вид жира) |
|||||||
|
Эксперимент 1 Опыт 4 40% с подсолнеч-ным маслом |
норм. |
5 |
привкус подсолнечного масла |
4 |
норм. |
5 |
14 |
|
50% с подсолнеч- ным маслом |
норм. |
5 |
выраженный привкус подсолнечного масла, привкус восстановленного молока |
3 |
неоднородная, крупинчатая, со шпателя стекает комками |
3 |
11 |
У образца восстановленного до 40% сухих веществ органолептические показатели соответствуют норме, а у образца с содержанием сухих веществ 50% наблюдается ухудшение органолептических показателей.
На основании этого можно сделать вывод, что растворение до содержания сухих веществ выше 40% не рекомендуется.
- размер кристаллов лактозы
Размер кристаллов лактозы в продукте при содержании сухих веществ в восстановленном молоке 40%, 50% составлял 6 мкм(табл.5.3)
Содержание сухих веществ в восстановленном молоке на размер кристаллов лактозы не влияет.
- вязкость
У образца с содержанием сухих веществ 40% вязкость соответствует норме, у образца с содержанием 50% наблюдается отклонение от нормы(табл.5.3)
Таблица 5.3. Физико-химические показатели сгущённого
молока с сахаром.
|
Образец (содержание |
Показатели |
|
|
Сухих веществ, % |
Размер крис- |
Вязкость |
|
вид жира) |
таллов лак- |
|
|
тозы, мкм |
||
Эксперимент 1Опыт 4 40% с подсолнечным маслом |
6 |
норм., стекает со шпателя нитью и отрывается каплями |
|
50% с подсолнечным маслом |
6 |
Повышенная вязкость, стекает со шпателя комками |
5.3. Влияние вида жира на:
а) качество продукта
- органолептические показатели
Для определения влияния вида жира на органолептические свойства продукта была проведена серия опытов (эксп.2, оп.1-3), результаты опытов 1 и 3 одинаковы, они обобщены и сравниваются с контрольным образцом выработанным из сухого цельного молока. Результаты представлены в табл.5.4.
Таблица 5.4 Балловая оценка органолептических свойств сгущенного молока с сахаром
|
Образец (содержание сухих веществ,% вид жира) |
Внешний вид и цвет |
Оценка, баллы |
Запах, вкус, аромат |
Оценка, баллы |
Структура, консистенция |
Оценка, баллы |
Итого |
|
Эксперимент 2 Опыт 1 и 3 |
|||||||
|
40% - с подсолнечным маслом |
норм. |
5 |
Привкус подсолнечного масла |
4 |
Норм |
5 |
14 |
|
- с молочным жиром |
норм. |
5 |
норм. |
5 |
Норм |
5 |
15 |
|
- с жиром «Союз» |
норм. |
5 |
норм. |
5 |
Норм. |
5 |
15 |
Эксперимент 2Опыт 2 40% из сухого цельного молока |
норм. |
5 |
норм. |
5 |
Норм. |
5 |
15 |
При использовании жира «Союз» и молочного жира все органолептические показатели соответствовали норме. Образцы сгущённого молока, выработанные с применением подсолнечного масла, имели привкус подсолнечного масла.
Жир «Союз» не оказывает отрицательного воздействия на органолептические показатели продукта, в то время как подсолнечное масло несколько их ухудшает. Исследования показали, что жир «Союз» наиболее приближен по своим органолептическим показателям к молочному жиру.
Поэтому предпочтение нужно отдавать жиру «Союз».
- размер жировых шариков
При проведении серии опытов (эксп.2, оп.1-3) по выработке образцов сгущенного молока с сахаром, в полученных образцах были проведены измерения величины жировых шариков результаты которого приведены в табл.5.5.
Таблица 5.5 Средний диаметр жировых шариков
|
Образец (содержание сухих веществ,% вид жира) |
Средний диаметр жировых шариков, мкм |
Эксперимент 2Опыт 1 40% с подсолнечным маслом |
2,4 |
с молочным жиром |
1,85 |
с жиром «Союз» |
1,45 |
Эксперимент 2Опыт 2 40%из сухого цельного молока (контрольный образец) |
1,2 |
Эксперимент 2Опыт 3 (повторение оп. 1) 40% с подсолнечным маслом |
1,8 |
с молочным жиром |
1,2 |
с жиром «Союз» |
1,6 |
При использовании подсолнечного масла жировые шарики в продукте имели более крупные размеры, чем при использовании жира «Союз» и молочного жира.
По этому показателю предпочтение следует отдавать жиру «Союз».
- размер кристаллов лактозы
В образцах сгущенного молока с сахаром выработанных при проведении опытов (эксп.2, оп.1-3), были проведены измерения величины кристаллов лактозы результаты которого приведены в табл.5.6. Измерения проводились в свежевыработанных образцах.
Таблица 5.6 Средний размер кристаллов лактозы
|
Образец (содержание сухих веществ,% вид жира) |
Средний размер кристаллов лактозы, мкм |
Эксперимент 2Опыт 1 40% с подсолнечным маслом |
6 |
с молочным жиром |
6 |
с жиром «Союз» |
6 |
Эксперимент 2Опыт 2 40%из сухого цельного молока (контрольный образец) |
6 |
Эксперимент 2Опыт 3 (повторение оп. 1) 40% с подсолнечным маслом |
6 |
с молочным жиром |
6 |
с жиром «Союз» |
6 |
При использовании любого жира средний размер кристалла лактозы составлял 6 мкм. Вид используемого жира на размер кристаллов не влияет.
б) технологические операции
Вид используемого жира на технологические операции влияния не имеет.
5.4 Влияние затравки
При проведении опытов по выработке сгущенного молока с сахаром продукт изготавливали с применением затравки и применением операции охлаждения (эксп.2) и без них (эксп.1,оп.4). В полученных образцах были проведены измерения размеров кристаллов лактозы, результаты которого приведены в табл.5.7. Измерения проводились в свежевыработанных образцах и в процессе хранения.
Таблица 5.7 Средний размер кристаллов лактозы, мкм
|
Образец |
№ измерения (дата) |
||
|
1 |
2 |
3 |
|
|
Без затравки 40% |
|||
|
С подсолнечным маслом |
6 (17.05.) |
30 (20.05.) |
120 (24.05.) |
|
50% |
|||
|
С подсолнечным маслом |
6 (17.05) |
||
С затравкой |
|||
|
40% |
|||
|
С подсолнечным маслом |
6 (20.05.) |
6 (24.05.) |
6 (31.05.) |
|
С молочным жиром |
6 (20.05.) |
6 (24.05.) |
6 (31.05.) |
|
С жиром «Союз» |
6 (20.05.) |
6 24.05.) |
6 (31.05.) |
|
40% |
|||
|
из сухого цельного молока |
6 (20.05.) |
6 (24.05.) |
6 (31.05.) |
Без внесения затравки и охлаждения пробы кристаллы лактозы после сгущения имели размеры, не превышающие нормативы, но при хранении имели тенденцию значительно увеличиваться, за 3 дня до 30 мкм, а через 7 дней становились видимы визуально и достигали 120 мкм.
В образцах, которые были выработаны с использованием затравки и охлаждением после сгущения, первоначальный размер кристаллов составлял 6 мкм и при хранении кристаллы не увеличивались в размерах.
Использование затравки и применение режима охлаждения положительно влияют на процесс кристаллизации лактозы.
5.5 Влияние пастеризации на: проведение технологических операций, качество готового продукта
- проведение технологических операций
Проведение опытов (эксп.1,оп4) показало,что пастеризация смеси восстановленного молока до 30, 40% и сахарного сиропа не затрудняется из-за повышенного содержания сухих веществ и не оказывает влияние на проведение технологических операций.
- качество готового продукта
Качественные показатели готового продукта, выработанного с применением пастеризации, не изменились и соответствуют норме, результаты опытов представлены в табл.5.8.
Произошло только незначительное увеличение размеров жировых шариков(табл.5.9).
Таблица 5.8 Балловая оценка органолептических свойств сгущенного молока с сахаром
|
Образец (содержание сухих веществ,% вид жира) |
Внешний вид и цвет |
Оценка, баллы |
Запах, вкус, аромат |
Оценка, баллы |
Структура, консистенция |
Оценка, баллы |
Итого |
|
Эксперимент 2 Опыт 4 40% с жиром «Союз» |
норм |
5 |
норм |
5 |
норм |
5 |
15 |
|
30% с жиром «Союз» |
норм |
5 |
норм |
5 |
норм |
5 |
15 |
Таблица 5.9 Средний диаметр жировых шариков, мкм
|
Образец (содержание сухих веществ,% вид жира) |
Средний диаметр жировых шариков, мкм |
|
Эксперимент 2 Опыт 4 30% 40% с жиром «Союз» |
2 2,2 |
6 Экономическая эффективность
Расчет расхода пара на вакуум-аппарат при различном содержании сухих веществ в восстановленном молоке.
Начальные характеристики:
К>сг>=1000 кг
Р>рп>=8 ат (i>рп>=2768,8 кДж/кг)
t>кон>=80°С (i>кон>=336 кДж/кг)
Р>вт>=0,2 ат (i>вт>=2610,8 кДж/кг)
С>пр>=3,9 кДж/кг∙град
u=0,8
η=0,85
Определение количества сырья производим по формуле:
К>с>=К>сг>/(S>н>/S>к>) , ( 15)
Где К>с >–количество сырья , кг/ч
S>н >,S>к > - начальная и конечная массовые доли сухих веществ в продукте, %> >
К>с1> =1000/(12/74)=6166,7 кг,
К>с2> =1000/(40/74)=1850 кг,
Определение количества испаренной влаги производим по формуле:
W=К>с>(1- S>н >/S>к>) , (16)
Где W- количество испаренной влаги, кг/ч
> > W>1>=6166,7(1-12/74)=5180 кг/ч
W>2>=1850(1-40/74)=851 кг/ч
Определение количества рабочего пара производим по формуле:
К>р>=(Wr + K>c>C>пр>(t>к> - t>н>))/((i>рп> – i>кон>) + u(i>вт> – i>кон>))η , (17)
где К>р >- количества рабочего пара, кг/ч
r – скрытая теплота парообразования, кДж/кг
C>пр >- теплоёмкость продукта, кДж/кгК
t>к> , t>н >- конечная и начальная температура продукта, оС
i>рп >,> >i>вт >- энтальпия рабочего и вторичного пара, кДж/кг
i>кон >– энтальпия конденсата, кДж/кг
u> >– коэффициент инжекции, кг/кг
η> >– тепловой КПД
К>р1>=(5180∙2260+6166,7∙3,9(60-30))/((2768,8–336)+0,8(2610,8-336))0,85=3438,4 кг/ч
К>р2> =(851∙2260,1+1850∙ 3,9(60-30))/(( 2768,8–336)+0,8(2610,8-336))0,85=592 кг/ч
К>р1 >/ К>р2 >=3438,4/592=5,8
Расход рабочего пара для сгущения сухого молока восстановленного до 12% сухих веществ в 5,8 раз больше чем для сгущения сухого молока восстановленного до 40% сухих веществ. Эта значительная экономия позволит снизить затраты на производство продукта.
Выводы
На основании результатов проведённых опытов можно сделать следующие выводы:
1. Наилучшие результаты гомогенизации получены при восстановлении сухого обезжиренного молока с использованием жира «Союз» и внесением сиропа в гомогенизируемую смесь.
2. Оптимальное содержание сухих веществ в восстановленном молока 40%.
3. Установлено, что жир «Союз» положительно влияет на качество продукта и его физико-химические показатели.
4. Пастеризация восстановленного молока до 30, 40% сухих веществ не оказывает отрицательного воздействия на проведение технологической операции и качество продукта.
На основании проведённых исследований разработали технологию производства сгущённого молока с сахаром с использованием в качестве сырья сухого обезжиренного молока и заменителя молочного жира «Союз».
Схема технологического процесса:
Приёмка и подготовка сырья
↓
Восстановление СОМ
до 40% сухих веществ t = 45-50оС
охлаждение до t = 6-8оС τ = 3-4 ч
↓
Внесение растопленного жира «Союз»
↓
Приготовление и внесение сахарного сиропа
↓
Гомогенизация
t = 60оС, 2000 об/мин., τ = 3 мин.
↓
Пастеризация
t = 95оС без выдержки
охлаждение до t = 6-оС
↓
Сгущение
↓
Затравка 0,02% → Охлаждение и кристаллизация t = 20оС
↓
Фасовка
↓
Хранение
1. Приёмка и подготовка сырья
Основными компонентами при производстве сгущённого молока являются: сухое обезжиренное молоко, заменитель молочного жира – жир «Союз-512Л», сахарный песок, вода, лактоза.
2. Восстановление сухого обезжиренного молока
Рассчитанную массу сухого молока растворяют в питьевой воде при t = 45-50оС. После растворения молока пропускают через сетчатый фильтр с целью освобождения от комочков. После этого смесь охлаждают до t = 6-8оС и выдерживают при этой температуре 3-4 часа с целью набухания белков, устранения «водяного» привкуса, улучшения консистенции восстановленного молока.
3. Предварительно растопленный жир «Союз» вносится в восстановленную смесь.
4. Приготовление и внесение сиропа [28]
Сахарный сироп готовят путём растворения необходимого количества сахара в питьевой воде температурой 60-70оС. После смешивания сахара с водой смесь доводят до кипения и очищают. Сахарные сиропы рекомендуется готовить с концентрацией сахара 65-70%. С целью предотвращения расщепления (инверсии) сахарозы, а также засахаривания и загустения сироп нельзя выдерживать более 20 мин. от начала кипения до начала его смешивания с молоком. Температура сиропа при смешивании должна быть 90-95оС. После внесения сиропа смесь тщательно вымешивается.
Данные операции производятся с использованием ёмкостных теплообменных аппаратов.
5. Гомогенизация
Перед проведением гомогенизации смесь нагревают до t = 60оС. Гомогенизацию проводят при 3000 об/мин продолжительностью 3 мин.
Данная операция проводится для получения однородной эмульсии, которая практически не должна расслаиваться в хранении
6. Пастеризация
После диспергирования жировой фазы, смесь направляют на пастеризацию, которую проводят при t = 95оС без выдержки.
В смесь перед пастеризацией можно вносить 25%-ный растров соли – стабилизатора в количестве 0,008 – 0,01% массы смеси. После пастеризации смесь рекомендуется охладить до 60оС и направить на сгущение.
7. Сгущение
Сгущение проводят при температуре кипения продукта 52 – 56оС. Для установления готовности продукта отбирают его пробу, охлаждают до 18-20оС и определяют массовую долю сухого вещества и органолептические показатели.
Массовая доля сухих веществ в готовом продукте по рефрактометру при 20оС составляет 73,8 – 74%. Консистенция пробы продукта при 50оС должна быть слабовязкой. Продукт должен легко стекать со шпателя. Сгущённый продукт из вакуум – выпарной установки направляют на охлаждение.
8. Охлаждение и кристаллизация
Продукт охлаждения при постоянном перемешивании до температуры 35оС и при этой температуре вносят затравку в количестве 0,2% для интенсификации кристаллизации и образования мелких кристаллов лактозы. Затравка – сухая мелкокристаллическая лактоза с размером кристаллов 2 – 3 мкм. Лактозу перед внесением прогревают при 105 ± 2оС не менее 1 часа. Поле внесения лактозы в сгущённое молоко увеличивается число зародышей кристаллизации, которые способствуют образованию мелких кристаллов.
После внесения затравки сгущённое молоко выдерживают при данной температуре 20 минут при постоянном перемешивании.
Далее продукт охлаждают до 20оС и отправляют на фасовку.
9. Фасовка
Готовый продукт фасуют в потребительскую (банки № 7, алюминиевые тубы, бумажные пакеты) или транспортную (деревянные заливные и фанерно-штампованные бочки, фляги) тару. Металлическую тару предварительно моют и стерилизуют, а деревянные и фанерно-штампованные бочки парафинируют - в целях исключения вторичного бактериального обсеменения продукта во время фасования.
10. Хранение продукта
Рекомендуется хранить сгущённое молоко с сахаром при t = 0 – 10оС, относительная влажность камер хранения не более 75%.
Срок хранения не более 12 месяцев, в транспортной таре – не более 6 месяцев.
Для приготовления 1000 кг сгущённого молока требуется 1451 кг нормализованной смеси. Рецептура представлена в таблице.
Таблица 1. Рецептура приготовления смеси на 1000 кг продукта
|
Компоненты |
Количество, кг |
|
Сухое обезжиренное молоко |
441,2 |
|
Вода для восстановления сухого молока |
617 |
|
Сахар – песок |
255 |
|
Вода для приготовления сиропа |
88 |
|
Жир «Союз» |
49,8 |
Пользуясь данной рецептурой для приготовления сгущённого молока с сахаром с содержанием сухих веществ 74%, полученный продукт будет содержать 9,8% жира, содержание сахарозы – 50%.
Приложение А
Схема стадийного растворения сухого молока
|
Операции |
Содержание влаги в продукте, % |
t , °С |
Продолжительность, сек |
|
1 |
Растворение 10 40 70 88 |
45 50 60 65 |
30 30 60 30 |
|
2 |
Охлаждение |
до t=20°С |
|
|
3 |
Фильтрование |
||
|
4 |
Выдерживание |
τ=25 мин |
Приложение В
Библиографический список
1.Молочная промышленность январь-сентябрь 2003г.// Молочная промышленность, 2003, №11.
2. Цены на молоко и молочные продукты.// Молочная промышленность, 2003, №12.
3. Гамазкова.Л. Российский рынок сгущенного молока.// Email :http:// www.marketcenter.ru/content/Lilia@binec.ru
4. Мещерякова.В.А. Соя в лечебно-профилактическом питании.// Пищевая промышленность, 2002, №8.
5. Степанова.Л.И. Российский рынок растительных масел и жировых систем.// Пищевая промышленность, 2002, №8.
6. Инихов.Г.С, Брио.Н.П. Методы анализа молока и молочных продуктов.-М.: Пищевая промышленность, 1971-422с.
7. Рязанова.О.А, Подняковский.В.М, Шевелева.А.А. Продукты специального назначения на основе сои.// Пищевая промышленность, 2002, №8.
8. Поляк.А.Л. Рынок сухого молока.// Молочная промышленность, 2003, №5.
9. Поляк.А.Л. Рынок сухого молока.// Молочная промышленность, 2003, №12.
10. Огустин.М.А. Ингредиенты для рекомбинированных молочных продуктов.// Молочная промышленность, 2001, №10.
11. Игнатов.К.Л, Измайлова.Г.И. Растительные масла и жировые системы в пищевой промышленности.// Молочная промышленность, 2000, №8.
12. Зобкова.З.С, Кутилина.С.К. Растительные жиры в молочных продуктах.// Молочная промышленность, 1999, №1.
13. Кузьмичева.М.Б. Российский рынок молочных консерв.// Молочная промышленность, 2002, №1.
14. Поляк.А.Л. Рынок сухого обезжиренного молока.// Молочная промышленность, 2002, №7.
15. Поляк.А.Л. Рынок сухого молока. Лето может быть трудным.// Молочная промышленность, 2002, №6.
16. Ханс Ван Гульден, Малина.И.Л.Совершенствование показателей заменителей молочного жира с учетом практических требований производителей молочной и масложировой продукции.// Пищевая промышленность, 2001, №4.
17. Заменитель молочного жира «Деликон-1». Качественные показатели продукции.// http://www.grain-tc.com/dol tex5.htm
18. Редько.Т.С. Заменители молочного жира проблемы и перспективы.// Молочная промышленность, 1998, №6.
19. Степанова.Л.И. Растительные масла и жировые системы в структуре питания населения России.// Молочная промышленность, 2002, №7.
20. Харина.Н.В, Забодалова.Л.А. Комбинированная основа для пастообразного продукта.// Молочная промышленность, 2002, №7.
21. Масло топленое «Российское Золотое». Московский завод топленого масла.// http://www.mztm.ru/price.htm
22. Эрвольдер.Н.Ю. Технология производства сгущенного молока из сухого молока и заменителей молочного жира по ТУ. ОООНПК «Прогрессивные Технологии».// http://www/protex.ru
23. Вестерби.П. Новая технология рекомбинированного сгущенного молока с сахаром.// Молочная промышленность, 2000, №10.
24. Тарасенко.О.С. Высокотехнологичные жиры российского производства.// Пищевая промышленность, 2003, №8.
25. Лещанская.О. Роль трансизомеров жирных кислот в жизнедеятельности человека глазами химика, специалиста по питанию и кардиолога.// Пищевая промышленность, 2003, №7.
26. Заменитель молочного жира «Акобленд»// Молочная промышленность, 2000, №2.
27. Добриян.Е.И. Сгущенное молоко «Лидер».// Пищевая промышленность, 2002, №7.
28. Бредихин.С.А, Космодемьянский.Ю.В, Юрин.В.Н. Технология и техника переработки молока.-М.: Колос, 2001-400с.
29. Вайткус.В.В. Гомогенизация молока.-М.: Пищевая промышленность, 1967-200с.
30. Сборник технологических инструкций по производству пастеризованного молока, сливок, кисломолочных диетических продуктов и сметаны.-М.: Пищевая промышленность, 1971-200с.
31.Шидловская.В.П. Органолептические свойства молока и молочных продуктов.-М.: Колос, 2000-200с.
32. Твердохлеб.Г.В, Диланян.З.Х, Чекулаева.Л.В. Технология молока и молочных продуктов.- М.: «Агропромиздат», 1991- 463с.