Расчет и проектирование коробки скоростей к операционному токарному станку
МОСКОВСКИЙ ГОСУДАРСТВЕННЫЙ ТЕХНОЛОГИЧЕСКИЙ УНИВЕРСИТЕТ «СТАНКИН»
КАФЕДРА ОСНОВ КОНСТРУИРОВАНИЯ МАШИН
КУРСОВОЙ ПРОЕКТ
На тему: Рассчитать и спроектировать коробку скоростей к операционному токарному станку.
Вариант 2/11
Выполнил: студент гр. ВТ-6-1 Тулаев П.А.
Проверил: Степанов А.А.
МОСКВА 2001










































Z>1>
Z>2>
Z>3>
Z>4>
Z>5>
Z>6>



∅35
∅35
ЭМ
36X42
шлицы


∅45
∅45
I
II
III


∅40
Дано:
Т>вых> >max> = 138 Hm
n>min> = 340 мин –1
φ = 1,41
n>0> = 1000 мин –1
Тип фрикционной муфты ЭМ
Тип передачи (U = 1) или муфты на выходном валу клиноремённая
Коробку установить на литой плите
Срок службы коробки t>ч> = 12103 часов
Кинематический расчёт
Выбор электродвигателя
Т = 9550 р/>п>
Расчётная мощность на выходе
Р>вых>
=

Р>эл>’
=

п>общ >= п2>оп> п2>пр>
п>общ
>= 0, 9952
0, 982
0,
990025 0, 9604 =
0, 95082
Р
эл’
=
(это в )
Тип двигателя : Тип исполнения:
4А132S6У3 М300
Р
>н>
= 5, 5 кВт
п>0> = 1000
п>п> = 965 мин-1

-
<20%
- недогрузка электродвигателя
=>
тип двигателя выбран правильно
Определение частот вращения выходного вала
п>1 >>min> = 340 об/мин
п>2 >>min> = n>1> φ = 340 1,41 = 479,4 об/мин
Определение общих передаточных чисел
U>общ
1, 2>
=
U>пр2
>>13>
U>пр1>
U>общ
1>
=
(1) = U>пр1>U>пр2>
U>общ
2 >=
(2) = U>пр1>U>пр3>
Выбор передаточных чисел отдельных пар
U>пр >>max >= 4
Разбиение U>общ> по ступеням приводят к U>общ >>min>
Здесь можно выявить следующие пары:

=


Определение чисел зубьев прямозубых колёс



т.к.
a>w>
= const


Проверка частот вращения

-
-
-
%т
φ-
. к.
кинематика
выбрана удовлетворительно
мм
– диаметры
шкивов на выходе
п>z> = min
30,965>24n>II>
при
Т>II>
и п>II>
ψbd
= 0,3 – рассчитываемая передача
Определение мощности на валах
Р>эл> = 5,5 кВт
Р>I> = P>эл>η>пр>η>оп> = 5,50,980,995 = 5,36 кВт
Р>II> = P>I>η>пр>η>оп> = 5,360,980,995 = 5,23 кВт
Р>III> = P>II>η>оп>η>кл.р> = 5,230,9950,96 = 4,995 кВт
Определение частот вращения валов
n>I>
= n>H>
=
965
=
675,5 мин-1
n>II>>1>
= n>I>
=
675,5
=
337,75 мин-1
n>II>>2>
= n>I>
=
675,5
=
482,499 мин-1
n>III>>1> = n>II>>1>U = 337,75 мин-1
n>III>>2> = n>II>>2>U = 482,499 мин-1
Определение вращающих моментов
Т
= 9550

Т>эл>
= 9550
=
9550
=
51,103 Hм
T>I>
= 9550
=
9550
=
75,7 Hм
T>II>
= 9550
=
9550
=
147,8 ≈ T>max>
= 138 Hм
Проектировочный расчёт валов
φ
φ
=
db>I>
= 110
=
32,8 мм
db>II>
= 110
=
38,8 мм
db>III>
= 110
=
35,09 мм
Итоговая таблица
|
№ вала |
P>i> |
n>i> |
T>i> |
db>i> |
|
Эл |
5,5 |
965 |
51,103 |
38 |
|
I |
5,36 |
337,75 |
75,7 |
32,830 |
|
II |
5,23 |
482,499 |
147,8 |
38,80 |
|
III |
4,995 |
482,499 |
138 |
35,08 |
Расчёт прямозубой цилиндрической передачи
т.к.
у шестерни Z>3>
наименьшее число зубьев (z>min>),
то рассчитывать будем её =

Проектировочный расчёт
а) на контактную выносливость
d>1H>
= Kd
Kd = 770 (сталь)
T>I> = 75,7 Нм
Ψbd = 0,3 – коэффициент ширины зуба
K>Hβ> = 1,07 по таблице 1.5
HB > 350
>
6 (менее жёсткий вал)

Cos β = 1 т.к. прямозубая цилиндрическая передача
далее по таблице 6.5
Ст40х + термическая обработка, закалка в ТВЧ
σ>НР> = 900 МПа
σ>FP> = 230 МПа
σ>НР> = σ>НР>’K>HL> = 9001 = 900МПа
N>HO> = 8107 циклов
N>FO> = 4106 циклов
t>14>=t>24>=
N>HE> = 60t>ч>n>I> = 606103675,5 ≈ 24107 циклов
K>HL>
=
=
1
т.к. N>HE> > N>HO>, то K>HL> = 1
d>IH>
=
=
мм
m>H>
=
мм
б) на изгибную выносливость
m>F>
=

K>m> = 13,8 (сталь, прямозубая)
Т>I> = 75,7 Hм
Z>3> = 24
Ψbd = 0,3
У>F>>3> = Z>3> и “Х” = 3,92 (по таблице)
σ>Fp> = σ>Fp>’K>FL>
K>FL>
=
1
K>Fβ> = 1,15 по таблице 1. 5
Для постоянного режима
N>FE> = N>HE> = 24107
т.к. N>FE>>N>F0>, то K>FL> = 1
σ>FP> = 2301 = 230 МПа
m>F>
= 13,8
2,7мм
m>H> = 2,55мм m>F> = 2,7мм
ГОСТ: 2,0; 2,25; 2,5; 2,75; 3,0; 3,5…
по ГОСТ выбираем 2,75мм
Проверочный расчет прямозубой передачи
а) на контактную выносливость
σ>Н>
= Z>M>Z>H>Z>ε>
>
>σ>HP>
Z>M> = 192 (сталь-сталь)
Z>H> = 2,49 (x=0, β=0)
Z
-
>ε> =
ε
>α>
= = 1,88-3,2(
)
= 1,68
Z
-
>ε> =
= 0,88
d>III>
=

b = ψbdd>I> = 0,366 = 19,8 мм (принимаем b=20)
U
= 2

F>tI>
=

K>Hα> = 1 (прямозубая передача)
K>Hβ> = 1,07
K>H>>v>
=

F>H>>v>
= δ>H>д>0>vb
δ>H> = 0,014 (для прямозубой НВ>350 и без модификации)
д>0> = 47 (для 7 й степени точности)
v>I>
=

aw
=

F>H>>v>
= 0,014472,3319,8
=
213,5 H
K>H>>v>
= 1+
σ>H>
= 1922,490,88
МПа
730МПа < 900МПа
Расчет на изгибную выносливость
σ>F>
= У>FI>У>ε>У>β>
σ>FP>
У>FI> = 3,92
У>ε> = 1 (прямозубая)
У>β> = 1 (β=0)
F>tI> = 2336 H
b = 19,44 мм
m = 2,75 мм
K>Fα> = 1(прямозубая)
K>Fβ> = 1,15
K>F>>v>
= 1+
F>F>>v>
= δ>F>
д>0>v>I>b
δ>F> = 0,016 (прямые без модификации НВ>350)
F>F>>v>
= 0,016472,3320
=
246 H
K>F>>v>
= 1+
=
1,09
σ>F>
= 3,9211
=
205 МПа
205 МПа < 230 МПа
S>F>
=
=
1,12
Расчёт клиноремённой передачи
Тип ремня Б
Нормального сечения по ГОСТ 1284.1 и по ГОСТ 1284.3
Х
арактеристики
и размеры (по таблице 9.13)
в>0> = 17 мм
в>р> = 14 мм
h = 10,5 мм
А>1> = 138 мм2
d>1>>min> = 125 мм
q = 0,18 кг/м
L = 800…6300 мм
Т>1> = 50…150 Hм
Диаметры шкивов
мм
– диаметры
шкивов на выходе
округляем по табл. 9. 3 до значения 160 мм
d>p>>1>=d>p>>2>=160 мм
Ф
актическая
частота вращения ведомого вала
n2 = 482.499 мин-1
Скорость ремня

V = 4 м/>с>
Окружная сила
F>t>
=
=
1189 Н
Межосевое расстояние
мм
причём a>min> < a < a>max> , где
a>min> = 0,55(d>1>+d>2>)+h = 0,55(160+160)+10,5 = 186,5 мм
a>max> = 2(d>1>+d>2>) = 2(160+160) = 640 мм
Длина ремня
L ≈
L ≈ мм
Принимаем стандартную длину ремня по таблице 9.14
L
= 1000 мм
Окончательное межосевое расстояние
, где
λ = L - πd>ср> = 497,6
d>ср>
=
=
160 мм

= 0
мм
Наименьшее межосевое расстояние
(необходимое для монтажа ремня)
a>наим>> >≈ a – 0,01L ≈ 238,8 мм
Наибольшее межосевое расстояние
(необходимое для компенсации вытяжки ремня)
a>наиб> ≈ a + 0,025L ≈ 273,8 мм
Коэффициент режима
С>р> = 1 т.к. токарный станок (по табл. 9.9)
Угол обхвата ремня на малом шкиве


Коэффициент угла обхвата
С>а> = 1 (по табл. 9.15)
Частота пробегов ремня, С -1
i =

i =

Эквивалентный диаметр ведущего шкива
d>e>
= d>1>K>и>
, где
=1
=> d>e> = 160 мм
приведённое полезное напряжение
[σ>F>] = 2,5 МПа
Допускаемое полезное напряжение
[σ>F>] = [σ>F>]>0>C>a>C>p> = 2,51 = 2,5 МПа
Необходимое число клиновых ремней
Z’
=

Коэффициент неравномерности распределения нагрузки по ремням
С>z> = 0,95 (по табл. 9.19)
Число ремней

принимаем Z = 3
Коэффициент режима при односменной работе
Cp’ = 1 (по табл. 9.9)
Рабочий коэффициент тяги
Ψ = 0, 67C>a>C>p>’ = 0,6711 = 0,67
Коэффициент
m =

Площадь сечения ремней
A = A>1>Z
A = 1383 = 414 мм
Натяжение от центробежных сил
F>ц> = 10-3ρAV2 , где
Плотность ремней ρ = 1,25 Г/>см>3
F>ц> = 10-31,2541442 = 8,28 Н
Натяжение ветвей при работе
F>1>
= F>t>
+F>ц>
F>2>
= F>t>
+F>ц>
F>1>
= 1189
+8,28
= 1490,13 H
F>2>
= 1189
+8,28
= 301,13 H
Натяжение ветвей в покое
F>0> = 0,5(F>1>+F>2>)-xF>ц> , где
коэффициент x = 0,2
F>0> = 0,5(1490,13+301,13)-0,28,28 = 893,974 H
Силы действующие на валы при работе передачи


F>a> = 1774,7 H
Силы действующие на валы в покое
F>a0>
= 2F>0>sin
F>a0>
= 2·893,974
·sin
1787,9 H
Размеры профиля канавок на шкивах
(выбираются по табл. 9.20)
H = 15
B(b) = 4,2
t = 19
f = 12,5
φ = 34°…40°
Наружный диаметр шкивов
d>e1> = d>e2> = d>p1,2>+2b
d>e>>1,2> = 168+24,2 = 176,4 мм
Внутренний диаметр шкивов
d>f1> = d>f2> = d>e1,2 >–2H
d>f1,2> = 176,4 - 215 = 146,4 мм
Ширина ремня
B = Zt
B = 319 = 57 мм
Ширина шкива
M = 2f+(Z-1)t
M = 212,5+(3-1)19 = 63 мм
Определение геометрических параметров
d>i>
=

d>ai> = d>i>+2m
d>ti> = d>i>-2,5m
b = ψbdd>i>
d>1>
=
мм
d>a>>1> = 82,5+22,75 = 88 мм
d>t1> = 82,5-2,52,75 = 75,625 мм
b>1> = 0,382,5 = 24,75 мм
d>2>
=
мм
d>a>>2> = 115,5+22,75 = 121 мм
d>t>>2> = 115,5-2,52,75 = 108,625 мм
b>2> = 0,3115,5 = 34,65 мм
d>3>
=
мм
d>a>>3> = 66+22,75 = 71,5 мм
d>t>>3> = 66-2,52,75 = 59,125 мм
b>3> = 0,366 = 19,8 мм
d>4>
=
мм
d>a>>4> = 132+22,75 = 137,5 мм
d>t>>4> = 132-2,52,75 = 125,125 мм
b>4> = 0,3132 = 39,6 мм
d>5>
=
мм
d>a>>5> = 82,5+2·2,75 = 88 мм
d>t>>5> = 82,5-2,5·2,75 = 75,625 мм
b>5> = 0,3·82,5 = 24,75 мм
d>6>
=
мм
d>a>>6> = 115,5+2·2,75 = 121 мм
d>t>>6> = 115,5-2,5·2,75 = 108,625 мм
b>6> = 0,3·115,5 = 34,65 мм
aw = 99 мм (для всех колёс)
|
d>t> |
d>i> |
d>a> |
Определение усилий действующих в зацеплении
T>эл> = 51,103 Hм
H
H
T>1> = T>I> = 75,7 Hм
H
H
Выбор и расчёт муфты
Электромагнитная фрикционная муфта с контактным токоподводом и постоянным числом дисков тип ЭТМ…2.

=1,3…1,75 коэффициент сцепления
[P]>p> – удельное давление
[P]>p>=[P]Kv
Kv
=

Vcp
=

Дср
=

f = 0,25…0,4 (сталь феродо)-сухие
[P] = 0,25…0,3 Мпа –сухие
T = 75,7 H/м
i = 2Zнар = 23 = 6
n = 337,75 об/мин
Дн = 53 мм
Дв = 45 мм
Дср
=

Vcp
=

P
=

Kv
=

Kv 1
[P]>p> = 4,170,9 = 3,75
P<[P]>p>

Расчёт валов на статическую прочность
Расчёт вала I

Ft2 = 1239 H
Ft3 = 2336 H
Fr2 = 451 H
Fr3 = 850,4 H
T = 75,7Hм
Ст 45 термообработка, улучшение
МAг = 0
Бг =

МБг = 0
Аг =

МАв = 0
Бв =

МБв = 0
Ав =

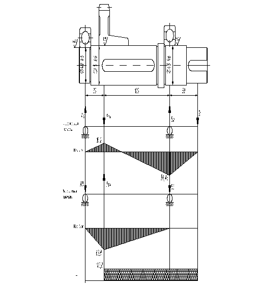
Определение наибольшего изгибающего и вращающего моментов в опасном сечении
Принимаем

По эпюрам и реакциям находим максимальный изгибающий момент.

Tmax = 1,5T = 1,575,7 = 113,55 Hм
Определение эквивалентного напряжения в опасном сечении
По эмперической теории прочности
экв
=

запас прочности по пределу текучести в опасном сечении
для стали 45
НВ200 >Т> = 280Мпа

Расчёт вала II

Ft4 = 850,4 H
Ft4 = 2336 H
R = 1189 H
T = 147,8 Hм
Ст 45 термообработка, улучшение
МAг = 0
Бг
=

Аг = F>r>>4> – Бг + R = 850,4-1746+1189=293,4
МАв = 0
Бв =

Ав = -F>t>>4> + Бв = 511-2336=-1825
Определение наибольшего изгибающего и вращающего моментов в опасном сечении
Принимаем

По эпюрам и реакциям находим максимальный изгибающий момент.

Tmax = 1,5T = 1,5147,8 = 221,7 Hм
Определение эквивалентного напряжения в опасном сечении
По эмперической теории прочности
экв
=
запас прочности по пределу текучести в опасном сечении
для стали 45
НВ200 >Т> = 280Мпа

Расчёт на сопротивление усталости вала II


имеем 2 опасных сечения (I и II)
М>Г>> I> = А>Г>0,035 = 293,40,035 = 10,3 Hм
М>Г>> II> = Ft0,05 = 11890,05 = 59,45 Hм
М>В>> I> = А>В>0,035 = 18250,035 = 63,8 Hм
Суммарные значения изгибающих моментов


Определение нормального напряжения в опасных сечениях

= 0,5(Kv-1) = 0,5(1,2-1) = 0,1
dв = 45мм
Wu>I>
=

Wu>II>
=

Мпа
Мпа
>m> = 0 (для симметричного цикла)
Определение касательных напряжений
>а> = >m>
=

Wk =

>а>>I>
= >mI>
=
МПа
>а>>II>
= >mII>
=
Мпа
Расчёт эффективного концентратора напряжения


I = 0,83 = 0,77 (dв=45мм)
II = 0,83 = 0,77 (dв=45мм)
1,25

I /обточка в = 560 Kп = Kп = 1,05
0,32

II /шлифование в = 560 Kп = Kп = 1,0
I в = 560 и шпоночная канавка
K = 1,76
K = 1,54
II в = 560






Определение запаса прочности по усталости

>> = >> = 0





n>min> = 1,5…1,8

Расчёт подшипников на долговечность
Расчёт подшипников на валу I
Влевой и правой опорах шариковый радиальный подшипник
вала = 35мм
n = 1000 об/мин
долговечность L>10h> = 10103часов
Расчёт опоры
1)Шариковый радиальный средней серии 307
dDB = 358021
C>r> = 26200
2)Находим эквивалентную нагрузку
P>E> = (XVF>r> + Y>Fa>)K>T>K>>
K>> = 1,3
V = 1 (при вращающемся вале)
K>T> = 1 (t<100)
Опора воспринимает только радиальную нагрузку
F>r> = R>1> = 1239 H
т.к.
F>a> = 0
то,
и это < e, где e
величина >0
и называется коэффициентом осевого нагружения, товсегда Х=1
P>E> = (111239 +0)11,3=1610,7 Н
3)Определение динамической грузоподъёмности

р = 3 (т.к. подшипник шариковый)

С>треб><C>r>
Запас прочности удовлетворительный
Расчёт подшипников на валу II
В левой опоре шариковый радиальный подшипник серии 308
вала=40мм
В правой опоре шариковый радиальный подшипник серии 309 вала=50мм
Расчёт левой опоры
n = 1000 об/мин
долговечность L>10h> = 10103 часов
1) шариковый радиальный подшипник серии 308
dDB = 409023
C>r> = 33200
2)Находим эквивалентную нагрузку
P>E> = (XVF>r> + Y>Fa>)K>T>K>>
K>> = 1,3
V = 1 (при вращающемся вале)
K>T> = 1 (t<100)
Опора воспринимает только радиальную нагрузку
F>r> = R>3> = 2336 H
т.к.
F>a> = 0
то,
и это < e, где e
величина >0
и называется коэффициентом осевого нагружения, товсегда Х=1
P>E> = (112336 +0)11,3=3036,8 Н
3)Определение динамической грузоподъёмности

р = 3 (т.к. подшипник шариковый)

С>треб><C>r>
Запас прочности удовлетворительный
Расчёт правой опоры
n = 1000 об/мин
долговечность L>10>>h> = 10103 часов
1) шариковый радиальный подшипник серии 309
dDB = 4510025
C>r> = 41000
2)Находим эквивалентную нагрузку
P>E> = (XVF>r> + Y>Fa>)K>T>K>>
K>> = 1,3
V = 1 (при вращающемся вале)
K>T> = 1 (t<100)
Опора воспринимает только радиальную нагрузку
F>r> = R>4> = 2336 H
т.к.
F>a> = 0
то,
и это < e, где e
величина >0
и называется коэффициентом осевого нагружения, товсегда Х=1
P>E> = (112336 +0)11,3=3036,8 Н
3)Определение динамической грузоподъёмности

р = 3 (т.к. подшипник шариковый)

С>треб><C>r>
Запас прочности удовлетворительный
Расчёт шлицевых и шпоночных соединений
Для вала I
Расчёт шлицевого соединения
Условие прочности на смятие:

=0,75
(коэффициент, учитывающий неравномерность
распределения усилий на рабочих
поверхностях зубьев)
Площадь всех боковых поверхностей зубьев с одной стороны на 1 мм длины:


Рабочая длина зуба l=210мм

Для вала II
Расчёт шпоночного соединения
D = 40мм k = 3,5мм l = 40мм
[M>кр >>max>] = 0,510-3dkl[>см>] = 0,510-3403,54084 =235,2Нм 235,2Нм >43,7Нм
Расчёт механизма управления

arcsin /2 = ½ хода/радиуса
2a – перемещение камня в пазе блока зубчатых колёс
R = A>1>+a
А1 – расстояние от оси вала зубчатого колеса до оси поворота рычага
а – половина высоты дуги, описываемой осью камня, при перемещении зубчатого колеса из одного крайнего положения в другое.
R = 94 + 2 = 96мм
Введение
Коробка скоростей двухступенчатая с передвижными зубчатыми колёсами.
Данная коробка скоростей рассчитана и спроектирована Тулаевым Петром Алексеевичем.
Она предназначена для ступенчатого изменения частоты вращения выходного вала и передачи вращательного момента электродвигателя на шкив передней бабки высокоточных металлорежущих станков, но может быть использована и в приводах других машин.
Вращательный момент сообщает индивидуальный электродвигатель 4А132S6У3 тип исполнения М300
( Р = 5,5кВт, п = 965 мин-1 ). Зубчатое колесо 28 (лист 1) вращается электродвигателем и сообщает вращательный момент колесу 21 (лист 1), которое через электромагнитную муфту 45 (лист 1)передаёт его на шлицевой вал 22 (лист 1), далее через коробку передач, шкив 15 (лист 1) и клиновыми ремнями передаётся на шкив передней бабки станка.
В связи с жёсткими требованиями предъявляемыми к высокоточным станкам, коробка скоростей располагается отдельно от станка внутри тумбы на специальной плите рядом с передней бабкой. Так как вибрация от электродвигателя и коробки скоростей неблагоприятно влияет на процесс резания, вращательный момент передаётся на станок при помощи клиновых ремней.
Содержание
Введение, описание конструкции
Выбор двигателя, кинематический расчёт
Итоговая таблица
Расчёт прямозубой цилиндрической передачи
Расчёт клиноремённой передачи
Определение геометрических параметров
Определение усилий действующих в зацеплении
Выбор и расчёт муфты
Схема загрузки валов в аксонометрии
10. Расчёт валов на статическую прочность
11. Расчёт на сопротивление усталости вала II
12. Расчёт подшипников на долговечность
13. Расчёт шлицевых и шпоночных соединений
14. Расчёт механизма управления
15. Список используемой литературы
16. Спецификация
Список используемой литературы
«Детали машин» атлас конструкций, Решетов Д.Н. I,II часть 1992г.
«Детали машин» курсовое проектирование учебное пособие для техникумов, Дунаев П.Ф., Леликов О.П. 1984г.
«Конструирование узлов и деталей машин» учебное пособие для студентов машиностроительных специальных вузов, Дунаев П.Ф. 1978г.
«Справочник по муфтам», Поляков В.С., Барбаш И.Д., Ряховский О.А. 1979г.
«Справочник по муфтам», Ряховский О.А., Иванов С.С. 1991г.
«Технология Машиностроения» (специальная часть) учебник для студентов машиностроительных специальных вузов, Гусев А.А., Ковальчук Е.Р., Колесов И.М., Латышев Н.Г., Тимирязев В.А., Чарнко Д.В. 1986г.
«Крышки подшипников, конструкции и размеры» методичка №390, Степанов А.А. 1994г.
«Муфты соединительные компенсирующие, конструкции и размеры» методичка №301, Степанов А.А. 1994г.
0


